JP2010002029A - ラジアル針状ころ軸受 - Google Patents
ラジアル針状ころ軸受 Download PDFInfo
- Publication number
- JP2010002029A JP2010002029A JP2008163166A JP2008163166A JP2010002029A JP 2010002029 A JP2010002029 A JP 2010002029A JP 2008163166 A JP2008163166 A JP 2008163166A JP 2008163166 A JP2008163166 A JP 2008163166A JP 2010002029 A JP2010002029 A JP 2010002029A
- Authority
- JP
- Japan
- Prior art keywords
- spacer
- roller bearing
- needle roller
- clutch
- planetary gear
- Prior art date
- Legal status (The legal status is an assumption and is not a legal conclusion. Google has not performed a legal analysis and makes no representation as to the accuracy of the status listed.)
- Granted
Links
Images
Classifications
-
- F—MECHANICAL ENGINEERING; LIGHTING; HEATING; WEAPONS; BLASTING
- F16—ENGINEERING ELEMENTS AND UNITS; GENERAL MEASURES FOR PRODUCING AND MAINTAINING EFFECTIVE FUNCTIONING OF MACHINES OR INSTALLATIONS; THERMAL INSULATION IN GENERAL
- F16C—SHAFTS; FLEXIBLE SHAFTS; ELEMENTS OR CRANKSHAFT MECHANISMS; ROTARY BODIES OTHER THAN GEARING ELEMENTS; BEARINGS
- F16C19/00—Bearings with rolling contact, for exclusively rotary movement
- F16C19/22—Bearings with rolling contact, for exclusively rotary movement with bearing rollers essentially of the same size in one or more circular rows, e.g. needle bearings
- F16C19/44—Needle bearings
- F16C19/48—Needle bearings with two or more rows of needles
-
- F—MECHANICAL ENGINEERING; LIGHTING; HEATING; WEAPONS; BLASTING
- F16—ENGINEERING ELEMENTS AND UNITS; GENERAL MEASURES FOR PRODUCING AND MAINTAINING EFFECTIVE FUNCTIONING OF MACHINES OR INSTALLATIONS; THERMAL INSULATION IN GENERAL
- F16C—SHAFTS; FLEXIBLE SHAFTS; ELEMENTS OR CRANKSHAFT MECHANISMS; ROTARY BODIES OTHER THAN GEARING ELEMENTS; BEARINGS
- F16C33/00—Parts of bearings; Special methods for making bearings or parts thereof
- F16C33/30—Parts of ball or roller bearings
- F16C33/37—Loose spacing bodies
-
- F—MECHANICAL ENGINEERING; LIGHTING; HEATING; WEAPONS; BLASTING
- F16—ENGINEERING ELEMENTS AND UNITS; GENERAL MEASURES FOR PRODUCING AND MAINTAINING EFFECTIVE FUNCTIONING OF MACHINES OR INSTALLATIONS; THERMAL INSULATION IN GENERAL
- F16C—SHAFTS; FLEXIBLE SHAFTS; ELEMENTS OR CRANKSHAFT MECHANISMS; ROTARY BODIES OTHER THAN GEARING ELEMENTS; BEARINGS
- F16C2361/00—Apparatus or articles in engineering in general
- F16C2361/61—Toothed gear systems, e.g. support of pinion shafts
-
- F—MECHANICAL ENGINEERING; LIGHTING; HEATING; WEAPONS; BLASTING
- F16—ENGINEERING ELEMENTS AND UNITS; GENERAL MEASURES FOR PRODUCING AND MAINTAINING EFFECTIVE FUNCTIONING OF MACHINES OR INSTALLATIONS; THERMAL INSULATION IN GENERAL
- F16C—SHAFTS; FLEXIBLE SHAFTS; ELEMENTS OR CRANKSHAFT MECHANISMS; ROTARY BODIES OTHER THAN GEARING ELEMENTS; BEARINGS
- F16C33/00—Parts of bearings; Special methods for making bearings or parts thereof
- F16C33/30—Parts of ball or roller bearings
- F16C33/46—Cages for rollers or needles
- F16C33/48—Cages for rollers or needles for multiple rows of rollers or needles
- F16C33/485—Cages for rollers or needles for multiple rows of rollers or needles with two or more juxtaposed cages joined together or interacting with each other
Landscapes
- Engineering & Computer Science (AREA)
- General Engineering & Computer Science (AREA)
- Mechanical Engineering (AREA)
- Rolling Contact Bearings (AREA)
Abstract
【解決手段】スペーサ53を設けることにより、ピニオンギヤP1とピニオンシャフトCとの間隔を維持することで、ころ51の円滑な回転を確保でき、スペーサ53は、板状材を円筒状に丸め、両端を溶接により固着させることにより成形される。
【選択図】図4
Description
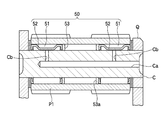
(1) 車両用自動変速機の遊星歯車機構におけるピニオンシャフトとピニオンギヤとの間に配置されるラジアル針状ころ軸受において、
複列に配置されたころと、各列の前記ころを保持する複数の保持器と、隣接する前記保持器同士の間に配置されたスペーサと、を有し、
前記スペーサは板状材を円筒状に丸め、両端を溶接により固着させたことを特徴とするラジアル針状ころ軸受。
(2) 前記スペーサは複数のポケットを備えることを特徴とする(1)に記載のラジアル針状ころ軸受。
(3) 前記スペーサの表面硬さがHV400以上であることを特徴とする(1)又は(2)に記載のラジアル針状ころ軸受。
(4) 前記スペーサは、溶接後熱処理しないことを特徴とする(1)又は(2)に記載のラジアル針状ころ軸受。
(W×N)/Dp=0.4〜0.6
とすることが望ましい。
[実施例1]
[耐久性比較実験1]
耐久性を検証のため、表1に記載の5段階の硬さのスペーサを用いて、ラジアル針状ころ軸受の耐久性試験を以下の仕様、以下の条件で行なった。なお、スペーサ外径面の使用条件は過酷設定とするため、幅寸法を狭く(10mm)し、潤滑油の供給油量を0.01L/minとし、硬さ以外は全て同一の条件で試験を行なった。
ピニオンギヤ内径:22mm
ピニオンシャフト径:17mm
軸受幅:19mm
基本動定格荷重Cr:13000N
基本静定格荷重C0r:15000N
<スペーサ仕様>
材質:JIS SPCC
ポケット数:12
外径:21.8mm
幅:10mm
厚さ:1.5mm
<試験条件>
キャリア公転数:10000rpm(固定)
ピニオン自転数:3000rpm以上(変動)
キャリア公転半径:40mm
潤滑油供給量:0.01L/min
HV200のスペーサにおいては20000rpmの自転数にて外径面にかじりの兆候が見られ、更に回転数を大きくするとかじりや焼付きの損傷に進展した。一方で、40000rpmの非常に過酷な条件下ではHV400、HV450のスペーサでは軽微なかじりを誘発したものの、HV200のスペーサに比べて耐久性が向上することを確認した。
[耐久性比較実験2]
また、耐久性の検証のため、スペーサを成形した後、外径研削加工前に、熱処理を施さないスペーサを用いて、以下の仕様、以下の条件で耐久性試験を行なった。
ピニオンギヤ内径:22mm
ピニオンシャフト径:17mm
軸受幅:19mm
基本動定格荷重Cr:13000N
基本静定格荷重C0r:15000N
<スペーサ仕様>
材質:JIS SPCC
熱処理:未処理
ポケット数:12
外径:21.8mm
幅:19mm
厚さ:1.5mm
<試験条件>
キャリア公転数:7000rpm(固定)
ピニオン自転数:3000rpm以上(変動)
キャリア公転半径:40mm
潤滑油供給量:0.1L/min
10a カバー
11 入力軸
12 プラネタリギヤセット
13 フロントサンギヤ
14 カウンタドライブギヤ
15 リヤサンギヤ
16 クラッチ
17 クラッチ
18 クラッチ
19 ステータシャフト
20 サンギヤ軸
21 内周側部材
22 ブレーキ
23 リングギヤフランジ
24 ハブ
25 ハブ
26 リングギヤ
27 ボールベアリング
28 ハブ
29 ハブ
30 ブレーキ
31 ハブ
32 ボス部
33 ドラム
33 部材
34 ドラム
35 ピストン
36 摩擦部材
37 ピストン
38 ドラム
39 摩擦部材
40 摩擦部材
42 摩擦部材
43 摩擦部材
50 軸受
52 保持器
52 保持器
53 スペーサ
53a ポケット
C ピニオンシャフト
OC1 ワンウェイクラッチ
OC2 ワンウェイクラッチ
P1 ピニオンギヤ
Q キャリヤ
Claims (4)
- 車両用自動変速機の遊星歯車機構におけるピニオンシャフトとピニオンギヤとの間に配置されるラジアル針状ころ軸受において、
複列に配置されたころと、各列の前記ころを保持する複数の保持器と、隣接する前記保持器同士の間に配置されたスペーサと、を有し、
前記スペーサは板状材を円筒状に丸め、両端を溶接により固着させたことを特徴とするラジアル針状ころ軸受。 - 前記スペーサは複数のポケットを備えることを特徴とする請求項1に記載のラジアル針状ころ軸受。
- 前記スペーサの表面硬さがHV400以上であることを特徴とする請求項1又は2に記載のラジアル針状ころ軸受。
- 前記スペーサは、溶接後熱処理しないことを特徴とする請求項1又は2に記載のラジアル針状ころ軸受。
Priority Applications (1)
| Application Number | Priority Date | Filing Date | Title |
|---|---|---|---|
| JP2008163166A JP5428217B2 (ja) | 2008-06-23 | 2008-06-23 | ラジアル針状ころ軸受 |
Applications Claiming Priority (1)
| Application Number | Priority Date | Filing Date | Title |
|---|---|---|---|
| JP2008163166A JP5428217B2 (ja) | 2008-06-23 | 2008-06-23 | ラジアル針状ころ軸受 |
Publications (2)
| Publication Number | Publication Date |
|---|---|
| JP2010002029A true JP2010002029A (ja) | 2010-01-07 |
| JP5428217B2 JP5428217B2 (ja) | 2014-02-26 |
Family
ID=41583904
Family Applications (1)
| Application Number | Title | Priority Date | Filing Date |
|---|---|---|---|
| JP2008163166A Expired - Fee Related JP5428217B2 (ja) | 2008-06-23 | 2008-06-23 | ラジアル針状ころ軸受 |
Country Status (1)
| Country | Link |
|---|---|
| JP (1) | JP5428217B2 (ja) |
Cited By (3)
| Publication number | Priority date | Publication date | Assignee | Title |
|---|---|---|---|---|
| WO2012070642A1 (ja) | 2010-11-26 | 2012-05-31 | 日本精工株式会社 | ラジアルニードル軸受用スペーサ |
| JP2012112506A (ja) * | 2010-11-26 | 2012-06-14 | Nsk Ltd | 軸受用スペーサ |
| DE102012207067A1 (de) * | 2012-04-27 | 2013-10-31 | Schaeffler Technologies AG & Co. KG | Rollenlager und Getriebe mit einem Rollenlager |
Citations (6)
| Publication number | Priority date | Publication date | Assignee | Title |
|---|---|---|---|---|
| JPS568925U (ja) * | 1979-07-03 | 1981-01-26 | ||
| JP2002081528A (ja) * | 2000-09-05 | 2002-03-22 | Koyo Seiko Co Ltd | 歯車の支持構造 |
| JP2005325992A (ja) * | 2004-04-16 | 2005-11-24 | Nsk Ltd | ラジアル針状ころ軸受及びピニオンシャフト |
| JP2006144845A (ja) * | 2004-11-17 | 2006-06-08 | Ntn Corp | コンプレッサ主軸の支持構造および針状ころ軸受 |
| JP2007255606A (ja) * | 2006-03-23 | 2007-10-04 | Jtekt Corp | ころ軸受用保持器およびころ軸受 |
| JP2008101725A (ja) * | 2006-10-20 | 2008-05-01 | Nsk Ltd | 遊星歯車回転支持装置 |
-
2008
- 2008-06-23 JP JP2008163166A patent/JP5428217B2/ja not_active Expired - Fee Related
Patent Citations (6)
| Publication number | Priority date | Publication date | Assignee | Title |
|---|---|---|---|---|
| JPS568925U (ja) * | 1979-07-03 | 1981-01-26 | ||
| JP2002081528A (ja) * | 2000-09-05 | 2002-03-22 | Koyo Seiko Co Ltd | 歯車の支持構造 |
| JP2005325992A (ja) * | 2004-04-16 | 2005-11-24 | Nsk Ltd | ラジアル針状ころ軸受及びピニオンシャフト |
| JP2006144845A (ja) * | 2004-11-17 | 2006-06-08 | Ntn Corp | コンプレッサ主軸の支持構造および針状ころ軸受 |
| JP2007255606A (ja) * | 2006-03-23 | 2007-10-04 | Jtekt Corp | ころ軸受用保持器およびころ軸受 |
| JP2008101725A (ja) * | 2006-10-20 | 2008-05-01 | Nsk Ltd | 遊星歯車回転支持装置 |
Cited By (3)
| Publication number | Priority date | Publication date | Assignee | Title |
|---|---|---|---|---|
| WO2012070642A1 (ja) | 2010-11-26 | 2012-05-31 | 日本精工株式会社 | ラジアルニードル軸受用スペーサ |
| JP2012112506A (ja) * | 2010-11-26 | 2012-06-14 | Nsk Ltd | 軸受用スペーサ |
| DE102012207067A1 (de) * | 2012-04-27 | 2013-10-31 | Schaeffler Technologies AG & Co. KG | Rollenlager und Getriebe mit einem Rollenlager |
Also Published As
| Publication number | Publication date |
|---|---|
| JP5428217B2 (ja) | 2014-02-26 |
Similar Documents
| Publication | Publication Date | Title |
|---|---|---|
| US9145916B2 (en) | Axial anti-friction bearing, in particular axial needle bearing | |
| JP5375969B2 (ja) | ピニオン軸用回転支持装置 | |
| US7033083B2 (en) | Support structure carrying thrust load of transmission, method of manufacturing thereof and thrust needle roller bearing | |
| US20070202986A1 (en) | Roller bearing for planetary gear mechanism | |
| CN102483131A (zh) | 减速装置 | |
| JP6035732B2 (ja) | 転がり軸受 | |
| US10962058B2 (en) | Rotator support shaft, method for manufacturing rotator support shaft, and roller bearing | |
| JP4304670B2 (ja) | ラジアル針状ころ軸受及びピニオンシャフト | |
| JP5428217B2 (ja) | ラジアル針状ころ軸受 | |
| JP2005214390A (ja) | ニードル軸受、遊星歯車機構及びピニオンシャフト | |
| JP2008303992A (ja) | ラジアル針状ころ軸受 | |
| JP2010255645A (ja) | ラジアルニードル軸受 | |
| CN103671849B (zh) | 太阳轮组合支承装置、太阳轮轴承模块和分动传动机构 | |
| JP5012438B2 (ja) | 針状ころ軸受 | |
| JP2010255778A (ja) | ラジアルニードル軸受 | |
| JP4822174B2 (ja) | ラジアル針状ころ軸受及びピニオンシャフト | |
| JP2009287772A (ja) | 針状ころ軸受 | |
| JP5273442B2 (ja) | ラジアル針状ころ軸受 | |
| JP2004183765A (ja) | ベルト式無段変速機用転がり軸受 | |
| US20060204157A1 (en) | Roller bearing for belt-type stepless speed changer | |
| JP2009108996A (ja) | プラネタリギヤ装置ならびに車両用トランスアクスル | |
| JP5120218B2 (ja) | 変速機 | |
| JP2007040334A (ja) | 針状ころ軸受 | |
| JP4867430B2 (ja) | プラネタリギヤユニット | |
| JP2009204089A (ja) | 針状ころ軸受用の保持器及び針状ころ軸受 |
Legal Events
| Date | Code | Title | Description |
|---|---|---|---|
| A621 | Written request for application examination |
Free format text: JAPANESE INTERMEDIATE CODE: A621 Effective date: 20110607 |
|
| A977 | Report on retrieval |
Free format text: JAPANESE INTERMEDIATE CODE: A971007 Effective date: 20120425 |
|
| A131 | Notification of reasons for refusal |
Free format text: JAPANESE INTERMEDIATE CODE: A131 Effective date: 20120508 |
|
| A521 | Written amendment |
Free format text: JAPANESE INTERMEDIATE CODE: A523 Effective date: 20120704 |
|
| A131 | Notification of reasons for refusal |
Free format text: JAPANESE INTERMEDIATE CODE: A131 Effective date: 20130205 |
|
| A521 | Written amendment |
Free format text: JAPANESE INTERMEDIATE CODE: A523 Effective date: 20130405 |
|
| TRDD | Decision of grant or rejection written | ||
| A01 | Written decision to grant a patent or to grant a registration (utility model) |
Free format text: JAPANESE INTERMEDIATE CODE: A01 Effective date: 20131105 |
|
| A61 | First payment of annual fees (during grant procedure) |
Free format text: JAPANESE INTERMEDIATE CODE: A61 Effective date: 20131118 |
|
| R150 | Certificate of patent or registration of utility model |
Free format text: JAPANESE INTERMEDIATE CODE: R150 |
|
| LAPS | Cancellation because of no payment of annual fees |
