JP2010000692A - フィラメントワインディング装置及び方法 - Google Patents

フィラメントワインディング装置及び方法 Download PDF

Info

Publication number
JP2010000692A
JP2010000692A JP2008161521A JP2008161521A JP2010000692A JP 2010000692 A JP2010000692 A JP 2010000692A JP 2008161521 A JP2008161521 A JP 2008161521A JP 2008161521 A JP2008161521 A JP 2008161521A JP 2010000692 A JP2010000692 A JP 2010000692A
Authority
JP
Japan
Prior art keywords
mandrel
winding
hoop
fiber bundle
head
Prior art date
Legal status (The legal status is an assumption and is not a legal conclusion. Google has not performed a legal analysis and makes no representation as to the accuracy of the status listed.)
Granted
Application number
JP2008161521A
Other languages
English (en)
Other versions
JP5206949B2 (ja
Inventor
Tadashi Uozumi
忠司 魚住
Motohiro Tanigawa
元洋 谷川
Current Assignee (The listed assignees may be inaccurate. Google has not performed a legal analysis and makes no representation or warranty as to the accuracy of the list.)
Murata Machinery Ltd
Original Assignee
Murata Machinery Ltd
Priority date (The priority date is an assumption and is not a legal conclusion. Google has not performed a legal analysis and makes no representation as to the accuracy of the date listed.)
Filing date
Publication date
Application filed by Murata Machinery Ltd filed Critical Murata Machinery Ltd
Priority to JP2008161521A priority Critical patent/JP5206949B2/ja
Priority to US12/464,709 priority patent/US8105454B2/en
Priority to EP09160101A priority patent/EP2135728B1/en
Publication of JP2010000692A publication Critical patent/JP2010000692A/ja
Application granted granted Critical
Publication of JP5206949B2 publication Critical patent/JP5206949B2/ja
Active legal-status Critical Current
Anticipated expiration legal-status Critical

Links

Images

Classifications

    • BPERFORMING OPERATIONS; TRANSPORTING
    • B29WORKING OF PLASTICS; WORKING OF SUBSTANCES IN A PLASTIC STATE IN GENERAL
    • B29CSHAPING OR JOINING OF PLASTICS; SHAPING OF MATERIAL IN A PLASTIC STATE, NOT OTHERWISE PROVIDED FOR; AFTER-TREATMENT OF THE SHAPED PRODUCTS, e.g. REPAIRING
    • B29C53/00Shaping by bending, folding, twisting, straightening or flattening; Apparatus therefor
    • B29C53/56Winding and joining, e.g. winding spirally
    • B29C53/58Winding and joining, e.g. winding spirally helically
    • B29C53/60Winding and joining, e.g. winding spirally helically using internal forming surfaces, e.g. mandrels
    • B29C53/62Winding and joining, e.g. winding spirally helically using internal forming surfaces, e.g. mandrels rotatable about the winding axis
    • B29C53/64Winding and joining, e.g. winding spirally helically using internal forming surfaces, e.g. mandrels rotatable about the winding axis and moving axially
    • BPERFORMING OPERATIONS; TRANSPORTING
    • B29WORKING OF PLASTICS; WORKING OF SUBSTANCES IN A PLASTIC STATE IN GENERAL
    • B29CSHAPING OR JOINING OF PLASTICS; SHAPING OF MATERIAL IN A PLASTIC STATE, NOT OTHERWISE PROVIDED FOR; AFTER-TREATMENT OF THE SHAPED PRODUCTS, e.g. REPAIRING
    • B29C53/00Shaping by bending, folding, twisting, straightening or flattening; Apparatus therefor
    • B29C53/56Winding and joining, e.g. winding spirally
    • B29C53/58Winding and joining, e.g. winding spirally helically
    • B29C53/60Winding and joining, e.g. winding spirally helically using internal forming surfaces, e.g. mandrels
    • B29C53/62Winding and joining, e.g. winding spirally helically using internal forming surfaces, e.g. mandrels rotatable about the winding axis
    • B29C53/66Winding and joining, e.g. winding spirally helically using internal forming surfaces, e.g. mandrels rotatable about the winding axis with axially movable winding feed member, e.g. lathe type winding
    • B29C53/665Coordinating the movements of the winding feed member and the mandrel
    • BPERFORMING OPERATIONS; TRANSPORTING
    • B29WORKING OF PLASTICS; WORKING OF SUBSTANCES IN A PLASTIC STATE IN GENERAL
    • B29CSHAPING OR JOINING OF PLASTICS; SHAPING OF MATERIAL IN A PLASTIC STATE, NOT OTHERWISE PROVIDED FOR; AFTER-TREATMENT OF THE SHAPED PRODUCTS, e.g. REPAIRING
    • B29C53/00Shaping by bending, folding, twisting, straightening or flattening; Apparatus therefor
    • B29C53/80Component parts, details or accessories; Auxiliary operations
    • B29C53/82Cores or mandrels
    • B29C53/821Mandrels especially adapted for winding and joining
    • B29C53/828Arrangements comprising a plurality of cores or mandrels, e.g. to increase production speed
    • BPERFORMING OPERATIONS; TRANSPORTING
    • B29WORKING OF PLASTICS; WORKING OF SUBSTANCES IN A PLASTIC STATE IN GENERAL
    • B29CSHAPING OR JOINING OF PLASTICS; SHAPING OF MATERIAL IN A PLASTIC STATE, NOT OTHERWISE PROVIDED FOR; AFTER-TREATMENT OF THE SHAPED PRODUCTS, e.g. REPAIRING
    • B29C53/00Shaping by bending, folding, twisting, straightening or flattening; Apparatus therefor
    • B29C53/56Winding and joining, e.g. winding spirally
    • B29C53/58Winding and joining, e.g. winding spirally helically
    • B29C53/60Winding and joining, e.g. winding spirally helically using internal forming surfaces, e.g. mandrels
    • B29C53/602Winding and joining, e.g. winding spirally helically using internal forming surfaces, e.g. mandrels for tubular articles having closed or nearly closed ends, e.g. vessels, tanks, containers
    • BPERFORMING OPERATIONS; TRANSPORTING
    • B29WORKING OF PLASTICS; WORKING OF SUBSTANCES IN A PLASTIC STATE IN GENERAL
    • B29CSHAPING OR JOINING OF PLASTICS; SHAPING OF MATERIAL IN A PLASTIC STATE, NOT OTHERWISE PROVIDED FOR; AFTER-TREATMENT OF THE SHAPED PRODUCTS, e.g. REPAIRING
    • B29C53/00Shaping by bending, folding, twisting, straightening or flattening; Apparatus therefor
    • B29C53/56Winding and joining, e.g. winding spirally
    • B29C53/58Winding and joining, e.g. winding spirally helically
    • B29C53/60Winding and joining, e.g. winding spirally helically using internal forming surfaces, e.g. mandrels
    • B29C53/68Winding and joining, e.g. winding spirally helically using internal forming surfaces, e.g. mandrels with rotatable winding feed member
    • B29C53/70Winding and joining, e.g. winding spirally helically using internal forming surfaces, e.g. mandrels with rotatable winding feed member and moving axially

Landscapes

  • Engineering & Computer Science (AREA)
  • Mechanical Engineering (AREA)
  • Moulding By Coating Moulds (AREA)

Abstract

【課題】ヘリカル巻を行う間に、フープ巻の後にカッタ等で繊維束を切断する必要がなく、また、無駄な繊維束(無駄糸)が繰り出されることのなく、優れた経済性かつ生産性を可能とする。
【解決手段】フィラメントワインディング装置を制御する制御部6と、マンドレルMを回転する回転機構111と、フープ巻で巻き付けるためのフープ巻ヘッド12と、ヘリカル巻で巻き付けるためのヘリカル巻ヘッドとを備え、フープ巻ヘッド12は、マンドレルMに繊維束Rを繰り出すボビン12bと、ボビン12bをマンドレルMの周りに旋回する旋回機構120とを備え、制御部6は、ヘリカル巻を行う間、マンドレルM及びボビン12bが同一方向で回転及び旋回するように、回転機構111及び旋回機構120を制御する。
【選択図】図5

Description

本発明は、フープ巻及びヘリカル巻で繊維束をマンドレルに巻き付けるフィラメントワインディング装置及び方法に関する。
フィラメントワインディング装置は、フィラメントワインディング法によって、圧力タンク等の中空容器及びパイプ等を製造する装置である(例えば特許文献1)。フィラメントワインディング法は、繊維束をマンドレル(ライナー)に巻き付けて製造物(圧力タンク等)を製造する。繊維束は、例えば、ガラス繊維等の繊維材料や合成樹脂を用いた繊維材料からなる。
フィラメントワインディング装置は、ヘッド部から繰り出される繊維束をマンドレルに巻き付ける。ヘッド部は、フープ巻で巻き付けるフープ巻ヘッド、ヘリカル巻で巻き付けるヘリカル巻ヘッドからなる。フープ巻は、マンドレルの軸方向に対して略直角に繊維束を巻き付ける(図7(a))。ヘリカル巻は、マンドレルの軸方向に対して所定の角度で繊維束を巻き付ける(図7(b)及び(c))。
フィラメントワインディング装置は、フープ巻ヘッド及びヘリカル巻ヘッドからの繊維束の端部をマンドレルに固定して、マンドレルを回転する。マンドレルの回転によって、各ヘッドから繊維束を繰り出してマンドレルに巻き付け、フープ巻及びヘリカル巻を行う。そのため、ヘリカル巻を行う間に、マンドレルの回転によって、フープ巻ヘッドから無駄な繊維束(無駄糸)が繰り出されないように、フープ巻を行った後は、フープ巻ヘッドからの繊維束をカッタ等で切断して、マンドレルから分離する。
また、別実施形態のフィラメントワインディング装置では、フープ巻を行った後、カッタ等で切断せずに、ヘリカル巻を行う間、フープ巻ヘッドをマンドレルから退避させて、その退避場所で、フープ巻ヘッドから繊維束を繰り出して巻き付ける(捨て糸)。
特許第3671852号
本発明が解決しようとする課題は、上記した問題点に鑑みて、ヘリカル巻を行う間に、フープ巻の後にカッタ等で繊維束を切断する必要がなく、また、無駄な繊維束(無駄糸)が繰り出されることのない、経済性かつ生産性に優れたフィラメントワインディング装置及び方法を提供することである。
本発明に係るフィラメントワインディング装置は、
フープ巻及びヘリカル巻で繊維束をマンドレルに巻き付けるフィラメントワインディング装置において、
フィラメントワインディング装置を制御する制御部と、
マンドレルを回転する回転機構と、
フープ巻で巻き付けるためのフープ巻ヘッドと、
ヘリカル巻で巻き付けるためのヘリカル巻ヘッドとを備え、
フープ巻ヘッドは、
マンドレルに繊維束を繰り出すボビンと、
ボビンをマンドレルの周りに旋回する旋回機構とを備え、
制御部は、ヘリカル巻を行う間、マンドレル及びボビンが同一方向で回転及び旋回するように、回転機構及び旋回機構を制御する。
好ましくは、
マンドレルを移動するマンドレル移動機構と、
フープ巻ヘッドを移動するフープ巻ヘッド移動機構とを備え、
制御部は、ヘリカル巻を行う間、フープ巻ヘッドがマンドレルから一定の距離で退避移動するように、マンドレル移動機構及びフープ巻ヘッド移動機構を制御する。
本発明に係るフィラメントワインディング方法は、
フープ巻及びヘリカル巻で繊維束をマンドレルに巻き付けるフィラメントワインディング方法において、
フープ巻を行う間は、マンドレルを停止して、繊維束が巻き付けられたボビンをマンドレル周りに旋回し、ヘリカル巻を行う間、マンドレル及びボビンを同一方向に回転する。
本発明に係るフィラメントワインディング装置及び方法によれば、上記した通り、(i)フープ巻を行う間は、マンドレルを停止して、繊維束が巻き付けられたボビンをマンドレル周りに旋回し、(ii)ヘリカル巻を行う間、マンドレル及びボビンを同一方向に回転する。
停止しているマンドレルに対して、ボビンを旋回することにより繊維束をフープ巻することができる。また、マンドレルを回転することにより繊維束をヘリカル巻することができる。そして、ヘリカル巻を行う間は、マンドレルの回転と同じ方向にボビンを回転するので、ボビンから繊維束が繰り出されることはない。
従って、本発明に係るフィラメントワインディング装置及び方法は、フープ巻の後にカッタ等で繊維束を切断する必要がなく、また、無駄な繊維束(無駄糸)が繰り出されることがないので、優れた経済性かつ生産性を可能とするものである。
以下、図面に基づいて、本発明に係るフィラメントワインディング装置及び方法について説明する。
[装置構成]
図1は、フィラメントワインディング装置を示す一部省略斜視図である。フィラメントワインディング装置は、巻付け装置1と供給部2とを備える。
巻付け装置1は、マンドレルMに繊維束Rを巻き付ける。供給部2は、クリール支持部21,21に複数のクリール20を備える。クリール20は、繊維束Rを巻き取って収納している。
繊維束Rは、例えば、ガラス繊維等の繊維材料や合成樹脂を用いた繊維材料からなる。供給部2は、各クリール20から引き出された繊維束Rを巻付け装置1へ供給する。
繊維束Rは、予め熱硬化性の合成樹脂材が含浸されている。なお、繊維束Rは、樹脂が含浸されていない場合もある。その場合は、巻付け装置1と供給部2との間に、樹脂含浸装置(図示略)が設けられており、樹脂含浸装置が、クリール20から引き出された繊維束Rに樹脂を塗布して、巻付け装置1へ供給する。
巻付け装置1の両側(図手前及び奥)には、複数のマンドレルM(M1,M2)が並べれらている。巻付け装置1の前方側(図手前)には、巻付け前のマンドレルM1が、後方側(図奥)には、巻付け装置1により繊維束Rを巻付けた後のマンドレルM2が並べられる。そして、巻付け装置1の一端側(図左)に、マンドレルM1,M2が配置される。
[巻付け装置]
図2は、図1の巻付け装置を示す拡大斜視図である。巻付け装置1は、機台10を備える。機台10は、長手方向1aに延設された一対の平行な第一ガイドレール部10a,10aを備える。巻付け装置1は、機台10にマンドレル移動台11を備える。マンドレル移動台11は、第一ガイドレール10a,10aに沿って長手方向1aに往復移動可能である。
マンドレルMは、マンドレル軸方向Mcに延設されたマンドレル用スピンドルSを備える。マンドレル移動台11は、両側の回転機構111でスピンドルSを回転支持する。回転機構111は、スピンドルSと共にマンドレルMを中心軸周りに回転する。
圧力タンクを製造する場合、マンドレルMは、高強度アルミニウム製、金属製、樹脂製等で形成され、円筒部Maとその両側のドーム部Mbとを有する形状である(図7)。スピンドルSは、マンドレルMに着脱可能に固定される。機台10の長手方向1aは、マンドレル軸方向Mcとなる。なお、マンドレルMは、製造物に応じて材料や形状等を変更可能である。
巻付け装置1は、フープ巻ヘッド12と、ヘリカル巻ヘッド13とを備える。フープ巻ヘッド12は、マンドレルMに対して繊維束Rをフープ巻で巻き付ける。ヘリカル巻ヘッド13は、マンドレルMに対して繊維束Rをヘリカル巻で巻き付ける。
巻付け装置1は、制御部6によって駆動を制御される。制御部6は、マンドレル移動台11の往復移動、マンドレルMの回転、フープ巻ヘッド12の往復移動、ボビン12bの旋回等を制御する。また、制御部6は、後述するマンドレル移動台11の側壁部11b,11bの駆動を制御する。
フープ巻ヘッド12は、本体フレーム12aを備える。本体フレーム12aは、中央に開口する挿通部12dを備える。フープ巻ヘッド12は、挿通部12dを通じてマンドレルMを挿通する。
機台10は、長手方向1aに延設された一対の第二ガイドレール10b,10bを平行に備える。フープ巻用ヘッド12は、移動ベース12fを備え、第二ガイドレール10b,10bに沿って長手方向1aに往復移動する。これにより、フープ巻用ヘッド12は、挿通部12dにマンドレルMを挿通した状態で往復移動する。
フープ巻ヘッド12は、繊維束Rを巻き取り収納する複数(例えば2〜4本)のボビン12bを備える。後述する通り、フープ巻ヘッド12は、旋回機構120を備える(図5)。旋回機構120は、ボビン12bをマンドレル周方向Mdに旋回する。旋回するボビン12bから繰り出される繊維束Rは、マンドレルMに巻き付けられる。
ヘリカル巻ヘッド13は、本体フレーム13aを備える。本体フレーム13aは、中央に開口する挿通部13dを備える。ヘリカル巻ヘッド13は、挿通部13dを通じてマンドレルMを挿通する。ヘリカル巻ヘッド13は、機台10の長手方向1aの中央部に位置固定されている。
ヘリカル巻ヘッド13は、挿通部13dにマンドレルMを挿通した状態で、マンドレル移動台11が往復移動する。これにより、ヘリカル巻ヘッド13は、マンドレルMに対して長手方向1aに相対的に往復移動する。
ヘリカル巻ヘッド13は、供給部2から引き出される繊維束RをマンドレルMに巻き付ける。ヘリカル巻ヘッド13は、挿通部13dの周囲に、マンドレル周方向Mdに沿って延設された環状のガイドリング部15を備える。本体フレーム13aは、ガイドリング部15の両側にテンション部13bを備える。さらに、ヘリカル巻ヘッド13は、本体フレーム13aの両側にガイドローラ13cを備える。
ヘリカル巻ヘッド13は、クリール20から引き出された繊維束Rをガイドローラ13c,13cでガイドして、テンション部13b,13bへ導く。テンション部13b,13bは、繊維束Rに所定の樹脂と張力を付与する。テンション部13b,13bが繊維束Rに所定の張力を与えることにより、繊維束RをしっかりとマンドレルMに巻き付けることができる。
[ヘリカル巻ヘッド]
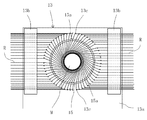
図3は、ヘリカル巻ヘッド13を示す正面図である。ヘリカル巻ヘッド13は、リング状の複数の補助ガイド13eを備えている。補助ガイド13eは、ガイドリング部15の外側に沿って配置されている。
クリール20から引き出される繊維束Rは、ヘリカル巻ヘッド13の両側からガイドローラ13cを通じてテンション部13bへ供給される。複数の繊維束Rは、テンション部13bから各補助ガイド13eを経て、ガイドリング部15へ案内される。さらに、複数の繊維束Rは、ガイドリング部15に沿って設けられた複数のガイド孔15aを経て、マンドレルMに案内される。
[開繊ガイド]
図4は、開繊ガイドを示す斜視図である。開繊ガイド16は、ヘリカル巻ヘッド13のガイドリング部15の内側に、ガイド孔15a毎に設けられている。開繊ガイド16は、一対の回転自在な開繊ローラ16a,16aを備える。
開繊ローラ16a,16aは、ガイド孔15aの径方向に平行に設けられる。開繊ガイド16は、ガイド孔15aの中心周りに回転自在な回転ベース16bを備えている。回転ベース16bは、開繊ローラ16a,16aを支持する。
開繊ガイド16は、一対の開繊ローラ16a,16aの間に繊維束Rが挿通する。これにより、開繊ガイド16は、マンドレルMへの繊維束Rの巻付け角度θが変わっても自在に回転して、開繊ローラ16a,16aで繊維束Rを開繊状態(幅を広げた状態)にしてマンドレルMに巻き付けることができる。
[フープ巻ヘッド等]
図5は、巻付け装置を示す一部側面図である。図6は、マンドレル軸方向から見た一部正面図で、(a)はフープ巻ヘッド、(b)はヘリカル巻ヘッドである。
[旋回機構]
図5及び図6(a)に示す通り、フープ巻ヘッド12は、ボビン12bをマンドレルMの周りに旋回する旋回機構120を備える。旋回機構120は、回転盤12cを備える。回転盤12cは、本体フレーム12aに対して回転自在に支持される。回転盤12cは、本体フレーム12aと同様に挿通部12dを有し、マンドレルMを挿通する。回転盤12cは、マンドレルMを中心に回転する。
ボビン12bは、回転盤12cに回転自在に支持される。旋回機構120は、モーター等からなるボビン回転駆動部12eを備える。旋回機構120は、ボビン回転駆動部12eの回転軸に連結されたプーリー12hを備える。回転盤12c及びプーリー12hは、無端ベルト12gを介して連結される。
フープ巻ヘッド12は、ボビン回転駆動部12eを駆動することによって、プーリー12hを回転し、無端ベルト12gを介して回転盤12cを回転する。これにより、ボビン12bは、自転しながらマンドレルMの周りを公転して、マンドレルMに繊維束Rを繰り出し巻き付ける。
なお、ボビン旋回機構120は、上記したベルト方式の機構に限らず、歯車方式等の機構を採用できる。
[回転機構]
図5に示す通り、マンドレル移動台11は、マンドレルMを中心軸周りに回転するための回転機構111を備える。回転機構111は、モーター等からなるマンドレル回転駆動部11aを備える。マンドレル回転駆動部11aは、その回転軸の端部にチャック部11cを有する。チャック部11cは、マンドレル用スピンドルSをスプライン結合等で回転規制に着脱可能である。
回転機構111は、マンドレル回転駆動部11aを駆動することにより、チャック部11cに連結されたマンドレル用スピンドルSを介して、マンドレルMを中心軸周りに回転する。
[移動機構]
図5では、機台10は二点鎖線で示され、その内部構造が実線で示されている。機台10は、マンドレルMを長手方向1aに往復移動するためのマンドレル移動機構101と、フープ巻ヘッド12を長手方向1aに往復移動するためのフープ巻ヘッド移動機構121とを備える。
マンドレル移動機構101は、モーター等からなるマンドレル移動駆動部10cを備える。マンドレル移動機構101は、長手方向1aに延設されたマンドレル用ボールねじ軸10dを備える。マンドレル用ボールねじ軸10dは、マンドレル移動駆動部10cに連結されており、マンドレル移動駆動部10cの駆動で回転する。
マンドレル移動機構101は、マンドレル用ボールねじ軸10dに螺合されたマンドレル用ボールナット10eを備える。マンドレル用ボールナット10eは、マンドレル移動台11に連結されている。
従って、マンドレル用ボールねじ軸10dが正逆回転して、マンドレル用ボールナット10eがボールねじ軸10d(長手方向1a)に沿って往復移動する。そして、マンドレル用ボールナット10eに連結されたマンドレル移動台11は、第1ガイドレール部10a(長手方向1a)に沿って往復移動する(図2)。
フープ巻ヘッド移動機構121は、モーター等からなるフープ巻ヘッド移動駆動部10fを備える。フープ巻ヘッド移動機構121は、長手方向1aに延設されたフープ巻ヘッド用ボールねじ軸10gを備える。フープ巻ヘッド用ボールねじ軸10gは、フープ巻ヘッド移動駆動部10fに連結されており、フープ巻ヘッド移動駆動部10fの駆動で回転する。
フープ巻ヘッド移動機構121は、フープ巻ヘッド用ボールねじ軸10gに螺合されたフープ巻ヘッド用ボールナット10hを備える。フープ巻ヘッド用ボールナット10hは、フープ巻ヘッド12の移動ベース12fに連結されている。
従って、フープ巻ヘッド用ボールねじ軸10gが正逆回転して、フープ巻ヘッド用ボールナット10hがボールねじ軸10g(長手方向1a)に沿って往復移動する。そして、フープ巻ヘッド用ボールナット10hに連結されたフープ巻ヘッド12(移動ベース12f)が、第2ガイドレール部10b(長手方向1a)に沿って往復移動する(図2)。
なお、マンドレル移動機構101及びフープ巻ヘッド移動機構121は、上記したボールねじ方式の機構に限らず、アクチュエータ方式等の機構を採用できる。
[制御部]
制御部6は、ボビン回転駆動部12e、マンドレル回転駆動部11a、マンドレル移動駆動部10c及びフープ巻ヘッド移動駆動部10fに接続されている。これにより、制御部6は、予め設定された駆動データ或いは入力される駆動データに基づいて、旋回機構120、回転機構111、マンドレル移動機構101及びフープ巻ヘッド移動機構121を制御する。
[フープ巻・ヘリカル巻]
図6(a)に示す通り、フープ巻を行う間、ボビン12bは、マンドレルMの周りを正方向60a(図時計回り)に旋回する。フープ巻を行う間、マンドレルMの回転は停止する。
図6(b)に示す通り、ヘリカル巻を行う間、マンドレルMは、マンドレル中心軸周りに逆方向60b(図反時計回り)に回転する。また、ヘリカル巻を行う間、後述するが、ボビン12bは、マンドレルMの周りを逆方向60b(図反時計回り)に旋回する(図6(a))。
図7は、フープ巻及びヘリカル巻を示す側面図である。図7(a)に示すように、フープ巻は、マンドレル軸方向Mcに対して略直角に繊維束Rを巻き付ける。図7(b)・(c)に示すように、ヘリカル巻は、マンドレル軸方向Mcに対して所定の角度θ(θ1,θ2)で繊維束Rを巻き付ける。前述の通り、フープ巻ヘッド12により、フープ巻が行われ、ヘリカル巻ヘッド13により、ヘリカル巻が行われる。
[製造工程]
図8〜図15は、フィラメントワインディング装置の製造工程を示す側面図である。
[設置動作]
図8(a)に示すように、フィラメントワインディング装置は、受渡装置3を備える。受渡装置3は、受渡ハンド部30を備える。受渡ハンド部30は、受渡スピンドル30cを着脱自在に把持して保持する。受渡ハンド部30は、垂直方向に伸縮自在な伸縮アーム30aを備える。
さらに、受渡ハンド部30は、天井部Tに設けられたガイドレール(図示略)に沿って、水平方向に移動自在な移動ベース30bを備える。受渡ハンド部30は、制御部6によって駆動制御される。
受渡スピンドル30cは、第1受渡リング31及び第2受渡リング32を保持する。各受渡リング31,32は、スプライン結合等によって、受渡スピンドル30cに対して軸方向に移動可能で周方向に規制されている。
各受渡リング31,32は、永久磁石の磁力等を利用した着脱機構(図示略)によって、互いに結合し、受渡スピンドル30cに位置固定される。各受渡リング31,32は、後述の工程で、互いに分離したり、受渡スピンドル30cから離れる。
マンドレル移動台11は、両側壁部11b,11bにマンドレル回転駆動部11a,11aを備える。側壁部11b,11bは、巻付け時には垂直方向に立設しており、マンドレルMを設置・排出する時に、水平方向に倒すことができる。
マンドレル移動台11は、両側壁部11b,11bが倒れた状態で待機する。受渡ハンド部30は、受渡スピンドル30cを把持・保持して、機台10の他端側(図右)から一端側(図左)へ移動する。
図8(b)に示すように、受渡ハンド部30は、受渡スピンドル30cをフープ巻ヘッド12及びヘリカル巻ヘッド13の挿通部12d,13dに挿通した状態で、位置決めする。
各受渡リング31,32は、ヘッド部12,13に設けられたチャック機構(図示略)によって、位置固定される。第1受渡リング31に、テープ等によって、ヘッド部12,13から繰り出される繊維束Rの始端が固着される。
図9(a)に示すように、フィラメントワインディング装置は、設置・排出装置5を備える。設置・排出装置5は、第1及び第2設置・排出ハンド部51,52を備える。第1及び第2設置・排出ハンド部51,52は、マンドレル用スピンドルSを着脱自在に把持して、巻取り前及び巻取り後のマンドレルM1,M2を保持し、移動する。
第1及び第2設置・排出ハンド部51,52は、受渡ハンド部30と同様に、伸縮アーム51a,52a及び移動ベース51b,52bを備える。第1及び第2設置・排出ハンド部51,52は、制御部6によって駆動制御される。
第1及び第2設置・排出ハンド部51,52は、巻取り前のマンドレルM1の両側で、そのスピンドルSを把持して、移動する。第1及び第2設置・排出ハンド部51,52は、マンドレル用スピンドルSの他端(図右)を受渡スピンドル30cの一端(図左)に当接するように、配置する。
図9(b)に示すように、第1及び第2設置・排出ハンド部51,52は、マンドレルM1を機台10の他端側(図右)に移動する。それと同期して、受渡ハンド部30は、受渡スピンドル30cを機台10の他端側(図右)に移動する。これにより、各スピンドルS,30cは、互いに当接したままとなる。
前述の通り、各受渡リング31,32は、ヘッド部12,13のチャック機構(図示略)によって、位置固定されているので、受渡スピンドル30cからマンドレル用スピンドルSに嵌め込まれて(受け渡されて)、保持される。
なお、各受渡リング31,32を受渡スピンドル30cに位置固定する着脱機構(図示略)の結合力は、チャック機構(図示略)のそれよりも小さいので、上記工程によって、各受渡リング31,32は受渡スピンドル30cから離れる。
設置・排出装置5は、第3設置・排出ハンド部53を備える。第3設置・排出ハンド部53は、第1設置・排出ハンド部51等と同一構成で、伸縮アーム53a及び移動ベース53bを備える。第3設置・排出ハンド部53は、制御部6によって駆動制御される。
第3設置・排出ハンド部53は、マンドレル用スピンドルSを他端側(図右)で保持する。これにより、第2及び第3設置・排出ハンド部52,53が、ヘッド部12,13の両側でマンドレル用スピンドルSを保持する。
図10(a)に示すように、受渡ハンド部30は、受渡スピンドル30cを退避する。第2設置・排出ハンド部52は、マンドレル用スピンドルSを離して、伸縮アーム52aで上方へ退避する。
そして、第1及び第3設置・排出ハンド部51,53が、マンドレルM1を機台10の他端側(図右)へ少し移動する。これにより、受渡用リング31が、マンドレルM1と接合する。
そして、マンドレル移動台の側壁部11b,11bが起立する。マンドレル用スピンドルSの両端は、マンドレル回転駆動部11a,11aに連結し、支持される。マンドレル移動台11はマンドレルM1を回転支持する。
これにより、巻取り前のマンドレルM1が、巻取り位置に設置される。第1及び第3設置・排出ハンド部51,53は、マンドレル用スピンドルSを離して、伸縮アーム51a,53aで上方へ退避する。そして、各設置・排出ハンド部51〜53が退避する。
[巻付け動作]
図10(b)に示すように、フープ巻を行う際、制御部6によって、フープ巻ヘッド12が次のように動作する。フープ巻ヘッド12は、マンドレルMの他端(図右)から一端(図左)へ移動しながら、ボビン12bが旋回する。なお、マンドレル移動台11は停止しているので、マンドレルMは移動及び回転しない。
これにより、各ボビン12bから繊維束Rが繰り出される。繊維束Rは、マンドレル軸方向Mc(図7)に対して略直交(若干傾斜)に、それぞれが重ならないように隙間なく平行に巻き付けられる。このように巻付くよう、フープ巻ヘッド12の移動速度及びボビン12bの旋回速度が決定される。
フープ巻ヘッド12が、マンドレル円筒部Ma(図7)の他端(図右)から一端(図左)へ移動することにより、マンドレル円筒部Maに一層の繊維束Rが積層される。そして、必要層の繊維束Rが積層されるまで、フープ巻ヘッド12は、マンドレル円筒部Maの一端(図左)と他端(図右)とを往復移動する。
フープ巻完了後、図11(a)に示すように、フープ巻ヘッド12は、マンドレル移動台11の一端側(図左)へ退避する。フープ巻ヘッド12は、マンドレルMから所定距離Wを置いて、マンドレル用スピンドルS上に配置される。
図11(b)に示すように、ヘリカル巻を行う際、制御部6によって、マンドレル移動台11が次のように動作する。マンドレル移動台11は、ヘリカル巻ヘッド13がマンドレルMの他端(図右)から一端(図左)へ相対的に移動するよう、移動する。この移動と共に、マンドレル回転駆動部11a,11aがマンドレルMを回転する。
ヘリカル巻ヘッド13から繰り出される複数の繊維束Rは、マンドレル平行部でマンドレル軸方向Mc(図7)に対して巻付け角度θ1に、それぞれが重ならないように隙間なく平行に巻き付けられる。このように巻付くよう、マンドレル移動台11(ヘリカル巻ヘッド13)の移動速度及びマンドレル回転駆動部11a(マンドレルM)の回転速度が決定される。
ヘリカル巻ヘッド13が、マンドレルMの他端(図右)から一端(図左)へ移動することにより、マンドレルMに、一層の繊維束Rが積層される。そして、必要層の繊維束Rが積層されるまで、ヘリカル巻ヘッド13は、マンドレルMの一端(図左)と他端(図右)とを往復移動する。
さらに、フープ巻ヘッド12は、マンドレルMからの所定距離Wを保つように、マンドレル移動台11と同期して移動する。また、マンドレルMの回転により、ボビン12bから余分な繊維束Rが繰り出されてスピンドルSに巻き付かないように、ボビン12bは、マンドレルMの回転と同期してマンドレルと同方向に回転する。
図12(a)に示すように、巻付け角度θ2(>θ1)のヘリカル巻を行う際や、図12(b)に示すように、その後、再度巻付け角度θ1のヘリカル巻を行う際、上記と同様に、マンドレル移動台11及びフープ巻ヘッド12が動作する。
図13(a)に示すように、必要層のヘリカル巻を行った後、マンドレル移動台11が機台10の一端側(図左)へ移動して、ヘリカル巻ヘッド13がマンドレル移動台11の他端側(図右)に配置される。これにより、ヘリカル巻ヘッド13から繰り出される繊維束Rが、各受渡リング31,32に巻き付く。
図13(b)に示すように、必要層のフープ巻を行った後、フープ巻ヘッド12が、マンドレルM2の他端側(図右)に移動する。これにより、ボビン12bから繰り出される繊維束Rが、各受渡リング31,32に巻き付く。
従って、ヘッド部12,13から繰り出される繊維束Rは、各受渡リング31,32に巻き付き、保持される。
なお、上記の通り、マンドレルM2に巻き付いた繊維束Rは、第1受渡リング(マンドレルM側の受渡リング)31が始端となって、第2受渡リング(マンドレルMと反対側の受渡リング)32が終端となっている。
[切断動作]
図14(a)に示すように、フィラメントワインディング装置は、切断装置4を備える。切断装置4は、カッター部40を備える。カッター部40は、伸縮アーム40a及び移動ベース40bを備える。カッター部40は、制御部6によって駆動制御される。
カッター部40は、その刃先を各受渡リング31,32の間に配置する。そして、マンドレル回転駆動部11a,11aによって、マンドレルM2と共に各受渡リング31,32を回転する。これにより、各受渡リング31,32に巻き付けられた繊維束Rは、各受渡リング31,32の間で切断されて分離する。
[排出動作]
図14(b)に示すように、第1及び第3設置・排出ハンド部51,53が、マンドレル用スピンドルSの両側を把持してマンドレルM2を保持する。その状態で、巻付け後のマンドレルM2を巻付け位置から排出したり、巻付け前のマンドレルM1を巻付け位置から設置可能なよう、マンドレル移動台の側壁部11b,11bが倒れる。
そして、受渡ハンド部30が、受渡スピンドル30cを移動する。受渡スピンドル30cは、第3受渡リング33を保持する。受渡ハンド部30は、受渡スピンドル30cの一端(図左)をマンドレル用スピンドルSの他端(図右)に当接する。
図15(a)に示すように、各スピンドルS,30cを当接した状態で、第1及び第3設置・排出ハンド部51,53並びに受渡ハンド部30が、マンドレルM2(スピンドルS)及び受渡スピンドル30cを機台10の一端側(図左)へ若干移動する。
このとき、ヘッド部12,13に設けられたチャック機構(図示略)は、第1受渡リング31を離している(第2受渡リング32は位置固定する)。従って、第1受渡リング31は、マンドレルM2と共に第2受渡リング32から離れる。
そして、第2設置・排出ハンド部52が、各受渡リング31,32の間でマンドレル用スピンドルSを把持して保持する。これにより、第1及び第2設置・排出ハンド部51,52が、マンドレルM2の両側を保持する。そして、第3設置・排出ハンド部53は退避する。
さらに、各スピンドルS,30cを当接した状態で、第1及び第2設置・排出ハンド部51,52並びに受渡ハンド部30が、マンドレル用スピンドルS及び受渡スピンドル30cを機台10の一端側(図左)へ移動する。
図15(b)に示すように、第2受渡リング32は、マンドレル用スピンドルSから受渡スピンドル30cに嵌め込まれて(受け渡されて)、保持される。そして、第3受渡リング33は、着脱機構(図示略)によって、第2受渡リング32に結合する。受渡スピンドル30cは、第2及び第3受渡リング32,33を保持する。
第1及び第2設置・排出ハンド部51,52は、巻取り後のマンドレルM2を巻取り位置から排出する。これまでの製造工程によって、1本の巻取りマンドレルM2(製造物)が完成する。
なお、ヘッド部12,13から繰り出される繊維束Rは、第2受渡リング32に巻き付き、保持されている。図15(b)は、上記図8(b)に対応した状態となる。
[受渡し動作]
その後、上述した[設置動作](図9(a)〜図10(a))及び[巻付け動作](図10(b)〜図13(b))を行う。ヘッド部12,13から繰り出される繊維束Rは、第2受渡リング32から次のマンドレルM1へと巻き付けられる。従って、第2受渡リング32が、繊維束Rを巻取り後のマンドレルM2からその次の巻取り前のマンドレルM1に受け渡す。
そして、巻付け動作終了後、マンドレルM2に巻き付けられた繊維束Rは、第3受渡リング33に巻き付けられる。その後、[切断動作](図14(a))及び[排出動作](図14(a)〜図15(b))を行う。そして、第3受渡リング33が、繊維束Rを巻取り後のマンドレルM2からその次の巻取り前のマンドレルM1に受け渡す。
[繰り返し動作]
上記の通り、[設置動作]、[巻付け動作]、[切断動作]、[排出動作]及び[受渡し動作](図9〜図15)を繰り返し行うことにより、作業者は殆ど作業することなく、製造ラインを自動化することができる。
[タイミングチャート]
図16は、フープ巻ヘッドのボビン旋回及びマンドレル回転のタイミング及び回転方向を示すタイミングチャートである。
図16に示す通り、フープ巻を行う間、マンドレルMの回転は停止し、フープ巻ヘッド12のボビン12bは正方向60aに旋回する(図10(b))。これにより、マンドレルMの周囲に繊維束Rが巻き付かれて、フープ巻を行う。フープ巻完了後、マンドレルM及びボビン12bの回転等を停止して、形状検査等の所定の作業を行う。
そして、フープ巻ヘッド12は、マンドレルMから所定距離Wを置いて離れるように、マンドレル用スピンドルS上に配置される。フープ巻ヘッド12がマンドレルMから離れて移動する間、ボビン12bは正方向60aに旋回する(図11(a))。これにより、フープ巻ヘッド12は、繊維束Rをマンドレル用スピンドルSに巻き付けて、所謂フープ捨て巻きを行う。その後、ボビン12bの旋回を停止して、所定の作業を行う。
そして、ヘリカル巻を行う間、マンドレルMを逆方向60bに回転し、それに同期して、ボビン12bを逆方向60bに旋回する(図11(b))。マンドレルMの回転により、ヘリカル巻ヘッド13から繊維束Rが繰り出され、マンドレルMの周囲に繊維束Rが巻き付かれて、ヘリカル巻を行う。また、マンドレルMの回転と同期して、同じ方向60bかつ同じ回転速度(回転数)で、ボビン12bを旋回することにより、ヘリカル巻を行う間、フープ巻ヘッド12(ボビン12b)から繊維束Rが繰り出されることはなく、無駄な繊維束(無駄糸)の排出を削除できる。
フィラメントワインディング装置を示す一部省略斜視図である。 図1の巻付け装置を示す拡大斜視図である。 ヘリカル巻ヘッド13を示す正面図である。 開繊ガイドを示す斜視図である。 巻付け装置を示す一部側面図である。 マンドレル軸方向から見た一部正面図で、(a)はフープ巻ヘッド、(b)はヘリカル巻ヘッドである。 フープ巻及びヘリカル巻を示す側面図である。 フィラメントワインディング装置の製造工程を示す側面図である。 図8に続く側面図である。 図9に続く側面図である。 図10に続く側面図である。 図11に続く側面図である。 図12に続く側面図である。 図13に続く側面図である。 図14に続く側面図である。 フープ巻ヘッドのボビン旋回及びマンドレル回転のタイミング及び回転方向を示すタイミングチャートである。
符号の説明
1 巻付け装置
10 機台
11 マンドレル移動台
12 フープ巻ヘッド
12b ボビン
13 ヘリカル巻ヘッド
111 回転機構
120 旋回機構
101 マンドレル移動機構
121 フープ巻ヘッド移動機構
6 制御部
1a 長手方向
Mc マンドレルの軸方向
M マンドレル
S マンドレル用スピンドル
R 繊維束

Claims (3)

  1. フープ巻及びヘリカル巻で繊維束をマンドレルに巻き付けるフィラメントワインディング装置において、
    前記フィラメントワインディング装置を制御する制御部と、
    前記マンドレルを回転する回転機構と、
    前記フープ巻で巻き付けるためのフープ巻ヘッドと、
    前記ヘリカル巻で巻き付けるためのヘリカル巻ヘッドとを備え、
    前記フープ巻ヘッドは、
    前記マンドレルに繊維束を繰り出すボビンと、
    前記ボビンを前記マンドレルの周りに旋回する旋回機構とを備え、
    前記制御部は、ヘリカル巻を行う間、前記マンドレル及び前記ボビンが同一方向で回転及び旋回するように、前記回転機構及び前記旋回機構を制御することを特徴とするフィラメントワインディング装置。
  2. 前記マンドレルを移動するマンドレル移動機構と、
    前記フープ巻ヘッドを移動するフープ巻ヘッド移動機構とを備え、
    前記制御部は、ヘリカル巻を行う間、前記フープ巻ヘッドが前記マンドレルから一定の距離で退避移動するように、前記マンドレル移動機構及び前記フープ巻ヘッド移動機構を制御することを特徴とする請求項1に記載のフィラメントワインディング装置。
  3. フープ巻及びヘリカル巻で繊維束をマンドレルに巻き付けるフィラメントワインディング方法において、
    フープ巻を行う間は、前記マンドレルを停止して、前記繊維束が巻き付けられたボビンを前記マンドレル周りに旋回し、ヘリカル巻を行う間、前記マンドレル及び前記ボビンを同一方向に回転することを特徴とするフィラメントワインディング方法。
JP2008161521A 2008-06-20 2008-06-20 フィラメントワインディング装置及び方法 Active JP5206949B2 (ja)

Priority Applications (3)

Application Number Priority Date Filing Date Title
JP2008161521A JP5206949B2 (ja) 2008-06-20 2008-06-20 フィラメントワインディング装置及び方法
US12/464,709 US8105454B2 (en) 2008-06-20 2009-05-12 Filament winding apparatus and method thereof
EP09160101A EP2135728B1 (en) 2008-06-20 2009-05-13 Filament Winding Apparatus

Applications Claiming Priority (1)

Application Number Priority Date Filing Date Title
JP2008161521A JP5206949B2 (ja) 2008-06-20 2008-06-20 フィラメントワインディング装置及び方法

Publications (2)

Publication Number Publication Date
JP2010000692A true JP2010000692A (ja) 2010-01-07
JP5206949B2 JP5206949B2 (ja) 2013-06-12

Family

ID=41003661

Family Applications (1)

Application Number Title Priority Date Filing Date
JP2008161521A Active JP5206949B2 (ja) 2008-06-20 2008-06-20 フィラメントワインディング装置及び方法

Country Status (3)

Country Link
US (1) US8105454B2 (ja)
EP (1) EP2135728B1 (ja)
JP (1) JP5206949B2 (ja)

Cited By (5)

* Cited by examiner, † Cited by third party
Publication number Priority date Publication date Assignee Title
JP2010234529A (ja) * 2009-03-30 2010-10-21 Murata Machinery Ltd フィラメントワインディング装置
JP2013000887A (ja) * 2011-06-10 2013-01-07 Toyota Motor Corp フィラメントワインディング方法、フィラメントワインディング装置及びタンク
JP2013063586A (ja) * 2011-09-16 2013-04-11 Murata Machinery Ltd フィラメントワインディング装置
KR101462979B1 (ko) * 2010-09-27 2014-11-18 무라다기카이가부시끼가이샤 필라멘트 와인딩 장치
KR20190015988A (ko) * 2017-08-07 2019-02-15 무라다기카이가부시끼가이샤 필라멘트 와인딩 장치

Families Citing this family (15)

* Cited by examiner, † Cited by third party
Publication number Priority date Publication date Assignee Title
JP5643324B2 (ja) * 2010-09-28 2014-12-17 村田機械株式会社 フィラメントワインディング装置
US9090429B2 (en) * 2010-09-28 2015-07-28 Murata Machinery, Ltd. Filament winding apparatus
EP2607053B1 (en) * 2011-09-16 2014-11-05 Murata Machinery, Ltd. Filament winding method and filament winding apparatus
CN103029308B (zh) * 2011-09-30 2015-09-30 中国科学院深圳先进技术研究院 碳纤维铺放设备
JP5902635B2 (ja) * 2013-02-08 2016-04-13 村田機械株式会社 チャック装置及びフープ巻き装置
KR101567163B1 (ko) 2013-12-19 2015-11-06 현대자동차주식회사 와인딩 방법 및 이를 위한 장치
JP6018119B2 (ja) * 2014-05-14 2016-11-02 トヨタ自動車株式会社 タンクの製造方法、ヘリカル巻き装置、及び、フィラメントワインディング装置
US9403657B2 (en) 2014-07-07 2016-08-02 Precision, Inc. Angular winding
US20160053412A1 (en) * 2014-08-20 2016-02-25 Karl Mayer Textilmaschinenfabrik Gmbh Device for producing a beam from a rope arrangement
US10273114B2 (en) * 2016-07-01 2019-04-30 Precision, Inc. Multi-sided winding
CN106799847A (zh) * 2017-03-30 2017-06-06 冯栓良 结构壁缠绕管连续化生产设备及其生产工艺
CN110328836B (zh) * 2019-04-29 2020-06-16 中国水利水电科学研究院 一种实现圆柱形棒体螺旋推进的方法
CN113386327B (zh) 2021-06-07 2022-04-22 太原理工大学 一种高效率纤维螺旋缠绕装置
CN113334745A (zh) * 2021-06-07 2021-09-03 太原理工大学 一种高质量多束纤维环向缠绕方法
CN113386329B (zh) * 2021-07-01 2023-07-28 西安英利科电气科技有限公司 一种纤维缠绕机及缠绕方法

Citations (9)

* Cited by examiner, † Cited by third party
Publication number Priority date Publication date Assignee Title
JPH081802A (ja) * 1994-06-22 1996-01-09 Showa Shell Sekiyu Kk フープワインディング装置及びフープワインディング方法
JPH08187797A (ja) * 1995-01-10 1996-07-23 Murata Mach Ltd 筒状繊維強化プラスチックの製造方法及び装置
JPH09277391A (ja) * 1996-04-11 1997-10-28 Arisawa Mfg Co Ltd 繊維強化樹脂製管体の製造方法
JP2002283467A (ja) * 2001-03-27 2002-10-03 Toyota Industries Corp Frp製パイプ及びフィラメントワインディング装置
JP2004148777A (ja) * 2002-11-01 2004-05-27 Toyota Industries Corp 圧力容器の製造方法及び繊維束配列装置
JP2004314550A (ja) * 2003-04-18 2004-11-11 Toyota Industries Corp Frp製パイプ及びフィラメントワインディング装置
JP2005313536A (ja) * 2004-04-30 2005-11-10 Yokohama Rubber Co Ltd:The ホースの線材巻付装置
JP2006082276A (ja) * 2004-09-14 2006-03-30 Fuji Heavy Ind Ltd 耐圧容器製造方法及び繊維束巻付装置
JP2008195000A (ja) * 2007-02-15 2008-08-28 Murata Mach Ltd フィラメントワインディング装置

Family Cites Families (6)

* Cited by examiner, † Cited by third party
Publication number Priority date Publication date Assignee Title
DE3010018A1 (de) 1980-03-15 1981-09-24 Messerschmitt-Bölkow-Blohm GmbH, 8000 München Verfahren und vorrichtung zum maschinellen herstellen von rohrfoermigen wickelkoerpern
JPS61256170A (ja) 1985-05-10 1986-11-13 三菱電機株式会社 誘導加熱装置付き冷蔵冷却装置
FI105261B (fi) 1997-05-22 2000-07-14 Pro Mark Center Oy Jatkuva- ja muuttuvatoiminen lujitemuovituotteiden kelauslaitteisto
US20030051795A1 (en) * 2001-05-29 2003-03-20 Burgess Keith E. Over-wrapping a primary filament to fabricate a composite material
WO2007104826A1 (en) 2006-03-13 2007-09-20 Jaemiae Aulis A method for producing a tube reinforced by means of fibres
EP2255950B1 (en) 2007-08-09 2016-11-09 Murata Machinery, Ltd. Method for operating a filament winding apparatus

Patent Citations (9)

* Cited by examiner, † Cited by third party
Publication number Priority date Publication date Assignee Title
JPH081802A (ja) * 1994-06-22 1996-01-09 Showa Shell Sekiyu Kk フープワインディング装置及びフープワインディング方法
JPH08187797A (ja) * 1995-01-10 1996-07-23 Murata Mach Ltd 筒状繊維強化プラスチックの製造方法及び装置
JPH09277391A (ja) * 1996-04-11 1997-10-28 Arisawa Mfg Co Ltd 繊維強化樹脂製管体の製造方法
JP2002283467A (ja) * 2001-03-27 2002-10-03 Toyota Industries Corp Frp製パイプ及びフィラメントワインディング装置
JP2004148777A (ja) * 2002-11-01 2004-05-27 Toyota Industries Corp 圧力容器の製造方法及び繊維束配列装置
JP2004314550A (ja) * 2003-04-18 2004-11-11 Toyota Industries Corp Frp製パイプ及びフィラメントワインディング装置
JP2005313536A (ja) * 2004-04-30 2005-11-10 Yokohama Rubber Co Ltd:The ホースの線材巻付装置
JP2006082276A (ja) * 2004-09-14 2006-03-30 Fuji Heavy Ind Ltd 耐圧容器製造方法及び繊維束巻付装置
JP2008195000A (ja) * 2007-02-15 2008-08-28 Murata Mach Ltd フィラメントワインディング装置

Cited By (9)

* Cited by examiner, † Cited by third party
Publication number Priority date Publication date Assignee Title
JP2010234529A (ja) * 2009-03-30 2010-10-21 Murata Machinery Ltd フィラメントワインディング装置
KR101462979B1 (ko) * 2010-09-27 2014-11-18 무라다기카이가부시끼가이샤 필라멘트 와인딩 장치
US8967521B2 (en) 2010-09-27 2015-03-03 Murata Machinery, Ltd. Filament winding device
JP2013000887A (ja) * 2011-06-10 2013-01-07 Toyota Motor Corp フィラメントワインディング方法、フィラメントワインディング装置及びタンク
KR101562292B1 (ko) 2011-06-10 2015-10-21 무라다기카이가부시끼가이샤 필라멘트 와인딩 방법, 필라멘트 와인딩 장치 및 탱크
JP2013063586A (ja) * 2011-09-16 2013-04-11 Murata Machinery Ltd フィラメントワインディング装置
KR20190015988A (ko) * 2017-08-07 2019-02-15 무라다기카이가부시끼가이샤 필라멘트 와인딩 장치
JP2019030988A (ja) * 2017-08-07 2019-02-28 村田機械株式会社 フィラメントワインディング装置
KR102520881B1 (ko) 2017-08-07 2023-04-12 무라다기카이가부시끼가이샤 필라멘트 와인딩 장치

Also Published As

Publication number Publication date
JP5206949B2 (ja) 2013-06-12
EP2135728A1 (en) 2009-12-23
EP2135728B1 (en) 2013-03-13
US20090314418A1 (en) 2009-12-24
US8105454B2 (en) 2012-01-31

Similar Documents

Publication Publication Date Title
JP5206949B2 (ja) フィラメントワインディング装置及び方法
JP4362740B2 (ja) フィラメントワインディング自動化システム
US7810754B2 (en) Filament winding automated system
JP4403522B2 (ja) フィラメントワインディング装置
JP4420250B2 (ja) フィラメントワインディング装置
JP4403521B2 (ja) フィラメントワインディング装置
JP4404226B2 (ja) フィラメントワインディング自動化システム
JP5278662B2 (ja) フィラメントワインディング装置
CN101620934B (zh) 线圈绕线方法及线圈绕线装置
JP5067533B2 (ja) フィラメントワインディング装置
CN103153590B (zh) 单纤维卷绕装置的控制方法
US11931949B2 (en) Filament winding device
JP7083705B2 (ja) 巻線装置及びそれを用いた巻線方法
JP6825428B2 (ja) フィラメントワインディング装置
JP2009016642A (ja) 巻線機
JP5796724B2 (ja) フィラメントワインディング装置
JP2010234529A (ja) フィラメントワインディング装置
JP4735858B2 (ja) フィラメントワインディング自動化システム
CN101649518B (zh) 整经装置
JP5206950B2 (ja) フィラメントワインディング装置における糸受け渡しリング機構
JP2005220491A (ja) 直巻きサンプル整経機
JP2024171561A (ja) フィラメントワインディング装置
WO2024247434A1 (ja) フィラメントワインディング装置

Legal Events

Date Code Title Description
A621 Written request for application examination

Free format text: JAPANESE INTERMEDIATE CODE: A621

Effective date: 20110418

A977 Report on retrieval

Free format text: JAPANESE INTERMEDIATE CODE: A971007

Effective date: 20121109

A131 Notification of reasons for refusal

Free format text: JAPANESE INTERMEDIATE CODE: A131

Effective date: 20121121

A521 Request for written amendment filed

Free format text: JAPANESE INTERMEDIATE CODE: A523

Effective date: 20121227

TRDD Decision of grant or rejection written
A01 Written decision to grant a patent or to grant a registration (utility model)

Free format text: JAPANESE INTERMEDIATE CODE: A01

Effective date: 20130123

A61 First payment of annual fees (during grant procedure)

Free format text: JAPANESE INTERMEDIATE CODE: A61

Effective date: 20130205

FPAY Renewal fee payment (event date is renewal date of database)

Free format text: PAYMENT UNTIL: 20160301

Year of fee payment: 3

R150 Certificate of patent or registration of utility model

Ref document number: 5206949

Country of ref document: JP

Free format text: JAPANESE INTERMEDIATE CODE: R150

Free format text: JAPANESE INTERMEDIATE CODE: R150

R250 Receipt of annual fees

Free format text: JAPANESE INTERMEDIATE CODE: R250

R250 Receipt of annual fees

Free format text: JAPANESE INTERMEDIATE CODE: R250

R250 Receipt of annual fees

Free format text: JAPANESE INTERMEDIATE CODE: R250

R250 Receipt of annual fees

Free format text: JAPANESE INTERMEDIATE CODE: R250

R250 Receipt of annual fees

Free format text: JAPANESE INTERMEDIATE CODE: R250

R250 Receipt of annual fees

Free format text: JAPANESE INTERMEDIATE CODE: R250

R250 Receipt of annual fees

Free format text: JAPANESE INTERMEDIATE CODE: R250

R250 Receipt of annual fees

Free format text: JAPANESE INTERMEDIATE CODE: R250