JP2008521237A - Ledユニットの光出力を制御するフィードバック制御システム - Google Patents

Ledユニットの光出力を制御するフィードバック制御システム Download PDF

Info

Publication number
JP2008521237A
JP2008521237A JP2007542398A JP2007542398A JP2008521237A JP 2008521237 A JP2008521237 A JP 2008521237A JP 2007542398 A JP2007542398 A JP 2007542398A JP 2007542398 A JP2007542398 A JP 2007542398A JP 2008521237 A JP2008521237 A JP 2008521237A
Authority
JP
Japan
Prior art keywords
light
frame
light output
control system
detection
Prior art date
Legal status (The legal status is an assumption and is not a legal conclusion. Google has not performed a legal analysis and makes no representation as to the accuracy of the status listed.)
Ceased
Application number
JP2007542398A
Other languages
English (en)
Inventor
クルト,ラルフ
イェー メイエル,エデュアルド
Current Assignee (The listed assignees may be inaccurate. Google has not performed a legal analysis and makes no representation or warranty as to the accuracy of the list.)
Koninklijke Philips NV
Original Assignee
Koninklijke Philips NV
Koninklijke Philips Electronics NV
Priority date (The priority date is an assumption and is not a legal conclusion. Google has not performed a legal analysis and makes no representation as to the accuracy of the date listed.)
Filing date
Publication date
Application filed by Koninklijke Philips NV, Koninklijke Philips Electronics NV filed Critical Koninklijke Philips NV
Publication of JP2008521237A publication Critical patent/JP2008521237A/ja
Ceased legal-status Critical Current

Links

Images

Classifications

    • HELECTRICITY
    • H05ELECTRIC TECHNIQUES NOT OTHERWISE PROVIDED FOR
    • H05BELECTRIC HEATING; ELECTRIC LIGHT SOURCES NOT OTHERWISE PROVIDED FOR; CIRCUIT ARRANGEMENTS FOR ELECTRIC LIGHT SOURCES, IN GENERAL
    • H05B45/00Circuit arrangements for operating light-emitting diodes [LED]
    • H05B45/20Controlling the colour of the light
    • H05B45/22Controlling the colour of the light using optical feedback
    • HELECTRICITY
    • H05ELECTRIC TECHNIQUES NOT OTHERWISE PROVIDED FOR
    • H05BELECTRIC HEATING; ELECTRIC LIGHT SOURCES NOT OTHERWISE PROVIDED FOR; CIRCUIT ARRANGEMENTS FOR ELECTRIC LIGHT SOURCES, IN GENERAL
    • H05B45/00Circuit arrangements for operating light-emitting diodes [LED]
    • H05B45/10Controlling the intensity of the light
    • H05B45/12Controlling the intensity of the light using optical feedback
    • YGENERAL TAGGING OF NEW TECHNOLOGICAL DEVELOPMENTS; GENERAL TAGGING OF CROSS-SECTIONAL TECHNOLOGIES SPANNING OVER SEVERAL SECTIONS OF THE IPC; TECHNICAL SUBJECTS COVERED BY FORMER USPC CROSS-REFERENCE ART COLLECTIONS [XRACs] AND DIGESTS
    • Y02TECHNOLOGIES OR APPLICATIONS FOR MITIGATION OR ADAPTATION AGAINST CLIMATE CHANGE
    • Y02BCLIMATE CHANGE MITIGATION TECHNOLOGIES RELATED TO BUILDINGS, e.g. HOUSING, HOUSE APPLIANCES OR RELATED END-USER APPLICATIONS
    • Y02B20/00Energy efficient lighting technologies, e.g. halogen lamps or gas discharge lamps
    • Y02B20/30Semiconductor lamps, e.g. solid state lamps [SSL] light emitting diodes [LED] or organic LED [OLED]

Landscapes

  • Led Devices (AREA)
  • Circuit Arrangement For Electric Light Sources In General (AREA)
  • Optical Communication System (AREA)
  • Liquid Crystal (AREA)

Abstract

本発明は、少なくとも一つの色の光を放射する少なくとも一つのLED(15)を有する発光ユニット(11)の光出力を制御する、制御システム(13)および方法に関する。制御システム(13)は、前記発光ユニット(11)の前記光出力を検出する検出ユニット(19)、検出パルス発生器(27)、検出光を妨害する周囲光を抑制する抑制ユニット(23)、および前記発光ユニットの所望の光出力を表す照合信号と前記抑制ユニットの出力信号との間の比較に基づいて、前記発光ユニットの光出力を制御する制御ユニット(21)、をベースとするフィードバックを有する。検出パルス発生器(27)は、非周期的に検出パルスを発生する。これにより、従来の抑制アルゴリズムを用いて、特にパルス状の光のような周囲光の干渉を、排除または軽減する可能性が提供される。

Description

本発明は、LED(発光ダイオード)発光ユニットの光出力を制御する制御システム、LED発光ユニットおよびLED発光ユニットを制御する方法に関する。
白色光発光ユニット、またはRGB−LED発光体およびLEDディスプレイのようなカラーLEDのアレイを有する色調整可能な発光ユニットは、いくつかの理由により関心が持たれている。例えば、これらのユニットは、低コストで効率的であり、これらのユニットの光出力の色度は、調整可能である。
しかしながら、LEDの光出力は、LED間で変化するとともに、各LEDの寿命は変動する。またLEDの光出力は、温度に対して逆の変化を示し、この変化は、違う色では異なる。またLEDの出力の変化は、単一のLED発光ユニットにおいても問題となる。発光ユニットから安定な光出力を得るため、多くの対策が試みられている。これらの対策の中では、異なる種類のフィードバック制御が導入されてきた。すなわち、光出力が検出され、この検出を使用して、LEDの活性化が制御される。従来の一つの対策は、米国特許第6,495,964号に示されており、この文献では、検出される色のLEDをオフにすることにより、異なる色の組み合わせに対して、発光ユニットの光出力が検出される。従って、時間周期の間、いくつかの検出パルスが連続的に生じ、異なる色の光を発光するLEDの協調された連続的な停止が実施される。
このようなおよび他の従来の対策は、発光ユニットが専用の光源であるような、実質的に暗い環境では適正に行うことができる。しかしながら、実際のほとんどの場合、この仮定は、成立しない。また通常の場合、発光ユニットに取り付けられた検出器には、周囲光の一部が到達し得る。制御システムのフィードバック部では、LED自身によって放射された光から、この影響を区別して、色または発光の誤差を防止する必要がある。これは、時間内で色点の色度および安定性が強く要求される用途においては、特に重要な問題となる。この識別は、例えば、減算よって行われる。そのようなLED発光ユニットが使用される用途および特定の状況による変化のため、標準的な連続バックグラウンド減算では、十分に良好な結果を得ることはできない。連続バックグラウンド減算とは、全てのLEDがオフ状態の際の、いかなる残光も検出することを意味する。特に、近接のTL管、モニタまたは他のLEDモジュールのようなパルス光源で、問題が生じ得る。例えば、TL管が誤って常時放射し、赤色光の寄与が測定される場合を想像してみよう。その後、検出器は、歪んだ光を認識して、制御回路に誤った情報が提供され、これにより、色混合の誤った設定が生じる。
米国特許第6,495,964号明細書
本発明の課題は、前述のような従来技術の問題を排除しまたは軽減することであり、周囲光条件にあまり依存しない発光ユニット制御を提供することである。
この課題は、請求項1に記載の本発明によるLED発光ユニットの光出力を制御する制御システム、請求項11に記載のLED発光ユニットを制御する方法、および請求項10に記載のLED発光ユニットによって達成される。
本発明は、非周期的に出力光を測定することにより、周期的なパルス状の外部光源によって生じる干渉を有意に抑制する可能性が高まるという洞察に基づくものである。
すなわち、本発明のある態様では、少なくとも一つの色の光を放射する少なくとも一つのLEDを有する発光ユニットの光出力を制御する制御システムが提供される。当該制御システムは、前記発光ユニットの前記光出力を検出して、光出力信号を提供する検出ユニットと、該検出ユニットに検出パルスを提供する検出パルス発生器と、前記光出力信号における周囲光の干渉を抑制して、改良された光出力信号を提供する抑制ユニットと、を有する。さらに、当該制御システムは、前記発光ユニットの所望の光出力を表す照合信号と前記改良された光出力信号の比較に基づいて、前記発光ユニットの前記光出力信号を制御する制御ユニットを有し、前記検出パルス発生器は、非周期的に検出パルスを発生する。
別の態様では、本発明によって、少なくとも一つの色の光を放射する少なくとも一つのLEDを有する発光ユニットを制御する方法が提供される。当該方法は、
前記発光ユニットの光出力を非周期的に検出して、これにより光出力信号を発生するステップと、
前記光出力信号における周囲の干渉を抑制して、これにより、改良された光出力信号を発生するステップと、
前記改良された光出力信号と、前記発光ユニットの所望の光出力を表す照合信号とを比較するステップと、
前期比較に基づいて、前記発光ユニットの前記光出力を制御するステップと、
を有する。
すなわち、この発明では、発光ユニットの光フィードバックは、従来技術に比べて実質的に改良されている。また、光出力の色度の制御および安定性は、有意に改善される。
少なくとも一つのLEDを有する発光ユニットとは、1または2以上のいかなる種類のLEDを有するいかなるユニットをも意味することに留意する必要がある。異なる種類の発光ユニットおよびLEDのいくつかの例は、通常複数の異なる色のLEDを有するLED発光体、個々のLED、LEDランプ、ディスプレイ、および画素化ランプまたは光源のような装置ディスプレイ、OLED(有機LED)ディスプレイ、ポリLEDディスプレイ、発光繊維、信号または証明に使用されるLED配列等である。
また、発光ユニットの光出力とは、オン状態とオフ状態の両方、すなわちLEDがオンのときとオフのときの両方を意味することに留意する必要がある。当然のことながら、後者の場合において、検出光出力がゼロを超える場合、検出される光は、干渉周囲光またはバックグラウンド光である。
本発明の制御システムの実施例では、請求項2に記載のように、検出パルスを不規則に、すなわち非周期的に生じさせることにより、非周期性が得られる。この非周期性は、少なくとも比較的短い時間スケールで存在することに留意する必要がある。従って、数十または数百のフレームの後、パターンが繰り返され、パターン自身は、周期的になる。この用途のため、フレームは、パルスの開始時間に関係する時間素子として定められる。従って、時間または時間軸は、等しい時間部分に分割され、各部分は、フレームと呼ばれる。フレームは、一つのLED/各LEDの少なくとも一つの発光周期を有する。この実施例では、フレームと同じ時間部分の間にしばしば生じるパルス状の周囲光によって、発光ユニットの光出力の検出が妨害されるということが生じにくい。
本発明の制御システムの実施例では、請求項3に記載のように、フレームのある時間間隔では、ある検出パルスが繰り返され、同じフレームの他の時間間隔では、検出パルスは、全く生じない。これは、時間内検出のさらなる広がりを提供し、周期的な周囲光の抑制が助長される。
本発明の制御システムの実施例では、請求項4に記載のように、いくつかのフレームでは、ある検出パルスが繰り返され、他のフレームでは、検出パルスは、全く生じない。これにより、時間内検出の更なる広がりが提供され、周期的な周囲光の抑制が助長される。
請求項5および6に記載の制御システムの実施例では、異なる種類の非周期的なLED発光が提供される。LED光の特定の色の組み合わせが存在する場合、時間周期は、1つのフレームから別のフレームに移動されるため、特定の色の組み合わせと関連する検出パルスが、非周期的に生じる。従って、これらの実施例は、各フレームにおいてパルスがほぼ同じ時間で生じる場合であっても、非周期的な検出パルスの発生、またはこれと透過なものを含むと見なすことができる。
本発明の制御システムの実施例では、請求項7に記載のように、抑制ユニットは、平均化ユニットを有する。これにより、非周期的な摂動が平均化され、正しいLED光に対応する増大部分が、残りの部分に提供される。
本発明の制御システムの実施例では、請求項7に記載のように、抑制ユニットは、減算ユニットを有する。これにより、光出力信号から、バックグラウンド光信号を減算することが可能となる。正しいLED光に対応する、光出力信号の部分の増大が得られる。減算ユニットは、減算されるバックグラウンド光信号が良好に得られるように、平均化ユニットと組み合わされることが好ましい。
本発明の方法に対応する実施例は、対応する利点を有する。
本発明のこれらのおよび他の態様ならびに利点は、以降に示す実施例を参照することにより明らかとなろう。
以下、添付図面を参照して本発明をより詳しく説明する。
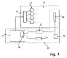
図1には、発光ユニット11および制御システム13が概略的に示されている。発光ユニット11は、LEDのアレイ15と、LED15を活性化させる電源ユニット17とを有する。LED15は、異なる色;主として、青色、緑色および赤色の光を放射する。当業者には明らかなように、通常の場合、制御システム13、電源ユニット17およびLED15は、全てPCB(プリント回路基盤)上に配置される。なお、図1には、いくつかの実施例に使用される部品のみが示されている。
制御システムは、検出ユニット19を有し、この検出ユニットは、発光ユニット11から放射される光の検出に使用され、制御ユニット21は、検出光に基づいて、発光ユニット11の光出力を制御する。特に、制御システムは、抑制ユニット23を有し、このユニットは、検出ユニット19の出力側に接続され、検出ユニット19からの光出力信号が受信される入力側と、制御ユニット21に接続され、制御ユニット21に改良された光出力信号を供給する出力側を有する。さらに制御ユニット13は、制御ユニット21に接続される照合信号発生ユニット25と、検出ユニット19に接続される検出パルス発生器27とを有する。制御ユニット21は、比較器29を有する。
制御システムは、以下のように作動する。時間は、前述のようにフレームに分割され、フレームの長さ、すなわち期間は、図2aに示すように、フレーム時間またはフレーム期間Tfと呼ばれる。各フレームのフレーム時間内で、異なる色の光を放射するLEDは、異なる広い時間窓の間に発光する。図2aを参照すると、例えば、次のように仮定される:赤色光を放射する全てのLED15は、時間窓31の間に発光され、その幅すなわち期間は、w1である;緑色のLED15は、時間窓33の間に発光し、その幅はw2であり、この幅はw1よりも広く、青色のLED15は、時間窓35内で発光し、この幅w3は、w2よりも広い。3つの時間窓31、33、35の各々の開始端は、それらの窓が重なるフレームの開始端では同時に生じる。従って、以降第1の期間とも呼ばれる赤色光の窓31内では、発光ユニット11の出力光に、緑および青の光も存在する。赤色光の窓31の終端と緑色光の窓33の終端の間の、第2の期間内では、緑色光および青色光が存在する。緑色光の窓の終端と青色光の窓の終端の間の、第3の時間内では、青色光のみが存在する。最後に、青色光の窓の終端と次のフレームの開始端の間の、第4の期間内では、いずれのLED15も発光しない。
この実施例では、検出パルス発生器27は、第1から第4の期間の各々の間に、各一つのパルスを発生し、すなわち、単位フレーム毎に、合計4つのパルスが発生する。パルスは、検出器ユニット19の作動を制御し、各パルスの期間、検出器ユニット19は、発光ユニット11の光出力を検出すなわち測定する。いかなる周囲の干渉光もLED光には混合されず、従って、干渉光は検出されない。仮に存在する場合でも、第4のパルス期間の間は、周囲干渉光、例えば一定のバックグラウンド光のみが検出される。各フレームにおいて、パルスは、前のフレームに対応する期間内で移動する。いかなる適当な方法が適用されても良いが、この移動は、準無秩序に定められることが好ましい。当業者は、この方法を決定することができる。各検出の実施に対して、検出ユニット10は、光出力信号を発生し、この信号は、抑制ユニット23に供給される。抑制ユニット23は、当業者には公知のいくつかの抑制アルゴリズムを用いて、光出力信号の干渉光信号部分を抑制する。抑制ユニットは、平均化ユニットを有し、平均化操作が行われる。例えば、標準的な平均化法が使用され、この方法では、光出力信号の予め定められた数、例えば10回分の測定が加えられ、その後、その回数で除算が行われる。別の方法は、浮動平均化処理である。この場合も、予め定められた数の値で平均化が行われる。新たな値を加えた場合、リスト中で最古のものが削除され、再度平均化が行われる。この方法では、各フレームの設定を調整することができる。さらに別の可能な方法は、重量平均処理である。周期的な干渉周囲光の寄与を遮断するため、平均化以外の方法を使用することも可能であることに留意する必要がある。その一例は、フーリエ解析であり、例えば周波数解析である。
この方法では、検出パルスは、非周期的に生じるため、少なくとも周期的なパルス状の周囲光、および一定の周囲バックグラウンド光を抑制することができる。パルス移動の形の非周期的な検出のため、前記第1から第4の周期と同じ期間に、周期的に生じる外部光信号パルスは、各事象で検出されず、これにより、光出力信号の全信号レベルに対する相対的な影響が抑制される。従って、抑制ユニット23は、改善された光出力信号を出力し、この信号が制御ユニット21に供給される。
制御ユニット21は、比較器29を用いて、改良された光出力信号と照合信号とを、色度、すなわち信号の色バランスおよび光強度について比較する。差異がある場合、制御ユニット21は、適切な調節信号を発生し、この信号が電源ユニット17の方に供給される、平均化により、この調節は、各フレーム毎ではなく、より長い頻度、例えば10フレーム毎に行われ、この周期は、どのような平均化法が使用されたか、および発光ユニットの適用例によって変化する。通常の場合、電源ユニット17は、LED15用のPWM(パルス幅変調)電圧信号を発生する。当然のことながら、活性化信号の他の種類の変調も可能であり、これは当業者には明らかである。そのいくつかの例は、周波数変調、振幅変調、ビット角度またはデジタル変調、位相角度変調、およびビット電圧変調である。例えば、周波数変調の場合、フレーム時間Tfが変化することに留意する必要がある。次に、検出パルス発生器27は、変化に対応するように調整される。全ての場合において、フレーム時間は、50Hzの周波数に対応して、人間の目の典型的な遅延時間である約20msよりも短くなる。LED当たりのパルス幅は、その色の所望の光の強度によって定められ、すなわちこれは、必要な色度および発光ユニット11の調光性能に依存する。
調節信号は、電圧パルスの調整を促し、異なる色のLED光の強度に関して、LED15の光出力に変化が生じる。PWMの場合、図2aに示すように、強度の調節は、時間窓w1乃至w3の幅を変えることにより行われる。
別の実施例のタイミング図を図2bに示す。ここでは、各フレームにおいて、2つの検出パルスのみが発生する。第1のパルスは、w1の間、すなわち発光ユニットの出力光に、全ての色が存在するときに生じる。第2のパルスは、全てのLED15がオフ状態となっているときに生じる。前述の実施例のように、パルスは、異なるフレームにおいて、フレームの開始端に対して、異なる時間で生じる。
図2cには、前述の実施例を修正した、さらに別のタイミング図が示されている。ここでは、LED15の光出力の測定用の検出パルスは、フレーム内でしばしば繰り返され、しばしば省略される。従って、あるフレームには、2つのそのようなパルスが存在し、いくつかのフレームには、そのようなパルスは含まれない。
図2dには、さらに別の実施例のタイミング図が示されている。ここでは、LED放射窓w1乃至w3のシフトまたは対称化により、非周期的な特性が得られている。従って、図の第1のフレームから第2のフレームにおいて、時間窓w1乃至w3は、右側にシフトし、遅延化する。このため、例えば、第1の検出パルスは、フルカラー時間ではなく、ブラック期間に生じる。光出力信号を処理する計算が実施された場合、制御ユニットは、これらのシフトした検出特性を把握する。第4のフレームから第5のフレームでは、フレームの境界間で、時間窓が対称化される。これらの時間窓操作の結果は、前述のような、異なる時間で検出パルスが生じる場合と同様である。
図2eには、さらに別の実施例のタイミング図が示されている。ここでは、LED放射窓は、より無秩序にシフトしているが、得られる結果は、前述の実施例と同様である。
図2fには、さらに別のタイミング図が示されている。ここでは、検出パルスの幅pw1乃至pw4が、フレーム毎に変化する。対応する光出力信号は、この幅、すなわち時間によって分割される。必要に応じて平均化処理と組み合わされた、この検出パルス幅の変調によって、周期的な周囲光の妨害の影響が排除/軽減される。検出パルスの開始時間および/または終了時間は、変化するため、この実施例も、非周期的な検出を行う方法として定義することができる。
図2gには、さらに別の実施例のタイミング図が示されている。ここでは、LEDは、連続的にオンにされ、ある期間の間、これらの全てのLEDが同時に発光する。図2aに示すような、放射窓内で検出パルスを時間的にシフトさせる方法が適用される。
以上、本発明による発光ユニットの実施例について説明した。これらは、単なる一例であって、本発明を限定するものと解してはならない。本発明の範囲内で、多くの変更および更なる別の実施例が可能であることは、当業者には明らかである。
図2cおよび2fに示す原理は、図1に示すような4つのパルスに適用しても良い。ここでは、明確化のため、パルスが2つの場合について示されている。
LED発光の時間窓は、重ならないように調整しても良く、この場合、各検出パルスの間に、単一の色のLED光が放射される。
検出器は、概略的に発光ユニットの出口端に設置される。当然のことながら、実際には、検出器は、PCB上のLEDと並べたり、発光ユニットの壁に並べたりして、多くの場所に配置することができる。また、配置およびその他の因子に応じて、検出器には、LEDからの直接光、または反射光のいずれを照射しても良い。国際公開第WO02/099333号パンフレットには、LED内に検出器が配置された例が示されている。検出器に光出力の一部を反射する反射器を、発光ユニットの光出力側に配置しても良い。
非周期的な特性を得る前述の代替例の多くを、必要に応じて組み合わせても良い。
この場合、前述の実施例に示すように、光出力のフィードバック処理に、非周期性が導入される。処理の観点から、光出力の検出は、非周期的に実施され、例えば、検出器に対して非周期的に検出パルスを発生させることにより、あるいは非周期的にLED発光を生じさせることにより、またはこれらの両方により実施される。この場合、従来の抑制アルゴリズムによって、特にパルス光のような周囲光の干渉を除去し、または軽減することが可能になる。
本願の目的のため、特に従属請求項に関して、「有する」という用語は、他の要素またはステップを排斥するものではなく、「一つの」という用語は、複数のものを排斥するものではないことは、当業者には明らかであることに留意する必要がある。また、当業者には明らかなように、前述の少なくとも一部は、ハードウェアおよびソフトウェアで実現しても良い。
本発明の実施例による発光ユニットおよび制御システムの概略ブロック図ある。 本発明の制御システムおよび方法の実施例のタイミング図である。 本発明の制御システムおよび方法の異なる実施例のタイミング図である。 本発明の制御システムおよび方法の異なる実施例のタイミング図である。 本発明の制御システムおよび方法の異なる実施例のタイミング図である。 本発明の制御システムおよび方法の異なる実施例のタイミング図である。 本発明の制御システムおよび方法の異なる実施例のタイミング図である。 本発明の制御システムおよび方法の異なる実施例のタイミング図である。

Claims (18)

  1. 少なくとも一つの色の光を放射する少なくとも一つのLEDを有する発光ユニットの光出力を制御する制御システムであって、
    当該制御システムは、前記発光ユニットの前記光出力を検出して、光出力信号を提供する検出ユニットと、該検出ユニットに検出パルスを提供する検出パルス発生器と、前記光出力信号における周囲光の干渉を抑制して、改良された光出力信号を提供する抑制ユニットと、前記発光ユニットの所望の光出力を表す照合信号と前記改良された光出力信号の比較に基づいて、前記発光ユニットの前記光出力信号を制御する制御ユニットとを有し、
    前記検出パルス発生器は、非周期的に検出パルスを発生することを特徴とする制御システム。
  2. 時間は、フレームに分割され、
    前記検出パルスは、異なるフレームにおいて、前記フレームの開始端に対して、異なる時間で開始されることを特徴とする請求項1に記載の制御システム。
  3. 所定の組み合わせのLED光色を検出するため、各検出パルスが生じ、前記組み合わせは、各フレームの時間間隔内で存在し、
    前記検出パルス発生器は、フレームのいくつかの時間間隔では、そのような組み合わせの検出パルスを繰り返し、同じフレームのある別の時間間隔では、検出パルスが排除されるように配置されることを特徴とする請求項2に記載の制御システム。
  4. 所定の組み合わせのLED光色を検出するため、各検出パルスが生じ、前記組み合わせは、各フレームの時間間隔内に存在し、
    前記検出パルス発生器は、いくつかのフレーム内では、そのような組み合わせの検出パルスを繰り返し、他のフレーム内では、検出パルスが排除されるように配置されることを特徴とする請求項2に記載の制御システム。
  5. さらに前記制御ユニットは、LEDの活性化を制御するように配置され、
    前記活性化は、非周期的であることを特徴とする前記請求項のいずれか一つに記載の制御システム。
  6. 時間は、フレームに分割され、前記LEDは、前記フレーム内の個々の時間窓内で発光するように活性化され、
    前記活性化は、一つのフレームから別のフレームの開始端に対する前記時間窓のシフト化、および一つのフレームと別のフレームの間の境界での前記時間窓の対称化、のいずれか一つにより実施されることを特徴とする請求項5に記載の制御システム。
  7. 前記抑制ユニットは、平均化ユニットを有することを特徴とする前記請求項のいずれか一つに記載の制御システム。
  8. 前記抑制ユニットは、前記光出力信号から、バックグラウンド光信号を減算するように配置された減算ユニットを有することを特徴とする前記請求項のいずれか一つに記載の制御システム。
  9. 時間は、フレームに分割され、前記検出パルスの幅は、フレーム毎に変化することを特徴とする前記請求項のいずれか一つに記載の制御システム。
  10. 少なくとも一つの色の光を放射する少なくとも一つのLEDを有する発光ユニットであって、
    前記請求項のいずれか一つに記載の制御システムを有することを特徴とする発光ユニット。
  11. 少なくとも一つの色の光を放射する少なくとも一つのLEDを有する発光ユニットを制御する方法であって、
    前記発光ユニットの光出力を非周期的に検出して、これにより光出力信号を発生するステップと、
    前記光出力信号における周囲の干渉を抑制して、これにより、改良された光出力信号を発生するステップと、
    前記改良された光出力信号と、前記発光ユニットの所望の光出力を表す照合信号とを比較するステップと、
    前期比較に基づいて、前記発光ユニットの前記光出力を制御するステップと、
    を有することを特徴とする方法。
  12. 時間は、フレームに分割され、
    前記非周期的に検出するステップは、異なるフレームにおいて、前記フレームの開始端に対して、異なる時間で検出パルスを発生するステップを有することを特徴とする請求項11に記載の方法。
  13. 所定の組み合わせのLED光色を検出するため、各検出パルスが生じ、前記組み合わせは、各フレームの時間間隔内に存在し、
    前記非周期的に検出するステップは、それらのいくつかの時間間隔内で、そのような組み合わせの検出パルスを発生するステップと、それらのいくつかの時間間隔の別の組み合わせのパルスの発生を排除するステップとを有することを特徴とする請求項12に記載の方法。
  14. 時間は、フレームに分割され、
    前記非周期的に検出するステップは、前記フレームの長さを変化させるステップを有することを特徴とする請求項11、12または13に記載の方法。
  15. さらに、非周期的に前記LEDを活性化させるステップを有することを特徴とする請求項11乃至14のいずれか一つに記載の方法。
  16. 時間は、フレームに分割され、
    前記LEDは、前記フレーム内の個々の時間窓内で発光するように活性化され、
    前記非周期的に活性化させるステップは、一つのフレームから別のフレームの開始端に対し前記時間窓をシフトするステップ、および一つのフレームと別のフレームの間の境界で前記時間窓を対称化するステップ、のいずれか一つを有することを特徴とする請求項11乃至15のいずれか一つに記載の方法。
  17. 前記抑制するステップは、光出力信号を平均化するステップを有することを特徴とする請求項11乃至16のいずれか一つに記載の方法。
  18. 前記抑制するステップは、前記光出力信号から、バックグラウンド光信号を減算するステップを有することを特徴とする請求項11乃至17のいずれか一つに記載の方法。
JP2007542398A 2004-11-19 2005-11-14 Ledユニットの光出力を制御するフィードバック制御システム Ceased JP2008521237A (ja)

Applications Claiming Priority (2)

Application Number Priority Date Filing Date Title
EP04105921 2004-11-19
PCT/IB2005/053745 WO2006054230A1 (en) 2004-11-19 2005-11-14 A feedback control system for controlling the light output of a led unit

Publications (1)

Publication Number Publication Date
JP2008521237A true JP2008521237A (ja) 2008-06-19

Family

ID=35517519

Family Applications (1)

Application Number Title Priority Date Filing Date
JP2007542398A Ceased JP2008521237A (ja) 2004-11-19 2005-11-14 Ledユニットの光出力を制御するフィードバック制御システム

Country Status (9)

Country Link
US (1) US7786678B2 (ja)
EP (1) EP1815719B1 (ja)
JP (1) JP2008521237A (ja)
KR (1) KR20070086371A (ja)
CN (1) CN100488329C (ja)
AT (1) ATE463145T1 (ja)
DE (1) DE602005020347D1 (ja)
TW (1) TW200625246A (ja)
WO (1) WO2006054230A1 (ja)

Cited By (2)

* Cited by examiner, † Cited by third party
Publication number Priority date Publication date Assignee Title
JP2008197048A (ja) * 2007-02-15 2008-08-28 Honda Motor Co Ltd 環境認識装置
KR20180068946A (ko) * 2018-06-15 2018-06-22 엘지디스플레이 주식회사 발광다이오드 구동회로 및 그 구동 방법

Families Citing this family (18)

* Cited by examiner, † Cited by third party
Publication number Priority date Publication date Assignee Title
CN101512599B (zh) * 2006-09-21 2012-07-18 汤姆森特许公司 三维模型获取的方法和系统
WO2008083695A1 (de) * 2006-12-20 2008-07-17 Patent-Treuhand-Gesellschaft für elektrische Glühlampen mbH Vorrichtung und verfahren zur messung der intensität des lichtes einer ersten gruppe von lichtquellen einer beleuchtungseinheit
DE102007034177B4 (de) 2007-07-23 2009-06-10 Diehl Aerospace Gmbh Verfahren zum Dimmen des von LED-Leuchten abgestrahlten Lichts, insbesondere in der Fluggastkabine eines Verkehrsflugzeuges
CN101755483B (zh) * 2007-07-23 2012-05-30 皇家飞利浦电子股份有限公司 发光单元装置及其控制系统和方法
WO2009016588A1 (en) * 2007-08-02 2009-02-05 Nxp B.V. Electronic device having a plurality of light emitting devices
DE102007036978A1 (de) * 2007-08-06 2009-02-12 Tridonicatco Gmbh & Co. Kg Vorrichtung und Verfahren zur Steuerung der Lichtabgabe
CN102144429A (zh) 2008-09-04 2011-08-03 皇家飞利浦电子股份有限公司 用于驱动多色光源的方法和器件
JP4868025B2 (ja) * 2009-05-25 2012-02-01 サンケン電気株式会社 電流均衡化装置及びその方法、led照明器具、lcdバックライトモジュール、lcd表示機器
DE102009030733B4 (de) 2009-06-26 2015-11-05 Diehl Aerospace Gmbh Verfahren und Einrichtung zu farbvariabler Beleuchtung
US8390205B2 (en) 2010-09-01 2013-03-05 Osram Sylvania Inc. LED control using modulation frequency detection techniques
US8384294B2 (en) 2010-10-05 2013-02-26 Electronic Theatre Controls, Inc. System and method for color creation and matching
US8593074B2 (en) 2011-01-12 2013-11-26 Electronic Theater Controls, Inc. Systems and methods for controlling an output of a light fixture
US8723450B2 (en) 2011-01-12 2014-05-13 Electronics Theatre Controls, Inc. System and method for controlling the spectral content of an output of a light fixture
US8729815B2 (en) 2012-03-12 2014-05-20 Osram Sylvania Inc. Current control system
US9060410B2 (en) * 2013-07-25 2015-06-16 Terralux, Inc. Active flicker cancellation in lighting systems
JP2016151893A (ja) * 2015-02-17 2016-08-22 株式会社東芝 画像処理装置、物品処理装置、及び、画像処理方法
GB2547428A (en) * 2016-02-16 2017-08-23 Feasa Entpr Ltd Method and apparatus for testing optical outputs
US20190187721A1 (en) * 2017-12-15 2019-06-20 Ankobot (Shanghai) Smart Technologies Co., Ltd. Control method and system, and mobile robot using the same

Citations (3)

* Cited by examiner, † Cited by third party
Publication number Priority date Publication date Assignee Title
JP2004077585A (ja) * 2002-08-12 2004-03-11 Alpine Electronics Inc バックライトの輝度制御方法および装置
JP2004517445A (ja) * 2000-12-27 2004-06-10 コーニンクレッカ フィリップス エレクトロニクス エヌ ヴィ カラーバランスを電気的に調整するled照明装置
JP2004170721A (ja) * 2002-11-20 2004-06-17 Nec Mitsubishi Denki Visual Systems Kk 液晶表示装置及び該装置のコモン電圧設定方法

Family Cites Families (6)

* Cited by examiner, † Cited by third party
Publication number Priority date Publication date Assignee Title
US5471052A (en) 1993-10-25 1995-11-28 Eaton Corporation Color sensor system using a secondary light receiver
FI109632B (fi) * 2000-11-06 2002-09-13 Nokia Corp Valkoinen valaisu
US6507159B2 (en) 2001-03-29 2003-01-14 Koninklijke Philips Electronics N.V. Controlling method and system for RGB based LED luminary
US6741351B2 (en) 2001-06-07 2004-05-25 Koninklijke Philips Electronics N.V. LED luminaire with light sensor configurations for optical feedback
US6630801B2 (en) * 2001-10-22 2003-10-07 Lümileds USA Method and apparatus for sensing the color point of an RGB LED white luminary using photodiodes
US7148632B2 (en) * 2003-01-15 2006-12-12 Luminator Holding, L.P. LED lighting system

Patent Citations (3)

* Cited by examiner, † Cited by third party
Publication number Priority date Publication date Assignee Title
JP2004517445A (ja) * 2000-12-27 2004-06-10 コーニンクレッカ フィリップス エレクトロニクス エヌ ヴィ カラーバランスを電気的に調整するled照明装置
JP2004077585A (ja) * 2002-08-12 2004-03-11 Alpine Electronics Inc バックライトの輝度制御方法および装置
JP2004170721A (ja) * 2002-11-20 2004-06-17 Nec Mitsubishi Denki Visual Systems Kk 液晶表示装置及び該装置のコモン電圧設定方法

Cited By (3)

* Cited by examiner, † Cited by third party
Publication number Priority date Publication date Assignee Title
JP2008197048A (ja) * 2007-02-15 2008-08-28 Honda Motor Co Ltd 環境認識装置
KR20180068946A (ko) * 2018-06-15 2018-06-22 엘지디스플레이 주식회사 발광다이오드 구동회로 및 그 구동 방법
KR101973501B1 (ko) * 2018-06-15 2019-04-29 엘지디스플레이 주식회사 발광다이오드 구동회로 및 그 구동 방법

Also Published As

Publication number Publication date
KR20070086371A (ko) 2007-08-27
EP1815719B1 (en) 2010-03-31
EP1815719A1 (en) 2007-08-08
US7786678B2 (en) 2010-08-31
US20090140659A1 (en) 2009-06-04
WO2006054230A1 (en) 2006-05-26
TW200625246A (en) 2006-07-16
CN101061753A (zh) 2007-10-24
DE602005020347D1 (de) 2010-05-12
ATE463145T1 (de) 2010-04-15
CN100488329C (zh) 2009-05-13

Similar Documents

Publication Publication Date Title
JP2008521237A (ja) Ledユニットの光出力を制御するフィードバック制御システム
JP5409622B2 (ja) 発光ユニット構成及び制御システム並びに方法
US8664864B2 (en) Method and apparatus for controlling and measuring aspects of time-varying combined light
KR101193908B1 (ko) 발광 다이오드 기반 광 시스템과 그 제어 시스템 및 제어방법
US8390205B2 (en) LED control using modulation frequency detection techniques
TWI498049B (zh) 藉由可變頻率調變之三色rgb發光二極體色彩混合及控制
US8358075B2 (en) Device and a method for controlling light emission
WO2003075617A1 (en) Light emitting device and display unit using the light emitting device and reading device
US20110057571A1 (en) Device and method for controlling the color point of an led light source
KR20110098707A (ko) Vfm에 의한 led 밝기 제어
JP2011044367A5 (ja)
KR101352107B1 (ko) 액정 표시장치 및 그의 구동방법
WO2009040705A2 (en) Method and apparatus for light intensity control with drive current modulation
US20080077363A1 (en) Led-based optical system and method of compensating for aging thereof
JP2005340809A (ja) 発光装置、発光システムおよびその制御方法
JP2007080540A (ja) 照明システム
JP2011166155A (ja) 発光ダイオード装置の作動方法並びに回路装置
WO2010049882A2 (en) Lighting unit with temperature protection
US11805585B2 (en) Light emitting diode, LED, based lighting device arranged for emitting a particular color of light, as well as a corresponding method
JP5558690B2 (ja) 照明システム
JP5037695B2 (ja) 照明装置およびそれを備えた液晶表示装置
US20060232501A1 (en) Method and apparatus for implementing a pulse skip method of controlling light intensity
JP2009081353A5 (ja)
JP2019212402A (ja) 検査用調光システム

Legal Events

Date Code Title Description
A621 Written request for application examination

Free format text: JAPANESE INTERMEDIATE CODE: A621

Effective date: 20081113

A977 Report on retrieval

Free format text: JAPANESE INTERMEDIATE CODE: A971007

Effective date: 20110713

A131 Notification of reasons for refusal

Free format text: JAPANESE INTERMEDIATE CODE: A131

Effective date: 20110719

A601 Written request for extension of time

Free format text: JAPANESE INTERMEDIATE CODE: A601

Effective date: 20111017

A602 Written permission of extension of time

Free format text: JAPANESE INTERMEDIATE CODE: A602

Effective date: 20111024

A521 Request for written amendment filed

Free format text: JAPANESE INTERMEDIATE CODE: A523

Effective date: 20120119

A01 Written decision to grant a patent or to grant a registration (utility model)

Free format text: JAPANESE INTERMEDIATE CODE: A01

Effective date: 20121127

A045 Written measure of dismissal of application [lapsed due to lack of payment]

Free format text: JAPANESE INTERMEDIATE CODE: A045

Effective date: 20130326