JP2007293100A - 背面投射型表示装置及びスクリーン - Google Patents

背面投射型表示装置及びスクリーン Download PDF

Info

Publication number
JP2007293100A
JP2007293100A JP2006122047A JP2006122047A JP2007293100A JP 2007293100 A JP2007293100 A JP 2007293100A JP 2006122047 A JP2006122047 A JP 2006122047A JP 2006122047 A JP2006122047 A JP 2006122047A JP 2007293100 A JP2007293100 A JP 2007293100A
Authority
JP
Japan
Prior art keywords
numbered
odd
light
projection
plate
Prior art date
Legal status (The legal status is an assumption and is not a legal conclusion. Google has not performed a legal analysis and makes no representation as to the accuracy of the status listed.)
Pending
Application number
JP2006122047A
Other languages
English (en)
Inventor
Kiyobumi Sakaguchi
清文 坂口
Current Assignee (The listed assignees may be inaccurate. Google has not performed a legal analysis and makes no representation or warranty as to the accuracy of the list.)
Canon Inc
Original Assignee
Canon Inc
Priority date (The priority date is an assumption and is not a legal conclusion. Google has not performed a legal analysis and makes no representation as to the accuracy of the date listed.)
Filing date
Publication date
Application filed by Canon Inc filed Critical Canon Inc
Priority to JP2006122047A priority Critical patent/JP2007293100A/ja
Publication of JP2007293100A publication Critical patent/JP2007293100A/ja
Pending legal-status Critical Current

Links

Images

Landscapes

  • Liquid Crystal (AREA)
  • Transforming Electric Information Into Light Information (AREA)
  • Overhead Projectors And Projection Screens (AREA)
  • Projection Apparatus (AREA)

Abstract

【課題】背面投射型表示装置においてディアルビューディスプレイを簡易な構成で実現する。
【解決手段】奇数列と偶数列、又は奇数行と偶数行とに分けてそれぞれ表示するための信号変調を行って変調光を出力する光源11、偏光ビームスプリッタ12、反射型液晶素子13からなる画像光生成手段と、投射用レンズ14と、投射用レンズ14から変調光が背面側に投射されて、奇数列と偶数列、又は奇数行と偶数行からなる変調光が映し出される投射板15−1と、少なくとも、奇数列と偶数列との境界上、又は奇数行と偶数行との境界上を一つおきに遮光する、投射板の表示面側に配置された遮光帯15−2と、を備える。
【選択図】図1

Description

本発明は、背面投射型表示装置及びそれに用いられるスクリーンに係わり、特にディアルビューや3D表示が可能な背面投射型表示装置及びそれに用いられるスクリーンに関する。
従来、ディアルビューディスプレイとしては、例えば特許文献1、2に開示されたものがある。
特許文献1には、非対称ビューイング角度特性の第1及び第2の画素を有する液晶表示デバイスの記載がある。特許文献2には、第1の画素と第2の画素を設け、その前に方向によって第1の画素と第2の画素のいずれかが見えるように視差バリアを設けることの記載がある(図5A(2)等)。
特開2005−078076号公報 特開2005−078080号公報
しかしながら、上記従来のディアルビューディスプレイは液晶表示素子の大型化が難しく、また液晶表示素子と視差バリアとの位置合わせは容易でないという課題を有していた。
本発明は、背面投射型表示装置においてディアルビューディスプレイ等を実現することを目的とするものである。
本発明の背面投射型表示装置は、奇数列と偶数列、又は奇数行と偶数行とに分けてそれぞれ表示するための信号変調を行って変調光を出力する画像光生成手段と、
前記変調光を投射する光投射手段と、
前記光照射手段からの変調光が背面側に投射されて、奇数列と偶数列、又は奇数行と偶数行からなる変調光が映し出される投射板と、少なくとも、奇数列と偶数列との境界上、又は奇数行と偶数行との境界上を一つおきに遮光する、前記投射板の表示面側に配置された遮光帯と、を含むスクリーンと、
を備えた背面投射型表示装置である。
本発明のスクリーンは、奇数列と偶数列、又は奇数行と偶数行とに分けてそれぞれ表示するための信号変調が行われた変調光が入射されるスクリーンであって、
前記変調光が背面側に投射されて、奇数列と偶数列、又は奇数行と偶数行からなる変調光が映し出される投射板と、少なくとも、奇数列と偶数列との境界上、又は奇数行と偶数行との境界上を一つおきに遮光する、前記投射板の表示面側に配置された遮光帯とを含むスクリーンである。
本発明によれば、背面投射型表示装置においてディアルビューディスプレイや3Dディスプレイを簡易な構成で実現することができる。
以下、本発明の実施の形態について図面を用いて詳細に説明する。
[第1の実施形態]
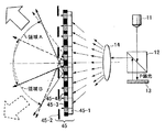
図1は本発明の第1の実施形態に係わる背面投射型表示装置を説明するための概念図である。図1は背面投射型表示装置を上部から見た図である。図2はスクリーン15を透過する変調光の光路を示す説明図である。図3はスクリーンを示す正面図である。なお、図2では投射用レンズにより左側から変調光が右側に放射されるように示されている。
図1において、光源11から放射された光が光路途中でP偏光に偏光させ(図示せず)さらに偏光ビームスプリッタ11を透過して反射型液晶素子13に入射する。反射型液晶素子13は、2次元状に配列された画素の奇数列と偶数列とに分けて信号変調を行って変調光を出力する。反射型液晶素子13から放射された光は直線偏光から楕円偏光(あるいは直線偏光)変調され、そのS偏光成分が偏光ビームスプリッタ12内で反射して、投射用レンズ14に入射する。変調の度合いによりS偏光の比率が変化するので、これにより投射レンズに入る各画素からの輝度を制御できることになる。投射用レンズ14を通過した変調光はスクリーン15に投射される。光源11、偏光ビームスプリッタ12及び反射型液晶素子12は画像光生成手段となる。反射型液晶素子13への入射光としてS偏光を用いてもよいが、その場合にはパネルを、図1で偏光ビームスプリッタ11の右位置に設置することになる。
図1〜図3に示すように、スクリーン15は、フレネルレンズ15−1−1と拡散レンズプレート15−1−2からなる投射板15−1と、遮光帯15−2とからなる。フレネルレンズ15−1−1は、投射用レンズ14により投射された変調光を平行な光とし、プレート面に対して垂直な方向に出射する。拡散レンズプレート15−2は、フレネルレンズ15−1からの変調光を拡散して放出する。遮光帯15−2は平板状をなし、投射板15−1の主面に対して平行となるように設けられている。また遮光帯15−2は投射板15−1に投射される奇数列と偶数列との境界上に一つおきに設けられ、左側から見た場合には主に偶数列、右側から見た場合には主に奇数列が見えるように配置される。実線矢印は偶数列の画像が見える領域Aを示し、点線矢印は奇数列の画像が見える領域Bを示す。そして、領域A内で領域Bと重ならない領域が偶数列の画像のみ視認しえる領域となり、領域B内で領域Aと重ならない領域が奇数列の画像のみ視認しえる領域となる。
図3はスクリーンを正面から見た図であり、スクリーンの投射板15−1に投影された液晶パネルの画素(ここでは、6×9の画素を示している)と配置された遮光帯15−2を示している。領域A内で領域Bと重ならない領域(図中左側;実線矢印で示す。)から視聴者がスクリーンを見た場合、画素の偶数列21〜26、41〜46、61〜66、81〜86が見える。一方、領域B内で領域Aと重ならない領域(図中右側;点線矢印で示す。)から視聴者がスクリーンを見た場合、画素の奇数列11〜16、31〜36、51〜56、71〜76、91〜96が見える。
こうして、図1に示すように、左上側(図3の左側)と左下側(図3の右側)にそれぞれ画像の異なる光が放射され、ディアルビューが可能となる。
なお、遮光帯に対して、奇数列及び偶数列がずれて見える場合には、光源11、偏光ビームスプリッタ12、投射用レンズ14からなる投射光学系と、スクリーン15とを機械的に相対的に位置調整する(投射光学系、スクリーンを位置調整する)ことで、ずれを調整することができる。また、又は遮光帯を位置調整してずれを調整することもできる。
[第2の実施形態]
図4は本発明の第2の実施形態に係わる背面投射型表示装置を説明するための概念図である。図4は背面投射型表示装置を上部から見た図である。図1と同一構成部材については同一番号を付し説明を略する。
実施形態1を示す図1の構成では、偶数列の画像が見える領域A、奇数列の画像が見える領域B外では、偶数列の画素列に隣接する奇数列の画素列、又は奇数列に隣接する偶数列の画素行も視認されてしまう。
図4に示すように、本実施形態ではスクリーン25は、図1の投射板15−1と同じ構成の投射板25−1と、投射板25−1の主面に対して垂直な方向の断面がT字状の遮光帯25−2とからなっている。
本実施形態の構成では奇数列と偶数列の組ごとに遮光帯で区切られることになるので、奇数列と偶数列の組に隣接する偶数列、奇数列の画像が認識されることを抑制することができる。
[第3の実施形態]
図5は本発明の第3の実施形態に係わる背面投射型表示装置を説明するための概念図である。図5は背面投射型表示装置を上部から見た図である。図1と同一構成部材については同一番号を付し説明を略する。
図5に示すように、本実施形態ではスクリーン35は、図1の遮光帯15−2と同じ構成の遮光帯35−2とを備えているとともに、遮光帯35−2が設けられていない奇数列と偶数列との境界間に第2の遮光帯35−3を備えている。第2の遮光帯は図2の拡散レンズプレート15−1−2に設けられている。投射板35−1には図2に示したフレネルレンズ15−1−1と同じ構成のフレネルレンズが用いられる。
本実施形態の構成では、第2の遮光帯が視認され、輝度が減少することになるが、偶数列の画像のみ視認しえる領域及び奇数列の画像のみ視認しえる領域の占有角度が広くなる。
[第4の実施形態]
図6は本発明の第4の実施形態に係わる背面投射型表示装置を説明するための概念図である。図6は背面投射型表示装置を上部から見た図である。図1と同一構成部材については同一番号を付し説明を略する。
図6に示すように、スクリーン45は、図5の遮光帯35−2、第2の遮光帯35−3と同じ構成の遮光帯45−2、第2の遮光帯45−3を備えるとともに、遮光帯45−2が設けられた奇数列と偶数列との境界間に第3の遮光帯45−4を備えている。本実施形態の構成では、第3の実施形態と同様に、偶数列の画像のみ視認しえる領域及び奇数列の画像のみ視認しえる領域の占有角度が広くなる。また、領域A、領域Bを多少はずれても、第3の遮光帯45−4が設けられているために、隣接する奇数列、偶数列が視認されにくくなる。
[第5の実施形態]
図7は本発明の第5の実施形態に係わる背面投射型表示装置を説明するための概念図である。図7は背面投射型表示装置を上部から見た図である。図1と同一構成部材については同一番号を付し説明を略する。
図7に示すように、本実施形態は図1に示した第1の実施形態に比べて、遮光帯15−2より幅の長い遮光帯55−2を用いている。投射板55−1は図1に示した投射板15−1と同じ構成である。幅の長い遮光帯55−2を用いることで、輝度が減少することになるが、偶数列の画像のみ視認しえる領域及び奇数列の画像のみ視認しえる領域の占有角度が広くなる。
[第6の実施形態]
図8は本発明の第6の実施形態に係わる背面投射型表示装置を説明するための概念図である。図8は背面投射型表示装置を上部から見た図である。図1と同一構成部材については同一番号を付し説明を略する。
図1に示す構成では、偶数列の画像が見える領域A、奇数列の画像が見える領域B外では、偶数列の画素列に隣接する奇数列の画素列、又は奇数列に隣接する偶数列の画素行も視認されてしまう。
図8に示すように、本実施形態ではスクリーン65は、図1の投射板15−1と同じ構成の投射板65−1と、投射板65−1の主面に対して垂直な方向に配置された平板状の遮光帯65−2とからなっている。
本実施形態の構成では奇数列と偶数列の組ごとに遮光帯で区切られることになるので、奇数列と偶数列の組に隣接する偶数列、奇数列の画像が認識されることを抑制することができる。
[第7の実施形態]
上述した各実施形態では、単色の画像表示の場合については説明したが、図1及び図4〜図8に示した、光源11、偏光ビームスプリッタ12、反射型液晶素子13、投射用レンズ14を、図9に示す投射光学系に変えることで、カラー表示が可能となる。
図9は背面投射型表示装置に用いられるカラー表示用の投射光学系を示す図である。100は白色光源、101はシアンを反射するダイクロイックミラー、102は赤を反射するミラー、103はグリーンを反射するダイクロイックミラーである。104は偏光板、105は偏光ビームスプリッタ、106はグリーンの変調光を形成するための反射型液晶素子である。また、107は偏光板、108は偏光ビームスプリッタ、109はブルーの変調光を形成するための反射型液晶素子、110は偏光板、111は偏光ビームスプリッタ、112はレッドの変調光を形成するための反射型液晶素子である。また、113はダイクロイックプリズムであり、グリーンの変調光を透過し、ブルー及びレッドの変調光を反射して、投射用レンズ114により図1及び図4〜図8のスクリーン15、25〜65に投射する。
なお、カラー表示するには、他に液晶表示素子の各画素にRBGのカラーフィルタをのせる方法、カラーホイールを使用してフィールド毎にRGBを切り替えて表示させる方法、RBGのLEDを用いて、フィールド毎にRGBを切り替えて表示させる方法等がある。
[第8の実施形態]
図10は本発明の第8の実施形態に係わる背面投射型表示装置を説明するための概念図である。図10では遮光帯は簡略化のために省略されている。
本実施形態はフレネルレンズ15−1−1を透過型ではなく反射鏡として、拡散レンズプレート15−1−2と分離させたものである。すなわち、投射用レンズ14から投射した変調光をフレネル反射鏡15−1−3で反射させて平行光とし、拡散レンズプレート15−1−2に放射させたものである。かかる構成により背面投射型表示装置のさらなる小型化を図ることができる。
以上説明した各実施形態では、フレネルレンズ15−1−1、拡散レンズプレート151−2は分離して設けられているが、これらを一体化して光学プレート構成することもできる。一体化はプレート同士を貼り合わせたり、1枚の透明プレートの表面、裏面をそれぞれ加工することで実現することができる。例えば、1枚の透明プレートの表面、裏面をそれぞれ加工する場合、フレネルレンズ15−1−1の凹凸を一方の面に形成し、拡散レンズプレート15−1−2の凹凸を他方の面に形成したレンズプレートを作製することができる。プレートどうしの貼り合わせは透明接着剤を用いて行うことができる。
以上説明した各実施形態において、視野角の調整を行なえば、3Dも可能である。本実施形態における、左右2画面の使い方は、対戦ゲーム、リビングで2画面で別々のTVを映し出すようにできる。
以上説明した各実施形態においては、奇数列と偶数列とに分けて画像表示を行う場合につい説明したが奇数行と偶数行とに分けて画像表示する場合にも勿論適用できる。この場合、反射型液晶素子13が2次元状に配列された画素の奇数行と偶数行とに分けて信号変調を行って変調光を出力し、遮光帯で、奇数行と偶数行との境界上を一つおきに遮光するようにすればよい。このような構成では、上下に2画面表示が可能となる。そうすると、例えば、1F、2Fの吹き抜けの場所に設置して、それぞれ異なる映像を表示させることが可能になる。
公共の場所では、広告・宣伝等に利用可能である。喫茶・レストランでは、BGM(Back Ground Movie)としても利用可能である。また劇場等では、2つの映画などを同時に見せることが可能である。
また本実施形態において、光学系として、図9に示した3PBS(偏光ビームスプリッタ)以外に、Qaud方式、1PBS方式、を用いても可能である。また、ワイヤグリッドでPBSの機能を代替えすることも可能である。1つの液晶パネルにRGBのカラーフィルタを形成しておけば、6パネルでなく2パネルでRGBカラー表示が可能である。さらに、RBGのカラーLEDを時系列に点灯させれば、カラー表示が可能となる。
さらに、投射光学系は反射型液晶素子に限らず、透過型液晶素子やDMD(デジタルマイクロデバイス)を用いたものも利用可能である。
本発明はディアルビューや3D表示を行う背面投射型表示装置に適用することができる。
本発明の第1の実施形態に係わる背面投射型表示装置を説明するための概念図である。 スクリーン15を透過する変調光の光路を示す説明図である。 スクリーンを示す正面図である。 本発明の第2の実施形態に係わる背面投射型表示装置を説明するための概念図である。 本発明の第3の実施形態に係わる背面投射型表示装置を説明するための概念図である。 本発明の第4の実施形態に係わる背面投射型表示装置を説明するための概念図である。 本発明の第5の実施形態に係わる背面投射型表示装置を説明するための概念図である。 本発明の第6の実施形態に係わる背面投射型表示装置を説明するための概念図である。 背面投射型表示装置に用いられるカラー表示のための投射光学系を示す図である。 本発明の第8の実施形態に係わる背面投射型表示装置を説明するための概念図である。
符号の説明
11 光源
12 偏光ビームスプリッタ
13 反射型液晶素子
14 投射用レンズ
15、25、35、45、55、65 スクリーン
15−1、25−1、35−1、45−1、55−1、65−1 投射板
15−2、25−2、35−2、45−2、55−2、65−2 遮光帯
35−3、45−3、45−4 遮光帯
15−1−1 フレネルレンズ
15−1−2 拡散レンズプレート

Claims (14)

  1. 奇数列と偶数列、又は奇数行と偶数行とに分けてそれぞれ表示するための信号変調を行って変調光を出力する画像光生成手段と、
    前記変調光を投射する光投射手段と、
    前記光照射手段からの変調光が背面側に投射されて、奇数列と偶数列、又は奇数行と偶数行からなる変調光が映し出される投射板と、少なくとも、奇数列と偶数列との境界上、又は奇数行と偶数行との境界上を一つおきに遮光する、前記投射板の表示面側に配置された遮光帯と、を含むスクリーンと、
    を備えた背面投射型表示装置。
  2. 請求項1に記載の背面投射型表示装置において、前記遮光帯は平板状をなし、前記投射板の主面に対して平行となるように設けられていることを特徴とする背面投射型表示装置。
  3. 請求項1に記載の背面投射型表示装置において、前記遮光帯の前記投射板の主面に対して垂直な方向の断面はT字状をなすことを特徴とする背面投射型表示装置。
  4. 請求項1に記載の背面投射型表示装置において、前記投射板は、前記遮光帯が設けられていない奇数列と偶数列との境界間、又は奇数行と偶数行との境界間に、第2の遮光帯を有することを特徴とする背面投射型表示装置。
  5. 請求項4に記載の背面投射型表示装置において、前記投射板は、前記遮光帯が設けられている奇数列と偶数列との境界間、又は奇数行と偶数行との境界間に、第3の遮光帯を有することを特徴とする背面投射型表示装置。
  6. 請求項1に記載の背面投射型表示装置において、前記遮光帯は平板状をなし、前記投射板の主面に対して垂直となるように設けられていることを特徴とする背面投射型表示装置。
  7. 請求項1から6のいずれか1項に記載の背面投射型表示装置において、前記投射板は、前記光投射手段から投射された前記変調光をプレート面に対して垂直な方向に出射する第1のレンズプレートと、該第1のレンズプレートから出射された前記変調光を拡散して放射する第2のレンズプレートとからなる背面投射型表示装置。
  8. 奇数列と偶数列、又は奇数行と偶数行とに分けてそれぞれ表示するための信号変調が行われた変調光が入射されるスクリーンであって、
    前記変調光が背面側に投射されて、奇数列と偶数列、又は奇数行と偶数行からなる変調光が映し出される投射板と、少なくとも、奇数列と偶数列との境界上、又は奇数行と偶数行との境界上を一つおきに遮光する、前記投射板の表示面側に配置された遮光帯とを含むスクリーン。
  9. 請求項8に記載のスクリーンにおいて、前記遮光帯は平板状をなし、前記投射板の主面に対して平行となるように設けられていることを特徴とするスクリーン。
  10. 請求項8に記載のスクリーンにおいて、前記遮光帯の前記投射板に対して垂直な方向の断面はT字状をなすことを特徴とするスクリーン。
  11. 請求項8に記載のスクリーンにおいて、前記投射板は、前記遮光帯が設けられていない奇数列と偶数列との境界間、又は奇数行と偶数行との境界間に、第2の遮光帯を有することを特徴とするスクリーン。
  12. 請求項11に記載のスクリーンにおいて、前記投射板は、前記遮光帯が設けられている奇数列と偶数列との境界間、又は奇数行と偶数行との境界間に、第3の遮光帯を有することを特徴とするスクリーン。
  13. 請求項8に記載のスクリーンにおいて、前記遮光帯は平板状をなし、前記投射板の主面に対して垂直となるように設けられていることを特徴とするスクリーン。
  14. 請求項8から13のいずれか1項に記載のスクリーンにおいて、前記投射板は、前記光投射手段から投射された前記変調光をプレート面に対して垂直な方向に出射する第1のレンズプレートと、該第1のレンズプレートから出射された前記変調光を拡散して放射する第2のレンズプレートとからなるスクリーン。
JP2006122047A 2006-04-26 2006-04-26 背面投射型表示装置及びスクリーン Pending JP2007293100A (ja)

Priority Applications (1)

Application Number Priority Date Filing Date Title
JP2006122047A JP2007293100A (ja) 2006-04-26 2006-04-26 背面投射型表示装置及びスクリーン

Applications Claiming Priority (1)

Application Number Priority Date Filing Date Title
JP2006122047A JP2007293100A (ja) 2006-04-26 2006-04-26 背面投射型表示装置及びスクリーン

Publications (1)

Publication Number Publication Date
JP2007293100A true JP2007293100A (ja) 2007-11-08

Family

ID=38763779

Family Applications (1)

Application Number Title Priority Date Filing Date
JP2006122047A Pending JP2007293100A (ja) 2006-04-26 2006-04-26 背面投射型表示装置及びスクリーン

Country Status (1)

Country Link
JP (1) JP2007293100A (ja)

Cited By (3)

* Cited by examiner, † Cited by third party
Publication number Priority date Publication date Assignee Title
JP2009031692A (ja) * 2007-07-30 2009-02-12 National Institute Of Information & Communication Technology 画像表示装置
JP2014509404A (ja) * 2011-01-31 2014-04-17 ウィジップス 一体型光起電力セルを有する立体三次元ディスプレイスクリーンおよびその製造方法
WO2016081101A3 (en) * 2014-11-17 2017-05-04 X Development Llc Rear projection screen with pin-hole concentrator array

Citations (5)

* Cited by examiner, † Cited by third party
Publication number Priority date Publication date Assignee Title
JPH075455A (ja) * 1992-11-11 1995-01-10 Sharp Corp ディスプレイ
JPH07287195A (ja) * 1994-02-23 1995-10-31 Sanyo Electric Co Ltd メガネ無し立体表示装置
JPH085957A (ja) * 1994-06-20 1996-01-12 Sanyo Electric Co Ltd メガネ無し立体表示装置
JPH09166762A (ja) * 1995-12-14 1997-06-24 Denso Corp 立体表示装置
JP2005326803A (ja) * 2003-09-03 2005-11-24 Canon Inc 立体画像表示装置

Patent Citations (5)

* Cited by examiner, † Cited by third party
Publication number Priority date Publication date Assignee Title
JPH075455A (ja) * 1992-11-11 1995-01-10 Sharp Corp ディスプレイ
JPH07287195A (ja) * 1994-02-23 1995-10-31 Sanyo Electric Co Ltd メガネ無し立体表示装置
JPH085957A (ja) * 1994-06-20 1996-01-12 Sanyo Electric Co Ltd メガネ無し立体表示装置
JPH09166762A (ja) * 1995-12-14 1997-06-24 Denso Corp 立体表示装置
JP2005326803A (ja) * 2003-09-03 2005-11-24 Canon Inc 立体画像表示装置

Cited By (3)

* Cited by examiner, † Cited by third party
Publication number Priority date Publication date Assignee Title
JP2009031692A (ja) * 2007-07-30 2009-02-12 National Institute Of Information & Communication Technology 画像表示装置
JP2014509404A (ja) * 2011-01-31 2014-04-17 ウィジップス 一体型光起電力セルを有する立体三次元ディスプレイスクリーンおよびその製造方法
WO2016081101A3 (en) * 2014-11-17 2017-05-04 X Development Llc Rear projection screen with pin-hole concentrator array

Similar Documents

Publication Publication Date Title
US9329470B2 (en) Display apparatus for displaying multiple view angle images
US7224411B2 (en) Digital projection equipment and techniques
JP2004062208A (ja) 画素移動手段を具備する高解像度ディスプレイ
JP3605572B2 (ja) 三次元映像表示装置及び点状光出射部材及び点状光透過部材
US20130176407A1 (en) Beam scanned display apparatus and method thereof
JP5707984B2 (ja) プロジェクター
JP2016218181A (ja) レーザ光を用いた投射装置及び該投射装置を用いたヘッドアップディスプレイ
JP2004226767A (ja) 光学ユニット及びそれを用いた表示システム並びに映像光出力方法
JP4928152B2 (ja) 背面投射型表示装置及びスクリーン
JP2007293100A (ja) 背面投射型表示装置及びスクリーン
WO1996021997A2 (en) 3d-projection
JP2005084374A (ja) プロジェクタおよび三次元画像表示システム
US7625093B2 (en) Image display device having a plurality of basic-color projection units
KR101060159B1 (ko) LCoS 방식의 프로젝터를 이용한 입체 영상 출력 방법 및 이를 위한 장치
JP4572347B2 (ja) プロジェクタ
JPH11295652A (ja) 画像表示装置とそれを用いた投写型画像表示装置
JP2008176140A (ja) プロジェクタおよび投写調整方法
JP5630045B2 (ja) 画像表示装置
JP2008102193A (ja) 偏光変換素子、照明装置及び画像表示装置
KR20110071999A (ko) 레이저 디스플레이 시스템
JP5180677B2 (ja) 照明装置及びこれを用いた投写型映像表示装置
JP2012181417A (ja) プロジェクターおよびプロジェクションシステム
JP3238993B2 (ja) 立体映像表示装置
JP2009282553A (ja) プロジェクタ
JP2010128139A (ja) 画像表示装置と画像表示方法および画像表示システム

Legal Events

Date Code Title Description
RD04 Notification of resignation of power of attorney

Free format text: JAPANESE INTERMEDIATE CODE: A7424

Effective date: 20080207

RD01 Notification of change of attorney

Free format text: JAPANESE INTERMEDIATE CODE: A7421

Effective date: 20090220

A621 Written request for application examination

Free format text: JAPANESE INTERMEDIATE CODE: A621

Effective date: 20090427

RD04 Notification of resignation of power of attorney

Free format text: JAPANESE INTERMEDIATE CODE: A7424

Effective date: 20100201

RD01 Notification of change of attorney

Free format text: JAPANESE INTERMEDIATE CODE: A7421

Effective date: 20100630

A131 Notification of reasons for refusal

Free format text: JAPANESE INTERMEDIATE CODE: A131

Effective date: 20111108

A521 Written amendment

Free format text: JAPANESE INTERMEDIATE CODE: A523

Effective date: 20120110

A131 Notification of reasons for refusal

Free format text: JAPANESE INTERMEDIATE CODE: A131

Effective date: 20120131

A521 Written amendment

Free format text: JAPANESE INTERMEDIATE CODE: A523

Effective date: 20120329

A02 Decision of refusal

Free format text: JAPANESE INTERMEDIATE CODE: A02

Effective date: 20120626