JP2007267491A - 電気二重層キャパシタによる電源装置 - Google Patents
電気二重層キャパシタによる電源装置 Download PDFInfo
- Publication number
- JP2007267491A JP2007267491A JP2006088076A JP2006088076A JP2007267491A JP 2007267491 A JP2007267491 A JP 2007267491A JP 2006088076 A JP2006088076 A JP 2006088076A JP 2006088076 A JP2006088076 A JP 2006088076A JP 2007267491 A JP2007267491 A JP 2007267491A
- Authority
- JP
- Japan
- Prior art keywords
- power
- load
- double layer
- layer capacitor
- electric double
- Prior art date
- Legal status (The legal status is an assumption and is not a legal conclusion. Google has not performed a legal analysis and makes no representation as to the accuracy of the status listed.)
- Pending
Links
- 239000003990 capacitor Substances 0.000 title claims abstract description 77
- 238000006243 chemical reaction Methods 0.000 claims abstract description 50
- 230000001172 regenerating effect Effects 0.000 claims description 10
- 238000007600 charging Methods 0.000 description 3
- 238000010586 diagram Methods 0.000 description 2
- 238000010277 constant-current charging Methods 0.000 description 1
- 230000007423 decrease Effects 0.000 description 1
- 230000005611 electricity Effects 0.000 description 1
- 238000010438 heat treatment Methods 0.000 description 1
- 238000000034 method Methods 0.000 description 1
- 229910001120 nichrome Inorganic materials 0.000 description 1
- 230000008929 regeneration Effects 0.000 description 1
- 238000011069 regeneration method Methods 0.000 description 1
Images
Landscapes
- Charge And Discharge Circuits For Batteries Or The Like (AREA)
Abstract
【課題】電気二重層キャパシタに蓄えられている電力を電力変換回路を介して負荷に供給する電源装置において、小型かつ低コストの電力変換回路にて負荷で消費される電力の変動幅が大きいハイパワーの電力経路に対応できるようにする。
【解決手段】電気二重層のキャパシタ10から電力変換回路20を介して負荷40に至る第1給電経路41に加えて、キャパシタ10からダイレクトに負荷40に至り、その経路内に開閉素子42aを有する第2給電経路42と、キャパシタ10の出力電圧に基づいて開閉素子42aをオンオフ制御する制御手段30とを備え、電力変換回路20の定格出力電圧を負荷が必ず動作する負荷最低保証電圧以上の電圧に設定したうえで、キャパシタ10の出力電圧が負荷最低保証電圧よりも高いときには、開閉素子42aをオンにして第2給電経路42より負荷40に給電し、キャパシタ10の出力電圧が負荷最低保証電圧を下回る場合には開閉素子42aをオフにして第1給電経路41より負荷40に給電する。
【選択図】図1
【解決手段】電気二重層のキャパシタ10から電力変換回路20を介して負荷40に至る第1給電経路41に加えて、キャパシタ10からダイレクトに負荷40に至り、その経路内に開閉素子42aを有する第2給電経路42と、キャパシタ10の出力電圧に基づいて開閉素子42aをオンオフ制御する制御手段30とを備え、電力変換回路20の定格出力電圧を負荷が必ず動作する負荷最低保証電圧以上の電圧に設定したうえで、キャパシタ10の出力電圧が負荷最低保証電圧よりも高いときには、開閉素子42aをオンにして第2給電経路42より負荷40に給電し、キャパシタ10の出力電圧が負荷最低保証電圧を下回る場合には開閉素子42aをオフにして第1給電経路41より負荷40に給電する。
【選択図】図1
Description
本発明は、電気二重層キャパシタによる電源装置に関し、さらに詳しく言えば、負荷で消費される電力の変動幅が大きい電力用途に好適な電気二重層キャパシタによる電源装置に関するものである。
電気二重層キャパシタ(EDLC:Electric Double Layer Capacitor)は、二次電池などのように化学反応を利用せず、電気をそのまま蓄電する素子であるため、大電力を急速に充放電することができる反面、その充放電にともなってキャパシタの出力電圧が変動するという特性を有している。
すなわち、キャパシタに蓄電されるエネルギーEと電圧Vは、E=CV2/2(Cは静電容量)の関係にある。これを電圧Vで書き表すと、V=√(2E/C)となり、キャパシタの電圧Vは蓄電エネルギーの平方根に比例して変動する。
そこで、電気二重層キャパシタが持つ特徴を活かしながら定電圧で充放電させるようにするため、電力変換回路を介して電気二重層キャパシタから負荷に電力を供給し、負荷側で回生電力が発生される場合には、その回生電力を電気二重層キャパシタに蓄電することが行われている(例えば、特許文献1参照)。
上記電力変換回路には、例えばスイッチングレギュレータなどからなる定電流充放電回路(いわゆる電流ポンプ)が用いられるが、電気二重層キャパシタから負荷に大きな瞬時ピーク電力を供給したり、逆に負荷で発生する瞬時ピーク回生電力を電気二重層キャパシタに吸収するハイパワーの電力経路に対応するには、許容電力値が大で、しかも寸法的にも大型で高コストの電力変換回路を必要とするという問題がある。
したがって、本発明の課題は、電気二重層キャパシタに蓄えられている電力を電力変換回路を介して負荷に供給する電気二重層キャパシタによる電源装置において、小型かつ低コストの電力変換回路にて負荷で消費される電力の変動幅が大きいハイパワーの電力経路に対応できるようにすることにある。
上記課題を解決するため、本発明は、請求項1に記載されているように、主電源としての電気二重層キャパシタと、定電流充放電特性を有する電力変換回路とを含み、上記電気二重層キャパシタに蓄えられている電力を上記電力変換回路を介して所定の負荷に供給する電気二重層キャパシタによる電源装置において、上記電気二重層キャパシタから上記電力変換回路を介して上記負荷に至る経路を第1給電経路として、上記第1給電経路に加えて、上記電気二重層キャパシタから上記電力変換回路をバイパスして上記負荷に至り、その経路内に開閉素子を有する第2給電経路と、上記電気二重層キャパシタの出力電圧に基づいて上記開閉素子をオンオフ制御する制御手段とを備え、上記電力変換回路の定格出力電圧が上記負荷が必ず動作する負荷最低保証電圧以上の電圧に設定されており、上記制御手段は、上記電気二重層キャパシタの出力電圧が上記負荷最低保証電圧よりも高いときには上記開閉素子をオンにして上記第2給電経路より上記負荷に給電し、上記電気二重層キャパシタの出力電圧が上記負荷最低保証電圧を下回る場合には上記開閉素子をオフにして上記第1給電経路より上記負荷に給電することを特徴としている。
上記請求項1では、上記電気二重層キャパシタの出力電圧と上記負荷最低保証電圧とを比較しているが、上記電力変換回路の定格出力電圧が上記負荷が必ず動作する負荷最低保証電圧以上の電圧に設定されていることを条件として、請求項2に記載のように、上記制御手段は、上記電気二重層キャパシタの出力電圧が上記電力変換回路の定格出力電圧よりも高いときには上記開閉素子をオンにして上記第2給電経路より上記負荷に給電し、上記電気二重層キャパシタの出力電圧が上記電力変換回路の定格出力電圧を下回る場合には上記開閉素子をオフにして上記第1給電経路より上記負荷に給電するようにしてもよい。
上記請求項1または上記請求項2のいずれの場合においても、本発明では、請求項3に記載のように、上記負荷から回生電力が発生される場合、上記制御手段は、上記開閉素子をオンにして、上記回生電力を上記第2給電経路を介して上記電気二重層キャパシタに充電する。
本発明によれば、電気二重層キャパシタから電力変換回路を介して負荷に至る第1給電経路に加えて、電気二重層キャパシタから電力変換回路をバイパスして負荷に至り、その経路内に開閉素子を有する第2給電経路と、電気二重層キャパシタの出力電圧に基づいて開閉素子をオンオフ制御する制御手段とを備え、電力変換回路の定格出力電圧を負荷が必ず動作する負荷最低保証電圧以上の電圧に設定したうえで、電気二重層キャパシタの出力電圧が負荷最低保証電圧(もしくは電力変換回路の定格出力電圧)よりも高いときには、開閉素子をオンにして第2給電経路より負荷に給電し、電気二重層キャパシタの出力電圧が負荷最低保証電圧(もしくは電力変換回路の定格出力電圧)を下回る場合には開閉素子をオフにして第1給電経路より負荷に給電し、また、負荷から回生電力が発生される場合には、その回生電力を第2給電経路を介して電気二重層キャパシタに充電するようにしたことにより、電力変換回路は瞬時のピーク電力に対応できるものでなくてよく、したがって、小型かつ低コストの電力変換回路にて負荷で消費される電力の変動幅が大きいハイパワーの電力経路に対応でき、しかも負荷を正常な状態で確実に駆動することができる。
次に、図1ないし図3により、本発明の実施形態について説明するが、本発明はこれに限定されるものではない。図1は本発明に係る電気二重層キャパシタによる電源装置の構成例を示す模式図,図2は上記電源装置の出力波形の一例を示すグラフ,図3は本発明の動作説明用のフローチャートである。
図1に示すように、この電源装置には、基本的な構成として、主電源である電気二重層キャパシタ10と、電流ポンプとも呼ばれる電力変換回路20と、制御手段30とが含まれ、制御手段30により選択された後述する給電経路を介して電気二重層キャパシタ10に蓄電されている電力を負荷40に供給する。
電気二重層キャパシタ10は、実際には複数のキャパシタセルを好ましくは直列に接続したキャパシタバンクであり、図示しない充電電源により適宜充電されるが、充電方式は充電効率の観点から定電流充電であることが好ましい。なお、電気二重層キャパシタ10の出力電圧をVaとする。
電力変換回路20は定電流充放電特性を有し、例えば昇圧型,降圧型などのスイッチングレギュレータから構成されてよい。ここで、負荷30を動作させるに必要な最低電圧である負荷最低保証電圧をVb,電力変換回路20の定格出力電圧をVcとすると、本発明では、電力変換回路20の定格出力電圧Vcは負荷最低保証電圧Vb以上、すなわちVc≧Vbに設定される。なお、等号を外してVc>Vbとしてもよい。
本発明では、電気二重層キャパシタ10から電力変換回路20を介して負荷40に至る経路を第1給電経路41として、これとは別に、電気二重層キャパシタ10から電力変換回路20をバイパスしてダイレクトに負荷40に至り、その途中に開閉素子42aが接続されている第2給電経路42を備える。開閉素子42aは機械式,電子式のいずれであってもよい。
制御手段30は、電気二重層キャパシタの出力電圧Vaに基づいて、第2給電経路42に含まれている開閉素子42aのオンオフを制御する。電気二重層キャパシタ10が電力変換回路20の定格出力電圧Vcよりも高い電圧にまで充電されているものとして、開閉素子42aをオンにすると、電気二重層キャパシタ10から第2給電経路42を介して負荷40に図2にダイレクト動作モードとして示すような大電流が供給される。
これに対して、開閉素子42aがオフの場合には、電力変換回路20側から第1給電経路41を介して負荷40に図2にポンプ動作モードとして示すような定電流が供給されることになる。
また、負荷40が例えばインバータにより駆動される交流電動機である場合、その回生モード時にも開閉素子42aがオンとされ、回生電流が第2給電経路42を介して電気二重層キャパシタ10にダイレクトに充電される。
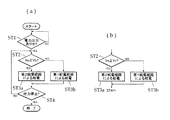
次に、図3(a)(b)のフロチャートにより、本発明の第1動作例と第2動作例について説明する。まず、図3(a)の第1動作例では、制御手段30は、ステップST1で電気二重層キャパシタ10が電力出力状態であるかどうかを判定し、電力出力状態であれば、次のステップST2で電気二重層キャパシタ10の出力電圧Vaが負荷最低保証電圧Vb以上(Va≧Vb)であるかどうかを判定する。なお、判定基準をVa>Vbとしてもよい。
その結果、Va≧Vbの場合には、ステップST3aで第2給電経路42による給電を行う。すなわち、開閉素子42aをオンとして電気二重層キャパシタ10から第2給電経路42を介して負荷40に直接的に電力を供給する(図2のダイレクト動作モード)。
これに対して、Va≧Vbでなく、電気二重層キャパシタ10の出力電圧Vaが負荷最低保証電圧Vbを下回るような場合には、ステップST3bで第1給電経路41による給電を行う。すなわち、開閉素子42aをオフとして、電力変換回路20から負荷40に電力を供給する(図2のポンプ動作モード)。
この場合、上記したように電力変換回路20の定格出力電圧Vcは負荷最低保証電圧Vb以上に設定されているため、負荷40は正常に動作する。このようにして、制御手段30により、第2給電経路42による給電と、第1給電経路41による給電のいずれかが選択され、これがステップST4で出力停止指令が出されるまで実行される。
次に、図3(b)により、本発明の第2動作例について説明する。この第2動作例と上記第1動作例との異なる点は、上記第1動作例では、ステップST2でVa≧Vbであるかどうかを判定するようにしているのに対して、この第2動作例では、図3(b)に示すように、Va≧Vc,すなわち電気二重層キャパシタ10の出力電圧Vaが電力変換回路20の定格出力電圧Vc以上かどうかを判定するようにしている。
この第2動作例においても、上記第1動作例と同じく、電力変換回路20の定格出力電圧Vcは負荷最低保証電圧Vb以上に設定されていることを条件としているため、Va≧Vcの場合には、ステップST3aで第2給電経路42による給電を行い、Va≧Vcでない場合には、ステップST3bで第1給電経路41による給電を行っても、負荷40は正常に動作する。
以上説明したように、本発明によれば、負荷に対して第2給電経路42により例えば瞬時のピーク電力を供給することができ、また、電気二重層キャパシタ10の出力電圧Vaが低下したとしても、電力変換回路20から第1給電経路41を介して定常電力が供給される。したがって、本発明は、定常状態になるまでは抵抗値がほぼ0に近いくらいに低いが、定常状態では高抵抗値となる機器、例えば複写機のニクロム線によるドラム加熱部や電動機などの電源として特に有効である。
10 電気二重層キャパシタ
20 電力変換回路
30 制御手段
40 負荷
41 第1給電経路
42 第2給電経路
42a 開閉素子
20 電力変換回路
30 制御手段
40 負荷
41 第1給電経路
42 第2給電経路
42a 開閉素子
Claims (3)
- 主電源としての電気二重層キャパシタと、定電流充放電特性を有する電力変換回路とを含み、上記電気二重層キャパシタに蓄えられている電力を上記電力変換回路を介して所定の負荷に供給する電気二重層キャパシタによる電源装置において、
上記電気二重層キャパシタから上記電力変換回路を介して上記負荷に至る経路を第1給電経路として、上記第1給電経路に加えて、上記電気二重層キャパシタから上記電力変換回路をバイパスして上記負荷に至り、その経路内に開閉素子を有する第2給電経路と、上記電気二重層キャパシタの出力電圧に基づいて上記開閉素子をオンオフ制御する制御手段とを備え、
上記電力変換回路の定格出力電圧が上記負荷が必ず動作する負荷最低保証電圧以上の電圧に設定されており、
上記制御手段は、上記電気二重層キャパシタの出力電圧が上記負荷最低保証電圧よりも高いときには上記開閉素子をオンにして上記第2給電経路より上記負荷に給電し、上記電気二重層キャパシタの出力電圧が上記負荷最低保証電圧を下回る場合には上記開閉素子をオフにして上記第1給電経路より上記負荷に給電することを特徴とする電気二重層キャパシタによる電源装置。 - 主電源としての電気二重層キャパシタと、定電流充放電特性を有する電力変換回路とを含み、上記電気二重層キャパシタに蓄えられている電力を上記電力変換回路を介して所定の負荷に供給する電気二重層キャパシタによる電源装置において、
上記電気二重層キャパシタから上記電力変換回路を介して上記負荷に至の経路を第1給電経路として、上記第1給電経路に加えて、上記電気二重層キャパシタから上記電力変換回路をバイパスして上記負荷に至り、その経路内に開閉素子を有する第2給電経路と、上記電気二重層キャパシタの出力電圧に基づいて上記開閉素子をオンオフ制御する制御手段とを備え、
上記電力変換回路の定格出力電圧が上記負荷が必ず動作する負荷最低保証電圧以上の電圧に設定されており、
上記制御手段は、上記電気二重層キャパシタの出力電圧が上記電力変換回路の定格出力電圧よりも高いときには上記開閉素子をオンにして上記第2給電経路より上記負荷に給電し、上記電気二重層キャパシタの出力電圧が上記電力変換回路の定格出力電圧を下回る場合には上記開閉素子をオフにして上記第1給電経路より上記負荷に給電することを特徴とする電気二重層キャパシタによる電源装置。 - 上記負荷から回生電力が発生される場合、上記制御手段は、上記開閉素子をオンにして、上記回生電力を上記第2給電経路を介して上記電気二重層キャパシタに充電することを特徴とする請求項1または2に記載の電気二重層キャパシタによる電源装置。
Priority Applications (1)
| Application Number | Priority Date | Filing Date | Title |
|---|---|---|---|
| JP2006088076A JP2007267491A (ja) | 2006-03-28 | 2006-03-28 | 電気二重層キャパシタによる電源装置 |
Applications Claiming Priority (1)
| Application Number | Priority Date | Filing Date | Title |
|---|---|---|---|
| JP2006088076A JP2007267491A (ja) | 2006-03-28 | 2006-03-28 | 電気二重層キャパシタによる電源装置 |
Publications (1)
| Publication Number | Publication Date |
|---|---|
| JP2007267491A true JP2007267491A (ja) | 2007-10-11 |
Family
ID=38639938
Family Applications (1)
| Application Number | Title | Priority Date | Filing Date |
|---|---|---|---|
| JP2006088076A Pending JP2007267491A (ja) | 2006-03-28 | 2006-03-28 | 電気二重層キャパシタによる電源装置 |
Country Status (1)
| Country | Link |
|---|---|
| JP (1) | JP2007267491A (ja) |
Cited By (1)
| Publication number | Priority date | Publication date | Assignee | Title |
|---|---|---|---|---|
| KR100983678B1 (ko) | 2009-12-23 | 2010-09-24 | 코칩 주식회사 | 미세전력용 전원장치 |
-
2006
- 2006-03-28 JP JP2006088076A patent/JP2007267491A/ja active Pending
Cited By (2)
| Publication number | Priority date | Publication date | Assignee | Title |
|---|---|---|---|---|
| KR100983678B1 (ko) | 2009-12-23 | 2010-09-24 | 코칩 주식회사 | 미세전력용 전원장치 |
| WO2011078473A3 (ko) * | 2009-12-23 | 2011-09-09 | 코칩 주식회사 | 미세전력용 전원장치 |
Similar Documents
| Publication | Publication Date | Title |
|---|---|---|
| JP4819762B2 (ja) | 給電システムおよび給電システムの制御方法 | |
| JP5800919B2 (ja) | 電力変換装置 | |
| JP5152746B2 (ja) | 燃料電池電源装置 | |
| CN105189009B (zh) | 复合焊接系统以及用于控制该系统的方法 | |
| JP5614085B2 (ja) | 電源装置 | |
| JP2009254169A (ja) | 電力供給システム | |
| JP2008178287A (ja) | ハイブリッド電力供給装置、ハイブリッド電力供給装置の制御方法、電子機器および記録媒体 | |
| JP6228059B2 (ja) | Dc/dcコンバータおよびバッテリシステム | |
| JP6131763B2 (ja) | 電源システム | |
| JP2011151952A (ja) | 電源装置 | |
| US20150203060A1 (en) | Power supply management system and power supply management method | |
| US11299066B2 (en) | System of increasing temperature of battery for vehicle | |
| JP2012175801A (ja) | 蓄電システム | |
| JP5582173B2 (ja) | 充電装置 | |
| JP2010119175A (ja) | Dc/dcコンバータ装置、燃料電池車両、電気自動車、及びハイブリッド直流電源システム並びに該システムにおけるコンデンサの放電方法 | |
| JP5082339B2 (ja) | 電力変換装置 | |
| JP2010041826A (ja) | Ac−dcコンバータおよびそれを用いる電子機器 | |
| JP5288954B2 (ja) | 無停電電源装置 | |
| JP2010220279A (ja) | 電源制御装置及び方法 | |
| JP5906153B2 (ja) | 充電装置 | |
| JP6104637B2 (ja) | 2電源負荷駆動システム及び燃料電池自動車 | |
| JP2013090511A (ja) | 電力制御装置 | |
| JP5864247B2 (ja) | 発電装置 | |
| KR20110112678A (ko) | 분산 전원을 이용한 전력 제어 시스템 | |
| JP2007267491A (ja) | 電気二重層キャパシタによる電源装置 |
Legal Events
| Date | Code | Title | Description |
|---|---|---|---|
| A02 | Decision of refusal |
Free format text: JAPANESE INTERMEDIATE CODE: A02 Effective date: 20071024 |