JP2007183447A - 残響音低減装置 - Google Patents
残響音低減装置 Download PDFInfo
- Publication number
- JP2007183447A JP2007183447A JP2006002059A JP2006002059A JP2007183447A JP 2007183447 A JP2007183447 A JP 2007183447A JP 2006002059 A JP2006002059 A JP 2006002059A JP 2006002059 A JP2006002059 A JP 2006002059A JP 2007183447 A JP2007183447 A JP 2007183447A
- Authority
- JP
- Japan
- Prior art keywords
- panel
- space
- sound
- plate
- reverberation
- Prior art date
- Legal status (The legal status is an assumption and is not a legal conclusion. Google has not performed a legal analysis and makes no representation as to the accuracy of the status listed.)
- Pending
Links
Images
Landscapes
- Building Environments (AREA)
- Soundproofing, Sound Blocking, And Sound Damping (AREA)
Abstract
【課題】オフィス空間における残響時間を短縮することにより、会話等がクリヤーかつ聞き取り易い音環境を容易に実現することができる実用的な残響音低減装置を提供する。
【解決手段】オフィス空間内に配置された、収納家具1の前面板16,16に、板厚方向に貫通する多数の微細孔16a,…を穿設した。収納家具1内に残存する未使用の空間を前面板16,16に穿設された多数の微細孔16a,…が持っている音響インピーダンスに対応する空気層として、収納家具1の外部の音源に対して振動系を形成させ、共振周波数の近傍では高い吸音率を得ることができると共に低周波域においても有効に機能する吸音装置を構成し、オフィス空間の残響時間を大幅に低減する。また、残響音低減装置を設置する寸法上の制約を受けることなく、未使用空間を有効に活用する。
【選択図】図6
【解決手段】オフィス空間内に配置された、収納家具1の前面板16,16に、板厚方向に貫通する多数の微細孔16a,…を穿設した。収納家具1内に残存する未使用の空間を前面板16,16に穿設された多数の微細孔16a,…が持っている音響インピーダンスに対応する空気層として、収納家具1の外部の音源に対して振動系を形成させ、共振周波数の近傍では高い吸音率を得ることができると共に低周波域においても有効に機能する吸音装置を構成し、オフィス空間の残響時間を大幅に低減する。また、残響音低減装置を設置する寸法上の制約を受けることなく、未使用空間を有効に活用する。
【選択図】図6
Description
本発明は、オフィス空間に用いられる残響音低減装置に関するものである。
最近のオフィス空間における特徴として、従業員相互の連携作業の効率化を図るために1区画の面積が広くなっていること、明るく開放感を持たせるためにガラスを多用したカーテンウォールによって窓開口が拡大していること、及び、区画間の間仕切りにもガラスが多用されていること、等が挙げられる。したがって、オフィス空間の表面積に含まれる窓ガラスやフローリング床など音響的に剛な部分の面積の割合が高くなっており、その結果として、オフィス空間内の吸音性能が低下し、一方ではオフィス面積の拡大化に伴ってオフィス壁間距離が遠くなり固有反射音周波数が低くなった結果、特に低周波帯域において残響時間が長くなっている。ここで、音源が停止した後に室内に音が残る現象である残響、該残響を量的に表した残響時間及び残響式等については、公知となっている(非特許文献1参照)。
また、残響時間を短縮する構成を開示するものではないが、板厚方向に貫通する多数の円形微細孔を備えた1枚以上の微細孔明き板を、音源と音響的に剛な壁体との中間に所定距離を隔てて配置してなる構成が吸音装置として利用できることが知られている(非特許文献2参照)。
さらに、本願の発明者により、板厚方向に貫通する多数の円形微細孔を設けた2層以上の音響パネルを所定間隙を介して相対して配置し、これら音響パネルを音源に対して所定距離を隔てて配置することにより、前記微細孔からの微量な空気漏れに基づく有効な音響レジスタンスの存在により、低周波域を含む広い周波数域にわたって吸音効果を発揮させることができる吸音装置が開示されている(特許文献1参照)。
さらにまた、本願の発明者により、微細孔明き板において、板厚方向に貫通する円形断面を入口側と出口側の間で拡大又は縮小させることにより、従来の同一断面微細孔明き板よりも大きな音響インピーダンスを実現することができ、これにより微細孔と空気層で構成される振動系の共振周波数即ち吸音率ピーク周波数を低周波側に移行させ、さらに吸音帯域幅を従来装置よりも拡大することができる音響パネル及び吸音・遮音装置が開示されている(特許文献2参照)。
また、本願の発明者により、微細孔明き板の音源側表面に、所要の厚さの無孔板を配置することによって、微細孔明き板の音響インピーダンスに無孔板が持つ音響リアクタンスを付加することにより、従来の微細孔明き板よりも大きな音響インピーダンスを実現することができ、これにより共振周波数即ち吸音率ピーク周波数を低周波側に移行させることができる音響パネル及び吸音・遮音装置に係る発明がなされている(特許文献3参照)。
さらに、本願の発明者により、微細孔明き板を母材と多数の嵌め込み部材とで構成し、嵌め込み部材には所要の音響インピーダンスを持つ微細孔を嵌め込み操作に先立って予め貫通加工させることにより、微細孔を直接に孔明け加工が困難な材質、あるいは大きな板厚を有する母材を用いた音響パネルが開示されている(特許文献4参照)。
さらにまた、本願の発明者により、板厚方向に貫通する多数の微細孔を設けた微細孔明き板において、該微細孔明き板の板厚方向に直交する切断面において、周壁により囲まれる微細孔形状を非円形とし、アスペクト比を調整することによって、微細孔明き板の音響インピーダンスを構成する音響レジスタンスと音響リアクタンスの比率を制御することにより、従来の同一断面積を有する円形微細孔明き板よりも大きな音響インピーダンスを実現することができ、これにより微細孔と空気層で構成される振動系の共振周波数即ち吸音率ピーク周波数を低周波側に移行させ、さらに吸音帯域幅を従来装置よりも拡大することができる音響パネル及び吸音・遮音装置に係る発明がなされている(特願2005−079251号。以下において「先願1」という。)。
また、本願の発明者により、住宅のリビングルーム等の居室に用いられる残響音低減装置に係る発明がなされている(特願2005−357319号。以下において「先願2」という。)。
前川純一,森本政之,阪上公博著,「建築・環境音響学」,第2版,共立出版 株式会社,2000年9月25日,p.13-14,p.51-52
Maa Dah-You, "Potential of microperforated panel absorber", Journal of the Acoustical Society of America,(U.S.A.), Nov. 1998, Vol.104, No .5, p.2861-2866
特開2005−173398号公報(図1−46)
特開2005−31240号公報(図1−14)
特開2005−273273号公報(図1−33)
特開2005−23619号公報(図1−7)
前記のとおりオフィス空間内の吸音性能が低下し、特に低周波帯域において残響時間が長くなっているため、会話等が聞き取りにくくなって職務遂行に支障を来たす場合があることから、作業性が低下すること及びストレスが増大すること等の問題点がある。このような最近のオフィス空間における音環境の悪化という問題を実用的な構成により解決することが急務であるといえる。
本発明は、このような問題点を解決するためになされたものであり、オフィス空間における残響時間を短縮することにより会話等が聞き取り易い音環境を容易に実現することができる実用的な残響音低減装置を提供することを目的とする。
本発明に係る残響音低減装置は、前記課題解決のために、オフィス空間内に配置された、開き戸、引き戸又は引出しを備えた収納家具の前面板に、板厚方向に貫通する多数の微細孔を穿設してなるものである。
また、本発明に係る残響音低減装置は、前記課題解決のために、オフィス空間内に配置された収納家具と天井面との間に設けられ、収納家具の天板、天井面及び壁面とにより仕切られた空間を形成する、壁面方向に開放する平面視略コ字状の凹部を有するパネル体の前面板、収納家具の天板、天井面若しくは壁面とにより仕切られた空間を形成する、下面、上面若しくは後面が開口とされた箱状のパネル体の前面板、又は、外形が直方体であり単体で仕切られた空間を形成する箱状のパネル体の前面板に、板厚方向に貫通する多数の微細孔を穿設してなるものである。
さらに、本発明に係る残響音低減装置は、前記課題解決のために、オフィスの左右壁面間又は柱間にわたり後壁面に沿って配置された収納家具の上側空間の前側を塞ぐパネル板を設け、該パネル板に、板厚方向に貫通する多数の微細孔を穿設してなるものである。
さらにまた、本発明に係る残響音低減装置は、前記課題解決のために、オフィスの床面上に載置又は固定されたパーティションの枠体により保持され、該枠体とにより仕切られた空間を形成する、所定距離を隔てて相対する複層のパネル板の最外側の2枚のパネル板の少なくとも一方に、板厚方向に貫通する多数の微細孔を穿設してなるものである。
また、本発明に係る残響音低減装置は、前記課題解決のために、オフィスの天井面に固定された垂れ壁又は前記天井面に着脱可能な取付具により取付けられた垂れ壁における上下の横架部材により保持され、該横架部材と垂れ壁左右端の壁面、柱又は閉止板とにより仕切られた空間を形成する、所定距離を隔てて相対する複層のパネル板の最外側の2枚のパネル板の少なくとも一方に、板厚方向に貫通する多数の微細孔を穿設してなるものである。
本発明に係る残響音低減装置によれば、オフィス空間内に配置された、開き戸、引き戸又は引出しを備えた収納家具の前面板に、板厚方向に貫通する多数の微細孔を穿設してなるので、前記収納家具内に残存する未使用の空間を前記前面板に穿設された多数の微細孔が持っている音響インピーダンスに対応する空気層として、前記収納家具の外部の音源に対する振動系を形成し、該振動系の共振周波数の近傍では高い吸音率を得ることができると共に低周波域においても有効に機能する吸音装置を構成することができるため、オフィス空間の残響時間を大幅に低減することができるという顕著な効果を奏する。また、残響音低減装置を設置する寸法上の制約を受けることなく、未使用空間を有効に活用することができる。
また、本発明に係る残響音低減装置によれば、オフィス空間内に配置された収納家具と天井面との間に設けられ、収納家具の天板、天井面及び壁面とにより仕切られた空間を形成する、壁面方向に開放する平面視略コ字状の凹部を有するパネル体の前面板、収納家具の天板、天井面若しくは壁面とにより仕切られた空間を形成する、下面、上面若しくは後面が開口とされた箱状のパネル体の前面板、又は、外形が直方体であり単体で仕切られた空間を形成する箱状のパネル体の前面板に、板厚方向に貫通する多数の微細孔を穿設してなるので、前記空間を前記前面板に穿設された多数の微細孔が持っている音響インピーダンスに対応する空気層として、前記パネル体の外部の音源に対する振動系を形成し、該振動系の共振周波数の近傍では高い吸音率を得ることができると共に低周波域においても有効に機能する吸音装置を構成することができるため、オフィス空間の残響時間を大幅に低減することができるという顕著な効果を奏する。また、残響音低減装置を設置する寸法上の制約を受けることなく、未使用空間を有効に活用することができる。
さらに、本発明に係る残響音低減装置によれば、オフィスの左右壁面間又は柱間にわたり後壁面に沿って配置された収納家具の上側空間の前側を塞ぐパネル板を設け、該パネル板に、板厚方向に貫通する多数の微細孔を穿設してなるので、前記空間を前記パネル板に穿設された多数の微細孔が持っている音響インピーダンスに対応する空気層として、前記空間及びパネル板の外部の音源に対する振動系を形成し、該振動系の共振周波数の近傍では高い吸音率を得ることができると共に低周波域においても有効に機能する吸音装置を構成することができるため、オフィス空間の残響時間を大幅に低減することができるという顕著な効果を奏する。また、残響音低減装置を設置する寸法上の制約を受けることなく、未使用空間を有効に活用することができる。
さらにまた、本発明に係る残響音低減装置によれば、オフィスの床面上に載置又は固定されたパーティションの枠体により保持され、該枠体とにより仕切られた空間を形成する、所定距離を隔てて相対する複層のパネル板の最外側の2枚のパネル板の少なくとも一方に、板厚方向に貫通する多数の微細孔を穿設してなるので、前記空間を前記パネル板に穿設された多数の微細孔が持っている音響インピーダンスに対応する空気層として、前記パーティションの外部の音源に対する振動系を形成し、該振動系の共振周波数の近傍では高い吸音率を得ることができると共に低周波域においても有効に機能する吸音装置を構成することができるため、オフィス空間の残響時間を大幅に低減することができるという顕著な効果を奏する。また、残響音低減装置を設置する寸法上の制約を受けることなく、未使用空間を有効に活用することができる。
また、本発明に係る残響音低減装置によれば、オフィスの天井面に固定された垂れ壁又は前記天井面に着脱可能な取付具により取付けられた垂れ壁における上下の横架部材により保持され、該横架部材と垂れ壁左右端の壁面、柱又は閉止板とにより仕切られた空間を形成する、所定距離を隔てて相対する複層のパネル板の最外側の2枚のパネル板の少なくとも一方に、板厚方向に貫通する多数の微細孔を穿設してなるので、前記空間を前記パネル板に穿設された多数の微細孔が持っている音響インピーダンスに対応する空気層として、前記垂れ壁の外部の音源に対する振動系を形成し、該振動系の共振周波数の近傍では高い吸音率を得ることができると共に低周波域においても有効に機能する吸音装置を構成することができるため、オフィス空間の残響時間を大幅に低減することができるという顕著な効果を奏する。また、残響音低減装置を設置する寸法上の制約を受けることなく、未使用空間を有効に活用することができる。
残響の少ない快適な音環境とは、音響学で定義される残響時間の短い環境ということができるが、拡散音場での残響時間の理論的な導出は既に完成されており、例えばSabineの残響式として、次式が知られている。
ここに、Tは残響時間、Vは室空間の容積、αは使用材料の吸音率、Aは使用吸音材料の表面積であり、(式1)の分母は吸音率の異なる材料ごとに吸音率と使用面積の積、即ち吸音力の累計を表している(非特許文献1参照)。
通常の室空間における残響時間は、低周波域においては長く、周波数が高くなるほど短くなる傾向を持っているが、これは、室の壁面、天井面及び床面並びに室内に配置される家具等が持つ吸音率が、低周波域においては小さく、高周波域においては大きくなる一般的傾向を持っているので、室内に存在する音波が前記壁面、天井面及び床面並びに家具等の表面で反射を繰り返すうちに吸収されて減衰する程度が、低周波域の音波ほど小さく、高周波域の音波ほど大きいことに起因しているからであると考えられる。
例えば、従来から吸音材として多用されているグラスウールとして、厚さ40mm、流れ抵抗10000Pa・s/mの物性値を持つ場合の音場入射吸音率(非特許文献1、16頁、51頁、81頁、206頁)は、図1に示す如く、125Hzにおいて最低であり、周波数が高くなるにつれて少しずつ増加し、1600Hzにおいて最大となり、それ以上は略同じ値を有する特性を有するので、低周波域になるほど残響音低減能力が小さくなることがわかる。
一方、微細孔明き板は、低周波域において高い吸音率を有するという特長を持っているため、本願の発明者は、このような微細孔明き板を室内に所要の面積だけ配置すれば、従来は残響音低減が困難であった低周波域に対しても、残響時間の周波数特性を大幅に改善できることに着眼したものであり(先願2参照)、以下において、そのような作用効果について数値例に基づいて説明する。
たとえば、孔径0.6mm、孔ピッチ10.0mmの円形微細孔を、板厚0.6mmの鉄板に孔明けした微細孔明き板(表1参照。以下において数値例#1という。)を、音響的に剛な壁面に対して距離400mmを隔てて配設した場合の音場入射吸音率(非特許文献1、77頁)の周波数特性計算値、及びこの微細孔明き板200平方メートルの吸音力は表2に示すとおりであり、この音場入射吸音率の周波数特性計算値をグラフ化したものが図2であり、200Hzから250Hz付近で吸音率が最も高い値を示し、周波数が高くなるにつれて、吸音率が次第に低くなる傾向を持つことがわかる。
孔径0.6mm、孔ピッチ7.0mmの円形微細孔を、板厚0.6mmの鉄板に孔明けした微細孔明き板(表3参照。以下において数値例#2という。)の2層を互いに距離80mmを隔てて配設した場合の音場入射吸音率の周波数特性計算値、及び、この微細孔明き板350平方メートルの吸音力は表4に示すとおりであり、この音場入射吸音率の周波数特性計算値をグラフ化したものが図3であり、125Hzから315Hz付近は吸音率が0.4と略一定値を有し、それより周波数が高くなるにつれて吸音率も高くなり、630Hzで吸音率が最も高い値を示し、更に周波数が高くなるにつれて、吸音率が次第に低くなるが、2000Hzにおいても吸音率は0.167を維持している。
また、一例として、表5は容積6000立方メートルを持つ室の残響時間及び室固有の吸音力(単位Sabine)を示すものである。
表2及び表4の微細孔明き板の吸音力を表5に示す室固有の吸音力に合算して得られた全吸音力を用いて、(式1)から算出した残響時間(表6)を、表5の残響時間と共にグラフ化したものが図4であり、吸音材料として微細孔明き板パネルを550平方メートル使用しただけで、周波数帯域の殆ど全域において残響時間が約0.7秒以下となり、会話等が聞き取り易い音響空間を形成することが可能となることが認められ、微細孔明き板パネルが低周波域でも優れた残響音低減性能を持っていることがわかる。
また、共鳴原理を利用した吸音装置を低周波域において共鳴機能、即ち吸音機能を発揮させるためには、共鳴要素部分即ち空気層の寸法が極めて大きくなるので、寸法上の制約を受けて使用を制限される場合が多いが、本願発明では、後述するように、共鳴要素部分を、収納家具の内部空間、収納家具の上側空間、パーティションの厚さ部分(パネル板間の空間)、垂れ壁の厚さ部分(パネル板間の空間)等を利用するので、寸法上の制約を受けることなく未使用空間を有効に活用して、吸音及び残響音低減に極めて有効に機能する特徴を持っている。
図5は、一般的なオフィス空間の例を示す概略断面図であり、該オフイス空間に配設する本発明の実施の形態に係る残響音低減装置も示している。すなわち、オフィス空間Sは、天井面CL、床面FL、壁面W等により周囲が覆われており、執務空間WS及び応接空間RS等に分けられる。そして、オフィス空間Sに要求される音環境に応じて、収納家具1による残響音低減装置、収納家具1と天井面CLとの間の空間に設けられたパネル体2による残響音低減装置、パーティション3による残響音低減装置、垂れ壁4による残響音低減装置が配設される。
実施の形態1.
図5において、収納家具1は、オフィス空間S内に、壁面W又は通路等に沿って配置される、造り付けられたもの又は移設可能なものである。図6は本発明の実施の形態1に係る収納家具1による残響音低減装置の例を示す斜視図、図7は同じく縦断側面図、図8は同じく拡大縦断側面図である。なお、収納家具1の扉側を前、背板側を後とし、前方から後方を見た左右を左右とする。
図5において、収納家具1は、オフィス空間S内に、壁面W又は通路等に沿って配置される、造り付けられたもの又は移設可能なものである。図6は本発明の実施の形態1に係る収納家具1による残響音低減装置の例を示す斜視図、図7は同じく縦断側面図、図8は同じく拡大縦断側面図である。なお、収納家具1の扉側を前、背板側を後とし、前方から後方を見た左右を左右とする。
収納家具1は、天板11、底板12、左右の側板13,14及び背板15からなる本体の前面開口を、側板13,14の前部に設けられた図示しない蝶番により支持された左右の扉16,16により把手17,17を用いて開閉可能とされ、図示しないラッチ機構等により図6のように前面開口が閉ざされた状態が維持される。
収納家具1の内部は、棚板18,18により上下に仕切られ、収納物19,…が上下に収納されるが、未使用の空間20,…が残存する。また、左右の扉16,16の前面板には、板厚方向に貫通する多数の微細孔16a,…が穿設される。ここで、微細孔16aの直径及び微細孔列16a,…のピッチ等は、要求性能に応じて適宜設定されるが、該直径は1mm以下、該ピッチは0.8mm以上10mm以下がより好ましい。
以上のような収納家具1により、前記空間20,…を扉16,16の前面板に穿設された多数の微細孔16a,…が持っている音響インピーダンスに対応する空気層として、図示しない収納家具1外部の音源に対する振動系を形成し、該振動系の共振周波数の近傍では高い吸音率を得ることができると共に低周波域においても有効に機能する吸音装置を構成することができるため(表3及び図3参照)、オフィス空間Sの残響時間を大幅に低減することができるという顕著な効果を奏する。
なお、板厚方向に貫通する多数の微細孔16a,…が穿設される前面板を有する収納家具1は、両開きの扉16,16を有するものではなく片開きの扉を有するものであってもよい。また、収納家具に設けられた引き戸又は引出しの前面板に、板厚方向に貫通する多数の微細孔を穿設してもよい。
実施の形態2.
図5において、パネル体2は、オフィス空間S内に、壁面Wに沿って配置された収納家具1と天井面CLとの間の空間に設けられる。図9は本発明の実施の形態2に係るパネル体2による残響音低減装置の例を示す斜視図、図10は同じく拡大縦断側面図である。
図5において、パネル体2は、オフィス空間S内に、壁面Wに沿って配置された収納家具1と天井面CLとの間の空間に設けられる。図9は本発明の実施の形態2に係るパネル体2による残響音低減装置の例を示す斜視図、図10は同じく拡大縦断側面図である。
パネル体2は、左右の側板21,22と前面板23からなり、取付金具24により例えば天井面CLに取付けられる。そして、パネル体2は、壁面W方向に開放する平面視略コ字状の凹部を有するため、パネル体2、収納家具1の天板11、天井面CL及び壁面Wにより仕切られた空間25が形成される。
また、前面板23には、板厚方向に貫通する多数の微細孔23a,…が穿設される。ここで、微細孔23aの直径及び微細孔列23a,…のピッチ等は、要求性能に応じて適宜設定されるが、該直径は1mm以下、該ピッチは0.8mm以上10mm以下がより好ましい。
以上のようなパネル体2により、前記空間25を前面板23に穿設された多数の微細孔23a,…が持っている音響インピーダンスに対応する空気層として、図示しないパネル体2外部の音源に対する振動系を形成し、該振動系の共振周波数の近傍では高い吸音率を得ることができると共に低周波域においても有効に機能する吸音装置を構成することができるため(表3及び図3参照)、オフィス空間Sの残響時間を大幅に低減することができるという顕著な効果を奏する。
なお、パネル体2は、壁面方向に開放する平面視略コ字状の凹部を有する形状に限定されるものではなく、下面、上面又は後面が開口とされた箱状のパネル体として、収納家具1の天板11、天井面CL又は壁面Wとにより仕切られた空間を形成して、該箱状のパネル体の前面板に板厚方向に貫通する多数の微細孔を穿設してもよい。また、外形が直方体であり単体で仕切られた空間を形成する箱状のパネル体を収納家具1と天井面CLとの間に配設し、該箱状のパネル体の前面板に板厚方向に貫通する多数の微細孔を穿設してもよい。
さらに、単又は複数の収納家具1が、その背板15を後壁面Wに沿わせて、左右壁面W,W間又は柱間にわたって配置され、前記収納家具1の左右側面が左右壁面W,W又は柱に接しており、前記収納家具1の上側に、左右が左右壁面W,W又は柱、上が天井面CL、下が前記収納家具1の天板11である空間が形成されている場合は、該空間の前側をパネル板で塞いで該パネル板に板厚方向に貫通する多数の微細孔を穿設してもよい。
実施の形態3.
図5において、パーティション3は、オフィス空間S内の床面FL上に、執務空間WSと応接空間RSとの間仕切、執務空間RS内の間仕切、又は、通路と執務空間WS若しくは応接空間RSとの間仕切等として配置される。図11は本発明の実施の形態3に係るパーティションによる残響音低減装置の例を示す正面図、図12は同じく拡大縦断側面図である。なお、パーティション3は、床面FL上に載置されて移設可能なものであってもよいし、床面FLに固定されるものであってもよい。
図5において、パーティション3は、オフィス空間S内の床面FL上に、執務空間WSと応接空間RSとの間仕切、執務空間RS内の間仕切、又は、通路と執務空間WS若しくは応接空間RSとの間仕切等として配置される。図11は本発明の実施の形態3に係るパーティションによる残響音低減装置の例を示す正面図、図12は同じく拡大縦断側面図である。なお、パーティション3は、床面FL上に載置されて移設可能なものであってもよいし、床面FLに固定されるものであってもよい。
パーティション3は、上枠31、下枠32及び支柱である側枠33,34からなる枠体により、所定距離を隔てて相対するパネル板35,35を保持してなる。そして、パネル板35,35間には、上枠31、下枠32及び側枠33,34並びにパネル板35,35により仕切られた空間26が形成される。
また、パネル板35,35には、板厚方向に貫通する多数の微細孔35a,…が穿設される。ここで、微細孔35aの直径及び微細孔列35a,…のピッチ等は、要求性能に応じて適宜設定されるが、該直径は1mm以下、該ピッチは0.8mm以上10mm以下がより好ましい。なお、パネル板35,…は2層以上、すなわち複層であればよい。また、2層のパネル板35,35の一方のみに板厚方向に貫通する多数の微細孔35a,…を穿設してもよい。
以上のようなパーティション3により、前記空間36をパネル板35に穿設された多数の微細孔35a,…が持っている音響インピーダンスに対応する空気層として、図示しないパーティション3外部の音源に対する振動系を形成し、該振動系の共振周波数の近傍では高い吸音率を得ることができると共に低周波域においても有効に機能する吸音装置を構成することができるため(表3及び図3参照)、オフィス空間Sの残響時間を大幅に低減することができるという顕著な効果を奏する。また、パーティション3のパネル板35,35の表面を通気性のある布や、薄いプラスチックフィルム等で覆うことにより、外観の意匠性を高めることができる。
実施の形態4.
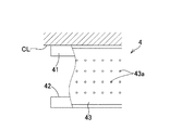
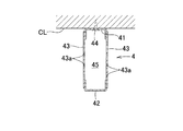
図5において、垂れ壁4,…は、天井面CLから垂れ下がった形状の壁である。図13は、本発明の実施の形態4に係る垂れ壁による残響音低減装置の例を示す正面図、図14は同じく縦断側面図である。
図5において、垂れ壁4,…は、天井面CLから垂れ下がった形状の壁である。図13は、本発明の実施の形態4に係る垂れ壁による残響音低減装置の例を示す正面図、図14は同じく縦断側面図である。
垂れ壁4は、上下の横架部材41、42によりパネル板43,43を保持してなり、取付ねじ44,…により天井面CLに固定され、左右壁面W,W間又は柱間にわたって配置される。そして、パネル板43,43間には、上下の横架部材41,42及び左右の壁面W,W、左右の柱又は左右の閉止板により仕切られた空間45が形成される。
また、パネル板43,43には、板厚方向に貫通する多数の微細孔43a,…が穿設される。ここで、微細孔43aの直径及び微細孔列43a,…のピッチ等は、要求性能に応じて適宜設定されるが、該直径は1mm以下、該ピッチは0.8mm以上10mm以下がより好ましい。なお、パネル板43,…は2層以上、すなわち複層であればよい。また、2層のパネル板43,43の一方のみに板厚方向に貫通する多数の微細孔43a,…を穿設してもよい。
以上のような垂れ壁4により、前記空間45をパネル板43に穿設された多数の微細孔43a,…が持っている音響インピーダンスに対応する空気層として、図示しない垂れ壁4外部の音源に対する振動系を形成し、該振動系の共振周波数の近傍では高い吸音率を得ることができると共に低周波域においても有効に機能する吸音装置を構成することができるため(表3及び図3参照)、オフィス空間Sの残響時間を大幅に低減することができるという顕著な効果を奏する。
なお、図15に示すように、垂れ壁4,…を天井面CLに固定せずに、天吊りフック46及び吊下げ金具47等の着脱可能な取付具により着脱可能とすれば、オフィス空間Sに要求される音環境に応じて、既設のオフィス内に垂れ壁4,…による残響音低減装置を適宜位置に容易に設けることができる。
また、パネル板43,…をアクリル又はポリカーボネート等の透明樹脂製とすれば、前記残響音低減装置を構成しながら、見通しを確保して圧迫感をなくすことができる。さらに、パネル板43,…の表面に薄いフィルムを貼付することにより、外観の意匠性を高めることもできる。さらにまた、前記フィルムを案内標識として利用することもできる。また、パネル板43,43間の前記空間45に照明器具を配設してもよい。
以上の説明における収納家具1の前面板、パネル体2の前面板、パーティション3のパネル板、垂れ壁4のパネル板等に形成する微細孔の形状は、微細孔の形成しやすさを考慮すると円形が望ましいといえるが、板厚方向に直交する切断面において非円形としてもよい。
このように微細孔の形状を非円形とすることにより、微細孔の形状が円形の場合よりも、空気の粘性に起因する摩擦損失が大きくなる。また、微細孔のアスペクト比を調整することによって、微細孔明き板の音響インピーダンスを構成する音響レジスタンスと音響リアクタンスの比率を制御することにより、従来の同一断面積を有する円形微細孔明き板よりも大きな音響インピーダンスを実現することができ、これにより微細孔と空気層で構成される振動系の共振周波数即ち吸音率ピーク周波数を低周波側に移行させ、さらに吸音帯域幅を拡大することができる(先願1参照)。したがって、吸音性能及び残響音低減効果が向上する。
S オフィス空間
CL 天井
FL 床面
W 壁面
1 収納家具
2 パネル体
3 パーティション
4 垂れ壁
11 天板
12 底板
13,14 側板
15 背板
16 扉
16a 微細孔
20 空間
21,22 側板
23 前面板
23a 微細孔
24 取付金具
25 空間
31 上枠
32 下枠
33,34 側枠
35 パネル板
35a 微細孔
36 空間
41,42 横架部材
43 パネル板
43a 微細孔
44 取付ねじ
45 空間
46 天吊りフック
47 吊下げ金具
CL 天井
FL 床面
W 壁面
1 収納家具
2 パネル体
3 パーティション
4 垂れ壁
11 天板
12 底板
13,14 側板
15 背板
16 扉
16a 微細孔
20 空間
21,22 側板
23 前面板
23a 微細孔
24 取付金具
25 空間
31 上枠
32 下枠
33,34 側枠
35 パネル板
35a 微細孔
36 空間
41,42 横架部材
43 パネル板
43a 微細孔
44 取付ねじ
45 空間
46 天吊りフック
47 吊下げ金具
Claims (5)
- オフィス空間内に配置された、開き戸、引き戸又は引出しを備えた収納家具の前面板に、板厚方向に貫通する多数の微細孔を穿設してなる残響音低減装置。
- オフィス空間内に配置された収納家具と天井面との間に設けられ、収納家具の天板、天井面及び壁面とにより仕切られた空間を形成する、壁面方向に開放する平面視略コ字状の凹部を有するパネル体の前面板、収納家具の天板、天井面若しくは壁面とにより仕切られた空間を形成する、下面、上面若しくは後面が開口とされた箱状のパネル体の前面板、又は、外形が直方体であり単体で仕切られた空間を形成する箱状のパネル体の前面板に、板厚方向に貫通する多数の微細孔を穿設してなる残響音低減装置。
- オフィスの左右壁面間又は柱間にわたり後壁面に沿って配置された収納家具の上側空間の前側を塞ぐパネル板を設け、該パネル板に、板厚方向に貫通する多数の微細孔を穿設してなる残響音低減装置。
- オフィスの床面上に載置又は固定されたパーティションの枠体により保持され、該枠体とにより仕切られた空間を形成する、所定距離を隔てて相対する複層のパネル板の最外側の2枚のパネル板の少なくとも一方に、板厚方向に貫通する多数の微細孔を穿設してなる残響音低減装置。
- オフィスの天井面に固定された垂れ壁又は前記天井面に着脱可能な取付具により取付けられた垂れ壁の上下の横架部材により保持され、該横架部材と垂れ壁左右端の壁面、柱又は閉止板とにより仕切られた空間を形成する、所定距離を隔てて相対する複層のパネル板の最外側の2枚のパネル板の少なくとも一方に、板厚方向に貫通する多数の微細孔を穿設してなる残響音低減装置。
Priority Applications (1)
| Application Number | Priority Date | Filing Date | Title |
|---|---|---|---|
| JP2006002059A JP2007183447A (ja) | 2006-01-10 | 2006-01-10 | 残響音低減装置 |
Applications Claiming Priority (1)
| Application Number | Priority Date | Filing Date | Title |
|---|---|---|---|
| JP2006002059A JP2007183447A (ja) | 2006-01-10 | 2006-01-10 | 残響音低減装置 |
Publications (1)
| Publication Number | Publication Date |
|---|---|
| JP2007183447A true JP2007183447A (ja) | 2007-07-19 |
Family
ID=38339604
Family Applications (1)
| Application Number | Title | Priority Date | Filing Date |
|---|---|---|---|
| JP2006002059A Pending JP2007183447A (ja) | 2006-01-10 | 2006-01-10 | 残響音低減装置 |
Country Status (1)
| Country | Link |
|---|---|
| JP (1) | JP2007183447A (ja) |
Cited By (3)
| Publication number | Priority date | Publication date | Assignee | Title |
|---|---|---|---|---|
| JP2014163182A (ja) * | 2013-02-27 | 2014-09-08 | Taisei Corp | 多孔質型吸音体 |
| JP2014164237A (ja) * | 2013-02-27 | 2014-09-08 | Taisei Corp | 共鳴型吸音体 |
| WO2019044589A1 (ja) | 2017-08-28 | 2019-03-07 | 富士フイルム株式会社 | 防音構造、及び防音構造体 |
-
2006
- 2006-01-10 JP JP2006002059A patent/JP2007183447A/ja active Pending
Cited By (3)
| Publication number | Priority date | Publication date | Assignee | Title |
|---|---|---|---|---|
| JP2014163182A (ja) * | 2013-02-27 | 2014-09-08 | Taisei Corp | 多孔質型吸音体 |
| JP2014164237A (ja) * | 2013-02-27 | 2014-09-08 | Taisei Corp | 共鳴型吸音体 |
| WO2019044589A1 (ja) | 2017-08-28 | 2019-03-07 | 富士フイルム株式会社 | 防音構造、及び防音構造体 |
Similar Documents
| Publication | Publication Date | Title |
|---|---|---|
| RU2495500C2 (ru) | Звукопоглощающая конструкция | |
| US6244378B1 (en) | Dual sonic character acoustic panel and systems for use thereof | |
| CN109072761B (zh) | 增强型可充胀声音衰减系统 | |
| EP1861554B1 (en) | Sound absorbent | |
| EP2226791A1 (en) | Accoustic structure | |
| EP1633939B1 (en) | Flexible covering system and corresponding modules for walls, ceilings and other boundaries | |
| JP2008051488A (ja) | 防音換気口 | |
| JP2007183447A (ja) | 残響音低減装置 | |
| JP5602039B2 (ja) | サウンドマスキングシステム | |
| EP2990557B1 (en) | Panel for walls, ceilings, false ceilings, floor surfaces, furnishing elements and the like | |
| JP2010053637A (ja) | 音響調整装置 | |
| JP2006138078A (ja) | 間仕切壁及び音楽室 | |
| JP2014091976A (ja) | 吸音パネル | |
| CA2973272C (en) | Drywall construction for resonance sound absorption | |
| JP2006342565A (ja) | 防音内装材 | |
| JP2005273273A (ja) | 音響パネル及び吸音・遮音装置 | |
| US12144417B2 (en) | Furniture with acoustical treatments | |
| JP2016017379A (ja) | ボックス | |
| JP2007162253A (ja) | 残響音低減装置 | |
| Fujita et al. | An experimental study of a cylindrical microperforated panel sond absorber with core | |
| Putra et al. | Study on the use of micro-perforated panel to improve acoustic performance in mosque | |
| Uemura et al. | Sound environment design using flexible wood-based sound absorbers | |
| JP2005257763A (ja) | 吸音収納ボックス | |
| UA151541U (uk) | Спосіб виробництва багатоцільової акустичної кабіни-трансформера | |
| JP2016224333A (ja) | 吸音構造および防音室 |
