JP2007154792A - 内燃機関のエネルギ回収装置 - Google Patents
内燃機関のエネルギ回収装置 Download PDFInfo
- Publication number
- JP2007154792A JP2007154792A JP2005352080A JP2005352080A JP2007154792A JP 2007154792 A JP2007154792 A JP 2007154792A JP 2005352080 A JP2005352080 A JP 2005352080A JP 2005352080 A JP2005352080 A JP 2005352080A JP 2007154792 A JP2007154792 A JP 2007154792A
- Authority
- JP
- Japan
- Prior art keywords
- heat exchanger
- exhaust
- pipe
- branch pipe
- heat
- Prior art date
- Legal status (The legal status is an assumption and is not a legal conclusion. Google has not performed a legal analysis and makes no representation as to the accuracy of the status listed.)
- Pending
Links
Images
Classifications
-
- Y—GENERAL TAGGING OF NEW TECHNOLOGICAL DEVELOPMENTS; GENERAL TAGGING OF CROSS-SECTIONAL TECHNOLOGIES SPANNING OVER SEVERAL SECTIONS OF THE IPC; TECHNICAL SUBJECTS COVERED BY FORMER USPC CROSS-REFERENCE ART COLLECTIONS [XRACs] AND DIGESTS
- Y02—TECHNOLOGIES OR APPLICATIONS FOR MITIGATION OR ADAPTATION AGAINST CLIMATE CHANGE
- Y02T—CLIMATE CHANGE MITIGATION TECHNOLOGIES RELATED TO TRANSPORTATION
- Y02T10/00—Road transport of goods or passengers
- Y02T10/10—Internal combustion engine [ICE] based vehicles
- Y02T10/12—Improving ICE efficiencies
Landscapes
- Exhaust Silencers (AREA)
Abstract
【課題】内燃機関の吸排気エネルギを効率的に回収する。
【解決手段】内燃機関1の排気管3の所定位置に開口する一端が閉塞された枝管11を設け、枝管内に熱音響スタック15を配置する。熱音響スタックは、蓄熱器151の両端を第1熱交換器151と第2熱交換器155とで挟んだ構成とされる。排気管内の排気の脈動により枝管内に共鳴による定常波が生成されると、蓄熱器151には熱音響現象により温度勾配が生じ、蓄熱器の一端は高温に、他端は低温になる。熱交換器153、155によりこの高温と低温とをそれぞれ取出し、他の機器の加熱と冷却とに使用する。枝管を排気管に直接開口させたことにより、排気の脈動を効率的に枝管内に伝達させることができ、エネルギ回収効率が向上する。
【選択図】図1
【解決手段】内燃機関1の排気管3の所定位置に開口する一端が閉塞された枝管11を設け、枝管内に熱音響スタック15を配置する。熱音響スタックは、蓄熱器151の両端を第1熱交換器151と第2熱交換器155とで挟んだ構成とされる。排気管内の排気の脈動により枝管内に共鳴による定常波が生成されると、蓄熱器151には熱音響現象により温度勾配が生じ、蓄熱器の一端は高温に、他端は低温になる。熱交換器153、155によりこの高温と低温とをそれぞれ取出し、他の機器の加熱と冷却とに使用する。枝管を排気管に直接開口させたことにより、排気の脈動を効率的に枝管内に伝達させることができ、エネルギ回収効率が向上する。
【選択図】図1
Description
本発明は内燃機関のエネルギ回収装置に関し、詳細には内燃機関の排気もしくは吸気の脈動エネルギを熱音響スタックを用いて熱エネルギとして回収するエネルギ回収装置に関する。
従来、熱音響現象を利用して熱エネルギと音響エネルギとの間の変換を行う技術が知られている。
例えば、この種のエネルギ変換の例としては、特許文献2に記載された音響冷凍機等がある。
例えば、この種のエネルギ変換の例としては、特許文献2に記載された音響冷凍機等がある。
特許文献2の音響冷凍機は、2つの直線状部分を含むループ状配管に作動気体を封入するとともに、上記直線部のそれぞれに熱音響スタックを配置した構成とされている。
また、それぞれの熱音響スタックは金属メッシュなどの蓄熱材の入口側と出口側とに熱交換器を配置した構成とされ、一方の熱音響スタックが原動機として、他方の熱音響スタックが冷凍機として、それぞれ機能する。
また、それぞれの熱音響スタックは金属メッシュなどの蓄熱材の入口側と出口側とに熱交換器を配置した構成とされ、一方の熱音響スタックが原動機として、他方の熱音響スタックが冷凍機として、それぞれ機能する。
すなわち、原動機側のスタックでは一方の熱交換器に高温の媒体を供給し、他方の熱交換器に低温の媒体を供給することにより、蓄熱器に温度勾配を生じさせる。このような温度勾配が生じると、管路長に応じた共鳴周波数の気柱振動が励起される熱音響現象が生じることが知られている。
特許文献2の音響冷凍機は、原動機側の熱音響スタックの熱交換器に高温媒体と低温媒体とを供給して蓄熱器に温度勾配を生じさせることにより、ループ配管内に気柱振動を励起し、この気柱振動による気体の脈動エネルギーをもう一方の熱音響スタック(冷凍機側スタック)により、熱エネルギーへの転換を行い、一方の側の熱交換器から高温の媒体を、他方の熱交換器から低温の媒体を外部に取出すようにしている。
上記のように、特許文献2の音響冷凍機では、熱音響スタック(原動機側スタック)に高温と低温の熱媒を供給することにより発生させた気体の圧力脈動のエネルギを別の熱音響スタック(冷凍機側スタック)で回収している。
これに対して、特許文献1は、原動機側スタックにより気体の圧力脈動を発生させる代りに、外部から機械的に封入気体の圧力脈動を発生させるようにしたものを開示している。
すなわち、特許文献1の装置は、内燃機関の排気管にダイアフラムを介して熱音響スタックを内蔵した枝管を接続し、排気管内の排気と枝管に封入した気体とを隔離している。
排気管内の排気は、機関の各気筒の行程サイクルに応じて圧力が脈動している。特許文献1の装置は、枝管をダイアフラムを介して排気管に接続することにより、枝管内に封入した気体と排気が混合することなく排気の脈動のみが封入気体に伝達されるようにしたものである。
これにより、排気脈動の周波数が枝管内には枝管の管長に応じて定る共鳴周波数に一致すると枝管内の封入気体には定常波が発生する。これにより、熱音響スタックには温度勾配が生じ、熱交換器の一方は高温源として、他方は低温源として、それぞれ機能するようになる。
特許文献2の装置は、上記低温源から得た冷熱を吸入空気の冷却や車室内の空調に利用している。
特許文献2の装置は、上記低温源から得た冷熱を吸入空気の冷却や車室内の空調に利用している。
特許文献1の装置は、内燃機関の排気もしくは吸気の脈動エネルギを回収して有効利用するものであるが、実際には非常にエネルギー回収の効率が低く実用に供することはできない。
これは、特許文献1の装置では枝管(共鳴管)内には比較的高圧の窒素、ヘリウムなどの作動気体を封入し、この作動気体にダイヤフラムを介して排気の圧力変動を伝達するうようにしているためである。
すなわち、ダイヤフラムは片側では高圧の封入作動流体に接し、もう一方の側では比較的低圧の排気流と接しているため、排気圧力の脈動程度の力ではダイヤフラムはほとんど変位しない。このため、実際には排気の脈動はほとんど作動流体に伝達されることはなく、共鳴管内の作動流体に定常波が発生することは困難である。このため、実際の運転では特許文献1の装置により排気(または吸気)の脈動エネルギを回収することは不可能に近い。
本発明は、上記問題に鑑み、内燃機関の排気もしくは吸気の脈動エネルギを効率的に回収することが可能なエネルギ回収装置を提供することを目的としている。
請求項1に記載の発明によれば、内燃機関の排気もしくは吸気の脈動エネルギを回収するエネルギ回収装置であって、一端が閉鎖端とされ、他端が内燃機関の吸気管もしくは排気管の所定位置に開口し前記吸気管もしくは排気管内の気体が流通する接続開口部とされた枝管と、前記枝管内に配置された蓄熱器と、該蓄熱器の前記閉塞端側と前記接続開口部側とにそれぞれ設けられた熱交換器とからなるスタックとを備え、前記スタックの一方の熱交換器は前記枝管内の気体と高温での熱交換を行う高温熱交換器として機能し、他方の熱交換器は前記枝管内の気体と低温での熱交換を行う低温熱交換器として機能し、前記高温熱交換器と低温熱交換器とから熱エネルギーの形で前記排気もしくは吸気の脈動エネルギを回収する内燃機関のエネルギ回収装置が提供される。
請求項2に記載の発明によれば、前記高温熱交換器と低温熱交換器とのうち、一方は吸気もしくは排気と冷却水との間の熱交換を行い、他方は所定の機器と熱的に接続され吸気もしくは排気と前記機器との間の熱交換を行う、請求項1に記載の内燃機関のエネルギ回収装置が提供される。
すなわち、請求項1と2の発明では、枝管は排気管もしくは吸気管に直接開口しており、枝管内は排気管もしくは吸気管と連通している。このため、排気もしくは吸気の脈動は直接枝管内に伝達され、枝管内に共鳴による定常波が生成されやすくなる。
このため、熱音響スタックの両側の熱交換器では効率良く高温と低温が得られるようになる。
このため、熱音響スタックの両側の熱交換器では効率良く高温と低温が得られるようになる。
請求項3に記載の発明によれば、前記枝管は機関の排気管に設けられ、前記機器は排気管に配置されるとともに前記低温熱交換器に接続された排気冷却器である、請求項2に記載の内燃機関のエネルギ回収装置が提供される。
すなわち、請求項3の発明では枝管は排気管に設けられ、排気の脈動により高温源と低温源とを生成する。そして、低温源から得られる冷熱は吸気や排気の冷却に用いられる。
排気を冷却することにより、排気の体積流量が低下するため排気管の背圧が低減され機関効率が向上するとともに、排気騒音が低減される。
なお、排気温度が低下すると排気の脈動そのものも低下するため、この場合、排気を冷却する排気冷却器は排気管の枝管接続部より下流側に設けることが好ましい。
排気を冷却することにより、排気の体積流量が低下するため排気管の背圧が低減され機関効率が向上するとともに、排気騒音が低減される。
なお、排気温度が低下すると排気の脈動そのものも低下するため、この場合、排気を冷却する排気冷却器は排気管の枝管接続部より下流側に設けることが好ましい。
請求項4に記載の発明によれば、前記枝管は機関の吸気管に設けられ、前記機器は吸気管に配置されるとともに前記低温熱交換器に接続された吸気冷却器である、請求項2に記載の内燃機関のエネルギ回収装置が提供される。
すなわち、請求項4の発明では枝管は吸気管に設けられ、吸気の脈動から高温源と低温源とを生成し、得られた低温源の冷熱を用いて吸気が冷却される。
このように吸気を冷却することにより、機関の吸気充填効率が増大し、機関性能が向上するようになる。
このように吸気を冷却することにより、機関の吸気充填効率が増大し、機関性能が向上するようになる。
請求項5に記載の発明によれば、前記スタックの両端の熱交換器は、一方が高温熱交換器として機能し、他方が低温熱交換器として機能するモードと、前記一方が低温熱交換器として機能し他方が高温熱交換器として機能するモードとに機関回転数に応じて切替えられる、請求項1から4のいずれか1項に記載の内燃機関のエネルギ回収装置が提供される。
すなわち、請求項5の発明では熱音響スタックの両側に配置された熱交換器は、機関回転数に応じて高温熱交換器と低温熱交換器との機能が切替えられ、機関回転数に応じて蓄熱器に対する高温熱交換器と低温熱交換器の配置が逆になる。
排気流もしくは吸気流の圧力の脈動は機関回転数に比例した周波数を有する。このため、機関回転数が異なると枝管内の共鳴は異なる周波数で生じることになり、枝管内の定常波のモード(共鳴圧力変化モード)が異なってくる。
後述するように、枝管内に配置された蓄熱器には枝管内の定常波により温度勾配が生じるが、この温度勾配は蓄熱器の気柱振動における圧力変化モードの腹側が高温側、節側が低温側になる。
このため、機関回転数が変化し枝管内の気柱振動における圧力変化モードが変化すると圧力変化の腹と節との位置も変化するため、蓄熱器に対する高温熱交換器と低温熱交換器の位置が逆になる場合がある。
本発明では、機関の回転数に応じて蓄熱器に対する高温熱交換器と低温熱交換器の配置を切替えるようにしたことにより、機関回転数にかかわらず脈動エネルギの回収を行うことが可能となる。
請求項6に記載の発明によれば、前記枝管入口に配置され、前記排気管または吸気管と枝管との連通を遮断する遮断弁を備え、前記熱エネルギーの回収が必要なときにのみ前記遮断弁を開弁する、請求項1に記載の内燃機関のエネルギ回収装置が提供される。
すなわち、請求項6の発明では枝管と排気管または吸気管との連通を遮断する遮断弁が設けられており、脈動エネルギを熱エネルギとして回収する必要があるときにだけ遮断弁を開弁し、熱音響現象を生じさせる。
例えば、熱音響スタックの低温側熱交換器からの冷熱を空調や、吸気の冷却などに使用する場合には、気温や機関の運転状態などによっては冷却が必要でない場合がある。本発明では、このような場合には遮断弁を閉じて脈動エネルギの回収を行わないようにすることにより、余分な冷熱の発生を停止することが可能となる。
例えば、熱音響スタックの低温側熱交換器からの冷熱を空調や、吸気の冷却などに使用する場合には、気温や機関の運転状態などによっては冷却が必要でない場合がある。本発明では、このような場合には遮断弁を閉じて脈動エネルギの回収を行わないようにすることにより、余分な冷熱の発生を停止することが可能となる。
各請求項に記載の発明によれば、機関の排気もしくは吸気の有する圧力脈動のエネルギを効率的に熱エネルギとして(高温源と低温源とに分離して)回収することが可能となる共通の効果を奏する。
以下、添付図面を用いて本発明の実施形態について説明する。
図1は、本発明を自動車用内燃機関に適用した場合の実施形態の概略構成を説明する図である。
図1において、1は内燃機関、3は機関1の排気管、5は排気管3に配置された排気浄化触媒をを示す。
本実施形態では、排気浄化触媒5下流側の排気管3には、その全体を10で示すエネルギ回収装置が設置されている。
図1は、本発明を自動車用内燃機関に適用した場合の実施形態の概略構成を説明する図である。
図1において、1は内燃機関、3は機関1の排気管、5は排気管3に配置された排気浄化触媒をを示す。
本実施形態では、排気浄化触媒5下流側の排気管3には、その全体を10で示すエネルギ回収装置が設置されている。
エネルギ回収装置10は、排気管3から分岐する枝管11と、この枝管11内に配置された熱音響スタック15から構成されている。なお、本実施形態では枝管11と排気管3の接続部は単なる開口部とされ、排気管3内の排気が枝管11内に自由に出入りできるようにされており、また、枝管11の端部は閉鎖端とされている。
図2は、熱音響スタック15の構成を模式的に示す図である。
図2に示すように、本実施形態の熱音響スタック15は、枝管11内に嵌挿された蓄熱器151と、蓄熱器151の両側に蓄熱器に接するように配置された第1と第2の熱交換器153、155から構成されている。
図2に示すように、本実施形態の熱音響スタック15は、枝管11内に嵌挿された蓄熱器151と、蓄熱器151の両側に蓄熱器に接するように配置された第1と第2の熱交換器153、155から構成されている。
本実施形態の蓄熱器151は、例えばセラミック等の材料から焼結成形された、枝管11の軸線方向に多数の直線状の小径通路(細孔)を有する構成とされ、排気浄化触媒に一般に使用されるモノリス担体の構造に類似する。
しかし、蓄熱器151としては、上記に限らず金属メッシュやセラミック等の小球をケース内に充填したもの、多孔質材料等が使用可能である。
しかし、蓄熱器151としては、上記に限らず金属メッシュやセラミック等の小球をケース内に充填したもの、多孔質材料等が使用可能である。
後述するように、蓄熱器151は細孔内を流動する気体(排気)と細孔壁面との間で熱の授受を行い温度勾配を生成するものである。このため、気体と蓄熱器151との間の伝熱面積を大きく設定する必要があり、流動気体の圧力損失が許容できる範囲内でできるだけ小径の細孔を多数設けることが好ましい。
後述するように、熱音響スタック15の作動時、蓄熱器151内には一端から他端に向けて温度が上昇、または低下する温度勾配が生じる。
第1、第2熱交換器151、153は蓄熱器の両端に接して設けられ、蓄熱器151の低温側端部の熱交換器(低温熱交換器)は蓄熱器に熱を与え、高温側端部の熱交換器(高温熱交換器)は蓄熱器から熱を奪う。すなわち、低温側熱交換器に供給される熱媒体(冷媒)は低温側熱交換器で冷却され通過後の冷媒は低温になる。同様に、高温熱交換器に供給される熱媒体は、高温側熱交換器で加熱され、熱交換器通過後の熱媒体は高温になる。
第1、第2熱交換器151、153は蓄熱器の両端に接して設けられ、蓄熱器151の低温側端部の熱交換器(低温熱交換器)は蓄熱器に熱を与え、高温側端部の熱交換器(高温熱交換器)は蓄熱器から熱を奪う。すなわち、低温側熱交換器に供給される熱媒体(冷媒)は低温側熱交換器で冷却され通過後の冷媒は低温になる。同様に、高温熱交換器に供給される熱媒体は、高温側熱交換器で加熱され、熱交換器通過後の熱媒体は高温になる。
後述するように、図1の実施形態では、蓄熱器151の排気管3側端部に配置された第1熱交換器153が高温側熱交換器となり、蓄熱器151の枝管閉塞端側に配置された第2熱交換器155が低温側熱交換器となる。本実施形態では、高温側熱交換器153には熱媒体として冷却水が供給されるとともに、低温側熱交換器155には適宜な冷媒が供給され、低温側熱交換器155通過後の低温冷媒は、冷却を必要とする機器(例えば、車室の空調や吸気または排気の冷却器)に供給される。
なお、本実施形態では、第1熱交換器が低温熱交換器として、第2熱交換器が高温熱交換器として、それぞれ機能するが、後述するように枝管11上の熱音響スタック15の位置によっては、逆に第1熱交換器を高温熱交換器、第2熱交換器を低温熱交換器として機能させ、或は機関回転数(枝管内の共鳴モード)により第1と第2の熱交換器の温度レベルが切り替るようにすることも可能である。
上述したように、熱音響スタック15は枝管11内に生じた気体の共鳴(気柱振動)圧力変動により蓄熱器151に枝管軸線方向の温度勾配を生じさせ、両端の熱交換器151、153から高温と低温の熱媒体として熱エネルギを回収するものである。
気体の脈動により蓄熱器15に温度勾配が生じる現象は、熱音響現象として知られており、温度勾配は以下のメカニズムにより生じると考えられている。
気体の脈動により蓄熱器15に温度勾配が生じる現象は、熱音響現象として知られており、温度勾配は以下のメカニズムにより生じると考えられている。
図3は、枝管11内に共鳴により生じる定常波による管内圧力変動の様子を模式的に示している。共鳴のモードは共鳴周波数に応じて変化するが、図3はその一例として枝管長が定常波の波長の3/4の場合((3/4)λモード)の枝管内の圧力変動モードを示している。
図3のカーブは各点の圧力変動の振幅を示しており、図3のA点では圧力変化の振幅が最大になり、B点では圧力変化が最小になる。以下の説明では圧力変動の振幅が最大になるA点を「圧力変化モードの腹」(或は単に「腹」)と呼び、圧力変動の振幅が最小になるB点を「圧力変化モードの節」(或は「節」)と呼ぶ。
図3の圧力変化モード内に示した円P及びR内の直線は、このモードにおける各点の管内気体粒子の運動と圧力とを模式的に示している。すなわち、図3の円内の気体粒子は、圧力が上昇中はそれぞれ腹Aに向って移動し、圧力の低下中はそれぞれ両側の節Bに向って移動する。円内のX1点は圧力が最低になったときの粒子位置、X2点は最高になったときの粒子位置を、それぞれ示している。
図4(A)、(B)は、上記の気体粒子の移動をより詳細に説明する図であり、図3の円Pの位置の気体粒子を例にとって示している。
図4(A)は蓄熱器151の各細孔(通路)の中の粒子の運動を示している。前述したように、円Pの位置では通路内の気体粒子は圧力変動に応じて点X1とX2との間を往復移動している。
図4(A)は蓄熱器151の各細孔(通路)の中の粒子の運動を示している。前述したように、円Pの位置では通路内の気体粒子は圧力変動に応じて点X1とX2との間を往復移動している。
図4(B)は、上記気体粒子移動に伴う温度変化を示す図である。例えば、圧力上昇時に図4(B)のX1点から温度T1で出発しX2に向って移動する粒子は、移動中に断熱圧縮されるため温度が上昇する。このため、仮に通路壁面との熱交換がなかった場合には、粒子温度はX2到達時にはT1′まで上昇する。しかし、実際には気体粒子は蓄熱器151内の通路の壁面と熱交換を行うため、気体粒子は管壁に熱量Qを与えX2到達時にはT1′より低いT2で壁面温度と平衡する。
すなわち、この粒子の移動によりX2点の壁面には粒子から熱量Qが与えられ、壁面温度はT2になる。
すなわち、この粒子の移動によりX2点の壁面には粒子から熱量Qが与えられ、壁面温度はT2になる。
次に、圧力低下時について考える。この場合には、気体粒子は壁面と同じ温度T2でX2点を出発し、壁面と熱交換しつつ膨張しながらX1に向うためX1点に到達時には温度はT1になる。すなわち、この場合には、粒子温度はX1点到達時の断熱膨張における到達温度T2′(T2′<T1)から壁面温度T1まで上昇することになり、粒子は壁面から熱量Qを与えられる。
気体粒子は、図3の定常波中で上記の往復動を繰返すが、上記の壁面との熱の授受について考えると粒子が1回往復する毎に熱量QがX1点からX2点に運ばれたことになる。
このような熱の授受は、管内の各部分で行われるため、上記によりX1点からX2点に移動した熱量QはX2点に隣接する点の気体粒子の運動により更に隣接した腹側の点に運ばれる。この熱の移動は蓄熱器151の全長にわたって生じることになり、蓄熱器151内では圧力変化モードの節側端から腹側端に向う熱の流れが生じる。この熱の流れにより、蓄熱器151には節側が低温、腹側が高温になる温度勾配が生じるようになる。上記から判るように、蓄熱器両端の温度差は各部分での圧力変動の振幅が大きい程、また、最大(最小)圧力の管路に沿った変化率(圧力勾配)が大きい程大きくなる。
このとき、蓄熱器の節側に低温熱交換器を接触させ、腹側に高温熱交換器を接触させると、低温熱交換器からは蓄熱器に熱が奪われ、高温熱交換器に与えられる。
すなわち、冷媒は低温熱交換器通過時に冷却され、通過後の冷媒は低温になり、高温熱交換器通過後の熱媒は加熱されて高温になるのである。
このため、低温熱交換器通過後の冷媒は機器の冷却用に使用することができ、高温熱交換器通過後の熱媒は機器の加熱用に使用することができる。
すなわち、冷媒は低温熱交換器通過時に冷却され、通過後の冷媒は低温になり、高温熱交換器通過後の熱媒は加熱されて高温になるのである。
このため、低温熱交換器通過後の冷媒は機器の冷却用に使用することができ、高温熱交換器通過後の熱媒は機器の加熱用に使用することができる。
上述のように、蓄熱器両端の温度差(高温熱交換器と低温熱交換器との温度差)は、圧力変動の振幅と圧力勾配とが大きい程大きくなる。このため、高温と低温との温度差を大きく設定して効率的なエネルギ回収を行うためには、熱音響スタック15を上記条件が満たされる場所に置く必要がある。
この点から見ると圧力変化モードにおける節(図3、B点)近傍は圧力変化の振幅が小さいため適当ではない。また、圧力変化モードにおける腹(図3、A点)近傍は圧力変化の振幅は大きいものの圧力勾配は小さくなる。このため、熱音響スタックの設置場所は、圧力変化モードにおける腹と節との近傍から両端が十分に離れた場所とすることが好ましい。
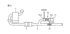
図5、図6は、図1のエネルギ回収装置により得られた低温源(冷熱)の利用例を説明する図である。
図5は、低温熱交換器(本実施形態では、図1の第2の熱交換器155が低温熱交換器になる場合を示す)をヒートパイプ53で排気管内に設けた熱交換器(排気冷却器)51に接続し、熱音響スタック15で発生した冷熱で排気を冷却する例を示している。
図5は、低温熱交換器(本実施形態では、図1の第2の熱交換器155が低温熱交換器になる場合を示す)をヒートパイプ53で排気管内に設けた熱交換器(排気冷却器)51に接続し、熱音響スタック15で発生した冷熱で排気を冷却する例を示している。
このように排気冷却器51を用いて排気温度を低下させることにより、排気管を流れる排気の体積流量が低下するため、機関の排気背圧が低下して機関1の効率が改善される効果を得ることができる。
また、排気を冷却することにより同時に排気の圧力脈動も低下する。このため、排気騒音をも低減することができる。なお、この場合、排気冷却器51は排気管3の枝管接続部より上流側に設置すると排気脈動の低下のため熱音響スタックで回収可能なエネルギが低下してしまうため、排気冷却器51は枝管より下流側に設置することが好ましい。
図6は、熱音響スタック15の低温熱交換器をペルチェ素子の積層体などからなる熱発電スタック61の低温源として使用し、排気管3内の排気を高温源として使用して発電を行う例を示す。図6の場合には、排気の脈動エネルギを最終的に電力の形で回収することが可能となる。
図7は、機関1の吸気マニホルド72に枝管11を設け、熱音響スタック15の低温熱交換器155をヒートパイプ73を介して吸気管2に設けた吸気冷却器75に接続した例を示す。
本実施形態では、吸気冷却器75により吸気を冷却することにより、機関1の吸気充填効率を増大させ、機関性能を向上させることが可能となる。
本実施形態では、吸気冷却器75により吸気を冷却することにより、機関1の吸気充填効率を増大させ、機関性能を向上させることが可能となる。
次に、本発明の別の実施形態について図8を参照して説明する。
図8は、枝管11内の共鳴圧力変化モードを示す図4と同様の図である。
前述したように、共鳴は脈動による定常波の波長λが枝管11の管長Lに対して、λ=4/(2n+1)となったとき(すなわち、管長Lがλ/4の奇数倍になったとき)に生じる。
図8は、枝管11内の共鳴圧力変化モードを示す図4と同様の図である。
前述したように、共鳴は脈動による定常波の波長λが枝管11の管長Lに対して、λ=4/(2n+1)となったとき(すなわち、管長Lがλ/4の奇数倍になったとき)に生じる。
一方、λは脈動周波数に反比例し、脈動周波数は機関回転数に比例する。
このため、例えば、機関がある低回転領域(例えば1500rpm)で図8(A)に示す(1/4)λのモードの共鳴が発生した場合には、その3倍の回転数(4500rpm)では、図8(B)に示す(3/4)λモードの共鳴が発生する。
このため、例えば、機関がある低回転領域(例えば1500rpm)で図8(A)に示す(1/4)λのモードの共鳴が発生した場合には、その3倍の回転数(4500rpm)では、図8(B)に示す(3/4)λモードの共鳴が発生する。
前述したように、管内に定常波が発生すると熱音響スタックの圧力変化モードにおける腹側が高温になり、節側が低温になる。このため、例えば熱音響スタックを、図8においてIまたはIIIの領域に配置した場合は変化はないものの、IIの領域に配置した場合にはモードが異なると熱音響スタックの高温側と低温側とが逆転することになる。
この場合には、例えば排気管側の熱交換器(図1における第1熱交換器153)には冷却水を供給して、機関回転数にかかわらず第1熱交換器温度を一定に維持するようにすると、機関回転数(共鳴圧力変化モード)により、第2熱交換器155は高温熱交換器((1/4)λモード)と低温熱交換器((3/4)λモード)とに自動的に切替えられることになる。
このため、第2熱交換器からは低回転時には高温が、高回転時には低温が得られるようになる。
このため、第2熱交換器からは低回転時には高温が、高回転時には低温が得られるようになる。
本実施形態では、この熱交換器温度の回転数による切替えを利用して、例えば機関の冷間始動後のアイドル運転では図7の吸気冷却器を吸気加熱器として利用し機関暖機を促進するとともに、暖機完了後の高回転運転では吸気を冷却して機関性能を向上させるようにしている。
なお、この場合、例えば機関の暖機完了後のアイドル運転などでは吸気の加熱は必要がなくなる。この場合には、例えば、図9に示すように枝管11の入口に遮断弁91を設け、低回転時に高温源が必要がない場合に(或は、高回転時に低温源が必要ない場合も)、遮断弁91を閉弁し枝管11内に共鳴が生じることを防止することも可能である。
また、上記実施形態では熱交換器が低温源として機能する場合も高温源として機能する場合も同一の機器(吸気冷却/加熱器)に熱媒体を供給しているが、熱交換器が低温源として機能する場合と高温源として機能する場合とで、熱媒体を供給する機器を変更するようにすれば、排気圧力脈動エネルギを常に回収し有効に利用することができるようになる。
1 内燃機関
3 排気管
10 エネルギ回収装置
15 熱音響スタック
151 蓄熱器
153 第1熱交換器
155 第2熱交換器
3 排気管
10 エネルギ回収装置
15 熱音響スタック
151 蓄熱器
153 第1熱交換器
155 第2熱交換器
Claims (6)
- 内燃機関の排気もしくは吸気の脈動エネルギを回収するエネルギ回収装置であって、
一端が閉鎖端とされ、他端が内燃機関の吸気管もしくは排気管の所定位置に開口し前記吸気管もしくは排気管内の気体が流通する接続開口部とされた枝管と、
前記枝管内に配置された蓄熱器と、該蓄熱器の前記閉塞端側と前記接続開口部側とにそれぞれ設けられた熱交換器とからなるスタックとを備え、
前記スタックの一方の熱交換器は前記枝管内の気体と高温での熱交換を行う高温熱交換器として機能し、他方の熱交換器は前記枝管内の気体と低温での熱交換を行う低温熱交換器として機能し、前記高温熱交換器と低温熱交換器とから熱エネルギーの形で前記排気もしくは吸気の脈動エネルギを回収する内燃機関のエネルギ回収装置。 - 前記高温熱交換器と低温熱交換器とのうち、一方は吸気もしくは排気と冷却水との間の熱交換を行い、他方は所定の機器と熱的に接続され吸気もしくは排気と前記機器との間の熱交換を行う、請求項1に記載の内燃機関のエネルギ回収装置。
- 前記枝管は機関の排気管に設けられ、前記機器は排気管に配置されるとともに前記低温熱交換器に接続された排気冷却器である、請求項2に記載の内燃機関のエネルギ回収装置。
- 前記枝管は機関の吸気管に設けられ、前記機器は吸気管に配置されるとともに前記低温熱交換器に接続された吸気冷却器である、請求項2に記載の内燃機関のエネルギ回収装置。
- 前記スタックの両端の熱交換器は、一方が高温熱交換器として機能し、他方が低温熱交換器として機能するモードと、前記一方が低温熱交換器として機能し他方が高温熱交換器として機能するモードとに機関回転数に応じて切替えられる、請求項1から4のいずれか1項に記載の内燃機関のエネルギ回収装置。
- 前記枝管入口に配置され、前記排気管または吸気管と枝管との連通を遮断する遮断弁を備え、前記熱エネルギーの回収が必要なときにのみ前記遮断弁を開弁する、請求項1に記載の内燃機関のエネルギ回収装置。
Priority Applications (1)
| Application Number | Priority Date | Filing Date | Title |
|---|---|---|---|
| JP2005352080A JP2007154792A (ja) | 2005-12-06 | 2005-12-06 | 内燃機関のエネルギ回収装置 |
Applications Claiming Priority (1)
| Application Number | Priority Date | Filing Date | Title |
|---|---|---|---|
| JP2005352080A JP2007154792A (ja) | 2005-12-06 | 2005-12-06 | 内燃機関のエネルギ回収装置 |
Publications (1)
| Publication Number | Publication Date |
|---|---|
| JP2007154792A true JP2007154792A (ja) | 2007-06-21 |
Family
ID=38239480
Family Applications (1)
| Application Number | Title | Priority Date | Filing Date |
|---|---|---|---|
| JP2005352080A Pending JP2007154792A (ja) | 2005-12-06 | 2005-12-06 | 内燃機関のエネルギ回収装置 |
Country Status (1)
| Country | Link |
|---|---|
| JP (1) | JP2007154792A (ja) |
Cited By (6)
| Publication number | Priority date | Publication date | Assignee | Title |
|---|---|---|---|---|
| JPWO2009005086A1 (ja) * | 2007-07-05 | 2010-08-26 | 日産自動車株式会社 | 温度制御装置 |
| JP2015183676A (ja) * | 2014-03-26 | 2015-10-22 | 日野自動車株式会社 | 内燃機関 |
| US9291131B2 (en) | 2013-10-04 | 2016-03-22 | Denso Corporation | Vehicular air intake apparatus |
| CN107614868A (zh) * | 2015-05-21 | 2018-01-19 | 中央精机株式会社 | 热声发电系统 |
| CN112145266A (zh) * | 2019-06-26 | 2020-12-29 | 陕西汽车集团有限责任公司 | 一种回收发动机排气脉冲能量的装置 |
| JP2022072210A (ja) * | 2020-10-29 | 2022-05-17 | 学校法人東海大学 | 熱音響消音器 |
-
2005
- 2005-12-06 JP JP2005352080A patent/JP2007154792A/ja active Pending
Cited By (9)
| Publication number | Priority date | Publication date | Assignee | Title |
|---|---|---|---|---|
| JPWO2009005086A1 (ja) * | 2007-07-05 | 2010-08-26 | 日産自動車株式会社 | 温度制御装置 |
| JP5103474B2 (ja) * | 2007-07-05 | 2012-12-19 | 日産自動車株式会社 | 温度制御装置 |
| US9291131B2 (en) | 2013-10-04 | 2016-03-22 | Denso Corporation | Vehicular air intake apparatus |
| JP2015183676A (ja) * | 2014-03-26 | 2015-10-22 | 日野自動車株式会社 | 内燃機関 |
| CN107614868A (zh) * | 2015-05-21 | 2018-01-19 | 中央精机株式会社 | 热声发电系统 |
| CN107614868B (zh) * | 2015-05-21 | 2020-01-21 | 中央精机株式会社 | 热声发电系统 |
| CN112145266A (zh) * | 2019-06-26 | 2020-12-29 | 陕西汽车集团有限责任公司 | 一种回收发动机排气脉冲能量的装置 |
| JP2022072210A (ja) * | 2020-10-29 | 2022-05-17 | 学校法人東海大学 | 熱音響消音器 |
| JP7422402B2 (ja) | 2020-10-29 | 2024-01-26 | 学校法人東海大学 | 熱音響消音器 |
Similar Documents
| Publication | Publication Date | Title |
|---|---|---|
| JP4441091B2 (ja) | 内燃機関の排気熱エネルギ回収装置 | |
| US6164073A (en) | Method and apparatus for adapting steady flow with cyclic thermodynamics | |
| WO2013084830A1 (ja) | 熱音響機関 | |
| CN100371657C (zh) | 脉冲管制冷机 | |
| JP2012112621A (ja) | 熱音響機関 | |
| CN112303953B (zh) | 一种余热驱动制冷机 | |
| JP3857587B2 (ja) | 周期的に作動する冷凍機 | |
| JP2011208911A (ja) | 熱音響機関 | |
| JP2006002738A (ja) | 排熱回収装置 | |
| JP2007154792A (ja) | 内燃機関のエネルギ回収装置 | |
| JP5453950B2 (ja) | 熱音響機関 | |
| JP4737513B2 (ja) | 冷却システム | |
| JP5655313B2 (ja) | 熱音響機関 | |
| CN100432572C (zh) | 带有频率调制机械共振器的深冷冷却器系统及其操作方法 | |
| JP5310287B2 (ja) | 熱音響機関 | |
| JP5577984B2 (ja) | Egrガス冷却装置 | |
| JP4580247B2 (ja) | エンジンシステム | |
| JP2005188841A (ja) | 熱音響エンジンおよび熱音響冷凍機 | |
| Mugisho et al. | Development of a thermoacoustically-driven thermoacoustic refrigerator powered by residual heat | |
| JP2005188846A (ja) | 熱音響ヒートポンプ式給湯装置 | |
| JP2002221089A (ja) | ガスタービン・コージェネレーションシステム | |
| JP5671907B2 (ja) | Egrガス冷却装置 | |
| JP5446498B2 (ja) | 熱音響機関 | |
| CN116398317B (zh) | 基于非共振型自循环换热器的自由活塞斯特林发电系统 | |
| JP7542852B2 (ja) | 熱音響システム、熱音響システムの制御方法、及び熱音響システムの調整方法 |