JP2007123718A - 電子回路装置 - Google Patents

電子回路装置 Download PDF

Info

Publication number
JP2007123718A
JP2007123718A JP2005316770A JP2005316770A JP2007123718A JP 2007123718 A JP2007123718 A JP 2007123718A JP 2005316770 A JP2005316770 A JP 2005316770A JP 2005316770 A JP2005316770 A JP 2005316770A JP 2007123718 A JP2007123718 A JP 2007123718A
Authority
JP
Japan
Prior art keywords
circuit device
connection terminal
electronic circuit
circuit board
hole
Prior art date
Legal status (The legal status is an assumption and is not a legal conclusion. Google has not performed a legal analysis and makes no representation as to the accuracy of the status listed.)
Pending
Application number
JP2005316770A
Other languages
English (en)
Inventor
Tsutomu Kotani
勉 小谷
Current Assignee (The listed assignees may be inaccurate. Google has not performed a legal analysis and makes no representation or warranty as to the accuracy of the list.)
TDK Corp
Original Assignee
TDK Corp
Priority date (The priority date is an assumption and is not a legal conclusion. Google has not performed a legal analysis and makes no representation as to the accuracy of the date listed.)
Filing date
Publication date
Application filed by TDK Corp filed Critical TDK Corp
Priority to JP2005316770A priority Critical patent/JP2007123718A/ja
Publication of JP2007123718A publication Critical patent/JP2007123718A/ja
Pending legal-status Critical Current

Links

Images

Landscapes

  • Multi-Conductor Connections (AREA)
  • Coupling Device And Connection With Printed Circuit (AREA)
  • Structures For Mounting Electric Components On Printed Circuit Boards (AREA)

Abstract

【課題】信頼性を向上することができるとともに、優れた生産性を有する電子回路装置を提供する。
【解決手段】電子回路装置は、回路基板1と、電子部品2と、はんだ3とを含む。回路基板1は、一面11から他面12に貫通するスルーホール13を有する。スルーホール13の内面133には、導体膜135が備えられている。電子部品2は、接続端子20を有し、回路基板1の一面11に載置されている。接続端子20は、凹部21を有し、凹部21は、少なくともスルーホール13の内部に配置されている。はんだ3は、スルーホール13の内部において、導体膜135の表面と、凹部21の内面210との間に充填されており、回路基板1と、接続端子20とを固着している。
【選択図】図2

Description

本発明は、電子回路装置に関する。
従来より、電子回路装置において、IC、LSI、コンデンサ、コネクタなどの電子部品の接続端子を、回路基板に設けられているスルーホールに挿入し、はんだ付けするタイプのものが知られている。スルーホールの内面には、導体膜が備えられており、この導体膜と、上述した接続端子の挿入部分とをはんだ付けすることにより、電子部品が回路基板上に取り付けられている。
ところで、接続端子、及び、回路基板には、振動、衝撃、及び、熱膨張/収縮等により機械的ストレスが生じる。このような機械的ストレスに対して、接続端子と、回路基板とのはんだ付けが不十分であると、両者を結合するはんだには、機械的ストレスに起因する応力によりクラックが発生し、信頼性が損われることとなる。そこで、この種の電子回路装置においては、はんだクラックの発生を防止するため、接続端子と、回路基板との結合強度を向上させることが重要である。
上述した課題を解決する従来技術として、例えば、特許文献1は、接続端子に凹状の加工部を備え、この加工部を、回路基板の開口穴を一面から他面に挿通し、回路基板の他面上ではんだ付けする電子回路装置を開示している。
また、特許文献2に開示されている電子部品は、接続端子の中間部分に湾曲状の加工部を備える。接続端子は、先端部がスルーホールに挿通されはんだ付けされるとともに、加工部が回路基板の一面側に配置されている。
しかし、特許文献1によると、接続端子と、回路基板との結合強度に問題がある。例えば、接続端子に、回路基板の一面から他面に向かう方向に対して機械的ストレスが発生した場合、両者を結合するはんだにクラックが生じやすい。
また、特許文献2は、主として接続端子に生じる機械的ストレスを加工部により緩和するものであり、回路基板に生じる機械的ストレスに対する緩和効果を有しないから、クラック対策としては不十分である。さらに、特許文献2に示す加工部の湾曲形状は、端子自体の機械的強度が低く、しかも生産性も低い。
特開平9−246687号公報 特開平7−283492号公報
本発明の課題は、優れた結合強度を有し、信頼性を向上させることができる電子回路装置を提供することである。
本発明のもう1つの課題は、加工コストを低減し、優れた生産性を有する電子回路装置を提供することである。
上述した課題を解決するため、本発明に係る電子回路装置は、回路基板と、電子部品と、はんだとを含む。回路基板は、一面から他面に貫通するスルーホールを有し、このスルーホールの内面には導体膜が備えられている。電子部品は、接続端子を有し、回路基板の一面に載置されている。接続端子は凹部を有し、この凹部がスルーホールの内部に配置されている。はんだは、スルーホールの内部において、少なくとも導体膜の表面と、凹部の内面との間に充填されており、回路基板と、接続端子とを固着している。
上述したように、接続端子の凹部がスルーホールの内部に配置され、導体膜の表面と、凹部の内面との間にはんだが充填されている構造によると、接続端子と、回路基板とを強固にはんだ付けすることができる。
具体的に、上述した間における凹部の内面と、導体膜の表面との対面距離は、凹形状の中央部で最も広くなるとともに、この中央部を始点にして相対向する二方向に備えられている凹形状の両端部に向かうに従って徐々に狭くなる。本発明に係る電子回路装置は、このような形状を有する間にはんだが充填されているから、回路基板、及び、接続端子のそれぞれに、振動、衝撃、及び、熱膨張/収縮等による機械的ストレスが生じたとしても、両者を固着しているはんだの移動が、両端部の狭くなっている部分で規制される。従って、回路基板と、接続端子とのはんだ付け状態を良好に維持し、はんだの剥離や、クラックの発生等の不具合を回避することができる。
上述したように接続端子の凹部は、中央部から両端部に向かうに従って狭くなる形状を有すれば足りるから、接続端子の加工コストを低減し、優れた生産性を有する電子回路装置を提供することができる。
本発明の他の目的、構成及び利点については、添付図面を参照し、更に詳しく説明する。添付図面は、単に、例示に過ぎない。
以上述べたように、本発明によれば、次のような効果を得ることができる。
(1)優れた結合強度を有し、信頼性を向上することができる電子回路装置を提供することができる。
(2)加工コストを低減し、優れた生産性を有する電子回路装置を提供することができる。
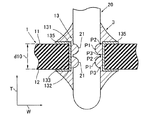
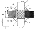
図1は本発明の一実施形態に係る電子回路装置について一部を省略して示す側側面図、図2は図1に示した電子回路装置について一部を拡大して示す端面図、図3は図2に示した電子回路装置についてさらに一部を拡大して示す端面図である。図1乃至図3を参照すると、本発明の一実施形態に係る電子回路装置は、回路基板1と、電子部品2と、はんだ3とを含む。
回路基板1は、この種の電子回路装置において広く用いられているプリント基板であって、好ましくは、一面11、及び、他面12のそれぞれの面内に電気回路を構成する導電パターン(図示しない)が形成されており、且、この導電パターンのリード部分に対応する箇所に、スルーホール13を有している。
スルーホール13は、内面133を有するとともに、回路基板1の一面11に第1の開口端131を有し、一面11に対向する他面12に第2の開口端132を有する。第1の開口端131の付近、第2の開口端132の付近、及び、内面133は、導体膜135により覆われている。
電子部品2は、IC、LSI、コンデンサ、コネクタなどの電子部品であって、これらの電子回路部(図示しない)と電気的に接続されている接続端子20を有し、回路基板1の一面11に載置されている。
接続端子20は、導電性金属材料でなる。図1乃至図3からは必ずしも明らかではないが、接続端子20は、平板状であって、先端部付近において、幅方向Wに向かい合う両端縁が切り欠かれた凹部21を有する。凹部21は、P1で示す凹形状の中央部から、P2、P3で示す両端部に向かうに従って、円弧状に湾曲する内面210を有する。
接続端子20は、凹部21が、スルーホール13の内部において、少なくとも回路基板1の厚みd10に対応する領域内に配置されている。図3を参照すると、凹部21の内面210と、導体膜135の表面との対面距離d11は、中央部P1で最も広くなり、P1を始点にして高さ方向Tに相対向する両端部P2、P3、即ち、回路基板1の一面11の側における端部P2、及び、他面12の側における端部P3の二方向に向かうに従って徐々に狭くなり、最終的に両端部P2及びP3のそれぞれにおいて、対面距離d12、d13が最も狭くなる。
はんだ3は、スルーホール13の内部において、凹部21の内面210と、導体膜135の表面との間に充填されており、回路基板1と、接続端子20とを固着している。電子部品2は、接続端子20が、スルーホール13の内部において、導体膜135とはんだ3により結合されることにより、接続端子20を介して、回路基板1に固着され、且、回路基板1の上の導電パターン(図示しない)と電気的に接続される。
上述したように、本発明の一実施形態に係る電子回路装置において、接続端子20の凹部21がスルーホール13の内部に配置され、導体膜135の表面と、凹部21の内面210との間にはんだ3が充填されている構造によると、接続端子20と、回路基板1とを強固に結合することができる。
より詳細に説明すると、本発明の一実施形態に係る電子回路装置は、凹部21の内面210と、導体膜135の表面との間にはんだ3が充填されているから、回路基板1、及び、接続端子20のそれぞれに、振動、衝撃、及び、熱膨張/収縮等による機械的ストレスが生じたとしても、対面距離d12、d13が最も狭くなる両端部P2、P3で、両者を固着しているはんだ3の移動が規制される。例えば、接続端子20の熱膨張時において、接続端子20が一面11の方向に伸びようとした場合、はんだ3の移動が端部P3で制御されるため、接続端子20のズレ量が規制される。さらに、このような規制効果は、回路基板1の熱膨張時において、回路基板1が一面11の方向に伸びようとした場合にも、はんだ3の移動が端部P2で制御されるため、回路基板1のズレ量が規制される。従って、回路基板1と、接続端子20との結合状態を良好に維持し、はんだ3の剥離や、はんだ3に対するクラックの発生を回避することができる。
しかも、はんだ3の移動に対する両端部P2、P3の規制効果は、回路基板1、及び、接続端子20の機械的ストレスが、一面11から他面12に向かう場合と、他面12から一面11に向かう場合との二方向に対しても生じるから、本発明の一実施形態に係る電子回路装置は優れた結合強度を有し、信頼性を向上させることができる。
また、凹部21の内部に備えられる構成によると、凹部21を有しない端子と比較して、はんだ3接触面積が広がるから、結合強度を向上することができる。
接続端子20の凹部21は、中央部P1から端部P2、P3に向かうに従って狭くなる形状を有すれば足りるから、接続端子20の加工コストを低減し、優れた生産性を有する電子回路装置を提供することができる。
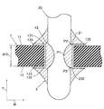
図4乃至図7は本発明の他の実施形態に係る電子回路装置について、一部を省略して示す端面図である。図4乃至図7において、図1乃至図3に示した構成部分と同一の構成部分には、同一の参照符号を付す。
図1乃至図3を参照して説明したように、本発明に係る電子部品2は、スルーホール13の内部において、凹部21の内面210と、導体膜135の表面との対面距離d11〜d13に広狭の差を有する内部空間を有し、この内部空間にはんだ3が充填されていることにより、はんだ3の移動が両端部P2、P3で規制され、はんだ3によって固着されている接続端子20、及び、回路基板1との結合強度を向上させることができる点に特徴がある。従って、凹部21は、中央部P1で最も広くなり、両端部P2、P3に向かうに従って徐々に狭くなる構造であればたりる。
例えば、図4に示す電子回路装置の実施形態は、凹部21を、接続端子20の高さ方向Tに沿って複数配置した実施形態を示している。図4に示す実施形態の構造によると、図1乃至図3に示した利点を全て有するとともに、凹部21の内面210と、はんだ3との接触面積が増えるから、結合強度を向上することができる。
図5に示す電子回路装置の実施形態において、接続端子20は円筒状の棒状端子であり、この円筒状の接続端子20の先端部において、全周に渡って凹部21が溝状に形成されている。図5に示す実施形態の構造によると、図1乃至図3に示した利点を全て有するとともに、凹部21の内面210と、はんだ3との接触面積が増える。
図6に示す電子回路装置の実施形態において、接続端子20の全周に渡って凹部21が備えられており、この凹部21はローレット加工により形成されている。端的に言うと、図6に示した実施形態は、図4に示した実施形態と、図5に示した実施形態の特徴部分を併せ持つ構造である。
図7に示す電子回路装置の実施形態において、凹部21は、高さ方向T(接続端子20の軸方向)に直交する方向に接続端子20の基体部を貫通する貫通孔である。この構成によると、凹部21に充填されたはんだ3の移動を、内面210の全周に渡って規制することができる。
以上、好ましい実施例を参照して本発明の内容を具体的に説明したが、本発明の基本的技術思想及び教示に基づいて、当業者であれば、種種の変形態様を採り得ることは自明である。
本発明の一実施形態に係る電子回路装置について一部を省略して示す側側面図である。 図1に示した電子回路装置について一部を拡大して示す端面図である。 図2に示した電子回路装置についてさらに一部を拡大して示す端面図である。 本発明のもう一つの実施形態に係る電子回路装置について一部を省略して示す端面図である。 本発明の更にもう一つの実施形態に係る電子回路装置について一部を省略して示す端面図である。 本発明の更にもう一つの実施形態に係る電子回路装置について一部を省略して示す端面図である。 本発明の更にもう一つの実施形態に係る電子回路装置について一部を省略して示す端面図である。
符号の説明
1 回路基板
11 一面
12 他面
13 スルーホール
133 内面
135 導体膜
2 電子部品
20 接続端子
21 凹部
220 内面
3 はんだ

Claims (4)

  1. 回路基板と、電子部品と、はんだとを含む電子回路装置であって、
    前記回路基板は、一面から他面に貫通するスルーホールを有しており、
    前記スルーホールは、内面に導体膜が備えられており、
    前記電子部品は、接続端子を有し、前記回路基板の一面に載置されており、
    前記接続端子は、凹部を有し、前記凹部は、前記スルーホールの内部に配置されており、
    前記はんだは、前記スルーホールの内部において、少なくとも前記導体膜の表面と、前記凹部の内面との間に充填され、前記回路基板と、前記接続端子とを固着している、
    電子回路装置。
  2. 請求項1に記載された電子回路装置であって、
    前記凹部は、内面が弧状であり、両端部が前記スルーホールの開口端の付近に位置する、電子回路装置。
  3. 請求項1に記載された電子回路装置であって、
    前記凹部は、ローレット加工により形成されている、電子回路装置。
  4. 請求項1に記載された電子回路装置であって、
    前記凹部は、貫通孔である、電子回路装置。

JP2005316770A 2005-10-31 2005-10-31 電子回路装置 Pending JP2007123718A (ja)

Priority Applications (1)

Application Number Priority Date Filing Date Title
JP2005316770A JP2007123718A (ja) 2005-10-31 2005-10-31 電子回路装置

Applications Claiming Priority (1)

Application Number Priority Date Filing Date Title
JP2005316770A JP2007123718A (ja) 2005-10-31 2005-10-31 電子回路装置

Publications (1)

Publication Number Publication Date
JP2007123718A true JP2007123718A (ja) 2007-05-17

Family

ID=38147204

Family Applications (1)

Application Number Title Priority Date Filing Date
JP2005316770A Pending JP2007123718A (ja) 2005-10-31 2005-10-31 電子回路装置

Country Status (1)

Country Link
JP (1) JP2007123718A (ja)

Cited By (2)

* Cited by examiner, † Cited by third party
Publication number Priority date Publication date Assignee Title
CN102143658A (zh) * 2010-01-29 2011-08-03 欧姆龙株式会社 安装部件、电子设备以及安装方法
JP2012038907A (ja) * 2010-08-06 2012-02-23 Yazaki Corp 端子及び端子の半田付け構造

Citations (4)

* Cited by examiner, † Cited by third party
Publication number Priority date Publication date Assignee Title
JPS61166563U (ja) * 1985-04-01 1986-10-16
JPH0818192A (ja) * 1994-06-30 1996-01-19 Meidensha Corp プリント基板の接続構造
JPH10241760A (ja) * 1997-02-24 1998-09-11 Fujitsu Ltd 挿入型ピン状端子及びこれを有する回路モジュール
JP2005150525A (ja) * 2003-11-18 2005-06-09 Denso Corp 端子挿入型部材の実装構造および実装方法

Patent Citations (4)

* Cited by examiner, † Cited by third party
Publication number Priority date Publication date Assignee Title
JPS61166563U (ja) * 1985-04-01 1986-10-16
JPH0818192A (ja) * 1994-06-30 1996-01-19 Meidensha Corp プリント基板の接続構造
JPH10241760A (ja) * 1997-02-24 1998-09-11 Fujitsu Ltd 挿入型ピン状端子及びこれを有する回路モジュール
JP2005150525A (ja) * 2003-11-18 2005-06-09 Denso Corp 端子挿入型部材の実装構造および実装方法

Cited By (2)

* Cited by examiner, † Cited by third party
Publication number Priority date Publication date Assignee Title
CN102143658A (zh) * 2010-01-29 2011-08-03 欧姆龙株式会社 安装部件、电子设备以及安装方法
JP2012038907A (ja) * 2010-08-06 2012-02-23 Yazaki Corp 端子及び端子の半田付け構造

Similar Documents

Publication Publication Date Title
US7090502B2 (en) Board connecting component and three-dimensional connecting structure using thereof
CN1767279B (zh) 表面安装型连接器
JP4524291B2 (ja) 平型アース端子およびその表面実装方法
US20070224890A1 (en) Contact for a battery connector
US10461447B2 (en) Socket receiving an electronic component having a plurality of contact pads
JP2021158225A (ja) シールドケース及び電子回路モジュール
CN100438218C (zh) 固定部件和固定结构
JP2004319381A (ja) アース端子
US11096285B2 (en) Electronic circuit substrate
US6333471B1 (en) Sheet metal component for double pattern conduction and printed circuit board
JP2007123718A (ja) 電子回路装置
CN104685722B (zh) 电路基板的接地构造
JP2008288359A (ja) プリント基板
US20060070768A1 (en) Printed circuit board assembly
JP4797781B2 (ja) 補強タブ、補強タブの製造方法、及びコネクタの実装構造
US6423906B2 (en) Surface mount package for long lead devices
CN105830543A (zh) 电子部件
CN110636698B (zh) 电路板
JPH11219762A (ja) 電子部品及び基板
JP2006294932A (ja) 回路実装基板のランドおよび表面実装部品が搭載された回路実装基板
JP2006134946A (ja) プリント配線基板
JPH11340589A (ja) 可撓性回路基板
CN102238837B (zh) 电子设备
JP2007116039A (ja) 回路基板
JP2008066411A (ja) 電子部品の実装構造

Legal Events

Date Code Title Description
A621 Written request for application examination

Free format text: JAPANESE INTERMEDIATE CODE: A621

Effective date: 20080603

RD04 Notification of resignation of power of attorney

Free format text: JAPANESE INTERMEDIATE CODE: A7424

Effective date: 20090217

A977 Report on retrieval

Free format text: JAPANESE INTERMEDIATE CODE: A971007

Effective date: 20100921

A131 Notification of reasons for refusal

Free format text: JAPANESE INTERMEDIATE CODE: A131

Effective date: 20100929

A02 Decision of refusal

Free format text: JAPANESE INTERMEDIATE CODE: A02

Effective date: 20110209