JP2007084635A - 有機エレクトロルミネッセンス素子用材料、有機エレクトロルミネッセンス素子、表示装置及び照明装置 - Google Patents
有機エレクトロルミネッセンス素子用材料、有機エレクトロルミネッセンス素子、表示装置及び照明装置 Download PDFInfo
- Publication number
- JP2007084635A JP2007084635A JP2005273168A JP2005273168A JP2007084635A JP 2007084635 A JP2007084635 A JP 2007084635A JP 2005273168 A JP2005273168 A JP 2005273168A JP 2005273168 A JP2005273168 A JP 2005273168A JP 2007084635 A JP2007084635 A JP 2007084635A
- Authority
- JP
- Japan
- Prior art keywords
- group
- ring
- organic electroluminescent
- electroluminescent element
- organic
- Prior art date
- Legal status (The legal status is an assumption and is not a legal conclusion. Google has not performed a legal analysis and makes no representation as to the accuracy of the status listed.)
- Pending
Links
- 239000000463 material Substances 0.000 title claims abstract description 117
- 239000003446 ligand Substances 0.000 claims abstract description 69
- HZVOZRGWRWCICA-UHFFFAOYSA-N methanediyl Chemical compound [CH2] HZVOZRGWRWCICA-UHFFFAOYSA-N 0.000 claims abstract description 38
- 150000004696 coordination complex Chemical class 0.000 claims abstract description 33
- 229910052751 metal Inorganic materials 0.000 claims description 54
- 239000002184 metal Substances 0.000 claims description 54
- 150000001875 compounds Chemical class 0.000 claims description 51
- 125000001424 substituent group Chemical group 0.000 claims description 44
- 125000004429 atom Chemical group 0.000 claims description 31
- 238000005401 electroluminescence Methods 0.000 claims description 31
- 125000005647 linker group Chemical group 0.000 claims description 25
- 239000000470 constituent Substances 0.000 claims description 20
- 125000004435 hydrogen atom Chemical group [H]* 0.000 claims description 15
- 229910052741 iridium Inorganic materials 0.000 claims description 10
- 125000006615 aromatic heterocyclic group Chemical group 0.000 claims description 9
- 150000002739 metals Chemical class 0.000 claims description 9
- 229910052697 platinum Inorganic materials 0.000 claims description 9
- 229920000642 polymer Polymers 0.000 claims description 9
- 125000004433 nitrogen atom Chemical group N* 0.000 claims description 6
- 229910052702 rhenium Inorganic materials 0.000 claims description 6
- 239000011248 coating agent Substances 0.000 claims description 5
- 238000000576 coating method Methods 0.000 claims description 5
- 125000004430 oxygen atom Chemical group O* 0.000 claims description 4
- 125000004434 sulfur atom Chemical group 0.000 claims description 4
- 125000004432 carbon atom Chemical group C* 0.000 claims description 3
- 125000004122 cyclic group Chemical group 0.000 claims description 3
- 229910052763 palladium Inorganic materials 0.000 claims description 3
- 125000004437 phosphorous atom Chemical group 0.000 claims description 3
- 229910052703 rhodium Inorganic materials 0.000 claims description 3
- 125000002029 aromatic hydrocarbon group Chemical group 0.000 claims 1
- 239000010410 layer Substances 0.000 description 201
- -1 Alkyl carbene Chemical compound 0.000 description 112
- 238000000034 method Methods 0.000 description 58
- 230000032258 transport Effects 0.000 description 40
- 230000000903 blocking effect Effects 0.000 description 38
- 239000010408 film Substances 0.000 description 36
- 239000002019 doping agent Substances 0.000 description 34
- 238000002347 injection Methods 0.000 description 30
- 239000007924 injection Substances 0.000 description 30
- 230000005525 hole transport Effects 0.000 description 28
- 239000000758 substrate Substances 0.000 description 21
- 239000000872 buffer Substances 0.000 description 20
- 229910052757 nitrogen Inorganic materials 0.000 description 18
- 0 C*([C@]12)C=C*1c(c(C)cc(C)c1-c3cccc*33)c1I231(N)NI2([C@]3*4C=C*3C)(*3ccccc3-c3c(C)cc(C)c4c23)(N)N1 Chemical compound C*([C@]12)C=C*1c(c(C)cc(C)c1-c3cccc*33)c1I231(N)NI2([C@]3*4C=C*3C)(*3ccccc3-c3c(C)cc(C)c4c23)(N)N1 0.000 description 17
- 239000000203 mixture Substances 0.000 description 17
- 239000011159 matrix material Substances 0.000 description 15
- 238000007740 vapor deposition Methods 0.000 description 15
- 239000000975 dye Substances 0.000 description 13
- 229910052782 aluminium Inorganic materials 0.000 description 12
- XAGFODPZIPBFFR-UHFFFAOYSA-N aluminium Chemical compound [Al] XAGFODPZIPBFFR-UHFFFAOYSA-N 0.000 description 12
- 238000004519 manufacturing process Methods 0.000 description 11
- PQXKHYXIUOZZFA-UHFFFAOYSA-M lithium fluoride Chemical compound [Li+].[F-] PQXKHYXIUOZZFA-UHFFFAOYSA-M 0.000 description 10
- BASFCYQUMIYNBI-UHFFFAOYSA-N platinum Chemical compound [Pt] BASFCYQUMIYNBI-UHFFFAOYSA-N 0.000 description 10
- 238000000151 deposition Methods 0.000 description 9
- 238000010586 diagram Methods 0.000 description 9
- 229910052749 magnesium Inorganic materials 0.000 description 9
- 239000011777 magnesium Substances 0.000 description 9
- 239000010409 thin film Substances 0.000 description 9
- FYYHWMGAXLPEAU-UHFFFAOYSA-N Magnesium Chemical compound [Mg] FYYHWMGAXLPEAU-UHFFFAOYSA-N 0.000 description 8
- 230000008021 deposition Effects 0.000 description 8
- 238000010438 heat treatment Methods 0.000 description 8
- 238000004528 spin coating Methods 0.000 description 8
- 239000003086 colorant Substances 0.000 description 7
- 239000007772 electrode material Substances 0.000 description 7
- 239000011521 glass Substances 0.000 description 7
- 150000002430 hydrocarbons Chemical group 0.000 description 7
- 230000003287 optical effect Effects 0.000 description 7
- 239000002356 single layer Substances 0.000 description 7
- 125000003118 aryl group Chemical group 0.000 description 6
- 239000003990 capacitor Substances 0.000 description 6
- 238000005266 casting Methods 0.000 description 6
- 238000000605 extraction Methods 0.000 description 6
- 238000004544 sputter deposition Methods 0.000 description 6
- 229910052717 sulfur Inorganic materials 0.000 description 6
- IJGRMHOSHXDMSA-UHFFFAOYSA-N Atomic nitrogen Chemical compound N#N IJGRMHOSHXDMSA-UHFFFAOYSA-N 0.000 description 5
- 150000004945 aromatic hydrocarbons Chemical group 0.000 description 5
- 229910052738 indium Inorganic materials 0.000 description 5
- 238000002156 mixing Methods 0.000 description 5
- 239000011347 resin Substances 0.000 description 5
- 229920005989 resin Polymers 0.000 description 5
- 238000001771 vacuum deposition Methods 0.000 description 5
- 229940126062 Compound A Drugs 0.000 description 4
- NLDMNSXOCDLTTB-UHFFFAOYSA-N Heterophylliin A Natural products O1C2COC(=O)C3=CC(O)=C(O)C(O)=C3C3=C(O)C(O)=C(O)C=C3C(=O)OC2C(OC(=O)C=2C=C(O)C(O)=C(O)C=2)C(O)C1OC(=O)C1=CC(O)=C(O)C(O)=C1 NLDMNSXOCDLTTB-UHFFFAOYSA-N 0.000 description 4
- WHXSMMKQMYFTQS-UHFFFAOYSA-N Lithium Chemical compound [Li] WHXSMMKQMYFTQS-UHFFFAOYSA-N 0.000 description 4
- YTPLMLYBLZKORZ-UHFFFAOYSA-N Thiophene Chemical group C=1C=CSC=1 YTPLMLYBLZKORZ-UHFFFAOYSA-N 0.000 description 4
- 125000003785 benzimidazolyl group Chemical group N1=C(NC2=C1C=CC=C2)* 0.000 description 4
- 230000015572 biosynthetic process Effects 0.000 description 4
- 229910052799 carbon Inorganic materials 0.000 description 4
- 229940125904 compound 1 Drugs 0.000 description 4
- 229910052802 copper Inorganic materials 0.000 description 4
- 239000010949 copper Substances 0.000 description 4
- ZUOUZKKEUPVFJK-UHFFFAOYSA-N diphenyl Chemical group C1=CC=CC=C1C1=CC=CC=C1 ZUOUZKKEUPVFJK-UHFFFAOYSA-N 0.000 description 4
- 125000005842 heteroatom Chemical group 0.000 description 4
- 238000005286 illumination Methods 0.000 description 4
- 230000006872 improvement Effects 0.000 description 4
- APFVFJFRJDLVQX-UHFFFAOYSA-N indium atom Chemical compound [In] APFVFJFRJDLVQX-UHFFFAOYSA-N 0.000 description 4
- GKOZUEZYRPOHIO-UHFFFAOYSA-N iridium atom Chemical compound [Ir] GKOZUEZYRPOHIO-UHFFFAOYSA-N 0.000 description 4
- 229910052744 lithium Inorganic materials 0.000 description 4
- IBHBKWKFFTZAHE-UHFFFAOYSA-N n-[4-[4-(n-naphthalen-1-ylanilino)phenyl]phenyl]-n-phenylnaphthalen-1-amine Chemical group C1=CC=CC=C1N(C=1C2=CC=CC=C2C=CC=1)C1=CC=C(C=2C=CC(=CC=2)N(C=2C=CC=CC=2)C=2C3=CC=CC=C3C=CC=2)C=C1 IBHBKWKFFTZAHE-UHFFFAOYSA-N 0.000 description 4
- 238000000059 patterning Methods 0.000 description 4
- 125000001997 phenyl group Chemical group [H]C1=C([H])C([H])=C(*)C([H])=C1[H] 0.000 description 4
- 238000002360 preparation method Methods 0.000 description 4
- 125000005581 pyrene group Chemical group 0.000 description 4
- 125000001567 quinoxalinyl group Chemical group N1=C(C=NC2=CC=CC=C12)* 0.000 description 4
- PJANXHGTPQOBST-UHFFFAOYSA-N stilbene Chemical class C=1C=CC=CC=1C=CC1=CC=CC=C1 PJANXHGTPQOBST-UHFFFAOYSA-N 0.000 description 4
- 125000001935 tetracenyl group Chemical group C1(=CC=CC2=CC3=CC4=CC=CC=C4C=C3C=C12)* 0.000 description 4
- VFUDMQLBKNMONU-UHFFFAOYSA-N 9-[4-(4-carbazol-9-ylphenyl)phenyl]carbazole Chemical compound C12=CC=CC=C2C2=CC=CC=C2N1C1=CC=C(C=2C=CC(=CC=2)N2C3=CC=CC=C3C3=CC=CC=C32)C=C1 VFUDMQLBKNMONU-UHFFFAOYSA-N 0.000 description 3
- ZWDIMJBCSRTGFW-UHFFFAOYSA-N C[n]1c(ccnc2)c2c2c1ccnc2 Chemical compound C[n]1c(ccnc2)c2c2c1ccnc2 ZWDIMJBCSRTGFW-UHFFFAOYSA-N 0.000 description 3
- KFZMGEQAYNKOFK-UHFFFAOYSA-N Isopropanol Chemical compound CC(C)O KFZMGEQAYNKOFK-UHFFFAOYSA-N 0.000 description 3
- OAICVXFJPJFONN-UHFFFAOYSA-N Phosphorus Chemical compound [P] OAICVXFJPJFONN-UHFFFAOYSA-N 0.000 description 3
- NINIDFKCEFEMDL-UHFFFAOYSA-N Sulfur Chemical compound [S] NINIDFKCEFEMDL-UHFFFAOYSA-N 0.000 description 3
- 125000000217 alkyl group Chemical group 0.000 description 3
- QVGXLLKOCUKJST-UHFFFAOYSA-N atomic oxygen Chemical compound [O] QVGXLLKOCUKJST-UHFFFAOYSA-N 0.000 description 3
- 150000001721 carbon Chemical group 0.000 description 3
- 238000004891 communication Methods 0.000 description 3
- 229910001873 dinitrogen Inorganic materials 0.000 description 3
- 125000002883 imidazolyl group Chemical group 0.000 description 3
- 150000002503 iridium Chemical class 0.000 description 3
- 239000004973 liquid crystal related substance Substances 0.000 description 3
- 125000001624 naphthyl group Chemical group 0.000 description 3
- 230000007935 neutral effect Effects 0.000 description 3
- 150000002894 organic compounds Chemical class 0.000 description 3
- 239000012044 organic layer Substances 0.000 description 3
- WCPAKWJPBJAGKN-UHFFFAOYSA-N oxadiazole Chemical compound C1=CON=N1 WCPAKWJPBJAGKN-UHFFFAOYSA-N 0.000 description 3
- 150000004866 oxadiazoles Chemical class 0.000 description 3
- TWNQGVIAIRXVLR-UHFFFAOYSA-N oxo(oxoalumanyloxy)alumane Chemical compound O=[Al]O[Al]=O TWNQGVIAIRXVLR-UHFFFAOYSA-N 0.000 description 3
- 229910052760 oxygen Inorganic materials 0.000 description 3
- 239000001301 oxygen Substances 0.000 description 3
- 125000002080 perylenyl group Chemical group C1(=CC=C2C=CC=C3C4=CC=CC5=CC=CC(C1=C23)=C45)* 0.000 description 3
- 229910052698 phosphorus Inorganic materials 0.000 description 3
- 238000007639 printing Methods 0.000 description 3
- 125000003373 pyrazinyl group Chemical group 0.000 description 3
- 125000003226 pyrazolyl group Chemical group 0.000 description 3
- 125000000714 pyrimidinyl group Chemical group 0.000 description 3
- 125000002294 quinazolinyl group Chemical group N1=C(N=CC2=CC=CC=C12)* 0.000 description 3
- 229910052710 silicon Inorganic materials 0.000 description 3
- 239000011593 sulfur Substances 0.000 description 3
- JYEUMXHLPRZUAT-UHFFFAOYSA-N 1,2,3-triazine Chemical group C1=CN=NN=C1 JYEUMXHLPRZUAT-UHFFFAOYSA-N 0.000 description 2
- YJTKZCDBKVTVBY-UHFFFAOYSA-N 1,3-Diphenylbenzene Chemical group C1=CC=CC=C1C1=CC=CC(C=2C=CC=CC=2)=C1 YJTKZCDBKVTVBY-UHFFFAOYSA-N 0.000 description 2
- 125000000355 1,3-benzoxazolyl group Chemical group O1C(=NC2=C1C=CC=C2)* 0.000 description 2
- XJKSTNDFUHDPQJ-UHFFFAOYSA-N 1,4-diphenylbenzene Chemical group C1=CC=CC=C1C1=CC=C(C=2C=CC=CC=2)C=C1 XJKSTNDFUHDPQJ-UHFFFAOYSA-N 0.000 description 2
- OGGKVJMNFFSDEV-UHFFFAOYSA-N 3-methyl-n-[4-[4-(n-(3-methylphenyl)anilino)phenyl]phenyl]-n-phenylaniline Chemical compound CC1=CC=CC(N(C=2C=CC=CC=2)C=2C=CC(=CC=2)C=2C=CC(=CC=2)N(C=2C=CC=CC=2)C=2C=C(C)C=CC=2)=C1 OGGKVJMNFFSDEV-UHFFFAOYSA-N 0.000 description 2
- BZHCVCNZIJZMRN-UHFFFAOYSA-N 9h-pyridazino[3,4-b]indole Chemical group N1=CC=C2C3=CC=CC=C3NC2=N1 BZHCVCNZIJZMRN-UHFFFAOYSA-N 0.000 description 2
- 229910018072 Al 2 O 3 Inorganic materials 0.000 description 2
- YDEHTCWPHCBAIT-UHFFFAOYSA-N C[n]1c(cncc2)c2c2c1cncc2 Chemical compound C[n]1c(cncc2)c2c2c1cncc2 YDEHTCWPHCBAIT-UHFFFAOYSA-N 0.000 description 2
- 229920008347 Cellulose acetate propionate Polymers 0.000 description 2
- YLQBMQCUIZJEEH-UHFFFAOYSA-N Furan Chemical group C=1C=COC=1 YLQBMQCUIZJEEH-UHFFFAOYSA-N 0.000 description 2
- JUJWROOIHBZHMG-UHFFFAOYSA-N Pyridine Chemical group C1=CC=NC=C1 JUJWROOIHBZHMG-UHFFFAOYSA-N 0.000 description 2
- KAESVJOAVNADME-UHFFFAOYSA-N Pyrrole Chemical compound C=1C=CNC=1 KAESVJOAVNADME-UHFFFAOYSA-N 0.000 description 2
- BQCADISMDOOEFD-UHFFFAOYSA-N Silver Chemical compound [Ag] BQCADISMDOOEFD-UHFFFAOYSA-N 0.000 description 2
- PJANXHGTPQOBST-VAWYXSNFSA-N Stilbene Natural products C=1C=CC=CC=1/C=C/C1=CC=CC=C1 PJANXHGTPQOBST-VAWYXSNFSA-N 0.000 description 2
- FZWLAAWBMGSTSO-UHFFFAOYSA-N Thiazole Chemical group C1=CSC=N1 FZWLAAWBMGSTSO-UHFFFAOYSA-N 0.000 description 2
- 239000007983 Tris buffer Substances 0.000 description 2
- 125000004062 acenaphthenyl group Chemical group C1(CC2=CC=CC3=CC=CC1=C23)* 0.000 description 2
- 125000004450 alkenylene group Chemical group 0.000 description 2
- 125000005277 alkyl imino group Chemical group 0.000 description 2
- 125000002947 alkylene group Chemical group 0.000 description 2
- 125000004419 alkynylene group Chemical group 0.000 description 2
- 229910045601 alloy Inorganic materials 0.000 description 2
- 239000000956 alloy Substances 0.000 description 2
- 125000003277 amino group Chemical group 0.000 description 2
- 125000004397 aminosulfonyl group Chemical group NS(=O)(=O)* 0.000 description 2
- 125000005577 anthracene group Chemical group 0.000 description 2
- 125000000732 arylene group Chemical group 0.000 description 2
- 125000003828 azulenyl group Chemical group 0.000 description 2
- 230000004888 barrier function Effects 0.000 description 2
- WZJYKHNJTSNBHV-UHFFFAOYSA-N benzo[h]quinoline Chemical compound C1=CN=C2C3=CC=CC=C3C=CC2=C1 WZJYKHNJTSNBHV-UHFFFAOYSA-N 0.000 description 2
- IOJUPLGTWVMSFF-UHFFFAOYSA-N benzothiazole Chemical group C1=CC=C2SC=NC2=C1 IOJUPLGTWVMSFF-UHFFFAOYSA-N 0.000 description 2
- 239000011230 binding agent Substances 0.000 description 2
- 235000010290 biphenyl Nutrition 0.000 description 2
- 239000004305 biphenyl Chemical group 0.000 description 2
- 125000003917 carbamoyl group Chemical group [H]N([H])C(*)=O 0.000 description 2
- 125000000609 carbazolyl group Chemical group C1(=CC=CC=2C3=CC=CC=C3NC12)* 0.000 description 2
- 150000001787 chalcogens Chemical group 0.000 description 2
- 125000005578 chrysene group Chemical group 0.000 description 2
- 229920001940 conductive polymer Polymers 0.000 description 2
- 239000004020 conductor Substances 0.000 description 2
- 125000005583 coronene group Chemical group 0.000 description 2
- ZYGHJZDHTFUPRJ-UHFFFAOYSA-N coumarin Chemical compound C1=CC=C2OC(=O)C=CC2=C1 ZYGHJZDHTFUPRJ-UHFFFAOYSA-N 0.000 description 2
- 125000000753 cycloalkyl group Chemical group 0.000 description 2
- 230000005669 field effect Effects 0.000 description 2
- GVEPBJHOBDJJJI-UHFFFAOYSA-N fluoranthene Chemical group C1=CC(C2=CC=CC=C22)=C3C2=CC=CC3=C1 GVEPBJHOBDJJJI-UHFFFAOYSA-N 0.000 description 2
- 125000003983 fluorenyl group Chemical group C1(=CC=CC=2C3=CC=CC=C3CC12)* 0.000 description 2
- 150000002390 heteroarenes Chemical class 0.000 description 2
- 125000001072 heteroaryl group Chemical group 0.000 description 2
- AMGQUBHHOARCQH-UHFFFAOYSA-N indium;oxotin Chemical compound [In].[Sn]=O AMGQUBHHOARCQH-UHFFFAOYSA-N 0.000 description 2
- 125000001041 indolyl group Chemical group 0.000 description 2
- 150000002504 iridium compounds Chemical class 0.000 description 2
- 125000005582 pentacene group Chemical group 0.000 description 2
- JQQSUOJIMKJQHS-UHFFFAOYSA-N pentaphene Chemical group C1=CC=C2C=C3C4=CC5=CC=CC=C5C=C4C=CC3=CC2=C1 JQQSUOJIMKJQHS-UHFFFAOYSA-N 0.000 description 2
- YNPNZTXNASCQKK-UHFFFAOYSA-N phenanthrene Chemical group C1=CC=C2C3=CC=CC=C3C=CC2=C1 YNPNZTXNASCQKK-UHFFFAOYSA-N 0.000 description 2
- LFSXCDWNBUNEEM-UHFFFAOYSA-N phthalazine Chemical group C1=NN=CC2=CC=CC=C21 LFSXCDWNBUNEEM-UHFFFAOYSA-N 0.000 description 2
- IEQIEDJGQAUEQZ-UHFFFAOYSA-N phthalocyanine Chemical compound N1C(N=C2C3=CC=CC=C3C(N=C3C4=CC=CC=C4C(=N4)N3)=N2)=C(C=CC=C2)C2=C1N=C1C2=CC=CC=C2C4=N1 IEQIEDJGQAUEQZ-UHFFFAOYSA-N 0.000 description 2
- 125000001388 picenyl group Chemical group C1(=CC=CC2=CC=C3C4=CC=C5C=CC=CC5=C4C=CC3=C21)* 0.000 description 2
- 229920000139 polyethylene terephthalate Polymers 0.000 description 2
- 239000005020 polyethylene terephthalate Substances 0.000 description 2
- 239000002861 polymer material Substances 0.000 description 2
- 229920000123 polythiophene Polymers 0.000 description 2
- LVTJOONKWUXEFR-FZRMHRINSA-N protoneodioscin Natural products O(C[C@@H](CC[C@]1(O)[C@H](C)[C@@H]2[C@]3(C)[C@H]([C@H]4[C@@H]([C@]5(C)C(=CC4)C[C@@H](O[C@@H]4[C@H](O[C@H]6[C@@H](O)[C@@H](O)[C@@H](O)[C@H](C)O6)[C@@H](O)[C@H](O[C@H]6[C@@H](O)[C@@H](O)[C@@H](O)[C@H](C)O6)[C@H](CO)O4)CC5)CC3)C[C@@H]2O1)C)[C@H]1[C@H](O)[C@H](O)[C@H](O)[C@@H](CO)O1 LVTJOONKWUXEFR-FZRMHRINSA-N 0.000 description 2
- LNKHTYQPVMAJSF-UHFFFAOYSA-N pyranthrene Chemical group C1=C2C3=CC=CC=C3C=C(C=C3)C2=C2C3=CC3=C(C=CC=C4)C4=CC4=CC=C1C2=C34 LNKHTYQPVMAJSF-UHFFFAOYSA-N 0.000 description 2
- PBMFSQRYOILNGV-UHFFFAOYSA-N pyridazine Chemical group C1=CC=NN=C1 PBMFSQRYOILNGV-UHFFFAOYSA-N 0.000 description 2
- 229910052761 rare earth metal Inorganic materials 0.000 description 2
- 150000002910 rare earth metals Chemical class 0.000 description 2
- 230000006798 recombination Effects 0.000 description 2
- 238000005215 recombination Methods 0.000 description 2
- 238000007789 sealing Methods 0.000 description 2
- 229910052709 silver Inorganic materials 0.000 description 2
- 239000004332 silver Substances 0.000 description 2
- 239000002904 solvent Substances 0.000 description 2
- 239000010935 stainless steel Substances 0.000 description 2
- 229910001220 stainless steel Inorganic materials 0.000 description 2
- 235000021286 stilbenes Nutrition 0.000 description 2
- 238000003860 storage Methods 0.000 description 2
- 229910052715 tantalum Inorganic materials 0.000 description 2
- GUVRBAGPIYLISA-UHFFFAOYSA-N tantalum atom Chemical compound [Ta] GUVRBAGPIYLISA-UHFFFAOYSA-N 0.000 description 2
- 229910052718 tin Inorganic materials 0.000 description 2
- TVIVIEFSHFOWTE-UHFFFAOYSA-K tri(quinolin-8-yloxy)alumane Chemical compound [Al+3].C1=CN=C2C([O-])=CC=CC2=C1.C1=CN=C2C([O-])=CC=CC2=C1.C1=CN=C2C([O-])=CC=CC2=C1 TVIVIEFSHFOWTE-UHFFFAOYSA-K 0.000 description 2
- ILJSQTXMGCGYMG-UHFFFAOYSA-N triacetic acid Chemical compound CC(=O)CC(=O)CC(O)=O ILJSQTXMGCGYMG-UHFFFAOYSA-N 0.000 description 2
- 150000003852 triazoles Chemical group 0.000 description 2
- 125000005580 triphenylene group Chemical group 0.000 description 2
- 125000000391 vinyl group Chemical group [H]C([*])=C([H])[H] 0.000 description 2
- XLYOFNOQVPJJNP-UHFFFAOYSA-N water Chemical compound O XLYOFNOQVPJJNP-UHFFFAOYSA-N 0.000 description 2
- UAOUIVVJBYDFKD-XKCDOFEDSA-N (1R,9R,10S,11R,12R,15S,18S,21R)-10,11,21-trihydroxy-8,8-dimethyl-14-methylidene-4-(prop-2-enylamino)-20-oxa-5-thia-3-azahexacyclo[9.7.2.112,15.01,9.02,6.012,18]henicosa-2(6),3-dien-13-one Chemical compound C([C@@H]1[C@@H](O)[C@@]23C(C1=C)=O)C[C@H]2[C@]12C(N=C(NCC=C)S4)=C4CC(C)(C)[C@H]1[C@H](O)[C@]3(O)OC2 UAOUIVVJBYDFKD-XKCDOFEDSA-N 0.000 description 1
- IWZSHWBGHQBIML-ZGGLMWTQSA-N (3S,8S,10R,13S,14S,17S)-17-isoquinolin-7-yl-N,N,10,13-tetramethyl-2,3,4,7,8,9,11,12,14,15,16,17-dodecahydro-1H-cyclopenta[a]phenanthren-3-amine Chemical compound CN(C)[C@H]1CC[C@]2(C)C3CC[C@@]4(C)[C@@H](CC[C@@H]4c4ccc5ccncc5c4)[C@@H]3CC=C2C1 IWZSHWBGHQBIML-ZGGLMWTQSA-N 0.000 description 1
- UWRZIZXBOLBCON-VOTSOKGWSA-N (e)-2-phenylethenamine Chemical class N\C=C\C1=CC=CC=C1 UWRZIZXBOLBCON-VOTSOKGWSA-N 0.000 description 1
- SCYULBFZEHDVBN-UHFFFAOYSA-N 1,1-Dichloroethane Chemical compound CC(Cl)Cl SCYULBFZEHDVBN-UHFFFAOYSA-N 0.000 description 1
- OIAQMFOKAXHPNH-UHFFFAOYSA-N 1,2-diphenylbenzene Chemical group C1=CC=CC=C1C1=CC=CC=C1C1=CC=CC=C1 OIAQMFOKAXHPNH-UHFFFAOYSA-N 0.000 description 1
- VERMWGQSKPXSPZ-BUHFOSPRSA-N 1-[(e)-2-phenylethenyl]anthracene Chemical class C=1C=CC2=CC3=CC=CC=C3C=C2C=1\C=C\C1=CC=CC=C1 VERMWGQSKPXSPZ-BUHFOSPRSA-N 0.000 description 1
- SULWTXOWAFVWOY-PHEQNACWSA-N 2,3-bis[(E)-2-phenylethenyl]pyrazine Chemical class C=1C=CC=CC=1/C=C/C1=NC=CN=C1\C=C\C1=CC=CC=C1 SULWTXOWAFVWOY-PHEQNACWSA-N 0.000 description 1
- MVWPVABZQQJTPL-UHFFFAOYSA-N 2,3-diphenylcyclohexa-2,5-diene-1,4-dione Chemical class O=C1C=CC(=O)C(C=2C=CC=CC=2)=C1C1=CC=CC=C1 MVWPVABZQQJTPL-UHFFFAOYSA-N 0.000 description 1
- HONWGFNQCPRRFM-UHFFFAOYSA-N 2-n-(3-methylphenyl)-1-n,1-n,2-n-triphenylbenzene-1,2-diamine Chemical compound CC1=CC=CC(N(C=2C=CC=CC=2)C=2C(=CC=CC=2)N(C=2C=CC=CC=2)C=2C=CC=CC=2)=C1 HONWGFNQCPRRFM-UHFFFAOYSA-N 0.000 description 1
- 125000003903 2-propenyl group Chemical group [H]C([*])([H])C([H])=C([H])[H] 0.000 description 1
- 125000001494 2-propynyl group Chemical group [H]C#CC([H])([H])* 0.000 description 1
- MGADZUXDNSDTHW-UHFFFAOYSA-N 2H-pyran Chemical compound C1OC=CC=C1 MGADZUXDNSDTHW-UHFFFAOYSA-N 0.000 description 1
- ZJSMHFNBMMAKRI-UHFFFAOYSA-N 4-[4-(4-methoxyanilino)phenyl]aniline Chemical group COC1=CC=C(C=C1)NC1=CC=C(C=C1)C1=CC=C(C=C1)N ZJSMHFNBMMAKRI-UHFFFAOYSA-N 0.000 description 1
- AHDTYXOIJHCGKH-UHFFFAOYSA-N 4-[[4-(dimethylamino)-2-methylphenyl]-phenylmethyl]-n,n,3-trimethylaniline Chemical compound CC1=CC(N(C)C)=CC=C1C(C=1C(=CC(=CC=1)N(C)C)C)C1=CC=CC=C1 AHDTYXOIJHCGKH-UHFFFAOYSA-N 0.000 description 1
- ZOKIJILZFXPFTO-UHFFFAOYSA-N 4-methyl-n-[4-[1-[4-(4-methyl-n-(4-methylphenyl)anilino)phenyl]cyclohexyl]phenyl]-n-(4-methylphenyl)aniline Chemical compound C1=CC(C)=CC=C1N(C=1C=CC(=CC=1)C1(CCCCC1)C=1C=CC(=CC=1)N(C=1C=CC(C)=CC=1)C=1C=CC(C)=CC=1)C1=CC=C(C)C=C1 ZOKIJILZFXPFTO-UHFFFAOYSA-N 0.000 description 1
- DUSWRTUHJVJVRY-UHFFFAOYSA-N 4-methyl-n-[4-[2-[4-(4-methyl-n-(4-methylphenyl)anilino)phenyl]propan-2-yl]phenyl]-n-(4-methylphenyl)aniline Chemical compound C1=CC(C)=CC=C1N(C=1C=CC(=CC=1)C(C)(C)C=1C=CC(=CC=1)N(C=1C=CC(C)=CC=1)C=1C=CC(C)=CC=1)C1=CC=C(C)C=C1 DUSWRTUHJVJVRY-UHFFFAOYSA-N 0.000 description 1
- MVIXNQZIMMIGEL-UHFFFAOYSA-N 4-methyl-n-[4-[4-(4-methyl-n-(4-methylphenyl)anilino)phenyl]phenyl]-n-(4-methylphenyl)aniline Chemical group C1=CC(C)=CC=C1N(C=1C=CC(=CC=1)C=1C=CC(=CC=1)N(C=1C=CC(C)=CC=1)C=1C=CC(C)=CC=1)C1=CC=C(C)C=C1 MVIXNQZIMMIGEL-UHFFFAOYSA-N 0.000 description 1
- XIQGFRHAIQHZBD-UHFFFAOYSA-N 4-methyl-n-[4-[[4-(4-methyl-n-(4-methylphenyl)anilino)phenyl]-phenylmethyl]phenyl]-n-(4-methylphenyl)aniline Chemical compound C1=CC(C)=CC=C1N(C=1C=CC(=CC=1)C(C=1C=CC=CC=1)C=1C=CC(=CC=1)N(C=1C=CC(C)=CC=1)C=1C=CC(C)=CC=1)C1=CC=C(C)C=C1 XIQGFRHAIQHZBD-UHFFFAOYSA-N 0.000 description 1
- ZYASLTYCYTYKFC-UHFFFAOYSA-N 9-methylidenefluorene Chemical class C1=CC=C2C(=C)C3=CC=CC=C3C2=C1 ZYASLTYCYTYKFC-UHFFFAOYSA-N 0.000 description 1
- VIJYEGDOKCKUOL-UHFFFAOYSA-N 9-phenylcarbazole Chemical compound C1=CC=CC=C1N1C2=CC=CC=C2C2=CC=CC=C21 VIJYEGDOKCKUOL-UHFFFAOYSA-N 0.000 description 1
- WKBOTKDWSSQWDR-UHFFFAOYSA-N Bromine atom Chemical group [Br] WKBOTKDWSSQWDR-UHFFFAOYSA-N 0.000 description 1
- OJRUSAPKCPIVBY-KQYNXXCUSA-N C1=NC2=C(N=C(N=C2N1[C@H]3[C@@H]([C@@H]([C@H](O3)COP(=O)(CP(=O)(O)O)O)O)O)I)N Chemical compound C1=NC2=C(N=C(N=C2N1[C@H]3[C@@H]([C@@H]([C@H](O3)COP(=O)(CP(=O)(O)O)O)O)O)I)N OJRUSAPKCPIVBY-KQYNXXCUSA-N 0.000 description 1
- MSDMPJCOOXURQD-UHFFFAOYSA-N C545T Chemical compound C1=CC=C2SC(C3=CC=4C=C5C6=C(C=4OC3=O)C(C)(C)CCN6CCC5(C)C)=NC2=C1 MSDMPJCOOXURQD-UHFFFAOYSA-N 0.000 description 1
- LGLLZEBRIDGMFH-UHFFFAOYSA-N CC(C1)N=Cc2c1c(cccc1)c1[n]2-c1ccc(C(C(F)(F)F)(C(F)(F)F)c(cc2)ccc2-[n]2c(cncc3)c3c3ccccc23)cc1 Chemical compound CC(C1)N=Cc2c1c(cccc1)c1[n]2-c1ccc(C(C(F)(F)F)(C(F)(F)F)c(cc2)ccc2-[n]2c(cncc3)c3c3ccccc23)cc1 LGLLZEBRIDGMFH-UHFFFAOYSA-N 0.000 description 1
- YVWUIQZWQRRGJE-UHFFFAOYSA-N C[n](c1c2cccc1)c1c2nccc1 Chemical compound C[n](c1c2cccc1)c1c2nccc1 YVWUIQZWQRRGJE-UHFFFAOYSA-N 0.000 description 1
- GMICDZQEMALDFW-UHFFFAOYSA-N C[n](c1c2nccc1)c1c2nccc1 Chemical compound C[n](c1c2nccc1)c1c2nccc1 GMICDZQEMALDFW-UHFFFAOYSA-N 0.000 description 1
- OKTJSMMVPCPJKN-UHFFFAOYSA-N Carbon Chemical compound [C] OKTJSMMVPCPJKN-UHFFFAOYSA-N 0.000 description 1
- JCVFHWYZQGNTPW-UHFFFAOYSA-N Cc(cc1C)cc(C)c1-c1cc(c2cc(-c3c(C)cc(C)cc3C)cnc2[n]2C)c2nc1 Chemical compound Cc(cc1C)cc(C)c1-c1cc(c2cc(-c3c(C)cc(C)cc3C)cnc2[n]2C)c2nc1 JCVFHWYZQGNTPW-UHFFFAOYSA-N 0.000 description 1
- 241000284156 Clerodendrum quadriloculare Species 0.000 description 1
- RYGMFSIKBFXOCR-UHFFFAOYSA-N Copper Chemical compound [Cu] RYGMFSIKBFXOCR-UHFFFAOYSA-N 0.000 description 1
- CKSXYOUAIFAOEB-UHFFFAOYSA-N FC(C(C(F)(F)F)(c(cc1)ccc1-[n]1c2ccncc2c2c1ccnc2)c(cc1)ccc1-[n]1c(ccnc2)c2c2cnccc12)(F)F Chemical compound FC(C(C(F)(F)F)(c(cc1)ccc1-[n]1c2ccncc2c2c1ccnc2)c(cc1)ccc1-[n]1c(ccnc2)c2c2cnccc12)(F)F CKSXYOUAIFAOEB-UHFFFAOYSA-N 0.000 description 1
- DGAQECJNVWCQMB-PUAWFVPOSA-M Ilexoside XXIX Chemical compound C[C@@H]1CC[C@@]2(CC[C@@]3(C(=CC[C@H]4[C@]3(CC[C@@H]5[C@@]4(CC[C@@H](C5(C)C)OS(=O)(=O)[O-])C)C)[C@@H]2[C@]1(C)O)C)C(=O)O[C@H]6[C@@H]([C@H]([C@@H]([C@H](O6)CO)O)O)O.[Na+] DGAQECJNVWCQMB-PUAWFVPOSA-M 0.000 description 1
- 229910000799 K alloy Inorganic materials 0.000 description 1
- PAYRUJLWNCNPSJ-UHFFFAOYSA-N N-phenyl amine Natural products NC1=CC=CC=C1 PAYRUJLWNCNPSJ-UHFFFAOYSA-N 0.000 description 1
- CBENFWSGALASAD-UHFFFAOYSA-N Ozone Chemical compound [O-][O+]=O CBENFWSGALASAD-UHFFFAOYSA-N 0.000 description 1
- 239000004696 Poly ether ether ketone Substances 0.000 description 1
- 229920012266 Poly(ether sulfone) PES Polymers 0.000 description 1
- 239000004697 Polyetherimide Substances 0.000 description 1
- 239000004642 Polyimide Substances 0.000 description 1
- 239000004734 Polyphenylene sulfide Substances 0.000 description 1
- NRCMAYZCPIVABH-UHFFFAOYSA-N Quinacridone Chemical compound N1C2=CC=CC=C2C(=O)C2=C1C=C1C(=O)C3=CC=CC=C3NC1=C2 NRCMAYZCPIVABH-UHFFFAOYSA-N 0.000 description 1
- XUIMIQQOPSSXEZ-UHFFFAOYSA-N Silicon Chemical compound [Si] XUIMIQQOPSSXEZ-UHFFFAOYSA-N 0.000 description 1
- 229910006404 SnO 2 Inorganic materials 0.000 description 1
- ATJFFYVFTNAWJD-UHFFFAOYSA-N Tin Chemical compound [Sn] ATJFFYVFTNAWJD-UHFFFAOYSA-N 0.000 description 1
- DEGMMTKFCIBVIE-UHFFFAOYSA-N [Ir].Cc1ccc(cc1)-c1ccccn1.Cc1ccc(cc1)-c1ccccn1.Cc1ccc(cc1)-c1ccccn1 Chemical compound [Ir].Cc1ccc(cc1)-c1ccccn1.Cc1ccc(cc1)-c1ccccn1.Cc1ccc(cc1)-c1ccccn1 DEGMMTKFCIBVIE-UHFFFAOYSA-N 0.000 description 1
- XHCLAFWTIXFWPH-UHFFFAOYSA-N [O-2].[O-2].[O-2].[O-2].[O-2].[V+5].[V+5] Chemical compound [O-2].[O-2].[O-2].[O-2].[O-2].[V+5].[V+5] XHCLAFWTIXFWPH-UHFFFAOYSA-N 0.000 description 1
- 125000002777 acetyl group Chemical group [H]C([H])([H])C(*)=O 0.000 description 1
- CUJRVFIICFDLGR-UHFFFAOYSA-N acetylacetonate Chemical compound CC(=O)[CH-]C(C)=O CUJRVFIICFDLGR-UHFFFAOYSA-N 0.000 description 1
- 125000003668 acetyloxy group Chemical group [H]C([H])([H])C(=O)O[*] 0.000 description 1
- 125000002252 acyl group Chemical group 0.000 description 1
- 125000004423 acyloxy group Chemical group 0.000 description 1
- 239000000853 adhesive Substances 0.000 description 1
- 230000001070 adhesive effect Effects 0.000 description 1
- 150000001339 alkali metal compounds Chemical class 0.000 description 1
- 150000001341 alkaline earth metal compounds Chemical class 0.000 description 1
- 125000003342 alkenyl group Chemical group 0.000 description 1
- 125000003545 alkoxy group Chemical group 0.000 description 1
- 125000004453 alkoxycarbonyl group Chemical group 0.000 description 1
- 125000004390 alkyl sulfonyl group Chemical group 0.000 description 1
- 125000004414 alkyl thio group Chemical group 0.000 description 1
- 125000000304 alkynyl group Chemical group 0.000 description 1
- IZJSTXINDUKPRP-UHFFFAOYSA-N aluminum lead Chemical compound [Al].[Pb] IZJSTXINDUKPRP-UHFFFAOYSA-N 0.000 description 1
- 125000003368 amide group Chemical group 0.000 description 1
- 229910003481 amorphous carbon Inorganic materials 0.000 description 1
- 125000002490 anilino group Chemical group [H]N(*)C1=C([H])C([H])=C([H])C([H])=C1[H] 0.000 description 1
- 150000008425 anthrones Chemical class 0.000 description 1
- 150000004982 aromatic amines Chemical class 0.000 description 1
- 125000005161 aryl oxy carbonyl group Chemical group 0.000 description 1
- 125000004391 aryl sulfonyl group Chemical group 0.000 description 1
- 125000005110 aryl thio group Chemical group 0.000 description 1
- 125000004104 aryloxy group Chemical group 0.000 description 1
- 125000003236 benzoyl group Chemical group [H]C1=C([H])C([H])=C(C([H])=C1[H])C(*)=O 0.000 description 1
- 230000005540 biological transmission Effects 0.000 description 1
- 150000001638 boron Chemical class 0.000 description 1
- 125000006309 butyl amino group Chemical group 0.000 description 1
- 125000000484 butyl group Chemical group [H]C([*])([H])C([H])([H])C([H])([H])C([H])([H])[H] 0.000 description 1
- 125000004744 butyloxycarbonyl group Chemical group 0.000 description 1
- 229910052791 calcium Inorganic materials 0.000 description 1
- 125000001951 carbamoylamino group Chemical group C(N)(=O)N* 0.000 description 1
- 150000001716 carbazoles Chemical class 0.000 description 1
- 150000001718 carbodiimides Chemical class 0.000 description 1
- 150000001722 carbon compounds Chemical class 0.000 description 1
- 125000002915 carbonyl group Chemical group [*:2]C([*:1])=O 0.000 description 1
- 239000010406 cathode material Substances 0.000 description 1
- 239000001913 cellulose Substances 0.000 description 1
- 229920002678 cellulose Polymers 0.000 description 1
- HKQOBOMRSSHSTC-UHFFFAOYSA-N cellulose acetate Chemical compound OC1C(O)C(O)C(CO)OC1OC1C(CO)OC(O)C(O)C1O.CC(=O)OCC1OC(OC(C)=O)C(OC(C)=O)C(OC(C)=O)C1OC1C(OC(C)=O)C(OC(C)=O)C(OC(C)=O)C(COC(C)=O)O1.CCC(=O)OCC1OC(OC(=O)CC)C(OC(=O)CC)C(OC(=O)CC)C1OC1C(OC(=O)CC)C(OC(=O)CC)C(OC(=O)CC)C(COC(=O)CC)O1 HKQOBOMRSSHSTC-UHFFFAOYSA-N 0.000 description 1
- 239000007806 chemical reaction intermediate Substances 0.000 description 1
- 229910052801 chlorine Inorganic materials 0.000 description 1
- 125000001309 chloro group Chemical group Cl* 0.000 description 1
- 238000004140 cleaning Methods 0.000 description 1
- 230000000295 complement effect Effects 0.000 description 1
- 229940125758 compound 15 Drugs 0.000 description 1
- 229920001577 copolymer Polymers 0.000 description 1
- 229960000956 coumarin Drugs 0.000 description 1
- 235000001671 coumarin Nutrition 0.000 description 1
- 125000004093 cyano group Chemical group *C#N 0.000 description 1
- 125000005366 cycloalkylthio group Chemical group 0.000 description 1
- 125000006639 cyclohexyl carbonyl group Chemical group 0.000 description 1
- 125000000113 cyclohexyl group Chemical group [H]C1([H])C([H])([H])C([H])([H])C([H])(*)C([H])([H])C1([H])[H] 0.000 description 1
- 125000002933 cyclohexyloxy group Chemical group C1(CCCCC1)O* 0.000 description 1
- 125000006312 cyclopentyl amino group Chemical group [H]N(*)C1([H])C([H])([H])C([H])([H])C([H])([H])C1([H])[H] 0.000 description 1
- 125000001511 cyclopentyl group Chemical group [H]C1([H])C([H])([H])C([H])([H])C([H])(*)C1([H])[H] 0.000 description 1
- 125000001887 cyclopentyloxy group Chemical group C1(CCCC1)O* 0.000 description 1
- 238000011161 development Methods 0.000 description 1
- 150000001354 dialkyl silanes Chemical class 0.000 description 1
- 125000006263 dimethyl aminosulfonyl group Chemical group [H]C([H])([H])N(C([H])([H])[H])S(*)(=O)=O 0.000 description 1
- 125000002147 dimethylamino group Chemical group [H]C([H])([H])N(*)C([H])([H])[H] 0.000 description 1
- 125000003438 dodecyl group Chemical group [H]C([H])([H])C([H])([H])C([H])([H])C([H])([H])C([H])([H])C([H])([H])C([H])([H])C([H])([H])C([H])([H])C([H])([H])C([H])([H])C([H])([H])* 0.000 description 1
- 230000000694 effects Effects 0.000 description 1
- 125000006575 electron-withdrawing group Chemical group 0.000 description 1
- 229920000775 emeraldine polymer Polymers 0.000 description 1
- 125000003700 epoxy group Chemical group 0.000 description 1
- 125000001301 ethoxy group Chemical group [H]C([H])([H])C([H])([H])O* 0.000 description 1
- 125000001495 ethyl group Chemical group [H]C([H])([H])C([H])([H])* 0.000 description 1
- 125000000031 ethylamino group Chemical group [H]C([H])([H])C([H])([H])N([H])[*] 0.000 description 1
- 125000004672 ethylcarbonyl group Chemical group [H]C([H])([H])C([H])([H])C(*)=O 0.000 description 1
- 125000006125 ethylsulfonyl group Chemical group 0.000 description 1
- 125000004705 ethylthio group Chemical group C(C)S* 0.000 description 1
- 125000002534 ethynyl group Chemical group [H]C#C* 0.000 description 1
- 238000001704 evaporation Methods 0.000 description 1
- 230000008020 evaporation Effects 0.000 description 1
- 230000005284 excitation Effects 0.000 description 1
- 150000008376 fluorenones Chemical class 0.000 description 1
- GNBHRKFJIUUOQI-UHFFFAOYSA-N fluorescein Chemical compound O1C(=O)C2=CC=CC=C2C21C1=CC=C(O)C=C1OC1=CC(O)=CC=C21 GNBHRKFJIUUOQI-UHFFFAOYSA-N 0.000 description 1
- 229910052731 fluorine Inorganic materials 0.000 description 1
- 125000001153 fluoro group Chemical group F* 0.000 description 1
- 125000004216 fluoromethyl group Chemical group [H]C([H])(F)* 0.000 description 1
- 238000005755 formation reaction Methods 0.000 description 1
- 150000002240 furans Chemical class 0.000 description 1
- 125000002541 furyl group Chemical group 0.000 description 1
- 229910052733 gallium Inorganic materials 0.000 description 1
- 125000001590 germanediyl group Chemical group [H][Ge]([H])(*)* 0.000 description 1
- 230000009477 glass transition Effects 0.000 description 1
- 125000005843 halogen group Chemical group 0.000 description 1
- 229910001385 heavy metal Inorganic materials 0.000 description 1
- RBTKNAXYKSUFRK-UHFFFAOYSA-N heliogen blue Chemical compound [Cu].[N-]1C2=C(C=CC=C3)C3=C1N=C([N-]1)C3=CC=CC=C3C1=NC([N-]1)=C(C=CC=C3)C3=C1N=C([N-]1)C3=CC=CC=C3C1=N2 RBTKNAXYKSUFRK-UHFFFAOYSA-N 0.000 description 1
- 125000000623 heterocyclic group Chemical group 0.000 description 1
- 125000004051 hexyl group Chemical group [H]C([H])([H])C([H])([H])C([H])([H])C([H])([H])C([H])([H])C([H])([H])* 0.000 description 1
- 125000003707 hexyloxy group Chemical group [H]C([H])([H])C([H])([H])C([H])([H])C([H])([H])C([H])([H])C([H])([H])O* 0.000 description 1
- 229940083761 high-ceiling diuretics pyrazolone derivative Drugs 0.000 description 1
- 150000007857 hydrazones Chemical class 0.000 description 1
- 125000002887 hydroxy group Chemical group [H]O* 0.000 description 1
- 150000002460 imidazoles Chemical class 0.000 description 1
- 239000011261 inert gas Substances 0.000 description 1
- 238000007641 inkjet printing Methods 0.000 description 1
- 150000002484 inorganic compounds Chemical class 0.000 description 1
- 229910010272 inorganic material Inorganic materials 0.000 description 1
- 239000000543 intermediate Substances 0.000 description 1
- 229940079865 intestinal antiinfectives imidazole derivative Drugs 0.000 description 1
- 150000002500 ions Chemical class 0.000 description 1
- UEEXRMUCXBPYOV-UHFFFAOYSA-N iridium;2-phenylpyridine Chemical compound [Ir].C1=CC=CC=C1C1=CC=CC=N1.C1=CC=CC=C1C1=CC=CC=N1.C1=CC=CC=C1C1=CC=CC=N1 UEEXRMUCXBPYOV-UHFFFAOYSA-N 0.000 description 1
- 229960004592 isopropanol Drugs 0.000 description 1
- 125000001449 isopropyl group Chemical group [H]C([H])([H])C([H])(*)C([H])([H])[H] 0.000 description 1
- 229910052745 lead Inorganic materials 0.000 description 1
- ORUIBWPALBXDOA-UHFFFAOYSA-L magnesium fluoride Chemical compound [F-].[F-].[Mg+2] ORUIBWPALBXDOA-UHFFFAOYSA-L 0.000 description 1
- 229910001635 magnesium fluoride Inorganic materials 0.000 description 1
- 238000005259 measurement Methods 0.000 description 1
- 125000000956 methoxy group Chemical group [H]C([H])([H])O* 0.000 description 1
- 125000006261 methyl amino sulfonyl group Chemical group [H]N(C([H])([H])[H])S(*)(=O)=O 0.000 description 1
- 125000002496 methyl group Chemical group [H]C([H])([H])* 0.000 description 1
- 125000004458 methylaminocarbonyl group Chemical group [H]N(C(*)=O)C([H])([H])[H] 0.000 description 1
- 125000002816 methylsulfanyl group Chemical group [H]C([H])([H])S[*] 0.000 description 1
- 125000006216 methylsulfinyl group Chemical group [H]C([H])([H])S(*)=O 0.000 description 1
- 125000004170 methylsulfonyl group Chemical group [H]C([H])([H])S(*)(=O)=O 0.000 description 1
- 125000001421 myristyl group Chemical group [H]C([*])([H])C([H])([H])C([H])([H])C([H])([H])C([H])([H])C([H])([H])C([H])([H])C([H])([H])C([H])([H])C([H])([H])C([H])([H])C([H])([H])C([H])([H])C([H])([H])[H] 0.000 description 1
- AODWRBPUCXIRKB-UHFFFAOYSA-N naphthalene perylene Chemical group C1=CC=CC2=CC=CC=C21.C1=CC(C2=CC=CC=3C2=C2C=CC=3)=C3C2=CC=CC3=C1 AODWRBPUCXIRKB-UHFFFAOYSA-N 0.000 description 1
- 125000005184 naphthylamino group Chemical group C1(=CC=CC2=CC=CC=C12)N* 0.000 description 1
- 125000005185 naphthylcarbonyl group Chemical group C1(=CC=CC2=CC=CC=C12)C(=O)* 0.000 description 1
- 125000005186 naphthyloxy group Chemical group C1(=CC=CC2=CC=CC=C12)O* 0.000 description 1
- 125000005146 naphthylsulfonyl group Chemical group C1(=CC=CC2=CC=CC=C12)S(=O)(=O)* 0.000 description 1
- 125000005029 naphthylthio group Chemical group C1(=CC=CC2=CC=CC=C12)S* 0.000 description 1
- YCWSUKQGVSGXJO-NTUHNPAUSA-N nifuroxazide Chemical group C1=CC(O)=CC=C1C(=O)N\N=C\C1=CC=C([N+]([O-])=O)O1 YCWSUKQGVSGXJO-NTUHNPAUSA-N 0.000 description 1
- 125000000449 nitro group Chemical group [O-][N+](*)=O 0.000 description 1
- 125000002347 octyl group Chemical group [H]C([*])([H])C([H])([H])C([H])([H])C([H])([H])C([H])([H])C([H])([H])C([H])([H])C([H])([H])[H] 0.000 description 1
- 125000005447 octyloxy group Chemical group [H]C([H])([H])C([H])([H])C([H])([H])C([H])([H])C([H])([H])C([H])([H])C([H])([H])C([H])([H])O* 0.000 description 1
- 230000010355 oscillation Effects 0.000 description 1
- 150000002908 osmium compounds Chemical class 0.000 description 1
- 150000007978 oxazole derivatives Chemical class 0.000 description 1
- 230000003647 oxidation Effects 0.000 description 1
- 238000007254 oxidation reaction Methods 0.000 description 1
- GPRIERYVMZVKTC-UHFFFAOYSA-N p-quaterphenyl Chemical group C1=CC=CC=C1C1=CC=C(C=2C=CC(=CC=2)C=2C=CC=CC=2)C=C1 GPRIERYVMZVKTC-UHFFFAOYSA-N 0.000 description 1
- 125000002958 pentadecyl group Chemical group [H]C([*])([H])C([H])([H])C([H])([H])C([H])([H])C([H])([H])C([H])([H])C([H])([H])C([H])([H])C([H])([H])C([H])([H])C([H])([H])C([H])([H])C([H])([H])C([H])([H])C([H])([H])[H] 0.000 description 1
- 125000006340 pentafluoro ethyl group Chemical group FC(F)(F)C(F)(F)* 0.000 description 1
- 125000000538 pentafluorophenyl group Chemical group FC1=C(F)C(F)=C(*)C(F)=C1F 0.000 description 1
- 125000004115 pentoxy group Chemical group [*]OC([H])([H])C([H])([H])C([H])([H])C(C([H])([H])[H])([H])[H] 0.000 description 1
- 125000001147 pentyl group Chemical group C(CCCC)* 0.000 description 1
- 125000004675 pentylcarbonyl group Chemical group C(CCCC)C(=O)* 0.000 description 1
- 230000000737 periodic effect Effects 0.000 description 1
- CSHWQDPOILHKBI-UHFFFAOYSA-N peryrene Natural products C1=CC(C2=CC=CC=3C2=C2C=CC=3)=C3C2=CC=CC3=C1 CSHWQDPOILHKBI-UHFFFAOYSA-N 0.000 description 1
- 125000000951 phenoxy group Chemical group [H]C1=C([H])C([H])=C(O*)C([H])=C1[H] 0.000 description 1
- 150000004986 phenylenediamines Chemical class 0.000 description 1
- 125000003356 phenylsulfanyl group Chemical group [*]SC1=C([H])C([H])=C([H])C([H])=C1[H] 0.000 description 1
- 125000003170 phenylsulfonyl group Chemical group C1(=CC=CC=C1)S(=O)(=O)* 0.000 description 1
- 239000011574 phosphorus Substances 0.000 description 1
- 238000000206 photolithography Methods 0.000 description 1
- 125000004592 phthalazinyl group Chemical group C1(=NN=CC2=CC=CC=C12)* 0.000 description 1
- 239000004033 plastic Substances 0.000 description 1
- 229920003023 plastic Polymers 0.000 description 1
- 229920003227 poly(N-vinyl carbazole) Polymers 0.000 description 1
- 229920000767 polyaniline Polymers 0.000 description 1
- 229920001230 polyarylate Polymers 0.000 description 1
- 239000004417 polycarbonate Substances 0.000 description 1
- 229920000515 polycarbonate Polymers 0.000 description 1
- 229920002530 polyetherether ketone Polymers 0.000 description 1
- 229920001601 polyetherimide Polymers 0.000 description 1
- 239000011112 polyethylene naphthalate Substances 0.000 description 1
- 229920001721 polyimide Polymers 0.000 description 1
- 229920000069 polyphenylene sulfide Polymers 0.000 description 1
- BITYAPCSNKJESK-UHFFFAOYSA-N potassiosodium Chemical compound [Na].[K] BITYAPCSNKJESK-UHFFFAOYSA-N 0.000 description 1
- 230000008569 process Effects 0.000 description 1
- 238000012545 processing Methods 0.000 description 1
- 125000002572 propoxy group Chemical group [*]OC([H])([H])C(C([H])([H])[H])([H])[H] 0.000 description 1
- 125000001436 propyl group Chemical group [H]C([*])([H])C([H])([H])C([H])([H])[H] 0.000 description 1
- 125000004673 propylcarbonyl group Chemical group 0.000 description 1
- JEXVQSWXXUJEMA-UHFFFAOYSA-N pyrazol-3-one Chemical class O=C1C=CN=N1 JEXVQSWXXUJEMA-UHFFFAOYSA-N 0.000 description 1
- 150000003219 pyrazolines Chemical class 0.000 description 1
- 125000002098 pyridazinyl group Chemical group 0.000 description 1
- 125000004076 pyridyl group Chemical group 0.000 description 1
- 125000005400 pyridylcarbonyl group Chemical group N1=C(C=CC=C1)C(=O)* 0.000 description 1
- WVIICGIFSIBFOG-UHFFFAOYSA-N pyrylium Chemical compound C1=CC=[O+]C=C1 WVIICGIFSIBFOG-UHFFFAOYSA-N 0.000 description 1
- 239000010453 quartz Substances 0.000 description 1
- MCJGNVYPOGVAJF-UHFFFAOYSA-N quinolin-8-ol Chemical class C1=CN=C2C(O)=CC=CC2=C1 MCJGNVYPOGVAJF-UHFFFAOYSA-N 0.000 description 1
- DLJHXMRDIWMMGO-UHFFFAOYSA-N quinolin-8-ol;zinc Chemical compound [Zn].C1=CN=C2C(O)=CC=CC2=C1.C1=CN=C2C(O)=CC=CC2=C1 DLJHXMRDIWMMGO-UHFFFAOYSA-N 0.000 description 1
- 238000011160 research Methods 0.000 description 1
- 230000004044 response Effects 0.000 description 1
- 230000002441 reversible effect Effects 0.000 description 1
- 239000001022 rhodamine dye Substances 0.000 description 1
- 229920006395 saturated elastomer Polymers 0.000 description 1
- 239000004065 semiconductor Substances 0.000 description 1
- 238000004904 shortening Methods 0.000 description 1
- 239000010703 silicon Substances 0.000 description 1
- VYPSYNLAJGMNEJ-UHFFFAOYSA-N silicon dioxide Inorganic materials O=[Si]=O VYPSYNLAJGMNEJ-UHFFFAOYSA-N 0.000 description 1
- 125000003808 silyl group Chemical group [H][Si]([H])([H])[*] 0.000 description 1
- 229910052708 sodium Inorganic materials 0.000 description 1
- 239000011734 sodium Substances 0.000 description 1
- 239000007787 solid Substances 0.000 description 1
- 230000007928 solubilization Effects 0.000 description 1
- 238000005063 solubilization Methods 0.000 description 1
- 239000000243 solution Substances 0.000 description 1
- 241000894007 species Species 0.000 description 1
- 230000006641 stabilisation Effects 0.000 description 1
- 238000011105 stabilization Methods 0.000 description 1
- 229910052712 strontium Inorganic materials 0.000 description 1
- CIOAGBVUUVVLOB-UHFFFAOYSA-N strontium atom Chemical compound [Sr] CIOAGBVUUVVLOB-UHFFFAOYSA-N 0.000 description 1
- 125000005504 styryl group Chemical group 0.000 description 1
- 239000000126 substance Substances 0.000 description 1
- 125000000475 sulfinyl group Chemical group [*:2]S([*:1])=O 0.000 description 1
- 125000000542 sulfonic acid group Chemical group 0.000 description 1
- 230000001360 synchronised effect Effects 0.000 description 1
- 238000003786 synthesis reaction Methods 0.000 description 1
- 229940042055 systemic antimycotics triazole derivative Drugs 0.000 description 1
- 125000000999 tert-butyl group Chemical group [H]C([H])([H])C(*)(C([H])([H])[H])C([H])([H])[H] 0.000 description 1
- 150000004867 thiadiazoles Chemical class 0.000 description 1
- 125000000335 thiazolyl group Chemical group 0.000 description 1
- 125000001544 thienyl group Chemical group 0.000 description 1
- 125000003396 thiol group Chemical group [H]S* 0.000 description 1
- ANRHNWWPFJCPAZ-UHFFFAOYSA-M thionine Chemical compound [Cl-].C1=CC(N)=CC2=[S+]C3=CC(N)=CC=C3N=C21 ANRHNWWPFJCPAZ-UHFFFAOYSA-M 0.000 description 1
- 229930192474 thiophene Natural products 0.000 description 1
- 150000003577 thiophenes Chemical class 0.000 description 1
- IBBLKSWSCDAPIF-UHFFFAOYSA-N thiopyran Chemical compound S1C=CC=C=C1 IBBLKSWSCDAPIF-UHFFFAOYSA-N 0.000 description 1
- 238000002834 transmittance Methods 0.000 description 1
- 239000012780 transparent material Substances 0.000 description 1
- 125000005259 triarylamine group Chemical group 0.000 description 1
- 125000004306 triazinyl group Chemical group 0.000 description 1
- 125000002889 tridecyl group Chemical group [H]C([*])([H])C([H])([H])C([H])([H])C([H])([H])C([H])([H])C([H])([H])C([H])([H])C([H])([H])C([H])([H])C([H])([H])C([H])([H])C([H])([H])C([H])([H])[H] 0.000 description 1
- 125000002023 trifluoromethyl group Chemical group FC(F)(F)* 0.000 description 1
- 125000000025 triisopropylsilyl group Chemical group C(C)(C)[Si](C(C)C)(C(C)C)* 0.000 description 1
- 125000000026 trimethylsilyl group Chemical group [H]C([H])([H])[Si]([*])(C([H])([H])[H])C([H])([H])[H] 0.000 description 1
- 125000006617 triphenylamine group Chemical group 0.000 description 1
- WFKWXMTUELFFGS-UHFFFAOYSA-N tungsten Chemical compound [W] WFKWXMTUELFFGS-UHFFFAOYSA-N 0.000 description 1
- 229910052721 tungsten Inorganic materials 0.000 description 1
- 239000010937 tungsten Substances 0.000 description 1
- 238000007738 vacuum evaporation Methods 0.000 description 1
- 229910001935 vanadium oxide Inorganic materials 0.000 description 1
Images
Landscapes
- Electroluminescent Light Sources (AREA)
Abstract
【解決手段】 少なくとも1つの配位原子がカルベンである3座あるいはそれ以上の多座配位子を有する金属錯体であることを特徴とする有機エレクトロルミネッセンス素子用材料。
【選択図】 なし
Description
(3)前記金属錯体の中心金属MがIr、Pt、Re、Pd、Rh、ReまたはCuであることを特徴とする前記(1)または(2)に記載の有機エレクトロルミネッセンス素子用材料。
(7)前記多座配位子が4座配位子である金属錯体であることを特徴とする前記(1)〜(4)のいずれか1項に記載の有機エレクトロルミネッセンス素子用材料。
(9)前記多座配位子が5座配位子である金属錯体であることを特徴とする前記(1)〜(4)のいずれか1項に記載の有機エレクトロルミネッセンス素子用材料。
(12)前記一般式(5)で表されるN−ヘテロカルベンが下記一般式郡(6)で表されることを特徴とする前記(11)に記載の有機エレクトロルミネッセンス素子用材料。
(13)前記金属錯体が複核金属錯体であることを特徴とする前記(1)〜(12)のいずれか1項に記載の有機エレクトロルミネッセンス素子用材料。
(19)前記構成層の少なくとも一層は塗布によって形成されることを特徴とする前記(16)〜(18)のいずれか1項に記載の有機エレクトロルミネッセンス素子。
本発明の有機EL素子材料を用いて、有機EL素子を作製する場合、有機EL素子の構成層(詳細は後述する)の中で、発光層または正孔阻止層に用いることが好ましい。また、発光層中では上記のように、発光ドーパントとして好ましく用いられる。
発光層中の主成分であるホスト化合物である発光ホストに対する発光ドーパントとの混合比は好ましくは質量で0.1〜30質量%未満の範囲に調整することである。
発光ホスト(単にホストともいう)とは、2種以上の化合物で構成される発光層中にて混合比(質量)の最も多い化合物のことを意味し、それ以外の化合物については「ドーパント化合物(単に、ドーパントともいう)」という。例えば、発光層を化合物A、化合物Bという2種で構成し、その混合比がA:B=10:90であれば化合物Aがドーパント化合物であり、化合物Bがホスト化合物である。更に発光層を化合物A、化合物B、化合物Cの3種から構成し、その混合比がA:B:C=5:10:85であれば、化合物A、化合物Bがドーパント化合物であり、化合物Cがホスト化合物である。
本発明の有機EL素子の構成層について説明する。
(ii)陽極/正孔輸送層/発光層/電子輸送層/陰極
(iii)陽極/正孔輸送層/発光層/正孔阻止層/電子輸送層/陰極
(iv)陽極/正孔輸送層/発光層/正孔阻止層/電子輸送層/陰極バッファー層/陰極
(v)陽極/陽極バッファー層/正孔輸送層/発光層/正孔阻止層/電子輸送層/陰極バッファー層/陰極
《発光層》
本発明においては、本発明の有機EL素子用材料は発光層において用いられることが好ましいが、これら以外にも上記のような公知の発光ホストや発光ドーパントを併用してもよい。
本発明に係る阻止層(例えば、電子阻止層、正孔阻止層)について説明する。本発明に係る阻止層の膜厚としては好ましくは3〜100nmであり、更に好ましくは5〜30nmである。
正孔阻止層とは広い意味では電子輸送層の機能を有し、電子を輸送する機能を有しつつ正孔を輸送する能力が著しく小さい材料からなり、電子を輸送しつつ正孔を阻止することで電子と正孔の再結合確率を向上させることができる。
一方、電子阻止層とは広い意味では正孔輸送層の機能を有し、正孔を輸送する機能を有しつつ電子を輸送する能力が著しく小さい材料からなり、正孔を輸送しつつ電子を阻止することで電子と正孔の再結合確率を向上させることができる。また、後述する正孔輸送層の構成を必要に応じて電子阻止層として用いることができる。
正孔輸送層とは正孔を輸送する機能を有する材料を含み、広い意味で正孔注入層、電子阻止層も正孔輸送層に含まれる。正孔輸送層は単層もしくは複数層設けることができる。
電子輸送層とは電子を輸送する機能を有する材料からなり、広い意味で電子注入層、正孔阻止層も電子輸送層に含まれる。電子輸送層は単層もしくは複数層を設けることができる。
注入層は必要に応じて設け、電子注入層と正孔注入層があり、上記のごとく陽極と発光層または正孔輸送層の間、及び陰極と発光層または電子輸送層との間に存在させてもよい。
本発明の有機EL素子に係る陽極としては、仕事関数の大きい(4eV以上)金属、合金、電気伝導性化合物及びこれらの混合物を電極物質とするものが好ましく用いられる。このような電極物質の具体例としては、Au等の金属、CuI、インジウムチンオキシド(ITO)、SnO2、ZnO等の導電性透明材料が挙げられる。また、IDIXO(In2O3−ZnO)等非晶質で透明導電膜を作製可能な材料を用いてもよい。陽極はこれらの電極物質を蒸着やスパッタリング等の方法により薄膜を形成させ、フォトリソグラフィー法で所望の形状のパターンを形成してもよく、あるいはパターン精度をあまり必要としない場合は(100μm以上程度)、上記電極物質の蒸着やスパッタリング時に所望の形状のマスクを介してパターンを形成してもよい。この陽極より発光を取り出す場合には、透過率を10%より大きくすることが望ましく、また、陽極としてのシート抵抗は数百Ω/□以下が好ましい。更に膜厚は材料にもよるが、通常10〜1000nm、好ましくは10〜200nmの範囲で選ばれる。
一方、本発明に係る陰極としては、仕事関数の小さい(4eV以下)金属(電子注入性金属と称する)、合金、電気伝導性化合物及びこれらの混合物を電極物質とするものが用いられる。このような電極物質の具体例としては、ナトリウム、ナトリウム−カリウム合金、マグネシウム、リチウム、マグネシウム/銅混合物、マグネシウム/銀混合物、マグネシウム/アルミニウム混合物、マグネシウム/インジウム混合物、アルミニウム/酸化アルミニウム(Al2O3)混合物、インジウム、リチウム/アルミニウム混合物、希土類金属等が挙げられる。これらの中で、電子注入性及び酸化等に対する耐久性の点から、電子注入性金属とこれより仕事関数の値が大きく安定な金属である第二金属との混合物、例えば、マグネシウム/銀混合物、マグネシウム/アルミニウム混合物、マグネシウム/インジウム混合物、アルミニウム/酸化アルミニウム(Al2O3)混合物、リチウム/アルミニウム混合物、アルミニウム等が好適である。陰極はこれらの電極物質を蒸着やスパッタリング等の方法により、薄膜を形成させることにより作製することができる。また、陰極としてのシート抵抗は数百Ω/□以下が好ましく、膜厚は通常10〜1000nm、好ましくは50〜200nmの範囲で選ばれる。なお、発光を透過させるため、有機EL素子の陽極または陰極のいずれか一方が、透明または半透明であれば発光輝度が向上し好都合である。
本発明の有機EL素子に係る基体としては、ガラス、プラスチック等の種類には特に限定はなく、また透明のものであれば特に制限はないが、好ましく用いられる基板としては、例えば、ガラス、石英、光透過性樹脂フィルムを挙げることができる。特に好ましい基体は、有機EL素子にフレキシブル性を与えることが可能な樹脂フィルムである。
本発明の有機EL素子の作製方法の一例として、陽極/正孔注入層/正孔輸送層/発光層/正孔阻止層/電子輸送層/陰極バッファー層/陰極からなる有機EL素子の作製法について説明する。
本発明の表示装置について説明する。
本発明の照明装置について説明する。
《有機EL素子−1の作製》
陽極としてガラス上にITOを150nm成膜した基板(NHテクノグラス社製:NA−45)にパターニングを行った後、このITO透明電極を設けた透明支持基板をiso−プロピルアルコールで超音波洗浄し、乾燥窒素ガスで乾燥し、UVオゾン洗浄を5分間行った。この透明支持基板を、市販の真空蒸着装置の基板ホルダーに固定し、一方5つのタンタル製抵抗加熱ボートに、α−NPD、CBP、Compound1、BCP、Alq3をそれぞれ入れ、真空蒸着装置(第1真空槽)に取り付けた。
上記の有機EL素子−1の作製において、表1に記載のように発光ドーパント、発光ホスト、正孔阻止材料を変更した以外は、同様にして有機EL素子−2〜−15を作製した。
有機EL素子−1〜−15を室温(約23〜25℃)、2.5mA/cm2の定電流条件下による点灯を行い、点灯開始直後の発光輝度(L)[cd/m2]を測定することにより外部取り出し量子効率(η)を算出した。ここで、発光輝度の測定はCS−1000(コニカミノルタセンシング(株)製)を用いた。また、外部取り出し量子効率は有機EL素子−1を100とした時の相対値で表した。
有機EL素子−1〜−15を室温下、2.5mA/cm2の定電流条件下による連続点灯を行い、初期輝度の半分の輝度になるのに要する時間(τ1/2)を測定した。また、発光寿命は有機EL素子−1を100とした時の相対値で表した。
《塗布による白色有機EL素子及び照明装置の作製》
25mm×25mm×0.5mmのガラス支持基板上に直流電源を用い、スパッタ法にてインジウム錫酸化物(ITO、インジウム/錫=95/5モル比)の陽極を形成した(厚み200nm)。この陽極の表面抵抗は10Ω/□であった。これにポリビニルカルバゾール(正孔輸送性バインダーポリマー)/本発明化合物15/本発明化合物28/2−(4−ビフェニリル)−5−(4−t−ブチルフェニル)−1,3,4−オキサジアゾール(電子輸送材料)=200/2/3/50質量比を溶解したジクロロエタン溶液をスピンコーターで塗布し、100nmの発光層を得た。
《フルカラー表示装置の作製》
(青色発光素子の作製)
実施例1の有機EL素子−5を青色発光素子として用いた。
実施例1の有機EL素子−9を緑色発光素子として用いた。
実施例1の有機EL素子−1において、発光ドーパントをIr−9に変えて作製した有機EL素子−16を赤色発光素子として用いた。
《白色発光素子及び白色照明装置の作製》
実施例1の透明電極基板の電極を20mm×20mmにパターニングし、その上に実施例1と同様に正孔注入/輸送層としてα−NPDを100nmの厚さで製膜し、更にA−74の入った前記加熱ボートと本発明化合物1の入ったボート及び本発明化合物19の入ったボートをそれぞれ独立に通電して、発光ホストであるA−74と発光ドーパントである本発明化合物15及び18の蒸着速度が100:7:2になるように調節し、膜厚40nmの厚さになるように蒸着し、発光層を設けた。
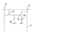
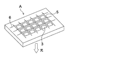
3 画素
5 走査線
6 データ線
7 電源ライン
10 有機EL素子
11 スイッチングトランジスタ
12 駆動トランジスタ
13 コンデンサ
A 表示部
B 制御部
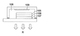
102 ガラスカバー
105 陰極
106 有機EL層
107 透明電極付きガラス基板
108 窒素ガス
109 捕水剤
Claims (21)
- 少なくとも1つの配位原子がカルベンである3座あるいはそれ以上の多座配位子を有する金属錯体であることを特徴とする有機エレクトロルミネッセンス素子用材料。
- 前記金属錯体が下記一般式(1)で表されることを特徴とする請求項1に記載の有機エレクトロルミネッセンス素子用材料。
(式中、Mは中心金属を表し、pは1以上の整数である。pが2以上の場合には金属は同種であっても異なっていてもよい。carbeneはカルベンを含む3座以上の多座配位子を表し、qは1以上の整数である。Kは単座あるいは多座の配位子を表し、rは0または1以上の整数である。このときcarbeneは下記一般式(2)を用いて表される鎖状あるいは環状の多座配位子である。)
(式中、X1、X2、Xはそれぞれ配位原子団を表し、少なくとも1つはカルベンである。L1、L2、L、L′はそれぞれ2価の連結基あるいは単なる結合を表す。mは3以上の整数を表し、sは0または1以上の整数である。nはm+1で表される整数であり、tは0または1であり、1である場合には(X)nとX1を結合して環を形成する。) - 前記金属錯体の中心金属MがIr、Pt、Re、Pd、Rh、ReまたはCuであることを特徴とする請求項1または2に記載の有機エレクトロルミネッセンス素子用材料。
- 前記多座配位子を構成する配位子のうち少なくとも2つがカルベンであることを特徴とする請求項1〜3のいずれか1項に記載の有機エレクトロルミネッセンス素子用材料。
- 前記多座配位子が3座配位子である金属錯体であることを特徴とする請求項1〜4のいずれか1項に記載の有機エレクトロルミネッセンス素子用材料。
- 前記多座配位子が4座配位子である金属錯体であることを特徴とする請求項1〜4のいずれか1項に記載の有機エレクトロルミネッセンス素子用材料。
- 前記多座配位子が5座配位子である金属錯体であることを特徴とする請求項1〜4のいずれか1項に記載の有機エレクトロルミネッセンス素子用材料。
- 前記多座配位子が6座配位子である金属錯体であることを特徴とする請求項1〜4のいずれか1項に記載の有機エレクトロルミネッセンス素子用材料。
- 前記金属錯体が複核金属錯体であることを特徴とする請求項1〜12のいずれか1項に記載の有機エレクトロルミネッセンス素子用材料。
- 前記金属錯体の中心金属MがIrまたはPtであることを特徴とする請求項1〜13のいずれか1項に記載の有機エレクトロルミネッセンス素子用材料。
- 前記金属錯体が高分子の主鎖あるいは側鎖の一部であることを特徴とする請求項1〜14のいずれか1項に記載の有機エレクトロルミネッセンス素子用材料。
- 請求項1〜15のいずれか1項に記載の有機エレクトロルミネッセンス素子用材料を構成層のいずれかに含有することを特徴とする有機エレクトロルミネッセンス素子。
- 構成層のうち発光層に請求項1〜15のいずれか1項に記載の有機エレクトロルミネッセンス素子用材料を含有することを特徴とする請求項16に記載の有機エレクトロルミネッセンス素子。
- 前記構成層の少なくとも一層は塗布によって形成されることを特徴とする請求項16〜18のいずれか1項に記載の有機エレクトロルミネッセンス素子。
- 請求項16〜19のいずれか1項に記載の有機エレクトロルミネッセンス素子を有することを特徴とする表示装置。
- 請求項16〜19のいずれか1項に記載の有機エレクトロルミネッセンス素子を有することを特徴とする照明装置。
Priority Applications (1)
| Application Number | Priority Date | Filing Date | Title |
|---|---|---|---|
| JP2005273168A JP2007084635A (ja) | 2005-09-21 | 2005-09-21 | 有機エレクトロルミネッセンス素子用材料、有機エレクトロルミネッセンス素子、表示装置及び照明装置 |
Applications Claiming Priority (1)
| Application Number | Priority Date | Filing Date | Title |
|---|---|---|---|
| JP2005273168A JP2007084635A (ja) | 2005-09-21 | 2005-09-21 | 有機エレクトロルミネッセンス素子用材料、有機エレクトロルミネッセンス素子、表示装置及び照明装置 |
Publications (1)
| Publication Number | Publication Date |
|---|---|
| JP2007084635A true JP2007084635A (ja) | 2007-04-05 |
Family
ID=37971950
Family Applications (1)
| Application Number | Title | Priority Date | Filing Date |
|---|---|---|---|
| JP2005273168A Pending JP2007084635A (ja) | 2005-09-21 | 2005-09-21 | 有機エレクトロルミネッセンス素子用材料、有機エレクトロルミネッセンス素子、表示装置及び照明装置 |
Country Status (1)
| Country | Link |
|---|---|
| JP (1) | JP2007084635A (ja) |
Cited By (35)
| Publication number | Priority date | Publication date | Assignee | Title |
|---|---|---|---|---|
| EP2031037A1 (en) | 2007-08-29 | 2009-03-04 | Fujifilm Corporation | Organic electroluminescence device |
| EP2036907A1 (en) | 2007-09-14 | 2009-03-18 | FUJIFILM Corporation | Organic electroluminescence device |
| EP2042508A1 (en) | 2007-09-25 | 2009-04-01 | FUJIFILM Corporation | Organic electroluminescence device |
| JP2009076509A (ja) * | 2007-09-18 | 2009-04-09 | Fujifilm Corp | 有機電界発光素子 |
| WO2008141637A3 (de) * | 2007-05-21 | 2009-04-16 | Osram Opto Semiconductors Gmbh | Phosphoreszente metallkomplexverbindung, strahlungsemittierendes bauelement aufweisend eine phosphoreszente metallkomplexverbindung und verfahren zur herstellung einer phosphoreszenten metallkomplexverbindung |
| EP2061086A2 (en) | 2007-11-15 | 2009-05-20 | FUJIFILM Corporation | Thin film field effect transistor and display using the same |
| EP2061087A2 (en) | 2007-11-15 | 2009-05-20 | FUJIFILM Corporation | Thin film field effect transistor and display using the same |
| EP2070936A1 (en) | 2007-12-14 | 2009-06-17 | Fujifilm Corporation | Platinum complex compound and organic electroluminescence device using the same |
| EP2096690A2 (en) | 2008-02-28 | 2009-09-02 | FUJIFILM Corporation | Organic electroluminescence device |
| EP2105967A1 (en) | 2008-03-24 | 2009-09-30 | FUJIFILM Corporation | Thin film field effect transistor and display |
| EP2112213A2 (en) | 2008-04-22 | 2009-10-28 | FUJIFILM Corporation | Organic electroluminescence device, novel platinum complex compound and novel compound capable of being a ligand thereof |
| EP2113548A1 (en) | 2008-04-24 | 2009-11-04 | FUJIFILM Corporation | Organic electroluminescence device |
| EP2214223A2 (en) | 2009-02-03 | 2010-08-04 | Fujifilm Corporation | Organic electroluminescence display device |
| WO2010093062A1 (en) | 2009-02-13 | 2010-08-19 | Fujifilm Corporation | Organic electroluminescence device, and method for producing the same |
| EP2226867A2 (en) | 2009-03-05 | 2010-09-08 | Fujifilm Corporation | Organic electroluminescence device |
| WO2010101011A1 (en) | 2009-03-03 | 2010-09-10 | Fujifilm Corporation | Method for producing light-emitting display device, light-emitting display device and light-emitting display |
| WO2011013626A1 (ja) | 2009-07-31 | 2011-02-03 | 富士フイルム株式会社 | 有機デバイス用蒸着材料及び有機デバイスの製造方法 |
| WO2011024976A1 (ja) | 2009-08-31 | 2011-03-03 | 富士フイルム株式会社 | 有機電界発光素子 |
| WO2011030883A1 (en) | 2009-09-14 | 2011-03-17 | Fujifilm Corporation | Color filter and light-emitting display element |
| WO2011030620A1 (en) | 2009-09-09 | 2011-03-17 | Fujifilm Corporation | Organic el device optical member and organic el device |
| WO2011030882A1 (en) | 2009-09-14 | 2011-03-17 | Fujifilm Corporation | Color filter and light-emitting display element |
| JP2011071458A (ja) * | 2009-01-07 | 2011-04-07 | Fujifilm Corp | 有機電界発光素子 |
| US8057780B2 (en) | 2008-05-20 | 2011-11-15 | Samsung Electronics Co., Ltd. | Method for preparing nanoparticles using carbene derivatives |
| WO2013050862A1 (ja) | 2011-10-07 | 2013-04-11 | ユーディーシー アイルランド リミテッド | 有機電界発光素子及び該素子用発光材料並びに発光装置、表示装置及び照明装置 |
| WO2013064881A2 (ja) | 2011-11-02 | 2013-05-10 | ユーディーシー アイルランド リミテッド | 有機電界発光素子、有機電界発光素子用材料並びに該有機電界発光素子を用いた発光装置、表示装置及び照明装置 |
| WO2013080798A1 (ja) | 2011-11-30 | 2013-06-06 | 富士フイルム株式会社 | 光拡散性転写材料、光拡散層の形成方法、有機電界発光装置、及び有機電界発光装置の製造方法 |
| US8492749B2 (en) | 2004-12-23 | 2013-07-23 | Basf Se | Electroluminescent metal complexes with nucleophilic carbene ligands |
| WO2013108069A2 (ja) | 2011-10-06 | 2013-07-25 | ユーディーシー アイルランド リミテッド | 有機電界発光素子とそれに用いることができる化合物および有機電界発光素子用材料、並びに該素子を用いた発光装置、表示装置及び照明装置 |
| DE102013201846A1 (de) | 2012-02-06 | 2013-08-14 | Udc Ireland Limited | Organisches Elektrolumineszenz-Element, Verbindung und Material für organisches Elektrolumineszenz-Element, die hier verrwendet werden können, Licht-emittierende Vorrichtung, Anzeigevorrichtung und Beleuchtungsvorrichtung, die jeweils das Element verwenden |
| JP2014099538A (ja) * | 2012-11-15 | 2014-05-29 | Konica Minolta Inc | 有機エレクトロルミネッセンス素子、表示装置及び照明装置 |
| US8859110B2 (en) | 2008-06-20 | 2014-10-14 | Basf Se | Cyclic phosphazene compounds and use thereof in organic light emitting diodes |
| US9139764B2 (en) | 2007-09-28 | 2015-09-22 | Osram Opto Semiconductors Gmbh | Organic radiation-emitting component |
| JP2017034281A (ja) * | 2016-10-31 | 2017-02-09 | コニカミノルタ株式会社 | 有機エレクトロルミネッセンス素子、表示装置及び照明装置 |
| JP2020072194A (ja) * | 2018-10-31 | 2020-05-07 | コニカミノルタ株式会社 | 非イオン性有機エレクトロニクス材料、電子デバイス、有機エレクトロルミネッセンス素子及び有機エレクトロルミネッセンス素子作製用溶液 |
| DE102013200942B4 (de) | 2012-01-23 | 2023-07-27 | Udc Ireland Ltd. | Organisches Elektrolumineszenz-Element, Ladungstransportmaterial für organisches Elektrolumineszenz-Element, und Licht-emittierende Vorrichtung, Anzeigevorrichtung und Beleuchtungsvorrichtung, die jeweils das Element umfassen |
Citations (2)
| Publication number | Priority date | Publication date | Assignee | Title |
|---|---|---|---|---|
| WO2007018067A1 (ja) * | 2005-08-05 | 2007-02-15 | Idemitsu Kosan Co., Ltd. | 遷移金属錯体化合物及びそれを用いた有機エレクトロルミネッセンス素子 |
| JP2007096259A (ja) * | 2005-04-25 | 2007-04-12 | Fujifilm Corp | 有機電界発光素子 |
-
2005
- 2005-09-21 JP JP2005273168A patent/JP2007084635A/ja active Pending
Patent Citations (2)
| Publication number | Priority date | Publication date | Assignee | Title |
|---|---|---|---|---|
| JP2007096259A (ja) * | 2005-04-25 | 2007-04-12 | Fujifilm Corp | 有機電界発光素子 |
| WO2007018067A1 (ja) * | 2005-08-05 | 2007-02-15 | Idemitsu Kosan Co., Ltd. | 遷移金属錯体化合物及びそれを用いた有機エレクトロルミネッセンス素子 |
Cited By (46)
| Publication number | Priority date | Publication date | Assignee | Title |
|---|---|---|---|---|
| US8492749B2 (en) | 2004-12-23 | 2013-07-23 | Basf Se | Electroluminescent metal complexes with nucleophilic carbene ligands |
| US9012899B2 (en) | 2004-12-23 | 2015-04-21 | Basf Se | Electroluminescent metal complexes with nucleophilic carbene ligands |
| EP2500398A3 (de) * | 2007-05-21 | 2012-10-03 | OSRAM Opto Semiconductors GmbH | Phosphoreszente Metallkomplexverbindung, strahlungsemittierendes Bauelement aufweisend eine phosphoreszente Metallkomplexverbindung und Verfahren zur Herstellung einer phosphoreszenten Metallkomplexverbindung |
| WO2008141637A3 (de) * | 2007-05-21 | 2009-04-16 | Osram Opto Semiconductors Gmbh | Phosphoreszente metallkomplexverbindung, strahlungsemittierendes bauelement aufweisend eine phosphoreszente metallkomplexverbindung und verfahren zur herstellung einer phosphoreszenten metallkomplexverbindung |
| US8734962B2 (en) | 2007-05-21 | 2014-05-27 | Osram Opto Semiconductors Gmbh | Phosphorescent metal complex compound radiation emitting component comprising a phosphorescent metal complex compound and method for production of a phosphorescent metal complex compound |
| CN101903492A (zh) * | 2007-05-21 | 2010-12-01 | 欧司朗光电半导体有限公司 | 磷光金属配位化合物,含有磷光金属配位化合物的发射辐射的元件和制备磷光金属配位化合物的方法 |
| US9966544B2 (en) | 2007-05-21 | 2018-05-08 | Osram Oled Gmbh | Phosphorescent metal complex compound radiation emitting component comprising a phosphorescent metal complex compound and method for production of a phosphorescent metal complex compound |
| EP2031037A1 (en) | 2007-08-29 | 2009-03-04 | Fujifilm Corporation | Organic electroluminescence device |
| EP2036907A1 (en) | 2007-09-14 | 2009-03-18 | FUJIFILM Corporation | Organic electroluminescence device |
| JP2009076509A (ja) * | 2007-09-18 | 2009-04-09 | Fujifilm Corp | 有機電界発光素子 |
| US9379338B1 (en) | 2007-09-25 | 2016-06-28 | Universal Display Corporation | Organic electroluminescence device |
| EP2042508A1 (en) | 2007-09-25 | 2009-04-01 | FUJIFILM Corporation | Organic electroluminescence device |
| US9139764B2 (en) | 2007-09-28 | 2015-09-22 | Osram Opto Semiconductors Gmbh | Organic radiation-emitting component |
| EP2061087A2 (en) | 2007-11-15 | 2009-05-20 | FUJIFILM Corporation | Thin film field effect transistor and display using the same |
| EP2061086A2 (en) | 2007-11-15 | 2009-05-20 | FUJIFILM Corporation | Thin film field effect transistor and display using the same |
| EP2070936A1 (en) | 2007-12-14 | 2009-06-17 | Fujifilm Corporation | Platinum complex compound and organic electroluminescence device using the same |
| EP2096690A2 (en) | 2008-02-28 | 2009-09-02 | FUJIFILM Corporation | Organic electroluminescence device |
| EP2105967A1 (en) | 2008-03-24 | 2009-09-30 | FUJIFILM Corporation | Thin film field effect transistor and display |
| EP2112213A2 (en) | 2008-04-22 | 2009-10-28 | FUJIFILM Corporation | Organic electroluminescence device, novel platinum complex compound and novel compound capable of being a ligand thereof |
| EP3081618A1 (en) | 2008-04-24 | 2016-10-19 | UDC Ireland Limited | Organic electroluminescence device |
| EP2113548A1 (en) | 2008-04-24 | 2009-11-04 | FUJIFILM Corporation | Organic electroluminescence device |
| KR101462653B1 (ko) | 2008-05-20 | 2014-11-17 | 삼성전자 주식회사 | 카르벤 유도체를 이용한 나노입자 제조방법 |
| US8057780B2 (en) | 2008-05-20 | 2011-11-15 | Samsung Electronics Co., Ltd. | Method for preparing nanoparticles using carbene derivatives |
| US8859110B2 (en) | 2008-06-20 | 2014-10-14 | Basf Se | Cyclic phosphazene compounds and use thereof in organic light emitting diodes |
| JP2011071458A (ja) * | 2009-01-07 | 2011-04-07 | Fujifilm Corp | 有機電界発光素子 |
| EP2214223A2 (en) | 2009-02-03 | 2010-08-04 | Fujifilm Corporation | Organic electroluminescence display device |
| WO2010093062A1 (en) | 2009-02-13 | 2010-08-19 | Fujifilm Corporation | Organic electroluminescence device, and method for producing the same |
| WO2010101011A1 (en) | 2009-03-03 | 2010-09-10 | Fujifilm Corporation | Method for producing light-emitting display device, light-emitting display device and light-emitting display |
| EP2226867A2 (en) | 2009-03-05 | 2010-09-08 | Fujifilm Corporation | Organic electroluminescence device |
| KR101235776B1 (ko) | 2009-07-31 | 2013-02-21 | 후지필름 가부시키가이샤 | 유기 디바이스용 증착 재료 및 유기 디바이스의 제조 방법 |
| WO2011013626A1 (ja) | 2009-07-31 | 2011-02-03 | 富士フイルム株式会社 | 有機デバイス用蒸着材料及び有機デバイスの製造方法 |
| WO2011024976A1 (ja) | 2009-08-31 | 2011-03-03 | 富士フイルム株式会社 | 有機電界発光素子 |
| WO2011030620A1 (en) | 2009-09-09 | 2011-03-17 | Fujifilm Corporation | Organic el device optical member and organic el device |
| WO2011030882A1 (en) | 2009-09-14 | 2011-03-17 | Fujifilm Corporation | Color filter and light-emitting display element |
| WO2011030883A1 (en) | 2009-09-14 | 2011-03-17 | Fujifilm Corporation | Color filter and light-emitting display element |
| WO2013108069A2 (ja) | 2011-10-06 | 2013-07-25 | ユーディーシー アイルランド リミテッド | 有機電界発光素子とそれに用いることができる化合物および有機電界発光素子用材料、並びに該素子を用いた発光装置、表示装置及び照明装置 |
| WO2013050862A1 (ja) | 2011-10-07 | 2013-04-11 | ユーディーシー アイルランド リミテッド | 有機電界発光素子及び該素子用発光材料並びに発光装置、表示装置及び照明装置 |
| WO2013064881A2 (ja) | 2011-11-02 | 2013-05-10 | ユーディーシー アイルランド リミテッド | 有機電界発光素子、有機電界発光素子用材料並びに該有機電界発光素子を用いた発光装置、表示装置及び照明装置 |
| WO2013080798A1 (ja) | 2011-11-30 | 2013-06-06 | 富士フイルム株式会社 | 光拡散性転写材料、光拡散層の形成方法、有機電界発光装置、及び有機電界発光装置の製造方法 |
| DE102013200942B4 (de) | 2012-01-23 | 2023-07-27 | Udc Ireland Ltd. | Organisches Elektrolumineszenz-Element, Ladungstransportmaterial für organisches Elektrolumineszenz-Element, und Licht-emittierende Vorrichtung, Anzeigevorrichtung und Beleuchtungsvorrichtung, die jeweils das Element umfassen |
| DE102013201846A1 (de) | 2012-02-06 | 2013-08-14 | Udc Ireland Limited | Organisches Elektrolumineszenz-Element, Verbindung und Material für organisches Elektrolumineszenz-Element, die hier verrwendet werden können, Licht-emittierende Vorrichtung, Anzeigevorrichtung und Beleuchtungsvorrichtung, die jeweils das Element verwenden |
| DE102013201846B4 (de) | 2012-02-06 | 2021-09-09 | Udc Ireland Limited | Organisches Elektrolumineszenz-Element, Verbindung für organisches Elektrolumineszenz-Element, die hier verwendet werden kann, Licht-emittierende Vorrichtung, Anzeigevorrichtung und Beleuchtungsvorrichtung, die jeweils das Element verwenden |
| JP2014099538A (ja) * | 2012-11-15 | 2014-05-29 | Konica Minolta Inc | 有機エレクトロルミネッセンス素子、表示装置及び照明装置 |
| JP2017034281A (ja) * | 2016-10-31 | 2017-02-09 | コニカミノルタ株式会社 | 有機エレクトロルミネッセンス素子、表示装置及び照明装置 |
| JP2020072194A (ja) * | 2018-10-31 | 2020-05-07 | コニカミノルタ株式会社 | 非イオン性有機エレクトロニクス材料、電子デバイス、有機エレクトロルミネッセンス素子及び有機エレクトロルミネッセンス素子作製用溶液 |
| JP7060490B2 (ja) | 2018-10-31 | 2022-04-26 | メルク パテント ゲーエムベーハー | 非イオン性有機エレクトロニクス材料、電子デバイス、有機エレクトロルミネッセンス素子及び有機エレクトロルミネッセンス素子作製用溶液 |
Similar Documents
| Publication | Publication Date | Title |
|---|---|---|
| JP4923478B2 (ja) | 有機エレクトロルミネッセンス素子、表示装置及び照明装置 | |
| JP5076891B2 (ja) | 有機エレクトロルミネッセンス素子材料、有機エレクトロルミネッセンス素子、表示装置及び照明装置 | |
| JP5099013B2 (ja) | 有機エレクトロルミネッセンス素子材料、有機エレクトロルミネッセンス素子、表示装置及び照明装置 | |
| JP5589251B2 (ja) | 有機エレクトロルミネッセンス素子材料 | |
| JP5642112B2 (ja) | 有機エレクトロルミネッセンス素子、表示装置及び照明装置 | |
| JP5273052B2 (ja) | 有機エレクトロルミネッセンス素子、表示装置及び照明装置 | |
| JP4961664B2 (ja) | 有機エレクトロルミネッセンス素子、表示装置及び照明装置 | |
| JP5115094B2 (ja) | 有機エレクトロルミネッセンス素子材料、有機エレクトロルミネッセンス素子、表示装置及び照明装置 | |
| JP2007084635A (ja) | 有機エレクトロルミネッセンス素子用材料、有機エレクトロルミネッセンス素子、表示装置及び照明装置 | |
| JPWO2006103874A1 (ja) | 有機エレクトロルミネッセンス素子材料、有機エレクトロルミネッセンス素子、表示装置及び照明装置 | |
| JPWO2006082742A1 (ja) | 有機エレクトロルミネッセンス素子材料、有機エレクトロルミネッセンス素子、表示装置及び照明装置 | |
| JP2009059997A (ja) | 有機エレクトロルミネッセンス素子、表示装置及び照明装置 | |
| JPWO2006008976A1 (ja) | 白色発光有機エレクトロルミネッセンス素子、表示装置及び照明装置 | |
| JPWO2008035664A1 (ja) | 有機エレクトロルミネッセンス素子材料、有機エレクトロルミネッセンス素子、表示装置及び照明装置 | |
| JP4830283B2 (ja) | 有機エレクトロルミネッセンス素子、表示装置及び照明装置 | |
| JPWO2006100888A1 (ja) | 有機el素子用材料、有機el素子、表示装置及び照明装置 | |
| JP2009016719A (ja) | 有機エレクトロルミネッセンス素子、表示装置及び照明装置 | |
| JP2009182088A (ja) | 有機エレクトロルミネッセンス素子、表示装置及び照明装置 | |
| JP5130913B2 (ja) | 有機エレクトロルミネッセンス素子材料、有機エレクトロルミネッセンス素子、表示装置及び照明装置 | |
| JP2006131783A (ja) | 有機エレクトロルミネッセンス素子用材料、有機エレクトロルミネッセンス素子、照明装置及び表示装置 | |
| JP2006182921A (ja) | 有機el素子用材料、有機el素子、表示装置及び照明装置 | |
| JP2006131782A (ja) | 有機エレクトロルミネッセンス素子用材料、有機エレクトロルミネッセンス素子、照明装置及び表示装置 | |
| JP2006282965A (ja) | 有機エレクトロルミネッセンス素子用材料、有機エレクトロルミネッセンス素子、表示装置及び照明装置 | |
| JP2008074921A (ja) | 有機エレクトロルミネッセンス素子材料、有機エレクトロルミネッセンス素子、表示装置及び照明装置 | |
| JP2006316162A (ja) | 有機el素子用材料及び有機el素子 |
Legal Events
| Date | Code | Title | Description |
|---|---|---|---|
| A621 | Written request for application examination |
Free format text: JAPANESE INTERMEDIATE CODE: A621 Effective date: 20080917 |
|
| A977 | Report on retrieval |
Free format text: JAPANESE INTERMEDIATE CODE: A971007 Effective date: 20110316 |
|
| A131 | Notification of reasons for refusal |
Free format text: JAPANESE INTERMEDIATE CODE: A131 Effective date: 20110405 |
|
| A521 | Request for written amendment filed |
Free format text: JAPANESE INTERMEDIATE CODE: A523 Effective date: 20110601 |
|
| RD02 | Notification of acceptance of power of attorney |
Free format text: JAPANESE INTERMEDIATE CODE: A7422 Effective date: 20110818 |
|
| A02 | Decision of refusal |
Free format text: JAPANESE INTERMEDIATE CODE: A02 Effective date: 20110913 |
