JP2007014792A - 温熱治療具 - Google Patents

温熱治療具 Download PDF

Info

Publication number
JP2007014792A
JP2007014792A JP2006226152A JP2006226152A JP2007014792A JP 2007014792 A JP2007014792 A JP 2007014792A JP 2006226152 A JP2006226152 A JP 2006226152A JP 2006226152 A JP2006226152 A JP 2006226152A JP 2007014792 A JP2007014792 A JP 2007014792A
Authority
JP
Japan
Prior art keywords
holder
chemical
warmer
bag
chemical warmer
Prior art date
Legal status (The legal status is an assumption and is not a legal conclusion. Google has not performed a legal analysis and makes no representation as to the accuracy of the status listed.)
Granted
Application number
JP2006226152A
Other languages
English (en)
Other versions
JP4878959B2 (ja
JP2007014792A5 (ja
Inventor
Tetsuo Toda
哲郎 十田
Rikako Akita
理香子 秋田
Naoki Dobashi
直樹 土橋
Goro Sonoda
悟朗 園田
Current Assignee (The listed assignees may be inaccurate. Google has not performed a legal analysis and makes no representation or warranty as to the accuracy of the list.)
Kobayashi Pharmaceutical Co Ltd
Kiribai Chemical Co Ltd
Original Assignee
Kobayashi Pharmaceutical Co Ltd
Kiribai Chemical Co Ltd
Priority date (The priority date is an assumption and is not a legal conclusion. Google has not performed a legal analysis and makes no representation as to the accuracy of the date listed.)
Filing date
Publication date
Application filed by Kobayashi Pharmaceutical Co Ltd, Kiribai Chemical Co Ltd filed Critical Kobayashi Pharmaceutical Co Ltd
Priority to JP2006226152A priority Critical patent/JP4878959B2/ja
Publication of JP2007014792A publication Critical patent/JP2007014792A/ja
Publication of JP2007014792A5 publication Critical patent/JP2007014792A5/ja
Application granted granted Critical
Publication of JP4878959B2 publication Critical patent/JP4878959B2/ja
Anticipated expiration legal-status Critical
Expired - Lifetime legal-status Critical Current

Links

Images

Landscapes

  • Thermotherapy And Cooling Therapy Devices (AREA)

Abstract

【課題】温熱治療に適する温度を長時間維持でき、かつ関節部の動きに対してもズレることなく、適切な部位に発熱部を保持できる関節部に用いる温熱治療具を提供する。
【解決手段】伸縮性の材料で作製された円筒状のホルダー1と該ホルダー1に保持される化学カイロ2からなり、該ホルダー1が化学カイロ2の出し入れまたは装着が可能な収納部3を有する関節部に装着する温熱治療具。
【選択図】図1

Description

本発明は、関節部の温熱治療に用いる化学カイロを利用する温熱治療具に関する。
鉄などの金属の酸化熱を利用する化学カイロ、いわゆる使い捨てカイロは、簡便に暖房を得ることを主目的として開発されており、それらには手に持って使用するタイプ、服のポケットに入れるタイプ、服や皮膚に貼るタイプ、さらには靴底に敷くタイプ、足(靴下)裏に貼るタイプ、ベルトの形で巻き付けるタイプなど、適用部位によって様々なものが市販され、また提案されている。
このように従来の化学カイロは静置した状態での使用を前提にしており、したがって従来の形態は可動部(関節部)である膝や肘、または手首や足首の暖房には向いていない。特に可動範囲の大きい膝や肘には固定しにくい。
最近、化学カイロ自体を帯状にして巻き付けるタイプのものが提案されている(特許文献1)。しかし、このものは固定具そのものが暖房具であり、特定の患部以外を広範囲に覆ってしまうため熱くなりすぎてしまい、限定された季節と場所でしか使用できない。また、手首や足首、首などの回転運動に対してはある程度有効であるが、肘や膝などの大きな屈曲や伸縮運動に追従しきれず、ズレてしまう点で更なる改良が求められる。
また、上記のとおり従来の化学カイロは暖房を目的としていることから、低温火傷の防止を視野に入れながら比較的高い温度での長時間の発熱を目指してきた。
したがって、比較的低温での治療が主体となる温熱治療に従来の化学カイロを転用するときは、目的とする治療に必要な温度を超えて高くなることがあり、安易な転用による低温火傷の危険が懸念されている。これまでにも提案はあったが(特許文献2)、実用化するには更なる研究を要するものである。
特開2002−146612号公報 実開平1−62820号公報
本発明は、温熱治療に適する温度を長時間維持でき、かつ関節部の動きに対してもズレることなく、適切な部位に発熱部を保持できる関節用の温熱治療具を提供することを目的とする。
すなわち本発明は、伸縮性の材料で作製された円筒状のホルダーと該ホルダーに保持される化学カイロからなり、該ホルダーが化学カイロの出し入れまたは装着が可能な収納部を有する関節部に装着する温熱治療具に関する。
かかる本発明の関節部の温熱治療具には、可動範囲の広い膝や肘用の温熱治療具(第1の発明)と手首や足首用の温熱治療具(第2の発明)が含まれる。以下、これらについて、個別に説明する。
本第1の発明は、伸縮性の材料で作製された円筒状のホルダーと該ホルダーに保持される化学カイロからなり、該ホルダーが化学カイロの出し入れまたは装着が可能な収納部を有し、かつ該化学カイロ収納部が脚の周囲または腕の周囲に位置するように膝や肘に装着する温熱治療具に関する。
ホルダーにより脚または腕が圧迫されすぎないように、化学カイロを収納した状態で膝または肘に装着されたときのホルダーの皮膚への圧迫力を80hPa以下に設定することが好ましい。
ホルダーは、1枚の伸縮性の繊維製品で作製してもよいが、多重構造の袋状とするときは、化学カイロ収納部を該袋に構成することができる。
化学カイロ収納部としては、袋状のホルダー内に仕切りを設けずに形成されていてもよいし、袋状のホルダー内を仕切って形成されたポケットであってもよい。袋状のホルダー内に仕切りを設けずに形成するときは、化学カイロの位置を自由に変更調整でき、便利である。
一方、発熱部となる化学カイロは、片面のみ通気性を有する内袋からなっていてもよいし、両面に通気性を有する内袋からなっていてもよい。
本第2の発明は、伸縮性の材料で作製された円筒状のホルダーと該ホルダーに保持される化学カイロからなり、該ホルダーが、手首領域と手の平および手の甲領域からなり、該ホルダー、たとえば手首領域に化学カイロの出し入れまたは装着が可能な収納部を有し、手の平および手の甲領域に手の指を挿通する開口を有することを特徴とする手首に装着する温熱治療具に関する。
また、第2の発明は、伸縮性の材料で作製された円筒状のホルダーと該ホルダーに保持される化学カイロからなり、該ホルダーが、足首領域と足の甲および踵領域からなり、該ホルダー、たとえば足首領域に化学カイロの出し入れまたは装着が可能な収納部を有することを特徴とする足首に装着する温熱治療具にも関する。
ホルダーにより手首または足首が圧迫されすぎないように、化学カイロを収納した状態で手首または足首に装着されたときのホルダーの皮膚への圧迫力を80hPa以下に設定することが好ましい。
ホルダーは、1枚の伸縮性の繊維製品で作製してもよいが、多重構造の袋状とするときは、化学カイロ収納部を該袋に構成することができる。
化学カイロ収納部としては、袋状のホルダー内に仕切りを設けずに形成されていてもよいし、袋状のホルダー内を仕切って形成されたポケットであってもよい。袋状のホルダー内に仕切りを設けずに形成するときは、化学カイロの位置を自由に変更調整でき、便利である。
一方、発熱部となる化学カイロは、片面のみ通気性を有する内袋からなっていてもよいし、両面に通気性を有する内袋からなっていてもよい。
本発明の温熱治療具によれば、温熱治療に適する温度を長時間維持でき、かつ関節部の動きに対してもズレることなく、圧迫による鬱血を起こさず、膝や肘、手首や足首の適切な部位に発熱部を保持できる。
本発明の第1の発明は、伸縮性の材料で作製された円筒状のホルダーと該ホルダーに保持される化学カイロからなり、該ホルダーが化学カイロの出し入れまたは装着が可能な収納部を有し、かつ該化学カイロ収納部が脚の周囲または腕の周囲に位置するように膝や肘に装着する温熱治療具に関する。
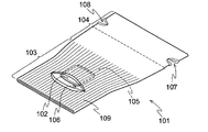
図1〜5に従って、本第1の発明の肘用の温熱治療具の好ましい実施形態を説明するが、本発明はこの実施形態に限定されず、種々の変更が可能である。もちろん、膝用の温熱治療具としても寸法などを変更することによって実施できる。
図1は、本発明の肘用の温熱治療具の概略側面図であり、図2は図1のC−C断面図、図3は図1のD−D断面図、図4は締め付け部と開口部付近の部分概略平面図、図5は図1の温熱治療具を肘に装着したときの概略説明図である。
温熱治療具は円筒状のホルダー1と化学カイロ2とからなり、ホルダー1には化学カイロ2の出し入れが可能な袋状の収納部3が設けられている。そして、本実施形態では、化学カイロ収納部3には、化学カイロ2の出し入れ用の開口部5が2箇所設けられており、収納部3に収納された化学カイロ2は、収納部3内で自由に位置決め可能になっている。
ホルダー1は伸縮性の材料で構成されており、肘関節の曲げ伸ばしに追随できるようにされている。さらに要すれば、ホルダー1の一部にホルダー1の固定を容易にするための締付け領域4を設けてもよい(図1参照)。
ホルダー1は、前述のように、余りきつく腕を締め付けると血流を止めて鬱血を生ずることがあるので、化学カイロ2を収納部3に収納した状態で膝または肘に装着されたときのホルダー1の皮膚への圧迫力を80hPa以下に設定することが好ましい。鬱血が起こると、患部に熱が滞留し、低温火傷が生ずる恐れがあるため、圧迫力は、さらには40hPa以下、特に35hPa以下とすることが望ましい。また、下限は、ゆるくなると患部への追従性が失われて移動しやすくなり、治療部位に位置することが難しくなることから、10hPa、さらには20hPa、特に30hPaである。
この実施形態では、ホルダー1は1枚の伸縮性の繊維製品(織布、編布、不織布など)を折り畳んで2重にして開放部を閉じた形、すなわち多重構造の袋状としている。そして編成工程時に開口部5を開けている。開口部5は、この実施形態のように2箇所でもよいが、治療する範囲や位置に応じて1〜6箇所、好ましくは1〜3箇所配設する。開口部5の配置は特に限定されない。
開口部5は、図4に示すように、袋状のホルダー1の外側布6を一部開口状態にしたまま編成している。この場合、収納部3はホルダー1を構成している外側布6と内側布7の間の空間であり、この中に化学カイロ2が収納される。
図示していないが、袋状のホルダー1を適宜縫製して個別の収納部(ポケット)を設けてもよい。この場合、ポケットを関節の曲がる方向に配置すると、関節を曲げたときに圧迫感があるので、ポケットは関節の動きを妨げない腕(膝用の場合は脚)の側部に設けることが好ましい。しかし、治療部位によっては、加えて、腕の周囲を取り囲むように、および/または上下する方向で配置してもよい。
また図示していないが、収納部は、別途作製し、ホルダー1に縫い付けたり貼り付けたりしてもよい。貼り付ける場合は粘着剤を使用してもよいし、面ファスナーなどで着脱自在に位置が変えられるようにしてもよい。
また、開口部5に蓋や覆いを付けてもよいし、脱落を防止する観点から、ボタンやファスナー(線状または面ファスナー)を取り付けてもよい。
ホルダー1は伸縮性の材料で構成されるが、材料としては合成繊維単独、さらには植物繊維や動物繊維、鉱物繊維などの天然繊維を混合して、伸縮性、装着感、熱伝導性、加工性、耐磨耗性、耐薬品性などを考慮しながら適宜選定すればよい。好ましい繊維材料は、ポリアミド、ポリウレタン、ポリエステルなどが例示できる。また限定されないが、繊維の太さは3〜100μm、好ましくは10〜50μmでよい。繊維の機械的特性としては、引張強度で10〜300kg/mm、好ましくは10〜100kg/mmであり、伸びで1〜50%、好ましくは5〜30%である。
伸縮性は繊維の材質にも関係するが、布の作製方法によって制御できる。好ましくは編布であり、丸編、横編、平編、ゴム編、パール編、両面編など、特に丸編で編まれた布が縫製せずに予め円筒形に形成できるので好ましい。
この伸縮性の材料でホルダー1は作製されるが、作製方法は、前述のような1枚もの、袋状のもののほか、伸縮性、屈曲性を損なわない方法であればどのような方法で作製してもよい。
ホルダー1の寸法は、想定する被治療者の体格に応じて各種のサイズのものを適宜選べるようにすればよい。
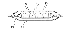
つぎに本発明の他方の構成要素である化学カイロについて図6に従って説明する。
本発明に用いる化学カイロ2は、たとえば、図6に示すように、偏平状袋(以下、内袋と称す)11内に空気の存在下で酸化発熱する発熱組成物12が封入されており、前記偏平状袋11が気密性袋(以下、外袋と称す)13内に収納されている。
また、発熱組成物12は、10mm平方あたり0.1〜1g坪量で内袋11内に分散していることが、均一かつ穏やかな発熱を達成するうえで好ましい。
前記外袋13は、ポリエチレン、ポリプロピレン、シリカ蒸着フィルムおよび塩化ビニリデンコートフィルムなどの無孔フィルムからなることが好ましい。なかでも、酸素や水蒸気の非透過性、および、水素の適切な透過性の点で、塩化ビニリデンコートフィルムが好ましい。無孔フィルムの厚さは、30〜300μmが好ましい。
前記扁平状袋11の内部に封入され、空気の存在下で酸化発熱する発熱組成物12としては、従来の発熱組成物を使用すればよい。たとえば鉄粉などの金属粉、活性炭、水、保水剤(木粉、バーミキュライト、けい藻土、パーライト、シリカゲル、アルミナ、吸水性樹脂など)、食塩などからなるものを用いることができるが、これらに限定されるものではない。
内袋11は、少なくともその一部が通気性面であり、通気小孔または微細孔群を有している。すなわち、その一方の面(図6において下側の面)が通気性面14で、他方の面が非通気性面15であってもよいし、また両面とも通気性面であってもよい。さらに、片面のうち、一部が通気性面で残りが非通気性面であってもよい。
非通気面を設ける場合、その非通気面を構成する樹脂としては、たとえば、ナイロン、ポリエチレン、ポリプロピレンなどの合成樹脂が好ましくあげられる。
通気性面は、織布、不織布、編布、上記非通気性材料に穿孔したフィルム、これらの組合せなど、従来より使用されている材料で形成される。
内袋11の大きさは、本発明において、とくに限定されるものではなく、化学カイロ収納部(またはポケット)の形状、大きさなどに応じて適宜選定すればよい。また、形状としては、矩形に限らず、円形、楕円形、舌片形状、ハート型など、他の形状を採用することもできる。厚さは、装着感がよく、関節の動きの妨げになりにくいという点から、1〜15mm、好ましくは2〜8mmである。また、厚さに関しては、均一性をもたせたものの他に、内袋11の厚さに凹凸をつけて圧迫感を変化させることも可能である。
内袋11の通気性は、いわゆる低温火傷が発生し得る皮膚表面温度と時間を考慮して決定すればよい。たとえば、低温火傷を起こす可能性のある皮膚温度と時間としては、皮膚温度42℃では6時間、43℃では3時間、44℃では1.5時間、45℃では45分間とされており、これらの閾値以上にならないように、発熱組成物の組成を考慮しながら制御すればよい。ただし、短時間の治療であれば、さらに高温(たとえば60℃、さらには70℃)に発熱させてもよい。
限定的ではないが、内袋11全体の通気性としては、JIS K7129に規定されるA法(感湿センサー法)により測定した水蒸気透過度の値で、100〜2000g/m・24hが好ましく、200〜800g/m・24hがより好ましい。水蒸気透過度が2000g/m・24hより大きいと発熱組成物が過剰に発熱することがあり、100g/m・24hよりも小さいと、発熱組成物が充分に発熱できないことがある。
化学カイロ2と収納部3、特に収納部3の内側(腕や膝側)布7や外側布6の構造によっても、発熱温度や持続時間を制御することができる。
たとえば、つぎのような組合せがあるが、これらのみに限定されるものではない。
(1)内側布が通気性の構造で、化学カイロが両面通気性である場合
この場合、比較的高温の発熱温度が得られるが、低温火傷などに注意を要する。
(2)内側布が通気性の構造で、化学カイロが片面のみ通気性である場合
この場合、化学カイロの通気面が体と反対側(外側)にくるように化学カイロを収納部3に入れると、空気の取入れが容易になり、発熱温度が比較的高くなる(約38〜約42℃)。逆に、化学カイロの通気面が体側(内側)にくるように化学カイロを収納部3に入れると、空気の取入れが制限され、発熱温度が比較的低くなる(約36〜約40℃)。
すなわち、化学カイロ2の入れる向きによって、温熱治療に必要な温度に合わせることができる。
(3)内側布が非通気性または難通気性の構造で、化学カイロが両面通気性である場合
この場合、比較的高温の発熱温度が得られ、低温火傷などへの対応は、内側布の熱伝導性を選択設定することにより、制御できる。
(4)内側布が非通気性または難通気性の構造で、化学カイロが片面のみ通気性である場合
この場合、内側布の熱伝導性を考慮しながら、上記(2)のように化学カイロ2の入れる向きによって、温熱治療に必要な温度に調整することができる。
(5)内側布および外側布共に非通気性とし、収納部に化学カイロの出し入れ用の手段を設ける場合
この場合、収納部の機能で温熱治療に必要な温度調整が可能になる。
内側布を非通気性または難通気性の構造にするには、たとえば収納部の体側に非通気性のフィルムを貼り付けたりすればよい。
また、化学カイロの収納部を上記のような袋状(またはポケット)ではなく、化学カイロを係止(装着)するだけの形態にもすることができる。この場合、化学カイロはホルダーの外表面または内表面に装着されることになる。化学カイロを装着する手段としては、粘着剤による貼り付け、面ファスナーによる固定、ボタンによる固定などがあげられる。
化学カイロをホルダーに貼り付けるタイプとするときは、内袋11の一方の面(たとえば図6において面14)に通常の粘着性物質からなる粘着剤層を形成し、この粘着剤層上に剥離紙や剥離フィルムを設けてもよい。
粘着剤層は、内袋11の片面全体に設けるようにしてもよいし、縞模様、格子模様、水玉模様などの適宜の模様を形成するように部分的に設けるようにしてもよい。また、非通気性面に設けてもよいし、通気性面に設けてもよい。
以上に肘に用いるタイプの温熱治療具を説明したが、膝に用いる場合も、膝に合わせて大きさを調整すればよい。
つぎに本第2の発明について具体的に説明する。
本第2の発明うちの手首用の温熱治療具は、伸縮性の材料で作製された円筒状のホルダーと該ホルダーに保持される化学カイロからなり、該ホルダーが、手首領域と手の平および手の甲領域からなり、手首領域に化学カイロの出し入れまたは装着が可能な収納部を有し、手の平および手の甲領域に手の指を挿通する開口を有することを特徴とする。
図8〜11に従って、本発明の手首用の温熱治療具の好ましい実施形態を説明するが、本発明はこの実施形態に限定されず、種々の変更が可能である。もちろん、足首用の温熱治療具としても、後述するような変更を加えることによって実施できる。
図8は、本発明の手首用の温熱治療具の概略斜視図であり、図9は図8の温熱治療具を手首に装着したときの概略説明図であり、図10は別の実施形態の概略斜視図であり、図11は図9のA−A線断面図である。
温熱治療具は円筒状のホルダー101と化学カイロ102とからなり、ホルダー101は、手首領域103と手の平および手の甲領域(以下、「手の甲領域」という)104とからなる。
ホルダー101の手首領域103には化学カイロ102の出し入れが可能な袋状の収納部105が設けられている。そして、本実施形態では、化学カイロ収納部105には、化学カイロ102の出し入れ用の開口部106が1箇所設けられており、収納部105に収納された化学カイロ102は、収納部105内で自由に位置決め可能になっている。
ホルダー101の手の甲領域104には、手の指を挿通する挿通口107、108を有している。挿通口107は左手の手首を温熱治療する場合に左手の親指を挿入する開口であり(図9参照)、挿通口108は右手に適用する場合、右手の親指を挿入する開口である。なお、挿通する指は特に限定されず、したがって挿通口107、108の位置、数も限定されない。
ホルダー101は伸縮性の材料で構成されており、手首関節の曲げ伸ばしに追随できるようにされている。本第2の発明では、ホルダー101の手首領域にホルダー101の固定を容易にするための締付け領域109を設けている(図8参照)。化学カイロ102の収納部105は締め付け領域109に形成することが望ましい。ただし、図10に示すように、締め付け領域をリング状の領域109aとし、1本〜数本、たとえば1〜3本設けて、実際に締め付けに使う領域を狭くしてもよい。
ホルダー101は、前述のように、余りきつく手首を締め付けると血流を止めて鬱血を生ずることがあるので、化学カイロ102を収納部105に収納した状態で手首または足首に装着されたときのホルダー101の皮膚への圧迫力を80hPa以下に設定することが好ましい。鬱血が起こると、患部に熱が滞留し、低温火傷が生ずる恐れがあるため、圧迫力は、さらには40hPa以下、特に35hPa以下とすることが望ましい。また、下限は、ゆるくなると患部への追従性が失われて移動しやすくなり、治療部位に位置することが難しくなることから、10hPa、さらには20hPa、特に30hPaである。
この実施形態では、ホルダー101は1枚の伸縮性の繊維製品(織布、編布、不織布など)を折り畳んで2重にして開放部を閉じた形、すなわち多重構造の袋状としている。そして、編成工程時に開口部106を設けている。開口部106は、この実施形態のように1箇所でもよいが、治療する範囲や位置に応じて1〜6箇所、好ましくは1〜3箇所配設する。開口部106の配置は特に限定されない。
開口部106は、図11に示すように、袋状のホルダー101の外側布110aを一部開口状態にしたまま編成している。この場合、収納部105はホルダー101を構成している外側布110aと内側布110bの間の空間であり、この中に化学カイロ102が収納される。
図示していないが、袋状のホルダー101を適宜縫製して個別の収納部(ポケット)を設けてもよい。この場合、ポケットを関節の曲がる方向に配置すると、関節を曲げたときに圧迫感があるので、ポケットは関節の動きを妨げない上面側(手の甲側)(足首用の場合は足の甲側)が好ましい。しかし、治療部位によっては、加えて、手首の周囲を取り囲むように、および/または上下する方向で配置してもよい。
図示されていないが、収納部は、別途作製し、ホルダー101に縫い付けたり貼り付けたりしてもよい。貼り付ける場合は粘着剤を使用してもよいし、面ファスナーなどで着脱自在に位置が変えられるようにしてもよい。
また、開口部106に蓋や覆いを付けてもよいし、脱落を防止する観点から、ボタンやファスナー(線状または面ファスナー)を取り付けてもよい。
ホルダー101は伸縮性の材料で構成されるが、材料としては合成繊維単独、さらには植物繊維や動物繊維、鉱物繊維などの天然繊維を混合して、伸縮性、装着感、熱伝導性、加工性、耐磨耗性、耐薬品性などを考慮しながら適宜選定すればよい。好ましい繊維材料は、ポリアミド、ポリウレタン、ポリエステルなどが例示できる。また限定されないが、繊維の太さは3〜100μm、好ましくは10〜50μmでよい。繊維の機械的特性としては、引張強度で10〜300kg/mm、好ましくは10〜100kg/mmであり、伸びで1〜50%、好ましくは5〜30%である。
伸縮性は繊維の材質にも関係するが、布の作製方法によって制御できる。好ましくは編布であり、丸編、横編、平編、ゴム編、パール編、両面編など、特に丸編で編まれた布が縫製せずに予め円筒形に形成できるので好ましい。
この伸縮性の材料でホルダー101は作製されるが、作製方法は、前述のような1枚もの、袋状のもののほか、伸縮性、屈曲性を損なわない方法であればどのような方法で作製してもよい。
ホルダー101の寸法は、想定する被治療者の体格に応じて各種のサイズのものを適宜選べるようにすればよい。
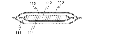
つぎに本発明の他方の構成要素である化学カイロについて図12に従って説明する。
本発明に用いる化学カイロ102は、たとえば、図12に示すように、偏平状袋(以下、内袋と称す)111内に空気の存在下で酸化発熱する発熱組成物112が封入されており、前記偏平状袋111が気密性袋(以下、外袋と称す)113内に収納されている。
また、発熱組成物112は、10mm平方あたり0.1〜1g坪量で内袋11内に分散していることが、均一かつ穏やかな発熱を達成するうえで好ましい。
前記外袋113は、ポリエチレン、ポリプロピレン、シリカ蒸着フィルムおよび塩化ビニリデンコートフィルムなどの無孔フィルムからなることが好ましい。なかでも、酸素や水蒸気の非透過性、および、水素の適切な透過性の点で、塩化ビニリデンコートフィルムが好ましい。無孔フィルムの厚さは、30〜300μmが好ましい。
前記扁平状袋111の内部に封入され、空気の存在下で酸化発熱する発熱組成物112としては、従来の発熱組成物を使用すればよい。たとえば鉄粉などの金属粉、活性炭、水、保水剤(木粉、バーミキュライト、けい藻土、パーライト、シリカゲル、アルミナ、吸水性樹脂など)、食塩などからなるものを用いることができるが、これらに限定されるものではない。
内袋111は、少なくともその一部が通気性面であり、通気小孔または微細孔群を有している。すなわち、その一方の面114が通気性面で、他方の面115が非通気性面であってもよいし、また両面とも通気性面であってもよい。さらに、片面のうち、一部が通気性面で残りが非通気性面であってもよい。
非通気面を設ける場合、その非通気面を構成する樹脂としては、たとえば、ナイロン、ポリエチレン、ポリプロピレンなどの合成樹脂が好ましくあげられる。
通気性面は、織布、不織布、編布、上記非通気性材料に穿孔したフィルム、これらの組合せなど、従来より使用されている材料で形成される。
内袋111の大きさは、本発明において、とくに限定されるものではなく、化学カイロ収納部(またはポケット)の形状、大きさなどに応じて適宜選定すればよい。また、形状としては、矩形に限らず、円形、楕円形、舌片形状、ハート型など、他の形状を採用することもできる。厚さは、装着感がよく、関節の動きの妨げになりにくいという点から、1〜15mm、好ましくは2〜8mmである。また、厚さに関しては、均一性をもたせたものの他に、内袋111の厚さに凹凸をつけて圧迫感を変化させることも可能である。
内袋111の通気性は、いわゆる低温火傷が発生し得る皮膚表面温度と時間を考慮して決定すればよい。たとえば、低温火傷を起こす可能性のある皮膚温度と時間としては、皮膚温度42℃では6時間、43℃では3時間、44℃では1.5時間、45℃では45分間とされており、これらの閾値以上にならないように、発熱組成物の組成を考慮しながら制御すればよい。ただし、短時間の治療であれば、さらに高温(たとえば60℃、さらには70℃)に発熱させてもよい。
限定的ではないが、内袋111全体の通気性としては、JIS K7129に規定されるA法(感湿センサー法)により測定した水蒸気透過度の値で、100〜2000g/m・24hが好ましく、200〜800g/m・24hがより好ましい。水蒸気透過度が2000g/m・24hより大きいと発熱組成物が過剰に発熱することがあり、100g/m・24hよりも小さいと、発熱組成物が充分に発熱できないことがある。
化学カイロ102と収納部105、特に収納部105の内側布110bや外側布110aの構造によっても、発熱温度や持続時間を制御することができる。
たとえば、つぎのような組合せがあるが、これらのみに限定されるものではない。
(1)内側布が通気性の構造で、化学カイロが両面通気性である場合
この場合、比較的高温の発熱温度が得られるが、低温火傷などに注意を要する。
(2)内側布が通気性の構造で、化学カイロが片面のみ通気性である場合
この場合、化学カイロの通気面が体と反対側(外側)にくるように化学カイロを収納部5に入れると、空気の取入れが容易になり、発熱温度が比較的高くなる(約38〜約42℃)。逆に、化学カイロの通気面が体側(内側)にくるように化学カイロを収納部5に入れると、空気の取入れが制限され、発熱温度が比較的低くなる(約36〜約40℃)。
すなわち、化学カイロ102の入れる向きによって、温熱治療に必要な温度に合わせることができる。
(3)内側布が非通気性または難通気性の構造で、化学カイロが両面通気性である場合
この場合、比較的高温の発熱温度が得られ、低温火傷などへの対応は、内側布の熱伝導性を選択設定することにより、制御できる。
(4)内側布が非通気性または難通気性の構造で、化学カイロが片面のみ通気性である場合
この場合、内側布の熱伝導性を考慮しながら、上記(2)のように化学カイロ102の入れる向きによって、温熱治療に必要な温度に調整することができる。
(5)内側布および外側布共に非通気性とし、収納部に化学カイロの出し入れ用の手段を設ける場合
この場合、収納部の機能で温熱治療に必要な温度調整が可能になる。
内側層を非通気性または難通気性の構造にするには、たとえば収納部の体側に非通気性のフィルムを貼り付けたりすればよい。
また、化学カイロの収納部を上記のような袋状(またはポケット)ではなく、化学カイロを係止(装着)するだけの形態にもすることができる。この場合、化学カイロはホルダーの外表面または内表面に装着されることになる。化学カイロを装着する手段としては、粘着剤による貼り付け、面ファスナーによる固定、ボタンによる固定などがあげられる。
化学カイロをホルダーに貼り付けるタイプとするときは、内袋111の一方の面(たとえば図12において面115)に通常の粘着性物質からなる粘着剤層を形成し、この粘着剤層上に剥離紙や剥離フィルムを設けてもよい。
粘着剤層は、内袋111の片面全体に設けるようにしてもよいし、縞模様、格子模様、水玉模様などの適宜の模様を形成するように部分的に設けるようにしてもよい。また、非通気性面に設けてもよいし、通気性面に設けてもよい。
以上に手首に用いるタイプの温熱治療具を説明したが、足首に用いる場合も、足首に合わせて形状、大きさを調整すればよい。
また、第2の発明のうちの足首用の温熱治療具は、伸縮性の材料で作製された円筒状のホルダーと該ホルダーに保持される化学カイロからなり、該ホルダーが、足首領域と足の甲および踵領域からなり、足首領域に化学カイロの出し入れまたは装着が可能な収納部を有することを特徴とする。
図13〜14に従って、本発明の足首用の温熱治療具の好ましい実施形態を説明するが、本発明はこの実施形態に限定されず、種々の変更が可能である。
図13は、本発明の足首用の温熱治療具の概略平面図であり、図14は図13の温熱治療具を足首に装着したときの概略説明図である。
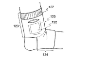
足首用の温熱治療具は円筒状のホルダー121と化学カイロ122とからなり、ホルダー121は、足首領域123と足の甲および踵領域124とからなる。
ホルダー121の足首領域123には化学カイロ122の出し入れが可能な袋状の収納部125が設けられている。収納部125にはカイロの出し入れ用の開口部126が設けられている。そして、図13には、開口部126が足首の側面に1箇所示されているが、反対側にさらに1箇所設けてもよいし、治療を要する箇所によっては1〜6個を適宜設けてもよい。127は締め付け部である。
足首用のホルダー121には部分的な切れ込み128が入れられており、この部分を踵に配置することで、安定した装着が可能になる(図14参照)。
切れ込み128に代えて、靴下用の丸編み機などを用いて踵の突出に対応するようにしてもよい。
ホルダー121の材質や作製方法、化学カイロ122については手首用の温熱治療具で説明した事項がこの足首用温熱治療具にも適用できる。
つぎに本発明の温熱治療具を実施例をあげて説明するが、本発明はこれらの実施例に限定されるものではない。
実施例1
ポリアミド繊維を丸編した厚さ0.5mmのスパンデックス布を用いて図1に示す、開口部が2箇所設けられた袋状の化学カイロ収納部をもつ膝用のホルダー(周径180mm、長さ150mm)を作製した。
このホルダーを成人男子の膝にサポーターと同様にして装着した。その際、ホルダーの内側布越しに化学カイロが当たる皮膚上に熱電対を貼り付け、皮膚表面温度の変化が記録できるようにセットした。
化学カイロとして、縦95mm、横70mm、厚さ3mmで片面が非通気性の内袋を有する化学カイロを2個用いた。この内袋を外袋から取り出し、数回空気中で振った後、一方のポケットに非通気性面を下向き(通気性面が上向き)に入れ、他方のポケットに非通気性面を上向き(通気性面が下向き)に入れ、皮膚温度の経時変化(8時間)を調べた。結果を図7に示す。図7中、実線は通気性面を下向きにセットした場合、破線は通気性面を上向きにセットした場合である。
図7に示すように、非通気性面を上向きにするか下向きにするかによって、皮膚の温度を調節できる。
なお、被験者は8時間装着したままで日常生活を行ったが、本発明の温熱治療具が大きくズレることはなく、化学カイロが脱落することもなかった。また、膝の曲げ伸ばしに違和感はなく、鬱血などの障害も生じていなかった。
実施例2
ポリアミド繊維を丸編した厚さ0.5mmのスパンデックス布を用いて図8に示す開口部が1箇所設けられた袋状の化学カイロ収納部をもつ手首用のホルダー(関節部の周径140mm、長さ130mm)を作製した。
このホルダーを成人男子の手首にサポーターと同様にして装着した。その際、内側布越に化学カイロが当たる皮膚上に熱電対を貼り付け、皮膚表面温度の変化が記録できるようにセットした。
化学カイロとして、縦95mm、横70mm、厚さ3mmで片面が非通気性の内袋を有する化学カイロを用いた。この内袋を外袋から取り出し、開口部から収納部に非通気性面を下向き(通気性面が上向き)に入れ、皮膚温度の経時変化(8時間)を調べた。結果を図15に示す。
実施例3
実施例2において、化学カイロを収納部に非通気性面を上向き(通気性面が下向き)に入れたほかは同様にして皮膚温度の経時変化(8時間)を調べた。結果を図15に示す。
図15に示すように、非通気性面を上向きにするか下向きにするかによって、皮膚の温度を調節できる。
なお、被験者は8時間装着したままで日常生活を行ったが、本発明の温熱治療具が大きくズレることはなく、化学カイロが脱落することもなかった。また、手首の回転や曲げに違和感はなく、鬱血などの障害も生じていなかった。
本発明の温熱治療具の肘用の好ましい実施形態の概略平面図である。 図1のC−C断面図である。 図1のD−D断面図である。 図1に示すホルダーの開口部の部分概略平面図である。 図1の温熱治療具を肘に装着したときの概略説明図である。 本発明に使用可能な化学カイロの一実施形態の概略断面図である。 実施例1で測定した皮膚温度の変化を示すグラフである。 本発明の温熱治療具の手首用の好ましい実施形態の概略斜視図である。 図9に示す手首用温熱治療具を手首に装着したときの概略説明図である。 本発明の温熱治療具の手首用の別の実施形態の概略斜視図である。 図9のA−A線断面図である。 本発明に使用可能な化学カイロの一実施形態の概略断面図である。 本発明の温熱治療具の足首用の好ましい実施形態の概略平面図である。 図13に示す足首用温熱治療具を足首に装着したときの概略説明図である。 実施例2および3で測定した皮膚温度の変化を示すグラフである。
符号の説明
1、101、121 ホルダー
2、102、122 化学カイロ
3、105、125 化学カイロ収納部
4、109、109a、127 締付け領域
5、106、126 開口部
6、110a 外側布
7、110b 内側布
11、111 内袋
12、112 発熱組成物
13、113 外袋
14 通気性面
15 非通気性面
103 手首領域
104 手の甲領域
107、108 挿通口
123 足首領域
124 足の甲領域
128 切り込み

Claims (16)

  1. 伸縮性の材料で作製された円筒状のホルダーと該ホルダーに保持される化学カイロからなり、該ホルダーが化学カイロの出し入れまたは装着が可能な収納部を有する関節部に装着する温熱治療具。
  2. 伸縮性の材料で作製された円筒状のホルダーと該ホルダーに保持される化学カイロからなり、該ホルダーが化学カイロの出し入れまたは装着が可能な収納部を有し、かつ該化学カイロ収納部が脚の周囲または腕の周囲に位置するように膝や肘に装着する温熱治療具。
  3. 前記化学カイロを収納した状態で膝または肘に装着されたときのホルダーの皮膚への圧迫力が80hPa以下である請求項2記載の温熱治療具。
  4. 前記ホルダーが袋状の多重構造であり、化学カイロ収納部が該袋から構成されている請求項2または3記載の温熱治療具。
  5. 前記化学カイロ収納部がホルダー内に仕切りを設けずに形成されている請求項4記載の温熱治療具。
  6. 前記化学カイロ収納部が、袋状のホルダー内を仕切って形成されたポケットである請求項4記載の温熱治療具。
  7. 前記化学カイロが、片面のみ通気性を有する内袋からなる請求項2〜6のいずれかに記載の温熱治療具。
  8. 前記化学カイロが、両面に通気性を有する内袋からなる請求項2〜5のいずれかに記載の温熱治療具。
  9. 伸縮性の材料で作製された円筒状のホルダーと該ホルダーに保持される化学カイロからなり、該ホルダーが、手首領域と手の平および手の甲領域からなり、該ホルダーに化学カイロの出し入れまたは装着が可能な収納部を有し、手の平および手の甲領域に手の指を挿通する開口を有することを特徴とする手首に装着する温熱治療具。
  10. 伸縮性の材料で作製された円筒状のホルダーと該ホルダーに保持される化学カイロからなり、該ホルダーが、足首領域と足の甲および踵領域からなり、該ホルダーに化学カイロの出し入れまたは装着が可能な収納部を有することを特徴とする足首に装着する温熱治療具。
  11. 前記化学カイロを収納した状態で手首または足首に装着されたときのホルダーの皮膚への圧迫力が80hPa以下である請求項9または10記載の温熱治療具。
  12. 前記ホルダーが袋状の多重構造であり、化学カイロ収納部が該袋から構成されている請求項9〜11のいずれかに記載の温熱治療具。
  13. 前記化学カイロ収納部がホルダー内に仕切りを設けずに形成されている請求項12記載の温熱治療具。
  14. 前記化学カイロ収納部が、袋状のホルダー内を仕切って形成されたポケットである請求項12記載の温熱治療具。
  15. 前記化学カイロが、片面のみ通気性を有する内袋からなる請求項9〜14のいずれかに記載の温熱治療具。
  16. 前記化学カイロが、両面に通気性を有する内袋からなる請求項9〜14のいずれかに記載の温熱治療具。
JP2006226152A 2006-08-23 2006-08-23 温熱治療具 Expired - Lifetime JP4878959B2 (ja)

Priority Applications (1)

Application Number Priority Date Filing Date Title
JP2006226152A JP4878959B2 (ja) 2006-08-23 2006-08-23 温熱治療具

Applications Claiming Priority (1)

Application Number Priority Date Filing Date Title
JP2006226152A JP4878959B2 (ja) 2006-08-23 2006-08-23 温熱治療具

Related Parent Applications (1)

Application Number Title Priority Date Filing Date
JP2005005204U Continuation JP3114403U (ja) 2005-07-04 2005-07-04 温熱治療具

Related Child Applications (1)

Application Number Title Priority Date Filing Date
JP2011154290A Division JP5202699B2 (ja) 2011-07-12 2011-07-12 温熱治療具

Publications (3)

Publication Number Publication Date
JP2007014792A true JP2007014792A (ja) 2007-01-25
JP2007014792A5 JP2007014792A5 (ja) 2009-01-22
JP4878959B2 JP4878959B2 (ja) 2012-02-15

Family

ID=37752413

Family Applications (1)

Application Number Title Priority Date Filing Date
JP2006226152A Expired - Lifetime JP4878959B2 (ja) 2006-08-23 2006-08-23 温熱治療具

Country Status (1)

Country Link
JP (1) JP4878959B2 (ja)

Cited By (4)

* Cited by examiner, † Cited by third party
Publication number Priority date Publication date Assignee Title
WO2009060883A1 (ja) * 2007-11-09 2009-05-14 Kao Corporation 発熱具
WO2011036823A1 (ja) * 2009-09-28 2011-03-31 小林製薬株式会社 発熱具
JP2014057783A (ja) * 2012-09-19 2014-04-03 Kao Corp 温熱用具
WO2025089379A1 (ja) 2023-10-27 2025-05-01 小林製薬株式会社 インナーグローブ

Families Citing this family (3)

* Cited by examiner, † Cited by third party
Publication number Priority date Publication date Assignee Title
JP5566061B2 (ja) 2009-07-31 2014-08-06 オリンパス株式会社 光学式変位検出装置
JP5701496B2 (ja) 2009-11-20 2015-04-15 オリンパス株式会社 光学式信号出力装置の信号処理装置及び光学式変位検出装置
JP5439163B2 (ja) * 2009-12-25 2014-03-12 オリンパス株式会社 光学式信号出力装置の信号処理装置及び光学式変位検出装置

Citations (9)

* Cited by examiner, † Cited by third party
Publication number Priority date Publication date Assignee Title
JPS4893072A (ja) * 1972-03-13 1973-12-01
JPS5063995A (ja) * 1974-01-16 1975-05-30
JPS55106616A (en) * 1979-02-09 1980-08-15 Sumitomo Metal Ind Ltd Controlling method for cooling temperature at rolling rod or the like
JPS60155520A (ja) * 1984-01-26 1985-08-15 Kawasaki Steel Corp 一酸化炭素ガスを含む混合ガスより吸着法により一酸化炭素を精製する方法
JPS6188536A (ja) * 1984-10-05 1986-05-06 Mitsubishi Electric Corp ボンデイング用リ−ド押さえ
JPS6462820A (en) * 1987-09-02 1989-03-09 Fuji Photo Film Co Ltd Production of magnetic recording medium
JP2002146612A (ja) * 2000-11-06 2002-05-22 Hiromitsu Kuriyama 使い捨てカイロを利用した布体防寒具
JP2003245297A (ja) * 2002-02-22 2003-09-02 Kiribai Kagaku Kk カイロおよびその製造方法
JP2004249018A (ja) * 2003-02-17 2004-09-09 Masamichi Sakano アイマスク

Patent Citations (9)

* Cited by examiner, † Cited by third party
Publication number Priority date Publication date Assignee Title
JPS4893072A (ja) * 1972-03-13 1973-12-01
JPS5063995A (ja) * 1974-01-16 1975-05-30
JPS55106616A (en) * 1979-02-09 1980-08-15 Sumitomo Metal Ind Ltd Controlling method for cooling temperature at rolling rod or the like
JPS60155520A (ja) * 1984-01-26 1985-08-15 Kawasaki Steel Corp 一酸化炭素ガスを含む混合ガスより吸着法により一酸化炭素を精製する方法
JPS6188536A (ja) * 1984-10-05 1986-05-06 Mitsubishi Electric Corp ボンデイング用リ−ド押さえ
JPS6462820A (en) * 1987-09-02 1989-03-09 Fuji Photo Film Co Ltd Production of magnetic recording medium
JP2002146612A (ja) * 2000-11-06 2002-05-22 Hiromitsu Kuriyama 使い捨てカイロを利用した布体防寒具
JP2003245297A (ja) * 2002-02-22 2003-09-02 Kiribai Kagaku Kk カイロおよびその製造方法
JP2004249018A (ja) * 2003-02-17 2004-09-09 Masamichi Sakano アイマスク

Cited By (10)

* Cited by examiner, † Cited by third party
Publication number Priority date Publication date Assignee Title
WO2009060883A1 (ja) * 2007-11-09 2009-05-14 Kao Corporation 発熱具
CN101820836B (zh) * 2007-11-09 2012-10-03 花王株式会社 发热器具
KR101548626B1 (ko) * 2007-11-09 2015-08-31 가오 가부시키가이샤 발열구
KR101563650B1 (ko) 2007-11-09 2015-10-27 가오 가부시키가이샤 발열구
US9592149B2 (en) 2007-11-09 2017-03-14 Kao Corporation Heat generating eye mask
WO2011036823A1 (ja) * 2009-09-28 2011-03-31 小林製薬株式会社 発熱具
JP2011067551A (ja) * 2009-09-28 2011-04-07 Kobayashi Pharmaceutical Co Ltd 発熱具
CN102264321B (zh) * 2009-09-28 2015-10-21 小林制药株式会社 加热器具
JP2014057783A (ja) * 2012-09-19 2014-04-03 Kao Corp 温熱用具
WO2025089379A1 (ja) 2023-10-27 2025-05-01 小林製薬株式会社 インナーグローブ

Also Published As

Publication number Publication date
JP4878959B2 (ja) 2012-02-15

Similar Documents

Publication Publication Date Title
JP3114403U (ja) 温熱治療具
US7846145B2 (en) Body conforming textile holder and absorbent article
EP2299877B1 (en) Warming blankets, covers, and apparatus, and methods of fabricating and using the same
WO2007056749A2 (en) Textile body wrap holder and thermal article
US20090000002A1 (en) Sleeve for warming or cooling an arm
US20120144555A1 (en) Hat for discrete area application of heat or cold
JP4878959B2 (ja) 温熱治療具
JP5202699B2 (ja) 温熱治療具
US20120179232A1 (en) Heating device
US20200405533A1 (en) Wearable Therapy System
JP2007007336A (ja) 温熱治療具
JP2007007335A (ja) 温熱治療具
JP5388724B2 (ja) 痔の予防または治療具、及び痔の予防または治療方法
US20130126511A1 (en) Disposable Multilayered Sleeveless Heated Vest
WO2016189669A1 (ja) 保温具、保温キット、保温キットの製造方法および保温方法
US20050044602A1 (en) Self heat clothing and blankets
JP4757062B2 (ja) 生理機能改善器具
JP2006348437A (ja) 身体装着用具
JP4662815B2 (ja) 水蒸気発生体
JP7551201B2 (ja) 反応制限袋及び被服
JP4693507B2 (ja) 発熱具保持用ベルト
CN214858020U (zh) 轻束缚防抓扯手套
TW202435827A (zh) 僵硬緩和用溫熱件
JPH0339451Y2 (ja)
JP2007307087A (ja) 身体装着用具

Legal Events

Date Code Title Description
A521 Request for written amendment filed

Free format text: JAPANESE INTERMEDIATE CODE: A523

Effective date: 20061026

A621 Written request for application examination

Free format text: JAPANESE INTERMEDIATE CODE: A621

Effective date: 20080617

A521 Request for written amendment filed

Free format text: JAPANESE INTERMEDIATE CODE: A523

Effective date: 20081202

A977 Report on retrieval

Free format text: JAPANESE INTERMEDIATE CODE: A971007

Effective date: 20100810

A131 Notification of reasons for refusal

Free format text: JAPANESE INTERMEDIATE CODE: A131

Effective date: 20100817

A521 Request for written amendment filed

Free format text: JAPANESE INTERMEDIATE CODE: A523

Effective date: 20101014

A521 Request for written amendment filed

Free format text: JAPANESE INTERMEDIATE CODE: A523

Effective date: 20101018

A02 Decision of refusal

Free format text: JAPANESE INTERMEDIATE CODE: A02

Effective date: 20110412

A521 Request for written amendment filed

Free format text: JAPANESE INTERMEDIATE CODE: A523

Effective date: 20110712

A911 Transfer to examiner for re-examination before appeal (zenchi)

Free format text: JAPANESE INTERMEDIATE CODE: A911

Effective date: 20110902

TRDD Decision of grant or rejection written
A01 Written decision to grant a patent or to grant a registration (utility model)

Free format text: JAPANESE INTERMEDIATE CODE: A01

Effective date: 20111108

A01 Written decision to grant a patent or to grant a registration (utility model)

Free format text: JAPANESE INTERMEDIATE CODE: A01

A61 First payment of annual fees (during grant procedure)

Free format text: JAPANESE INTERMEDIATE CODE: A61

Effective date: 20111129

R150 Certificate of patent or registration of utility model

Ref document number: 4878959

Country of ref document: JP

Free format text: JAPANESE INTERMEDIATE CODE: R150

Free format text: JAPANESE INTERMEDIATE CODE: R150

FPAY Renewal fee payment (event date is renewal date of database)

Free format text: PAYMENT UNTIL: 20141209

Year of fee payment: 3

R250 Receipt of annual fees

Free format text: JAPANESE INTERMEDIATE CODE: R250

R250 Receipt of annual fees

Free format text: JAPANESE INTERMEDIATE CODE: R250

R250 Receipt of annual fees

Free format text: JAPANESE INTERMEDIATE CODE: R250

R250 Receipt of annual fees

Free format text: JAPANESE INTERMEDIATE CODE: R250

R250 Receipt of annual fees

Free format text: JAPANESE INTERMEDIATE CODE: R250

R250 Receipt of annual fees

Free format text: JAPANESE INTERMEDIATE CODE: R250

S111 Request for change of ownership or part of ownership

Free format text: JAPANESE INTERMEDIATE CODE: R313115

R350 Written notification of registration of transfer

Free format text: JAPANESE INTERMEDIATE CODE: R350

R250 Receipt of annual fees

Free format text: JAPANESE INTERMEDIATE CODE: R250

R250 Receipt of annual fees

Free format text: JAPANESE INTERMEDIATE CODE: R250

R250 Receipt of annual fees

Free format text: JAPANESE INTERMEDIATE CODE: R250

R250 Receipt of annual fees

Free format text: JAPANESE INTERMEDIATE CODE: R250

R250 Receipt of annual fees

Free format text: JAPANESE INTERMEDIATE CODE: R250

EXPY Cancellation because of completion of term