JP2006317618A - レンズ絞り機構、レンズ鏡筒及び撮像装置 - Google Patents

レンズ絞り機構、レンズ鏡筒及び撮像装置 Download PDF

Info

Publication number
JP2006317618A
JP2006317618A JP2005138664A JP2005138664A JP2006317618A JP 2006317618 A JP2006317618 A JP 2006317618A JP 2005138664 A JP2005138664 A JP 2005138664A JP 2005138664 A JP2005138664 A JP 2005138664A JP 2006317618 A JP2006317618 A JP 2006317618A
Authority
JP
Japan
Prior art keywords
diaphragm
light
blade
aperture
lens
Prior art date
Legal status (The legal status is an assumption and is not a legal conclusion. Google has not performed a legal analysis and makes no representation as to the accuracy of the status listed.)
Pending
Application number
JP2005138664A
Other languages
English (en)
Inventor
Shingo Haba
真悟 幅
Current Assignee (The listed assignees may be inaccurate. Google has not performed a legal analysis and makes no representation or warranty as to the accuracy of the list.)
Sony Corp
Original Assignee
Sony Corp
Priority date (The priority date is an assumption and is not a legal conclusion. Google has not performed a legal analysis and makes no representation as to the accuracy of the date listed.)
Filing date
Publication date
Application filed by Sony Corp filed Critical Sony Corp
Priority to JP2005138664A priority Critical patent/JP2006317618A/ja
Publication of JP2006317618A publication Critical patent/JP2006317618A/ja
Pending legal-status Critical Current

Links

Images

Landscapes

  • Lens Barrels (AREA)
  • Diaphragms For Cameras (AREA)

Abstract

【課題】 従来のレンズ絞り機構では、その絞り機構の幅が絞り部の最大幅よりも広くなってしまい、鏡筒及び撮像装置全体の小型化、薄型化の要求を満たすことができないという課題がある。
【解決手段】 光を透過させる光透過部材からなると共に光の透過を阻止する第1の遮光部6を設けた第1の絞り羽根2と、光の透過を阻止すると共に第1の遮光部6との間で絞り部18を形成する第2の遮光部10を設けた第2の絞り羽根3と、第1の絞り羽根2と第2の絞り羽根3を相対的にスライドさせて絞り部18の開口量を変更可能な羽根駆動手段4と、を有する構成とした。
【選択図】 図2

Description

本発明は、2枚の絞り羽根を相対的にスライドさせて絞り部の開口量を変更するレンズ絞り機構と、そのレンズ絞り機構を備えたレンズ鏡筒と、そのレンズ鏡筒を用いた撮像装置に関するものである。
従来の、この種のレンズ絞り機構としては、例えば、特許文献1に記載されているようなものがある。特許文献1には、レンズ鏡筒の絞り機構の改良に関するものが記載されている。この特許文献1に記載されたレンズ鏡筒の絞り機構は、「ハウジングに絞りを調整するためのスライドプレートを移動可能に収納して蓋としてのカバーを取付け、このカバーを固定レンズに近接してレンズ鏡筒に取付ける絞り機構において、前記カバーに、絞り機構を固定レンズに沿って差込む際にレンズに臨む部分を切欠き、この切欠きを通光のための窓に連続させてなる略U字切欠きに形成した」ことを特徴としている。
このような構成を有するレンズ鏡筒の絞り機構によれば、「絞り機構で固定レンズを擦る虞れがない。従って、ズームレンズ鏡筒の光学距離の全長を延長することなく、絞り機構と固定レンズとのクリアランスを十分に取ることができる」等の効果が期待される。
また、従来のこの種の他のレンズ絞り機構としては、例えば、特許文献2に記載されているようなものもある。特許文献2には、バーコードリーダ等のような光学情報読取り装置における絞りと結像レンズを含む結像光学系の構造に関するものが記載されている。この特許文献2に記載された光学情報読取り装置の結像光学系構造は、「結像レンズと、上記結像レンズの前方または後方に設けられた透明部材と、上記透明部材の前面または後面に設けられ、前記結像レンズの光学軸上に位置して絞りとなる所定形状の透光開口部が形成された遮光被膜と、を有する」ことを特徴としている。
このような構成を有する光学情報読取り装置の結像光学系構造によれば、「絞りの開口部の面積を減じてもケラレ現象の発生を抑止することができるから、絞りの開口面積を絞って遠方の物体をリニアセンサーに鮮明に結像させることができる」等の効果が期待される。
しかしながら、上述したような特許文献1に記載されたレンズ鏡筒の絞り機構は、図14に示すように、遮光部材からなると共に略U字型の切欠きを有する下プレート201及び上プレート202と、これら下プレート201及び上プレート202をそれぞれスライドさせるスイングアーム203等から構成されていた。そして、モータ(図示しない)でスイングアーム203を所定の角度範囲内で回転させることにより、下プレート201及び上プレート202を相対的にスライドさせて、下プレート201及び上プレート202で構成する絞り部の通光面積(開口量)204を変更可能としていた。
ところが、絞り部の通光面積(開口量)204を形成するためには、下プレート201及び上プレート202それぞれに一対の腕部205,205及び206,206をそれぞれ設ける必要があった。そのため、絞り機構の幅が絞り部の通光面積(開口量)を最大にしたときの絞り部の幅Lよりも各腕部205,206の幅2α(α+α)だけ広くなってしまい、近年のレンズ鏡筒及びそのレンズ鏡筒を用いた撮像装置全体の小型化、薄型化の要求を満たすことができないという問題があった。
このような構成を有するレンズ鏡筒の絞り機構の外形を小さくする対策としては、各腕部205,206の幅αを小さくすることが考えられる。しかしながら、各腕部205,206の幅αを小さくすればする程、下プレート201及び上プレート202の強度が弱くなってしまうため、下プレート201及び上プレート202に折れ、ねじれ、撓み等を発生させるおそれがある。そのため、特に強度が要求されるシャッタ動作において信頼性を確保することが困難になるという問題が生じる。
また、特許文献2に記載された光学情報読取り装置の結像光学系構造においては、結像レンズの前方に平坦面をなし且つ矩形の透明部材を配置し、この透明部材の一方の平面に透光開口部を除いて遮光被膜を形成することで絞りを構成していが、この絞りは予め所定の大きさに設定されたものであり、所望の大きさに変更することができなかった。そのため、レンズの焦点が合う範囲(被写界深度)を変更して所望の像を得ることができないという問題があった。
特開平11−142906号公報 特開平9−147048号公報
解決しようとする問題点は、遮光部材からなる2枚のプレートを相対的にスライドさせることで絞り部の通光面積(開口量)を変更可能なレンズ絞り機構を構成すると、絞り機構の幅が絞り部の通光面積(開口量)を最大にしたときの絞り部の幅よりも広くなってしまい、レンズ鏡筒及び撮像装置全体の小型化、薄型化の要求を満たすことができないという点である。
本出願のレンズ絞り機構は、光を透過させる光透過部材からなると共に光の透過を阻止する第1の遮光部を設けた第1の絞り羽根と、光の透過を阻止すると共に第1の遮光部との間で絞り部を形成する第2の遮光部を設けた第2の絞り羽根と、第1の絞り羽根と第2の絞り羽根を相対的にスライドさせて絞り部の開口量を変更可能な羽根駆動手段と、を有することを最も主要な特徴とする。
本出願のレンズ絞り機構によれば、光透過部材からなる第1の絞り羽根に第1の遮光部を設けると共に第2の絞り羽根に第2の遮光部を設け、第1の遮光部と第2の遮光部によって絞り部を形成する構成としたため、第1及び第2の絞り羽根の幅を絞り部の最大幅と同等にすることができ、機構全体の幅を狭めて小型化を実現することができる。
第1及び第2の絞り羽根の幅を絞り部の最大幅と同等にし、機構全体の幅を狭めて小型化を実現することができる絞り機構を、簡単な構造によって実現した。
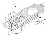
図1〜図13は、本発明のレンズ絞り機構、レンズ鏡筒及び撮像装置の実施の形態の例を説明するものである。即ち、図1はレンズ絞り機構の第1の実施例を示す分解斜視図、図2は図1のレンズ絞り機構の絞り部の開口量を最大にした状態を示す斜視図、図3は同じく開口量を最小に近づけた状態を示す斜視図、図4A,Bは図2及び図3の平面図、図5A,Bは、図1のレンズ絞り機構の遮光部の形状の他の例を示す平面図、図6は図1のレンズ絞り機構を備えたレンズ鏡筒の斜視図、図7は図6のレンズ鏡筒を断面した説明図、図8〜図10は本発明のレンズ絞り機構の第2〜4の実施例を示す斜視図、図11は図1のレンズ絞り機構にNDフィルタを取り付けた状態を説明する説明図、図12は図6のレンズ鏡筒を用いた撮像装置を正面側から見た斜視図、図13は同じく背面側からみた斜視図である。
図1〜図4に示すように、本発明の第1の実施例を示すレンズ絞り機構1は、第1の絞り羽根2と、この第1の絞り羽根2に重ね合わせて配置される第2の絞り羽根3と、第1の絞り羽根2と第2の絞り羽根3を相対する方向へスライドさせる羽根駆動手段4等から構成されている。
第1の絞り羽根2は、光を透過させる光透過部材からなっている。この光透過部材としては、例えば、透明アクリル樹脂を挙げることができるが、その他透明ポリカーボネイト等の透明合成樹脂は勿論、透明ガラスを用いることもできる。第1の絞り羽根2は、図1等に示すように、略長方形の板状をなしており、長手方向Xの一側には、光の透過を阻止する第1の遮光部6が設けられており、他側には第1の開口部7が設けられている。
第1の遮光部6は、第1の絞り羽根2の表面に遮光性塗料を印刷することにより形成されている。本実施例では、遮光性塗料の印刷面を上面としたが、印刷面を下面、又は両面(上面と下面)としてもよい。この第1の遮光部6の長手方向Xに対向する2辺のうちの開口部7側の一辺は、第1の絞り羽根2の幅方向Yの一端から他端まで達する略V字形のV字端部6aとされている。このV字端部6aの頂部は、図1等に示すように、鋭角に形成することに限定されるものではなく、円弧等の曲線で形成するようにしてもよい。更に、V字端部6aは、第1の絞り羽根2の長手方向Xに対向する2辺に直線で接する必要はなく、必要に応じて円弧等の曲線で接するようにしてもよい。第1の絞り羽根2の第1の開口部7は、長手方向Xに延びる略長方形をなしており、幅方向Yに対向する長辺の一方に第1のラック8が設けられている。この第1のラック8には、羽根駆動手段4の後述するギア16が噛合される。
第2の絞り羽根3は、前述した第1の絞り羽根2と略同様な形状及び構成とされていて、光の透過を阻止する第2の遮光部10と、この第2の遮光部10側の短辺に形成された切欠き部11と、第2の開口部12が設けられている。第2の絞り羽根3の第2の開口部12は、長手方向Xに延びる略長方形をなしており、第1の絞り羽根2に設けた第1の開口部7の第1のラック8と対向する側の長辺に第2のラック13が設けられている。この第2のラック13には、第1のラック8と同様に羽根駆動手段4の後述するギア16が噛合される。
第2の絞り羽根3の第2の遮光部10は、第1の絞り羽根2の第1の遮光部6と同様に第2の絞り羽根3の表面(上面)に遮光用塗料を印刷して形成されている。第2の絞り羽根3の切欠き部11は、幅方向Yの一端から他端まで達する略V字形に形成されていて、幅方向Yに関して第1の遮光部6のV字端部6aと対称とされている。この切欠き部11も、前述した第1の絞り羽根2のV字端部6aと同様に、その頂部を円弧等の曲線で形成するようにしたり、第2の絞り羽根3の長手方向Xに対向する2辺側の形状を円弧等の曲線としてもよい。かくして、図2等に示すように、第1の絞り羽根2に設けた第1の遮光部6のV字端部6aと、第2の絞り羽根3の第2の遮光部10側の切欠き部11とによって略矩形をなす光の透過(通過)が可能な開口窓、即ち、絞り部18が形成される。
羽根駆動手段4は、モータの一具体例を示すスッテッピンモータ15と、このスッテッピングモータ15の回転軸に固定されたギア16と、各絞り羽根2,3に設けた開口部7,12のそれぞれのラック8,13からなっている。
羽根駆動手段4のギア16の直径は、第1及び第2の開口部7,12の短辺の長さと略同一に設定されており、各ラック8,13にそれぞれ噛合されている。これにより、ギア16の回転動作が、第1及び第2の絞り羽根2,3の長手方向Xのスライド動作に変換される。しかも、第1のラック8と第2のラック13は、ギア16を挟むように互いに対向されているため、第1の絞り羽根2と第2の絞り羽根3は、相対する方向にスライド動作するようになっている。その結果、第1の絞り羽根2に設けた第1の遮光部6のV字端部6aと第2の絞り羽根3の切欠き部11によって形成される絞り部18の開口量を任意に変更することができる。
本実施例では、第1の絞り羽根2の第1の遮光部6にV字端部6aを設け、第2の絞り羽根3に略V字形の切欠き部11を設けることで、略矩形の絞り部18を形成したが、図5A,Bに示すように、第1の絞り羽根2の第1の遮光部6に半円端部6bを設け、第2の絞り羽根3に半円形の切欠き部17を設けて絞り部19を形成することもできる。この場合、絞り部19は両外側に突となる略楕円形(図5B参照)に形成され、開口量が最大になったときに略円形(図5A参照)に形成される。
また、本実施例では、遮光性塗料を印刷することで第1及び第2の遮光部5,10を形成したが、本発明に係るレンズ絞り機構に設ける遮光部としては、遮光性塗料の印刷に限定されるものではなく、遮光性塗料の蒸着、塗装は勿論、各絞り羽根の表面に化学処理を行うことや、別部材(例えば遮光性フィルム)を貼り付けることで形成することも可能である。
更に、本実施例では、第2の絞り羽根3を光透過部材によって形成したが、本発明に係るレンズ絞り機構の第2の絞り羽根としては、光透過部材に限定されるものではなく、例えば、光の透過を阻止する遮光部材、所定の量の光を透過させる光透過率の低い部材等で形成することもできる。なお、第2の絞り羽根3を遮光部材で形成する場合は、第2の絞り羽根2に第2の遮光部10を設ける必要がなく、作業工程を削減して作業効率の向上を図ることができる。
このような構成を有するレンズ絞り機構1によれば、次のようにして絞り部18の開口量の変更が実行される。まず、絞り部18の開口量を大きくするには、羽根駆動手段4のステッピングモータ15によってギア16を、図2に示す状態を上方から見て時計と同じ方向に回転させる。これにより、第1の絞り羽根2が第1の遮光部6をギア16から遠ざける方向にスライド移動すると共に、第2の絞り羽根3が第2の遮光部10をギア16に近づける方向にスライド移動する。その結果、絞り部18の開口量が徐々に増加し、図4A等に示すように、絞り部18の幅が第1及び第2の絞り羽根部2,3の幅と同等となるとき、絞り部18の開口量が最大となる。
また、絞り部18の開口量を小さくするには、羽根駆動手段4のステッピングモータ15によってギア16を、図2に示す状態を上方から見て時計と反対方向に回転させる。これにより、第1及び第2の絞り羽根2,3は、絞り部18の開口量を大きくする場合と逆の方向にそれぞれスライド移動する。即ち、第1の絞り羽根2が第1の遮光部6をギア16に近づける方向にスライド移動すると共に、第2の絞り羽根3が第2の遮光部10をギア16から遠ざける方向にスライド移動する。その結果、絞り部18の開口量が徐々に減少し、図4B等に示すように、絞り部18の開口量を可及的に小さくし、更には完全に閉じることができる。
このような構成を有するレンズ絞り機構1によれば、第1及び第2の絞り羽根2,3の幅を絞り部18の最大幅と同等にすることができ、機構全体の幅を狭めて小型化を実現することができる。また、第1及び第2の絞り羽根2,3は平板状をなしているため、強度を確保しながら各絞り羽根2,3の厚みを薄くすることができる。その結果、各絞り羽根2,3が軽くなり、シャッタスピードの性能を向上することができる。
図6及び図7は、前述したような構成を有するレンズ絞り機構1を備えたレンズ鏡筒の一具体例を示すレンズ鏡筒21の図である。このレンズ鏡筒21は、鏡筒本体22と、この鏡筒本体22に固定又は移動可能に保持された5組のレンズ群23,24,25,26,27と、レンズ絞り機構1と、撮像手段の一具体例を示すCCD(撮像素子)28等を備えて構成されている。
鏡筒本体22は、内部に光の通る光通路30が設けられた筒状の鏡筒部31と、この鏡筒部31の光通路30に連続してレンズ絞り機構1の一部を収納する絞り機構収納部32からなっている。
鏡筒本体22の絞り機構収納部32には、レンズ絞り機構1の各絞り羽根2,3の第1及び第2の開口部7,12側とギア16が収納されており、その他の部分、即ち、絞り部18を形成する部分が光通路30内に配置されている。この際、レンズ絞り機構1の第1及び第2の絞り羽根2,3の幅方向Yの両側面と鏡筒本体22の内面との間には、図示しない予圧手段が介在されている。この予圧手段としては、板ばねを挙げることができるが、例えば、ゴム状弾性体やコイルばねを用いることもできる。これにより、各絞り羽根2,3の幅方向Yへの振れを防止して絞り部18の精度を向上させることができる。また、絞り機構収納部32の下面には、図に表れない貫通孔が設けられていて、この貫通孔をステッピングモータ15の回転軸が貫通してギア16と固定されている。
鏡筒部31の光通路30の上部には正面に開口する被写体側の開口部33が設けられている。そして、光通路30の開口部33と反対側の下部にはCCD28が配置されている。鏡筒部31の光通路30の開口部31には、第1固定レンズ群23が配置され、光通路30の中途部には第2固定レンズ群25が配置され、光通路30の他端部には第3固定レンズ群27が配置されている。そして、第1固定レンズ群23と第2固定レンズ群25との間に第1可動レンズ群24が配置され、第2固定レンズ群25と第3固定レンズ群27との間に第2可動レンズ群26が配置されている。
更に、第2固定レンズ群25と第2可動レンズ群26との間にレンズ絞り機構1の絞り部18を形成する部分が配置されている。5組のレンズ群23〜27は、互いの光軸が1つの光軸上に一致するように同軸上に設定されていて、その光軸CLに絞り部18の中心が一致するようにレンズ絞り機構1が配置されている。
第1固定レンズ群23は、被写体に対向される撮影レンズ23aと、この撮影レンズ23aに対向される三角プリズム23bと、この三角プリズム23bの他面に対向されるレンズ23cとの組み合わせによって構成されている。これにより、被写体からの光が撮影レンズ23aから入射され、三角プリズム23bで90度方向変換されて、レンズ23cから下方に導かれるようになっている。
第1可動レンズ群24は、図示しないレンズ移動機構により光軸CLに沿って進退移動可能に構成されており、これにより、ズームレンズが構成されている。即ち、第1可動レンズ群24が第1固定レンズ群23に近づく方向へ移動すると望遠となり、その逆に第2固定レンズ群25に近づく方向へ移動すると広角となる。また、第2可動レンズ群26は、図示しないレンズ移動機構により光軸CLに沿って進退移動可能とされており、これにより、フォーカスレンズが構成されている。
レンズ絞り機構1は、前述したように、羽根駆動手段4により第1及び第2の絞り羽根2,3を相対的にスライドさせて、光軸CLを中心に絞り部18の開口量を変更可能に構成されており、これにより、第2可動レンズ26に入射される光の量が調節可能とされている。かくして、被写体からの光は、各レンズ群23〜27及び絞り機構1の絞り部18を通ってCCD28に入射され、電気的な信号に変換される。
このような構成を有するレンズ鏡筒21に本願発明のレンズ絞り機構1を適用することにより、レンズ鏡筒21の幅を狭くして小型化、薄型化を実現することができる。
図8には、上述したようなレンズ鏡筒21に適用される本発明のレンズ絞り機構の第2の実施例を示している。この第2の実施例に係るレンズ絞り機構41は、第1の絞り羽根42と、この第1の絞り羽根42に重ね合わせて配置される第2の絞り羽根43と、第1の絞り羽根42と第2の絞り羽根43を相対的にスライドさせる羽根駆動手段44等から構成されている。
第1の絞り羽根42は、光を透過させる光透過部材からなり、略長方形の板状をなす羽根本体46と、この羽根本体46の1つの角部に連続して形成されている腕部47と、この腕部47の先端に設けられたカム部48からなっている。
第1の絞り羽根42の羽根本体46の上面には、長手方向Xの腕部47と反対側に光の透過を阻止する第1の遮光部49が設けられている。この第1の遮光部49は、第1の実施例における第1の絞り羽根2に設けた第1の遮光部6と同一の形状とされていて、V字端部49aを有している。また、第1の絞り羽根42のカム部48の略中央部には、上下面を貫通する第1の被操作部としての長穴48aが設けられており、この長穴48aには羽根駆動手段44の後述する回動アーム58の係合ピン58aが摺動可能に係合される。
第2の絞り羽根43は、第1の絞り羽根42と略同様な構成とされていて、略長方形の板状をなす羽根本体50と、この羽根本体50の1つの角部に連続して形成されている腕部51と、この腕部51の先端に設けられたカム部52からなっている。
第2の絞り羽根43の羽根本体50には、光の透過を阻止する第2の遮光部54と、切欠き部55が設けられており、これら第2の遮光部54及び切欠き部55は、第1の実施例における第2の絞り羽根3の第2の遮光部10及び切欠き部13と同一の形状とされている。これにより、第1の絞り羽根42に設けた第1の遮光部49のV字端部49aと、第2の絞り羽根43の切欠き部55とによって第1の実施例の絞り部18と同様の絞り部59が形成される。また、第2の絞り羽根43のカム部52の略中央部には、上下面を貫通する第2の被操作部としての長穴52aが設けられており、この長穴52aには羽根駆動手段44の後述する回動アーム58の係合ピン58bが摺動可能に係合される。
羽根駆動手段44は、モータの一具体例を示すスッテッピンモータ57と、このスッテッピングモータ57の回転軸に固定された回動アーム58と、各絞り羽根42,43のカム部48,52にそれぞれ設けた長穴48a,52aからなっている。回動アーム58は、略菱形をなした所定の厚みを有する板体からなっており、その中心部がスッテッピングモータ57の回転軸に固定されている。この回動アーム58の上面には、中心部から等間隔をおいて長手方向の両端に配置される第1及び第2の操作部としての一対の係合ピン58a,58bが設けられている。
回動アーム58の一対の係合ピン58a,58bは、上述したように、各絞り羽根42,43のカム部48,52に設けた長穴48a,52aにそれぞれ摺動可能に係合されている。これにより、回動アーム58の回動は、各カム部48,52の長穴48a,52aで許容されて、各絞り羽根42,43の相対的なスライド動作に変換される。
本実施例では、回動アーム58に第1及び第2の操作部として一対の係合ピン58a,58bを設け、これら係合ピン58a,58bが摺動可能に係合される第1及び第2の被操作部としての長穴48a,52aを各絞り羽根42,43にそれぞれ設ける構成としたが、回動アームに第1及び第2の操作部として一対の長穴を設け、各絞り羽根42,43に第1及び第2の被操作部としてそれぞれ係合ピンを設けることもできるものである。
このような構成を有するレンズ絞り機構41によれば、次のようにして絞り部59の開口量の変更が実行される。まず、絞り部59の開口量を大きくするには、羽根駆動手段44のステッピングモータ57によって回動アーム58を、図8に示す状態を上方から見て時計と同じ方向に回動させる。これにより、回動アーム58の係合ピン58aが、第1の絞り羽根42の長穴48a内を摺動しながらステッピングモータ57の回転軸を中心に回動して、第1の絞り羽根42をステッピングモータ15から離れる方向にスライド移動させる。これと同時に、回動アーム58の係合ピン58bが、第2の絞り羽根43の長穴52a内を摺動しながらステッピングモータ57の回転軸を中心に回動して、第2の絞り羽根43をステッピングモータ15に近づく方向、即ち、第1の絞り羽根42のスライド方向と逆方向にスライド移動させる。その結果、絞り部59の開口量が徐々に増加し、図8に示す状態、即ち、絞り部59の幅が第1及び第2の絞り羽根42,43の幅と同等となるとき、絞り部59の開口量が最大となる。
また、絞り部59の開口量を小さくするには、羽根駆動手段44のステッピングモータ57によって回動アーム58を、図8に示す状態を上方から見て時計と反対方向に回動させる。これにより、回動アーム58の一対の係合ピン58a,58bが、絞り部59の開口量を大きくする場合とは逆方向に回動して、第1の絞り羽根42をステッピングモータ15に近づく方向に、第2の絞り羽根43をステッピングモータ15から離れる方向にそれぞれスライド移動させる。その結果、絞り部59の開口量が徐々に減少し、第1の実施例と同様に絞り部59の開口量を可及的に小さくし、更には完全に閉じることができる。
このような構成を有するレンズ絞り機構41によれば、第1の実施例と同様な効果を得ることができる。即ち、各絞り羽根42,43の幅を絞り部59の最大幅と同等にすることができ、機構全体の幅を狭めて小型化を実現することができる。更に、第1の実施例よりも各絞り羽根42,43を軽量化することができる。
図9には、上述したようなレンズ鏡筒21に適用される本発明のレンズ絞り機構の第3の実施例を示している。この第3の実施例に係るレンズ絞り機構61は、第1の実施例のレンズ絞り機構1と略同様な構成を有しており、第1の絞り羽根62と、第2の絞り羽根63と、第1の絞り羽根62と第2の絞り羽根63を相対的にスライドさせる羽根駆動手段64等から構成されている。
第1の絞り羽根62は、光を透過させる光透過部材からなり、長手方向Xの一端が幅細に形成された凸状の板体とされている。この第1の絞り羽根62の幅細に形成された部位には第1の開口部67が設けられており、長手方向Xの開口部67と反対側には光の透過を阻止する第1の遮光部66が設けられている。
第1の絞り羽根62の第1の遮光部66は、第1の実施例における第1の絞り羽根2の第1の遮光部6と同一の形状とされていて、V字端部66aを有している。第1の絞り羽根62の第1の開口部67は、長手方向Xに延びる細長の略長方形をなしており、第1の実施例の開口部7に比べ幅が狭く設定されている。この開口部67の幅方向Yに対向する長辺の一方には、第1のラック68が設けられており、この第1のラック68に羽根駆動手段64の後述するギア76が噛合される。
第2の絞り羽根63は、前述した第1の絞り羽根62と略同様な構成及び形状とされていて、光の透過を阻止する第2の遮光部70と、略V字形の切欠き部71と、開口部72を有している。
第2の絞り羽根63の第2の遮光部70及び切欠き部71は、第1の実施例における第2の絞り羽根3の第2の遮光部10及び切欠き部11と同一の形状とされている。これにより、第1の絞り羽根62に設けた第1の遮光部66のV字端部66aと、第2の絞り羽根63の切欠き部71とによって第1の実施例の絞り部18と同様の絞り部78が形成される。
第2の絞り羽根63の第2の開口部72は、長手方向Xに延びる細長の略長方形をなしており、第1の絞り羽根62に設けた第1の開口部67の第1のラック68と対向する側の長辺に第2のラック73が設けられている。この第2のラック73には、第1のラック68と同様に羽根駆動手段64の後述するギア76が噛合される。
羽根駆動手段64は、モータの一具体例を示すスッテッピンモータ75と、このスッテッピングモータ75の回転軸に固定されたギア76と、各絞り羽根62,63に設けた開口部67,72のそれぞれのラック68,73からなっている。
羽根駆動手段64のギア76の直径は、第1及び第2の開口部67,72の短辺の長さと略同一に設定されており、各ラック68,73とそれぞれ噛合されている。これにより、スッテッピングモータ75でギア76を回転させると、第1の実施例と同様に、第1の絞り羽根62と第2の絞り羽根63が相対的にスライド動作するようになっている。その結果、絞り部78の開口量を任意に変更することができる。なお、レンズ絞り機構61の羽根駆動手段64のステッピングモータ75は、第1の実施例におけるステッピングモータ15に比べて高回転が可能なものであり、第1の実施例と同程度の速さで各絞り羽根62,63をスライドさせることができるものである。
このような構成を有するレンズ絞り機構61によれば、第1及び第2の開口部67,72の幅と、これら開口部67,72側の第1及び第2の絞り羽根の幅を幅細にする構成としたため、レンズ絞り機構の更なる小型化、軽量化を図ることができる。しかも、第1及び第2の絞り羽根の開口部67,72側は、レンズ鏡筒21の絞り機構収納部32に収納されるため、この絞り機構収納部32の幅を狭めることができ、レンズ鏡筒21の小型化に寄与することができる。
図10には、上述したようなレンズ鏡筒21に適用される本発明のレンズ絞り機構の第4の実施例を示している。この第4の実施例に係るレンズ絞り機構81は、前記第1の実施例における第1の絞り羽根2に、切欠き部86を設けて第1の絞り羽根82を構成したものである。この第4の実施例が前記第1の実施例と異なるところは第1の搾り羽根82のみであるため、その他の構成については同一の符号を付して重複した説明を省略する。
レンズ絞り機構81の第1の絞り羽根82は、光を透過させる光透過部材からなり、略長方形の板状をなしている。この第1の絞り羽根82は、第1の実施例における第1の絞り羽根2と略同様の構成を有しており、V字端部83aを有する第1の遮光部83と、ラック85を有する第1の開口部84が設けられている。更に、第1の絞り羽根82の幅方向Yに対向する2つの辺のうちの一辺には、切欠き部86が設けられており、この切欠き部86を設けることで腕部87が形成されている。
第1の絞り羽根82の切欠き部86の長手方向Xの長さは、開口量を最大にした絞り部88の長手方向Xの長さよりも長く設定されていると共に、第1の遮光部83側の辺がその第1の遮光部83のV字端部83aに沿って形成されている。第1の絞り羽根82の腕部87は、絞り部88の一部と干渉するように形成されている。しかしながら、この腕部87は、光を透過させる光透過部材からなっているため、絞り部88の一部と干渉していてもその開口量を小さくするおそれはない。これにより、第1及び第2の絞り羽根82,3の幅を絞り部88の最大幅と同等にすることができる。このような構成を有するレンズ絞り機構81によれば、第1の絞り羽根82の軽量化を図ることができ、第1の実施例のレンズ絞り機構1に比べて機構全体を軽くすることができる。
図11A,Bは、本発明に係るレンズ絞り機構に光調整部の一具体例としてNDフィルタ91を設けた図である。図11Aが第1〜第3の実施例における第1の絞り羽根2,42,62にNDフィルタ91を設けた状態を示し、図11Bが第4の実施例における第1の絞り羽根82にNDフィルタ91を設けた状態を示したものである。
図11A,11Bに示す第1〜第4の絞り羽根2,42,62,82に設けたNDフィルタ91の取付位置及びその効果は同様であるため、ここでは、図11Aに示す第1の絞り羽根2を例に挙げて説明する。NDフィルタ91は、入射光の分光組織を変えずに減光するものであり、第1の絞り羽根2に設けた第1の遮光部6のV字端部6aの頂部近傍を覆うように貼り付けられている。これにより、絞り部18の開口量を小さくした状態において、NDフィルタ91がその絞り部18全体を覆うようになっている。その結果、絞り部18によって入射光を減光することができ、被写体が明るく(入射光の光量が多く)且つ絞り部18の開口量が小さい場合に起こりやすい光の回折による画像の劣化を防止することができる。
本実施例では、絞り部の開口量を小さくした状態において、NDフィルタ91がその絞り部全体を覆う構成としたが、本発明に係るレンズ絞り機構に設けるNDフィルタとしては、絞り部の開口量が何れの状態においてもその絞り部全体を覆って、入射光を減光する構成とすることができるものである。また、絞り部の開口量の変化に伴って光の透過量が連続的に変化する、例えば、絞り部の開口量が小さくなるに伴って光の透過量を少なくするようなグラデーションを設けることもできるものである。
更に、本実施例では、NDフィルタ91を第1の遮光部のV字端部の頂点部近傍を覆うように貼り付ける構成としたが、図4Aに示すように、光透過部材が絞り部を覆う構成の場合は、その光透過部材に直接印刷することでNDフィルタを設けることもできる。この場合には、別部材を貼り付ける場合に比べて第1の絞り羽根の厚みの増加を抑制して薄い状態を保持することができると共に、製造工程を簡略化してコストを下げることができる。
また、図示しないが、本発明に係るレンズ絞り機構には、光調整部の他の具体例を示す反射防止膜を設けることもできる。この反射防止膜は、光の反射率を減らし、透過率を増すための薄層膜である。このような反射防止膜を、絞り部を覆う光透過部材の表面に施すことにより、被写体側からの入射光の光透過部材の表面での反射を軽減して、画像に生じるゴースト・フレア等を防止することができる。反射防止膜としては、例えば屈折率の異なる薄膜、SiO、TiO、ZnO等を積層させる多層膜を挙げることができるが、MgF等の単層膜でもよく、この種の反射防止膜に使用される各種の膜を用いることができることは勿論である。
図12及び図13は、前述したような構成を有するレンズ絞り機構1を備えたレンズ鏡筒21を用いた撮像装置の一具体例を示すデジタルスチルカメラ90の図である。このデジタルスチルカメラ90は、情報記録媒体として半導体記録メディアを使用し、光学的な画像をCCD(撮像素子)で電気的な信号に変換して半導体記録メディアに記録したり、液晶ディスプレイ等の表示装置に表示できるようにしたものである。
図12及び図13に示すように、デジタルスチルカメラ100は、中空の筐体からなるカメラ本体101と、このカメラ本体101の左上部に配設された撮影レンズ23aを有するレンズ鏡筒21と、このレンズ鏡筒21の下部に配置され、撮影レンズ23aから入力される光に基づいて被写体の映像信号を形成するCCD28(図6等参照)と、このCCD28で形成された映像信号又は予め情報記録媒体に記録されている情報に基づいて映像を表示する液晶ディスプレイ102等から構成されている。
図12に示すように、カメラ本体101の前面には、撮影レンズ23aの近傍にフラッシュ装置103と、セルフタイマランプ104が設けられている。また、カメラ本体101の上面には、電源スイッチである電源ボタン106と、撮影用のシャッタボタン107と、マイクロホン108が設けられている。更に、カメラ本体101の内部空間には、図示しないが、各種の電子部品が実装された配線基板、バッテリー電源、記憶装置、その他各種の電子部品や機械部品、装置等が収納されている。
図13に示すように、カメラ本体101の背面には、表示装置の一具体例を示す液晶ディスプレイ102と、ズーム操作を行うことができるズームボタン110と、内蔵スピーカ111と、コントロールボタン112と、メニューボタン113と、画面表示ボタン(LCDバックライトON/OFF)114と、4つの選択ボタン115と、画像サイズ/削除ボタン116等が設けられている。また、カメラ本体101の右側面の上部には、デジタルスチルカメラ100の機能モード、例えば、動画撮影モード、静止画撮影モード、画像再生/編集モード等を切り替えるためのモードスイッチ118が設けられている。
このような構成を有するデジタルスチルカメラ100に本発明のレンズ絞り機構を備えたレンズ鏡筒を適用することにより、カメラ本体101の幅を狭くすることができ、デジタルスチルカメラ100の小型化、薄型化を実現することができる。
以上説明したように、本発明のレンズ絞り機構によれば、第1の絞り羽根を光透過部材によって形成すると共に第1の遮光部を設け、第2の絞り羽根に第1の絞り羽根の第1の遮光部とによって絞り部を形成する第2の遮光部を設けることにより、第1及び第2の絞り羽根の幅を絞り部の最大幅と同等にすることができ、機構全体の幅を狭めて小型化を実現することができる。その結果、本発明のレンズ絞り機構を備えた鏡筒と、この鏡筒を用いた撮像装置全体の小型化、薄型化を実現することができる。
本発明は、前述しかつ図面に示した実施の形態に限定されるものではなく、その要旨を逸脱しない範囲内で種々の変形実施が可能である。例えば、前記実施例においては、撮像装置としてデジタルスチルカメラを適用した例について説明したが、その他のスチルカメラは勿論のこと、ビデオカメラ、カメラ付きパーソナルコンピュータ、カメラ付き携帯電話その他の撮像装置に適用できるものである。
本発明のレンズ絞り機構の一実施例を示す分解斜視図である。 本発明のレンズ絞り機構の絞り部の開口量を最大にした状態を示す斜視図である。 本発明のレンズ絞り機構の絞り部の開口量を最小に近づけた状態を示す斜視図である。 本発明のレンズ絞り機構の平面図であり、同図Aは図2の絞り部の開口量を最大にした状態を示し、同図Bは図3の絞り部の開口量を最小に近づけた状態を示すものである。 図1のレンズ絞り機構に設けた遮光部の他の形状を示す平面図であり、同図Aは絞り部の開口量を最大にした状態を示し、同図Bは絞り部の開口量を最小に近づけた状態を示すものである。 図1のレンズ絞り機構を備えたレンズ鏡筒を示す説明図である。 図5のレンズ鏡筒を断面して示す説明図である。 本発明のレンズ絞り機構の第2の実施例を示す斜視図である。 本発明のレンズ絞り機構の第3の実施例を示す斜視図である。 本発明のレンズ絞り機構の第4の実施例を示す斜視図である。 本発明のレンズ絞り機構にNDフィルタを取り付けた状態を示す説明図である。 図6のレンズ鏡筒を用いた撮像装置を正面側から見た斜視図である。 図6のレンズ鏡筒を用いた撮像装置を背面側から見た斜視図である。 従来のレンズ絞り機構の絞り部の開口量を最大にした状態を示す平面図である。
符号の説明
1,41,61,81…レンズ絞り機構、 2,42,62,82…第1の絞り羽根、 3,43,63…第2の絞り羽根、 4,44,64…羽根駆動手段、 6,49,66,83…第1の遮光部、 6a,49a,66a,83a…V字端部、 6b…半円端部、 7,67,84…第1の開口部、 8,68,85…第1のラック、 10,54,70…第2の遮光部、 11,17,55,71…切欠き部、 12,72…第2の開口部、 13,73…第2のラック、 15,57,75…ステッピングモータ(モータ)、 16,76…ギア、 18,19,59,78,88…絞り部、 21…レンズ鏡筒、 22…鏡筒本体(鏡筒)、 31…鏡筒部、 32…絞り機構収納部、 46,50…羽根本体、 47,51…腕部、 48,52…カム部、 48a,52a…長穴(第1及び第2の被操作部)、 58…回動アーム、 58a,58b…係合ピン(第1及び第2の操作部)、 85…切欠き部、 86…腕部、 91…NDフィルタ(光調整部)、 100…デジタルスチルカメラ(撮像装置)、 101…カメラ本体(撮像装置本体)

Claims (9)

  1. 光を透過させる光透過部材からなると共に前記光の透過を阻止する第1の遮光部を設けた第1の絞り羽根と、
    前記光の透過を阻止すると共に前記第1の遮光部との間で絞り部を形成する第2の遮光部を設けた第2の絞り羽根と、
    前記第1の絞り羽根と前記第2の絞り羽根を相対的にスライドさせて前記絞り部の開口量を変更可能な羽根駆動手段と、を有することを特徴とするレンズ絞り機構。
  2. 前記絞り部は、前記第1の遮光部及び前記第2の遮光部に、前記光の透過が可能な略V字形、半円形、半楕円形又は四角形の光透過部をそれぞれ対向させて設けることにより形成したことを特徴とする請求項1記載のレンズ絞り機構。
  3. 前記絞り部の大きさの最大を、前記第1の絞り羽根及び前記第2の絞り羽根の幅と略一致させたことを特徴とする請求項1記載のレンズ絞り機構。
  4. 前記羽根駆動手段は、モータと、当該モータの回転軸に固定されたギアと、前記第1の絞り羽根に設けられて前記ギアに噛合される第1のラックと、前記第2の絞り羽根に設けられると共に前記第1のラックと対向するように配置されて前記ギアに噛合される第2のラックと、からなることを特徴とする請求項1記載のレンズ絞り機構。
  5. 前記羽根駆動手段は、モータと、当該モータの回転軸に固定されると共に当該回転軸を中心として直径方向の一方に設けられた第1の操作部と当該直径方向の他方に設けられた第2の操作部とを有する回動アームと、前記第1の絞り羽根に設けられると共に前記第1の操作部に摺動可能に係合される第1の被操作部と、前記第2の絞り羽根に設けられると共に前記第2の操作部に摺動可能に係合される第2の被操作部と、からなることを特徴とする請求項1記載のレンズ絞り機構。
  6. 前記絞り部の少なくとも一部には、光の透過量を調整可能な光調整部を設けたことを特徴とする請求項2記載のレンズ絞り機構。
  7. 前記光調整部は、前記第1の絞り羽根又は前記第2の絞り羽根の前記光透過部に直接印刷することにより形成したこと特徴とする請求項6記載レンズ絞り機構。
  8. 光を透過させる光透過部材からなると共に前記光の透過を阻止する第1の遮光部を設けた第1の絞り羽根と、前記光の透過を阻止すると共に前記第1の遮光部との間で絞り部を形成する第2の遮光部を設けた第2の絞り羽根と、前記第1の絞り羽根と前記第2の絞り羽根を相対的にスライドさせて前記絞り部の開口量を変更可能な羽根駆動手段と、を設けたレンズ絞り機構と、
    前記レンズ絞り機構が取り付けられる鏡筒と、
    を有することを特徴とするレンズ鏡筒。
  9. 光を透過させる光透過部材からなると共に前記光の透過を阻止する第1の遮光部を設けた第1の絞り羽根と、前記光の透過を阻止すると共に前記第1の遮光部との間で絞り部を形成する第2の遮光部を設けた第2の絞り羽根と、前記第1の絞り羽根と前記第2の絞り羽根を相対的にスライドさせて前記絞り部の開口量を変更可能な羽根駆動手段と、を設けたレンズ絞り機構と、
    前記レンズ絞り機構が取り付けられる鏡筒を有するレンズ鏡筒と、
    前記レンズ鏡筒が収納される撮像装置本体と、を有することを特徴とする撮像装置。
JP2005138664A 2005-05-11 2005-05-11 レンズ絞り機構、レンズ鏡筒及び撮像装置 Pending JP2006317618A (ja)

Priority Applications (1)

Application Number Priority Date Filing Date Title
JP2005138664A JP2006317618A (ja) 2005-05-11 2005-05-11 レンズ絞り機構、レンズ鏡筒及び撮像装置

Applications Claiming Priority (1)

Application Number Priority Date Filing Date Title
JP2005138664A JP2006317618A (ja) 2005-05-11 2005-05-11 レンズ絞り機構、レンズ鏡筒及び撮像装置

Publications (1)

Publication Number Publication Date
JP2006317618A true JP2006317618A (ja) 2006-11-24

Family

ID=37538364

Family Applications (1)

Application Number Title Priority Date Filing Date
JP2005138664A Pending JP2006317618A (ja) 2005-05-11 2005-05-11 レンズ絞り機構、レンズ鏡筒及び撮像装置

Country Status (1)

Country Link
JP (1) JP2006317618A (ja)

Cited By (6)

* Cited by examiner, † Cited by third party
Publication number Priority date Publication date Assignee Title
JP2009186673A (ja) * 2008-02-05 2009-08-20 Tamron Co Ltd 絞り装置、絞り装置を有するレンズ及びビデオカメラ
KR20140060857A (ko) * 2012-11-12 2014-05-21 삼성테크윈 주식회사 촬영장치
CN107850819A (zh) * 2015-07-23 2018-03-27 优势电影有限公司 用于摄像机镜头或用于照片或影片摄像机的椭圆状光圈
KR20180126705A (ko) * 2017-05-18 2018-11-28 삼성전기주식회사 카메라 모듈
CN113867075A (zh) * 2021-10-27 2021-12-31 维沃移动通信有限公司 光圈模组、摄像模组和电子设备
WO2023143440A1 (zh) * 2022-01-25 2023-08-03 维沃移动通信有限公司 光圈组件、摄像模组及电子设备

Citations (4)

* Cited by examiner, † Cited by third party
Publication number Priority date Publication date Assignee Title
JPS5888222A (ja) * 1981-11-17 1983-05-26 Natl Aerospace Lab 磁気軸受用ヨ−ク
JPH07104343A (ja) * 1993-10-07 1995-04-21 Canon Inc 光量調節装置
JP2000010152A (ja) * 1998-06-17 2000-01-14 Olympus Optical Co Ltd 絞り装置
JP2004038114A (ja) * 2002-07-08 2004-02-05 Fuji Photo Film Co Ltd オートフォーカスカメラ

Patent Citations (4)

* Cited by examiner, † Cited by third party
Publication number Priority date Publication date Assignee Title
JPS5888222A (ja) * 1981-11-17 1983-05-26 Natl Aerospace Lab 磁気軸受用ヨ−ク
JPH07104343A (ja) * 1993-10-07 1995-04-21 Canon Inc 光量調節装置
JP2000010152A (ja) * 1998-06-17 2000-01-14 Olympus Optical Co Ltd 絞り装置
JP2004038114A (ja) * 2002-07-08 2004-02-05 Fuji Photo Film Co Ltd オートフォーカスカメラ

Cited By (12)

* Cited by examiner, † Cited by third party
Publication number Priority date Publication date Assignee Title
JP2009186673A (ja) * 2008-02-05 2009-08-20 Tamron Co Ltd 絞り装置、絞り装置を有するレンズ及びビデオカメラ
KR20140060857A (ko) * 2012-11-12 2014-05-21 삼성테크윈 주식회사 촬영장치
KR101726694B1 (ko) 2012-11-12 2017-04-13 한화테크윈 주식회사 촬영장치
CN107850819A (zh) * 2015-07-23 2018-03-27 优势电影有限公司 用于摄像机镜头或用于照片或影片摄像机的椭圆状光圈
EP3339950A1 (de) * 2015-07-23 2018-06-27 Vantage Film GmbH Ellipsenartige blende für ein kameraobjektiv bzw. für eine photo- oder filmkamera
JP2018521361A (ja) * 2015-07-23 2018-08-02 ヴアンターゲ・フイルム・ゲーエムベーハー カメラレンズあるいは写真又はフィルムカメラのための楕円状の絞り装置
US10942420B2 (en) 2015-07-23 2021-03-09 Vantage Film Gmbh Ellipse-like aperture for a camera lens assembly or for a photo or film camera
KR20180126705A (ko) * 2017-05-18 2018-11-28 삼성전기주식회사 카메라 모듈
KR102069630B1 (ko) * 2017-05-18 2020-01-23 삼성전기주식회사 카메라 모듈
CN113867075A (zh) * 2021-10-27 2021-12-31 维沃移动通信有限公司 光圈模组、摄像模组和电子设备
US20240264509A1 (en) * 2021-10-27 2024-08-08 Vivo Mobile Communication Co., Ltd. Aperture module, camera module, and electronic device
WO2023143440A1 (zh) * 2022-01-25 2023-08-03 维沃移动通信有限公司 光圈组件、摄像模组及电子设备

Similar Documents

Publication Publication Date Title
JP5342465B2 (ja) レンズ鏡筒
US8625024B2 (en) Webcam with moveable zoom lens
CN117289438A (zh) 潜望式光学模块以及光学系统
CN100451712C (zh) 镜筒
CN210839753U (zh) 潜望式变焦摄像模组
CN111866328B (zh) 一种摄像头模组及移动终端
CN108600601B (zh) 摄像头模组、摄像头组件和电子装置
CN113286019B (zh) 光学模组、摄像头和电子设备
CN110266851A (zh) 摄像头模组、电子设备及摄像头模组的控制方法
JP2010266678A (ja) 撮像装置
JP2009288494A (ja) 光量調整装置、レンズ鏡筒および撮像装置
US6340252B1 (en) Light-quantity controlling device and apparatus using the same
CN112822346B (zh) 潜望式摄像模组和电子设备
JP2006317618A (ja) レンズ絞り機構、レンズ鏡筒及び撮像装置
CN114185166A (zh) 一种潜望式摄像模组及终端设备
CN110764170B (zh) 光学元件、镜头、摄像头及电子装置
US5598241A (en) Camera having a lens opening
JP4274778B2 (ja) カメラ
JP2006317547A (ja) 反射光学系組立ユニットと、反射光学系組立ユニットを用いた撮像装置
JP2007192860A (ja) 光路開閉装置及び撮像装置
JP5875804B2 (ja) レンズ鏡筒および撮像装置
JP2023116075A (ja) 光学ユニット、撮像ユニット及び携帯端末
JP2012048159A (ja) レンズ鏡筒および撮像装置
CN111885292A (zh) 摄像机构及电子设备
JP2017138382A (ja) レンズ鏡筒およびそれを用いた光学機器

Legal Events

Date Code Title Description
A621 Written request for application examination

Free format text: JAPANESE INTERMEDIATE CODE: A621

Effective date: 20080328

A977 Report on retrieval

Free format text: JAPANESE INTERMEDIATE CODE: A971007

Effective date: 20101208

A131 Notification of reasons for refusal

Free format text: JAPANESE INTERMEDIATE CODE: A131

Effective date: 20101214

A02 Decision of refusal

Free format text: JAPANESE INTERMEDIATE CODE: A02

Effective date: 20110426