JP2006288752A - 内視鏡挿入形状解析装置および、内視鏡挿入形状解析方法 - Google Patents
内視鏡挿入形状解析装置および、内視鏡挿入形状解析方法 Download PDFInfo
- Publication number
- JP2006288752A JP2006288752A JP2005113922A JP2005113922A JP2006288752A JP 2006288752 A JP2006288752 A JP 2006288752A JP 2005113922 A JP2005113922 A JP 2005113922A JP 2005113922 A JP2005113922 A JP 2005113922A JP 2006288752 A JP2006288752 A JP 2006288752A
- Authority
- JP
- Japan
- Prior art keywords
- shape
- endoscope
- endoscope insertion
- insertion portion
- information
- Prior art date
- Legal status (The legal status is an assumption and is not a legal conclusion. Google has not performed a legal analysis and makes no representation as to the accuracy of the status listed.)
- Granted
Links
Images
Landscapes
- Instruments For Viewing The Inside Of Hollow Bodies (AREA)
- Endoscopes (AREA)
Abstract
内視鏡挿入部のいずれの個所において挿入を阻害しているかまたは、その阻害原因部分を提示し、術者が提示された情報に基づき対処操作を的確に判断することが可能であり、内視鏡挿入が容易とすること。
【解決手段】
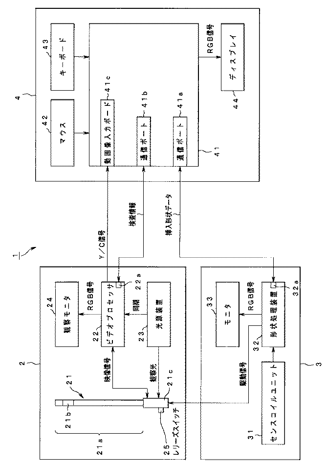
体腔内に挿入する挿入部を有する電子内視鏡21と、内視鏡挿入部21aの複数のソースコイル、センスコイルユニット31および形状処理装置32により挿入部形状を検出する形状観測装置3等と、内視鏡21が撮像した内視鏡画像と、形状観測装置3が検出した形状とを表示するディスプレイ44とを有し、さらに形状処理装置32が検出した情報を基にして、形状処理装置32が検出した形状のうち、特定位置としての推進停止位置を算出するPC41を有し、ディスプレイ44は、PC41が算出した特定位置等を指示表示する内視鏡挿入形状解析装置。
【選択図】 図1
Description
内視鏡の挿入性の難易度は、内視鏡挿入部の形状により決定されるものではなく、内視鏡挿入部と挿入する生体との接触から生じる外力の有無に左右される。その外力の内視鏡挿入部上における発生位置および、外力の発生要因とその要因の情報を、従来の内視鏡挿入形状観測装置は示していない。
また、提供される形状情報は、典型的な形状パターン、つまりループの有無および、アングルの有無への分類情報である。
すなわち、術者は、その内視鏡挿入部のいずれの個所が、挿入阻害要因となっているか、提示された形状情報のみからは判断できない。
本発明は前述した問題に鑑みてなされたものであり、内視鏡挿入部のいずれの個所において挿入を阻害しているかまたは、その阻害原因部分を提示し、術者が提示された情報に基づき対処操作を的確に判断することが可能であり、内視鏡挿入が容易な内視鏡挿入形状解析装置および、内視鏡挿入形状解析方法を提供することを目的にしている。
(第1の実施の形態)
図1から図7は、第1の実施の形態に係り、図1は、電子内視鏡システムの全体構成を示すブロック図、図2は、ソースコイルが内蔵された内視鏡挿入部と、ソースコイルの座標を示す関係図、図3は、挿入形状データの構造を示すフォーマット図、図4は、ディスプレイ上に表示される解析ウインドウの構成図、図5は、検査情報および内視鏡画像と、挿入形状データとの処理に関するフローチャート図、図6は、図5における形状解析処理の詳細なフローチャート図、図7は、挿入部形状画像に「推進停止」が重畳表示された形状図である。
また、ビデオプロセッサ22は、内視鏡21のレリーズスイッチ25が操作されると、撮像画像の静止画像の出力指示が可能となっている。
尚、ビデオプロセッサ22には、内視鏡検査に関する検査情報を入力する図示しない機能を有している。
さらに、形状処理装置32により生成された挿入形状データは、画像処理装置4へ出力可能となっている。
尚、内視鏡挿入形状観測装置3は、内視鏡検査中、挿入形状データを連続的に画像処理装置4へ出力するとともに、電子内視鏡21に設けられているレリーズスイッチ25の操作時の挿入形状データのみを出力することもできる。
形状解析手段としてのPC41は、後述のように、挿入形状データ等を基に、内視鏡挿入を阻害している特定位置等を算出、すなわち解析して求めるようになっている。
動画像入力ボード41cは、内視鏡装置2のビデオプロセッサ22において生成された動画映像信号を所定の圧縮画像データに変換するものである。
つまり、画像処理装置4の動画像入力ボード41cには、ビデオプロセッサ22により生成された動画像の映像信号が入力される。そして、動画像入力ボード41cは、その動画像の映像信号を所定の圧縮動画映像信号データ、例えばMJPEG形式の圧縮画像データに変換する。変換された圧縮画像データは、PC41の図示しない記録装置に保存される。
また、検査情報とは、例えば、患者の氏名、生年月日、性別、年齢、患者コードなどである。
つまり、画像処理装置4は、必要に応じてビデオプロセッサ22と接続して、ビデオプロセッサ22からの各種情報データを受信し保存するようになっている。
内視鏡挿入形状観測装置3は、電子内視鏡21の電子撮像素子により撮像される撮像映像信号の1フレームごとに、電子内視鏡21の挿入部21aに内蔵されたM個のソースコイルの3次元座標を含む挿入形状データを生成する。内視鏡挿入形状観測装置3は、その挿入形状データをもとに挿入部形状画像を生成して、モニタ33に表示するとともに、挿入形状データを画像処理装置4に出力供給する。
内視鏡検査を始めるにあたり、ビデオプロセッサ22では検査情報を入力し、画像処理装置4のPC41は検査用アプリケーションを起動する。その検査用アプリケーションが起動すると、ディスプレイ44には、図4に示す解析ウインドウ50が表示されるように構成されている。ただし、図4は、挿入形状データを処理している最中の表示内容を示している。
解析ウインドウ50は、ファイルメニュー51、警告情報表示領域52、検査情報表示領域53、内視鏡画像表示領域54、内視鏡挿入形状表示領域55、付属情報表示領域56、表示パラメタチェックボックス57、解析値表示領域58、時系列グラフ領域59、時系列サブ情報表示領域60、スライダー61、開始ボタン62および、停止ボタン63を含んでいる。
時系列グラフ領域59と時系列サブ情報表示領域60のX軸は、時間軸であり、図4の左右方向である。時系列グラフ領域59と時系列サブ情報表示領域60は、挿入形状データを取得するごとに、すなわち経時的に、点のプロットを行いながら、プロット位置を図4の右方向に移動させてグラフを作成する領域である。プロットする点のY軸方向の位置は、画像処理装置4のPC41が算出した内視鏡挿入部21aの形状をあらわす特徴量の値によって決定される。本実施の形態では、内視鏡画像処理装置4が算出したアングル、挿入長、特定位置としての停止コイル位置をプロットする。すなわち、算出された特定位置がグラフにより視覚化されるように処理される。それぞれ、Y軸のスケール、0点位置が個別に設定される。尚、Y軸方向は、図4の上下方向である。
アングル、挿入長の各パラメタに関する算出手法は、従来技術である特開2004−147778号公報における手法と同等である。
解析ウインドウ50のファイルメニュー51を選択すると、画像処理装置4が過去に記録した挿入形状ファイルと、画像ファイルとを選択するための、図示しない選択ウインドウが表示され、各々のファイルを選択して読み込むことが可能である。挿入形状ファイルとは、内視鏡挿入形状観測装置3が一検査内に生成した挿入形状データの集合ファイルである。画像ファイルとは、画像処理装置4の動画像入力ボード41cが生成した圧縮画像データの集合ファイルである。
またさらに、初期化情報として、解析ウインドウ50のディスプレイ44上における表示位置座標も含んでいる。その表示位置座標に基づいてPC41は、ディスプレイ44に解析ウインドウ50を表示する。
停止ボタン63が押下されたと判定されると、PC41はステップS13において、通信ポート41aと通信ポート41bとを閉じて、内視鏡挿入形状観測装置3とビデオプロセッサ22との情報データの通信を終了する。
ステップS21において、PC41は、挿入形状データのフレームパケットのフォーマット種別情報と、付属情報に含まれる内視鏡種類情報とを取得する。
PC41は、取得した挿入形状データのフォーマット種別に基づいて、図5のステップS1においてメモリ上に保持している、フォーマット種別に対応したフレームパケットに含まれる情報のデータサイズ情報を取得し、挿入形状データのフレームパケットを各データに分解処理する。フォーマット種別の名称は、解析ウインドウ50の付属情報表示領域56に表示する。
ステップS23において、PC41は、ステップS24以降からステップS32までにおいて実施する形状解析手順としての形状解析処理において使用されるパラメタの補正を行う。
もう1つのパラメタは、フレームパケットの受信間隔に依存するパラメタであり、本実施の形態では、時間あたりの移動量をあらわすパラメタである。尚、そのパラメタは、以下、時間依存パラメタと称する。
また、時間依存パラメタは、図6のステップS22において取得した前フレームの挿入形状データ作成時刻と、現在処理中のフレームの挿入形状データ作成時刻との差分、すなわち形状処理装置32によって検出された検出結果である挿入形状データ作成時刻に基づいて算出される前フレームからの経過時間、に基づいて補正される。
これら各パラメタの補正処理内容とパラメタの使われ方に関する説明は、内視鏡特性依存パラメタについては後述のステップS25において、時間依存パラメタについては後述のステップS28において詳述する。
(Xj-1m,Yj-1m,Zj-1m)を取得し、次の式2から現在処理中のフレームのソースコイル座標(Xjm,Yjm,Zjm)との差分ベクトルDmを求める。
前述のとおり、内視鏡挿入形状観測装置3の検出範囲外のソースコイル、すなわち内視鏡挿入部21aのうち生体に挿入されていない位置にあるソースコイルのコイル座標は、(0,0,0)である。前フレームのソースコイル座標または現在処理中のフレームのソースコイル座標の少なくとも一方が(0,0,0)である場合には、Dm=(L,L,L)とする。ここで、Lは、座標値の精度範囲内においてとり得る十分大きな数であって、センスコイルユニット31の検出範囲内では取り得ることのない数である。
m番目のソースコイルと、m+1番目のソースコイルの間の補間点は、補間手法として広く知られるCatmull Rom曲線方程式を求めることにより算出可能である。Catmull Rom曲線方程式は、tを変数とするパラメトリック曲線であり、t=0のときm番目のソースコイル位置を示す座標値をとり、t=1のときm+1番目のソースコイル位置を示す座標値を取る。その中間にある補間点は、tにコイル間距離の比率を代入することにより算出可能である。
t'=t×(ソースコイル間距離/10) ・・・式4
ここで、補正前のtと補正前に想定しているソースコイル間距離はそれぞれ、0.1と10mmであり、実際の電子内視鏡21のソース間距離に応じてt'が、注目するソースコイルから1mmずれた位置を示すように設定している。
Tm=|Dm|cosθm ・・・式5
ここで、cosθm=Dm・Am/ |Dm||Am|
ステップS27において、PC41は、形状解析に有効な値を有するソースコイル番号の最大値であるMmaxを求めてループ変数iに代入する。ただし、Mmax<M−1である。
ここで、Mmaxを求める処理手順について説明する。
ステップS24、およびS25の処理の結果、ソースコイル番号0からソースコイル番号Mmaxまでのコイルに対応するDm、Amは、形状解析に有効な値として(L,L,L)以外の値を保持している。さらに、ソースコイル番号Mmax+1からコイル番号M−1までのDm、Amでは、内視鏡挿入形状観測装置3のセンスコイルユニット31の検出範囲外の値を示す(L,L,L)の値を保持している。
ステップS28において、PC41は、軸方向の推進量Tiが−ε以下であるか否かを判定する。尚、−εは負の値である。
ここで、閾値として使用する定数εについて説明する。
εの値は、図5のステップS1において初期化情報の形状解析処理パラメタとして取得した値のうちの1つであるε0に対し、図6のステップS23において補正を行った値である。
ε=ε0×(前フレームからの経過時間) ・・・式6
である。
Tiが−ε以下でなければ、次のステップS29に進み、軸方向の推進量Tiが−εよりもおおきくかつ、εよりも小さいか否か、つまり−ε<Ti<εであるか否を判定する。もし、その判定が肯定されれば、ソースコイル位置iにおいて推進が停止しているとみなし、ステップS31に進む。そして、ソースコイル位置iにおいて軸方向の推進が停止していることを表す情報を、図示しないメモリ上に保持する。その後、前記ループを抜ける。尚、推進が停止していることを表す情報は、以下、推進停止情報と称する。
また、i≠0である場合には、ステップS32において、iから1を引く処理を行う。すなわち、先端側に1つ位置をずらしたソースコイル番号となるようにiを変更して、ステップS28から始まる処理ループを再実行する。
以上のように、ステップS33、およびS34が、指示表示手順を構成している。特に、ステップS34は、特定位置又は特定部分を指示する指示手段を構成する。
図6のステップS31において、図示しないメモリに保持した推進停止情報を元にして、推進停止とみなせるコイルがある場合には、当該コイル番号およびフレーム時間に基づく点を、解析ウインドウ50の時系列グラフ領域59にプロットしたのち、次にプロットすべき点の位置を1つ右にずらす。
本実施の形態では、生体への内視鏡挿入による検査を想定して説明しているが、内視鏡挿入手技訓練用の内視鏡シミュレータに対して適用してもよい。
第1の実施の形態では、内視鏡挿入部21aに内蔵するソースコイルの位置ごとに、挿入動作を行っているのに推進停止しているか否かを判定していた。しかし、推進停止は、ソースコイルの位置のみに発生するものではなく、その中間の位置においても発生する可能性が高い。
例えば、本実施の形態の変形例においては、Catmull Rom曲線方程式のパラメタtの値を、0.25、0.5、0.75として、ソースコイル間に3点の補間点を設定して座標値を求め、各補間点のフレーム間の差分ベクトルDmを求めるものとする。
図8は、第1の実施の形態の第2の変形例に係り、内視鏡形状を色分け等の着色をして表示した形状図である。図8は、算出した移動量の値に応じて、挿入形状の図において対応する位置または部分を、色分け等により視覚化した例を示すものである。なお、図8は、斜線により色の違いを示している。
第2の変形例は、図6のステップS33における2次元投影の内視鏡形状画像表示に関する変形例である。
図6のステップS26では、ソースコイル位置と、ソースコイル間に設定した補間点とにおける軸方向推進量Tmを算出している。
図9および図10は、第2の実施の形態に係り、図9は、推進停止−逆進に対応したフローチャート図、図10は、挿入部形状画像に「推進停止−逆進」の文字表示部が重畳表示された形状図である。
ここで、推進停止現象についてさらに詳細に分析すると、以下の2種類に大別される。
1つは、推進停止位置から内視鏡挿入部21a先端にかけて、軸方向に対する推進が停止している状態である。
もう1つは、推進停止位置から内視鏡挿入部21a先端にかけて、軸方向に対して逆進している状態である。後者の現象は、一般にはステッキ現象として広く知られている。ステッキ現象は、内視鏡挿入部21aがステッキ状に180度近く屈曲し、その屈曲位置で生体壁を押し込むことにより発生する。
図6のステップS29においてPC41による判定処理が肯定された場合に、図9のステップS41においてPC41は、ループ変数jに対して、図6のステップS29において判定処理に使用したソースコイル番号iを代入する。
Tj-1が−ε以下である場合には、ソースコイル番号j−1の位置において、内視鏡挿入部21aは軸方向に逆進していることを意味する。よって、図9のステップS44においてPC41は、コイル位置jにおいて軸方向の推進が停止しかつ、先端側では逆進していることを表す情報を、図示しないメモリ上に保持させる。尚、前述の情報は、以下、推進停止−逆進情報と称する。
jが1である場合には、注目するソースコイルにおいて、その先端側に別のソースコイルが存在する全ての場合について当該コイルの推進方向判定、つまり前記ステップS42における判定を終了しており、先端側にあるソースコイルは逆進していなかったとみなせる。そのため、ステップS45において、推進停止情報を図示しないメモリ上に保持させたのち、図6のステップS33に戻る。
また、jが1ではない場合には、ステップS46において、jから1を減じて図6のステップS42にループパックする。
一方、推進停止とみなせるソースコイルがある場合の処理は、第1の実施の形態における動作と同様である。
図11から図13は、第3の実施の形態に係り、図11は、内視鏡挿入部の局所撓みと反発力などの力の関係を示す説明図、図12は、局所撓みに対応したフローチャート図、図13は、挿入部形状画像に「局所撓み」の文字表示部が重畳表示された形状図である。
内視鏡挿入部21aが生体壁から受ける力は、内視鏡挿入部21aを折れ線により近似したときの、内視鏡挿入部21aの軸方向と、生体壁とのなす角度が大きくなるほど増大する。
第1の実施の形態と、第3の実施の形態との処理フローの相違は、図5のステップS11における処理つまり図6に示す処理を、図12に示す処理フローに置き換えたことである。
ステップS57において、PC41は、ソースコイル番号iにおける角度θiをSに加算する。
ステップS58において、PC41は、ソースコイル番号iにおける角度θiが閾値τ以上であるか否かを判定する。τの値は、初期化ファイル内に、形状解析処理に使用するパラメタとして記述されており、図5のステップS1において図示しないメモリ上に保持された値である。τは、電子内視鏡21の種類ごとに異なり、図12のステップS51において取得した内視鏡種類情報に基づき選択決定する。
ステップS59において、PC41は、i=0であるか否かを判定する。i=0である場合には、内視鏡挿入部21aの最先端のソースコイルに対して判定終了済みであることを意味するため、前記ループを抜ける。
i≠0である場合には、ステップS61おいて、iから1を引いて、すなわち先端側に1つ位置をずらしたソースコイル番号となるようにiを変更して、図12のステップS57から始まる処理ループを再実行する。
挿入を阻害するほどの大きさであるか否かは、ステップS58において、ソースコイル位置と、ソースコイル位置の近傍位置との角度から閾値判定する。閾値であるτは、対象となる電子内視鏡21ごとに決定する値であるため、電子内視鏡21の物理特性、つまり太さおよび軟性部材の硬度などに最適化した値となる。τは、あらかじめ電子内視鏡21の種類ごとに机上実験に基づき決定した値を使用する。
ステップS66において、PC41は、第1の実施の形態でのステップS35における処理と同様に、解析ウインドウ50の時系列グラフ領域59に、内視鏡挿入部21aの形状をあらわす特徴量の値をプロットする。本実施の形態では、総撓み量Sの値も選択してプロットするように構成する。
図12のステップS55において、PC41の求めた、コイル位置iにおけるCatmull Rom曲線方程式を使用して、t=0におけるCatmull Rom曲線方程式の1次微分値vi、2次微分値aiを求めたのち、次の式10により曲率半径riを算出する。
第3の実施の形態によれば、内視鏡挿入阻害の原因の1つとして考えられる撓みの位置と、内視鏡挿入部21a全体における総撓み量を術者に提示するため、術者は内視鏡を挿入しても挿入部21a先端が推進していかない現象を予見することが容易になり、術者の内視鏡挿入が容易になる。
Claims (14)
- 体腔内に挿入する挿入部を有する内視鏡と、
前記内視鏡挿入部の形状を検出する形状検出手段と、
前記内視鏡が撮像した内視鏡画像と、前記形状検出手段の検出した形状とを表示する表示手段と、
前記形状検出手段が検出した情報を基にして、前記形状検出手段の検出した形状のうち、特定位置または特定部分を解析して求める形状解析手段と、
前記表示手段に、前記形状解析手段が求めた前記特定位置または前記特定部分を指示し表示する指示手段と、
を有することを特徴とする内視鏡挿入形状解析装置。 - 前記特定位置または特定部分は、内視鏡挿入を阻害している位置または部分であることを特徴とする請求項1に記載の内視鏡挿入形状解析装置。
- 前記形状解析手段は、算出した前記特定位置または特定部分を、図またはグラフの少なくとも一方により視覚化されるように処理し、
前記指示手段は、前記特定位置または特定部分を、図またはグラフの少なくとも一方により視覚化して表示することを特徴とする請求項1又は請求項2に記載の内視鏡挿入形状解析装置。 - 前記形状解析手段は、内視鏡挿入部上に参照点を設定し、該参照点における、内視鏡挿入部の軸方向に対する移動量を算出することを特徴とする請求項1から請求項3のいずれか1つに記載の内視鏡挿入形状解析装置。
- 前記形状解析手段は、前記内視鏡挿入部の軸方向に対する前記移動量が零となる位置を算出し、該位置を前記内視鏡挿入を阻害している特定位置と判定することを特徴とする請求項4に記載の内視鏡挿入形状解析装置。
- 前記形状解析手段は、前記内視鏡挿入部の軸方向に対する前記移動量が零となる位置を算出し、該位置を境にして、内視鏡挿入部先端側では軸方向に対する移動量が負の値であり、さらに内視鏡挿入部基端側では軸方向に対する移動量が正の値である場合に、前記内視鏡挿入を阻害している特定部分と判定することを特徴とする請求項4に記載の内視鏡挿入形状解析装置。
- 前記形状解析手段は、内視鏡挿入部上に参照点を設定し、該参照点における内視鏡挿入部の撓み量を算出することを特徴とする請求項1から請求項3のいずれか1つに記載の内視鏡挿入形状解析装置。
- 前記形状解析手段は、前記撓み量の値に基づき、前記内視鏡挿入を阻害する原因となる特定位置を判定することを特徴とする請求項7に記載の内視鏡挿入形状解析装置。
- 前記形状解析手段は、内視鏡挿入部上に設定した参照点における前記撓み量の総和を求め、該総和に基づき、前記内視鏡挿入を阻害する原因となる特定位置を判定することを特徴とする請求項7に記載の内視鏡挿入形状解析装置。
- 前記形状解析手段は、前記内視鏡の種類または前記形状検出手段の検出結果の少なくとも一方の情報を基にして、前記特定位置または特定部分を算出するためのパラメタを補正することを特徴とする請求項1から請求項9のいずれか1つに記載の内視鏡挿入形状解析装置。
- 前記図は、前記形状検出手段が検出した情報としての数値データに基づき、前記形状検出手投の検出した形状を着色した形状図であることを特徴とする請求項3に記載の内視鏡挿入形状解析装置。
- 前記図は、前記形状検出手段が検出した情報としての数値データに基づき、前記形状解析手段の判定結果情報を表示する文字表示部を含む形状図であることを特徴とする請求項3に記載の内視鏡挿入形状解析装置。
- 前記グラフは、前記形状検出手段が検出した情報としての数値データを、時系列にプロットしたグラフであることを特徴とする請求項3記載の内視鏡挿入形状解析装置。
- 体腔内に挿入される内視鏡挿入部の形状を検出する形状検出ステップと、
前記形状検出ステップにおいて検出された情報を基にして、前記形状検出ステップの検出した形状のうち、特定位置または特定部分を解析して求める形状解析ステップと、
表示手段に、求めた前記特定位置または特定部分を、指示し表示する指示ステップと、を備えたことを特徴とする内視鏡挿入形状解析方法。
Priority Applications (1)
| Application Number | Priority Date | Filing Date | Title |
|---|---|---|---|
| JP2005113922A JP4656988B2 (ja) | 2005-04-11 | 2005-04-11 | 内視鏡挿入形状解析装置および、内視鏡挿入形状解析方法 |
Applications Claiming Priority (1)
| Application Number | Priority Date | Filing Date | Title |
|---|---|---|---|
| JP2005113922A JP4656988B2 (ja) | 2005-04-11 | 2005-04-11 | 内視鏡挿入形状解析装置および、内視鏡挿入形状解析方法 |
Publications (2)
| Publication Number | Publication Date |
|---|---|
| JP2006288752A true JP2006288752A (ja) | 2006-10-26 |
| JP4656988B2 JP4656988B2 (ja) | 2011-03-23 |
Family
ID=37410009
Family Applications (1)
| Application Number | Title | Priority Date | Filing Date |
|---|---|---|---|
| JP2005113922A Expired - Fee Related JP4656988B2 (ja) | 2005-04-11 | 2005-04-11 | 内視鏡挿入形状解析装置および、内視鏡挿入形状解析方法 |
Country Status (1)
| Country | Link |
|---|---|
| JP (1) | JP4656988B2 (ja) |
Cited By (18)
| Publication number | Priority date | Publication date | Assignee | Title |
|---|---|---|---|---|
| WO2008059636A1 (en) * | 2006-11-13 | 2008-05-22 | Olympus Medical Systems Corp. | Endoscope insertion shape analyzing system, and observation system for living body |
| JP2008119260A (ja) * | 2006-11-13 | 2008-05-29 | Olympus Medical Systems Corp | 生体観測システム |
| JP2008119259A (ja) * | 2006-11-13 | 2008-05-29 | Olympus Medical Systems Corp | 内視鏡挿入形状解析システム |
| JP2008136628A (ja) * | 2006-11-30 | 2008-06-19 | Olympus Medical Systems Corp | 内視鏡挿入形状解析システム |
| JP2015016366A (ja) * | 2014-10-14 | 2015-01-29 | オリンパス株式会社 | 管状挿入装置 |
| JP2015043988A (ja) * | 2014-10-14 | 2015-03-12 | オリンパス株式会社 | 管状挿入装置 |
| WO2016098252A1 (ja) * | 2014-12-19 | 2016-06-23 | オリンパス株式会社 | 挿抜支援装置及び挿抜支援方法 |
| JPWO2016098253A1 (ja) * | 2014-12-19 | 2017-10-12 | オリンパス株式会社 | 挿抜支援装置及び挿抜支援方法 |
| JPWO2016098255A1 (ja) * | 2014-12-19 | 2017-10-12 | オリンパス株式会社 | 挿抜支援装置及び挿抜支援方法 |
| JPWO2016098251A1 (ja) * | 2014-12-19 | 2017-10-19 | オリンパス株式会社 | 挿抜支援装置及び挿抜支援方法 |
| WO2018069992A1 (ja) * | 2016-10-12 | 2018-04-19 | オリンパス株式会社 | 挿入システム |
| WO2018235185A1 (ja) * | 2017-06-21 | 2018-12-27 | オリンパス株式会社 | 挿入支援装置、挿入支援方法、及び挿入支援装置を含む内視鏡装置 |
| WO2019155617A1 (ja) * | 2018-02-09 | 2019-08-15 | オリンパス株式会社 | 内視鏡システム、内視鏡制御装置、内視鏡システムの作動方法、及び内視鏡制御プログラムを記録した記録媒体 |
| WO2020059052A1 (ja) * | 2018-09-19 | 2020-03-26 | オリンパス株式会社 | 内視鏡挿入形状観測装置 |
| WO2020241201A1 (ja) * | 2019-05-30 | 2020-12-03 | オリンパス株式会社 | モニタリングシステム及び内視鏡の挿入操作の評価方法 |
| WO2021014991A1 (ja) * | 2019-07-22 | 2021-01-28 | 富士フイルム株式会社 | 内視鏡形状表示制御装置、内視鏡形状表示制御装置の作動方法、および内視鏡形状表示制御装置の作動プログラム |
| JPWO2021166103A1 (ja) * | 2020-02-19 | 2021-08-26 | ||
| WO2021205818A1 (ja) * | 2020-04-09 | 2021-10-14 | 日本電気株式会社 | 内視鏡挿入支援装置、方法及びプログラムが格納された非一時的なコンピュータ可読媒体 |
Families Citing this family (1)
| Publication number | Priority date | Publication date | Assignee | Title |
|---|---|---|---|---|
| DE112016006985T5 (de) | 2016-06-20 | 2019-02-28 | Olympus Corporation | Einführvorrichtung für einen flexiblen Tubus |
Citations (5)
| Publication number | Priority date | Publication date | Assignee | Title |
|---|---|---|---|---|
| JPH04146716A (ja) * | 1990-10-08 | 1992-05-20 | Toshiba Corp | 内視鏡装置 |
| JP2000175862A (ja) * | 1998-12-17 | 2000-06-27 | Olympus Optical Co Ltd | 内視鏡挿入形状検出装置 |
| JP2000175861A (ja) * | 1998-12-17 | 2000-06-27 | Olympus Optical Co Ltd | 内視鏡形状検出装置 |
| JP2004147778A (ja) * | 2002-10-29 | 2004-05-27 | Olympus Corp | 画像処理装置及び内視鏡画像処理装置 |
| JP2004358095A (ja) * | 2003-06-06 | 2004-12-24 | Olympus Corp | 内視鏡挿入形式解析装置及び内視鏡挿入形式解析方法 |
-
2005
- 2005-04-11 JP JP2005113922A patent/JP4656988B2/ja not_active Expired - Fee Related
Patent Citations (5)
| Publication number | Priority date | Publication date | Assignee | Title |
|---|---|---|---|---|
| JPH04146716A (ja) * | 1990-10-08 | 1992-05-20 | Toshiba Corp | 内視鏡装置 |
| JP2000175862A (ja) * | 1998-12-17 | 2000-06-27 | Olympus Optical Co Ltd | 内視鏡挿入形状検出装置 |
| JP2000175861A (ja) * | 1998-12-17 | 2000-06-27 | Olympus Optical Co Ltd | 内視鏡形状検出装置 |
| JP2004147778A (ja) * | 2002-10-29 | 2004-05-27 | Olympus Corp | 画像処理装置及び内視鏡画像処理装置 |
| JP2004358095A (ja) * | 2003-06-06 | 2004-12-24 | Olympus Corp | 内視鏡挿入形式解析装置及び内視鏡挿入形式解析方法 |
Cited By (41)
| Publication number | Priority date | Publication date | Assignee | Title |
|---|---|---|---|---|
| WO2008059636A1 (en) * | 2006-11-13 | 2008-05-22 | Olympus Medical Systems Corp. | Endoscope insertion shape analyzing system, and observation system for living body |
| JP2008119260A (ja) * | 2006-11-13 | 2008-05-29 | Olympus Medical Systems Corp | 生体観測システム |
| JP2008119259A (ja) * | 2006-11-13 | 2008-05-29 | Olympus Medical Systems Corp | 内視鏡挿入形状解析システム |
| US8251890B2 (en) | 2006-11-13 | 2012-08-28 | Olympus Medical Systems Corp. | Endoscope insertion shape analysis system and biological observation system |
| JP2008136628A (ja) * | 2006-11-30 | 2008-06-19 | Olympus Medical Systems Corp | 内視鏡挿入形状解析システム |
| JP2015016366A (ja) * | 2014-10-14 | 2015-01-29 | オリンパス株式会社 | 管状挿入装置 |
| JP2015043988A (ja) * | 2014-10-14 | 2015-03-12 | オリンパス株式会社 | 管状挿入装置 |
| US10791914B2 (en) | 2014-12-19 | 2020-10-06 | Olympus Corporation | Insertion/removal supporting apparatus and insertion/removal supporting method |
| JPWO2016098253A1 (ja) * | 2014-12-19 | 2017-10-12 | オリンパス株式会社 | 挿抜支援装置及び挿抜支援方法 |
| JPWO2016098255A1 (ja) * | 2014-12-19 | 2017-10-12 | オリンパス株式会社 | 挿抜支援装置及び挿抜支援方法 |
| JPWO2016098252A1 (ja) * | 2014-12-19 | 2017-10-12 | オリンパス株式会社 | 挿抜支援装置及び挿抜支援方法 |
| JPWO2016098251A1 (ja) * | 2014-12-19 | 2017-10-19 | オリンパス株式会社 | 挿抜支援装置及び挿抜支援方法 |
| CN106998993A (zh) * | 2014-12-19 | 2017-08-01 | 奥林巴斯株式会社 | 插拔辅助装置及插拔辅助方法 |
| CN106998993B (zh) * | 2014-12-19 | 2019-01-08 | 奥林巴斯株式会社 | 插拔辅助装置及插拔辅助方法 |
| WO2016098252A1 (ja) * | 2014-12-19 | 2016-06-23 | オリンパス株式会社 | 挿抜支援装置及び挿抜支援方法 |
| US11602263B2 (en) | 2016-10-12 | 2023-03-14 | Olympus Corporation | Insertion system, method and computer-readable storage medium for displaying attention state information over plurality of times |
| WO2018069992A1 (ja) * | 2016-10-12 | 2018-04-19 | オリンパス株式会社 | 挿入システム |
| JPWO2018069992A1 (ja) * | 2016-10-12 | 2019-07-18 | オリンパス株式会社 | 挿入システム |
| WO2018235185A1 (ja) * | 2017-06-21 | 2018-12-27 | オリンパス株式会社 | 挿入支援装置、挿入支援方法、及び挿入支援装置を含む内視鏡装置 |
| CN110769737A (zh) * | 2017-06-21 | 2020-02-07 | 奥林巴斯株式会社 | 插入辅助装置、插入辅助方法和包括插入辅助装置的内窥镜装置 |
| WO2019155617A1 (ja) * | 2018-02-09 | 2019-08-15 | オリンパス株式会社 | 内視鏡システム、内視鏡制御装置、内視鏡システムの作動方法、及び内視鏡制御プログラムを記録した記録媒体 |
| JP7038845B2 (ja) | 2018-09-19 | 2022-03-18 | オリンパス株式会社 | 内視鏡挿入形状観測装置及び内視鏡形状観測装置の作動方法 |
| JPWO2020059052A1 (ja) * | 2018-09-19 | 2021-08-30 | オリンパス株式会社 | 内視鏡挿入形状観測装置及び用手圧迫位置の表示方法 |
| US12089816B2 (en) | 2018-09-19 | 2024-09-17 | Olympus Corporation | Endoscope insertion shape observation apparatus and manual compression position display method |
| WO2020059052A1 (ja) * | 2018-09-19 | 2020-03-26 | オリンパス株式会社 | 内視鏡挿入形状観測装置 |
| JPWO2020241201A1 (ja) * | 2019-05-30 | 2021-12-02 | オリンパス株式会社 | モニタリングシステム及び内視鏡の挿入操作の評価方法 |
| WO2020241201A1 (ja) * | 2019-05-30 | 2020-12-03 | オリンパス株式会社 | モニタリングシステム及び内視鏡の挿入操作の評価方法 |
| US12042126B2 (en) | 2019-05-30 | 2024-07-23 | Olympus Corporation | Monitoring system and evaluation method for insertion operation of endoscope |
| JP7167334B2 (ja) | 2019-05-30 | 2022-11-08 | オリンパス株式会社 | モニタリングシステム及び内視鏡の模型への挿入操作の評価方法 |
| CN113677251A (zh) * | 2019-05-30 | 2021-11-19 | 奥林巴斯株式会社 | 监视系统和内窥镜的插入操作的评价方法 |
| WO2021014991A1 (ja) * | 2019-07-22 | 2021-01-28 | 富士フイルム株式会社 | 内視鏡形状表示制御装置、内視鏡形状表示制御装置の作動方法、および内視鏡形状表示制御装置の作動プログラム |
| CN114126474A (zh) * | 2019-07-22 | 2022-03-01 | 富士胶片株式会社 | 内窥镜形状显示控制装置、内窥镜形状显示控制装置的操作方法、及内窥镜形状显示控制装置的操作程序 |
| JP7185046B2 (ja) | 2019-07-22 | 2022-12-06 | 富士フイルム株式会社 | 内視鏡形状表示制御装置、内視鏡形状表示制御装置の作動方法、および内視鏡形状表示制御装置の作動プログラム |
| JPWO2021014991A1 (ja) * | 2019-07-22 | 2021-01-28 | ||
| WO2021166103A1 (ja) * | 2020-02-19 | 2021-08-26 | オリンパス株式会社 | 内視鏡システム、管腔構造算出装置及び管腔構造情報の作成方法 |
| JPWO2021166103A1 (ja) * | 2020-02-19 | 2021-08-26 | ||
| JP7423740B2 (ja) | 2020-02-19 | 2024-01-29 | オリンパス株式会社 | 内視鏡システム、管腔構造算出装置、管腔構造算出装置の作動方法及び管腔構造情報作成プログラム |
| US12299922B2 (en) | 2020-02-19 | 2025-05-13 | Olympus Corporation | Luminal structure calculation apparatus, creation method for luminal structure information, and non-transitory recording medium recording luminal structure information creation program |
| JPWO2021205818A1 (ja) * | 2020-04-09 | 2021-10-14 | ||
| JP7456663B2 (ja) | 2020-04-09 | 2024-03-27 | 日本電気株式会社 | 情報処理装置、方法及びプログラム |
| WO2021205818A1 (ja) * | 2020-04-09 | 2021-10-14 | 日本電気株式会社 | 内視鏡挿入支援装置、方法及びプログラムが格納された非一時的なコンピュータ可読媒体 |
Also Published As
| Publication number | Publication date |
|---|---|
| JP4656988B2 (ja) | 2011-03-23 |
Similar Documents
| Publication | Publication Date | Title |
|---|---|---|
| JP4656988B2 (ja) | 内視鏡挿入形状解析装置および、内視鏡挿入形状解析方法 | |
| EP1437083B1 (en) | Endoscope insertion direction sensing method and endoscope insertion direction sensing apparatus | |
| CN100364479C (zh) | 内窥镜装置及其引导方法、以及内窥镜图像的显示方法 | |
| EP2301411B1 (en) | Endoscope system | |
| US8558879B2 (en) | Endoscope apparatus and measuring method | |
| JP6624705B2 (ja) | 内視鏡挿入形状観測装置 | |
| JP5477800B2 (ja) | 回転状態検出装置の作動方法および回転状態検出装置 | |
| JP4789545B2 (ja) | 内視鏡挿入形状解析装置 | |
| US20090221869A1 (en) | Endoscope insertion shape analysis system and biological observation system | |
| WO2007023631A1 (ja) | 内視鏡挿入形状解析装置及び内視鏡挿入形状解析システム | |
| JP2004358095A (ja) | 内視鏡挿入形式解析装置及び内視鏡挿入形式解析方法 | |
| WO2020194472A1 (ja) | 移動支援システム、移動支援方法、および移動支援プログラム | |
| EP3033987A1 (en) | Endoscopy system | |
| EP1566140B1 (en) | Endoscope insertion direction detecting device | |
| CN117221177A (zh) | 图像传输延迟监测方法及系统 | |
| JP3290153B2 (ja) | 内視鏡挿入形状検出装置 | |
| CN111989025A (zh) | 诊断辅助装置、诊断辅助方法和诊断辅助程序 | |
| CN115209783A (zh) | 处理装置、内窥镜系统以及摄像图像的处理方法 | |
| JP4855901B2 (ja) | 内視鏡挿入形状解析システム | |
| JP4464640B2 (ja) | 工業用内視鏡装置 | |
| JP4855912B2 (ja) | 内視鏡挿入形状解析システム | |
| EP3607870B1 (en) | Endoscope shape display device, and endoscope system | |
| EP3607869B1 (en) | Endoscope shape display device, and endoscope system | |
| JP2022145395A (ja) | 検査支援装置、検査支援方法および検査支援プログラム | |
| US20120100512A1 (en) | Inspection apparatus and inspection method |
Legal Events
| Date | Code | Title | Description |
|---|---|---|---|
| A621 | Written request for application examination |
Free format text: JAPANESE INTERMEDIATE CODE: A621 Effective date: 20080310 |
|
| A977 | Report on retrieval |
Free format text: JAPANESE INTERMEDIATE CODE: A971007 Effective date: 20100917 |
|
| A131 | Notification of reasons for refusal |
Free format text: JAPANESE INTERMEDIATE CODE: A131 Effective date: 20100928 |
|
| A521 | Request for written amendment filed |
Free format text: JAPANESE INTERMEDIATE CODE: A523 Effective date: 20101122 |
|
| TRDD | Decision of grant or rejection written | ||
| A01 | Written decision to grant a patent or to grant a registration (utility model) |
Free format text: JAPANESE INTERMEDIATE CODE: A01 Effective date: 20101214 |
|
| A01 | Written decision to grant a patent or to grant a registration (utility model) |
Free format text: JAPANESE INTERMEDIATE CODE: A01 |
|
| A61 | First payment of annual fees (during grant procedure) |
Free format text: JAPANESE INTERMEDIATE CODE: A61 Effective date: 20101221 |
|
| FPAY | Renewal fee payment (event date is renewal date of database) |
Free format text: PAYMENT UNTIL: 20140107 Year of fee payment: 3 |
|
| R151 | Written notification of patent or utility model registration |
Ref document number: 4656988 Country of ref document: JP Free format text: JAPANESE INTERMEDIATE CODE: R151 |
|
| FPAY | Renewal fee payment (event date is renewal date of database) |
Free format text: PAYMENT UNTIL: 20140107 Year of fee payment: 3 |
|
| S111 | Request for change of ownership or part of ownership |
Free format text: JAPANESE INTERMEDIATE CODE: R313111 |
|
| R350 | Written notification of registration of transfer |
Free format text: JAPANESE INTERMEDIATE CODE: R350 |
|
| S531 | Written request for registration of change of domicile |
Free format text: JAPANESE INTERMEDIATE CODE: R313531 |
|
| R350 | Written notification of registration of transfer |
Free format text: JAPANESE INTERMEDIATE CODE: R350 |
|
| R250 | Receipt of annual fees |
Free format text: JAPANESE INTERMEDIATE CODE: R250 |
|
| R250 | Receipt of annual fees |
Free format text: JAPANESE INTERMEDIATE CODE: R250 |
|
| R250 | Receipt of annual fees |
Free format text: JAPANESE INTERMEDIATE CODE: R250 |
|
| R250 | Receipt of annual fees |
Free format text: JAPANESE INTERMEDIATE CODE: R250 |
|
| LAPS | Cancellation because of no payment of annual fees |
