JP2006065092A - ヘッドアップディスプレイ - Google Patents
ヘッドアップディスプレイ Download PDFInfo
- Publication number
- JP2006065092A JP2006065092A JP2004248824A JP2004248824A JP2006065092A JP 2006065092 A JP2006065092 A JP 2006065092A JP 2004248824 A JP2004248824 A JP 2004248824A JP 2004248824 A JP2004248824 A JP 2004248824A JP 2006065092 A JP2006065092 A JP 2006065092A
- Authority
- JP
- Japan
- Prior art keywords
- combiner
- display
- image
- folding mirror
- light
- Prior art date
- Legal status (The legal status is an assumption and is not a legal conclusion. Google has not performed a legal analysis and makes no representation as to the accuracy of the status listed.)
- Withdrawn
Links
- 230000007423 decrease Effects 0.000 abstract 1
- 230000003287 optical effect Effects 0.000 description 32
- 239000000428 dust Substances 0.000 description 24
- 210000003128 head Anatomy 0.000 description 2
- 239000004973 liquid crystal related substance Substances 0.000 description 2
- 239000011347 resin Substances 0.000 description 2
- 229920005989 resin Polymers 0.000 description 2
- 230000000630 rising effect Effects 0.000 description 2
- NIXOWILDQLNWCW-UHFFFAOYSA-N acrylic acid group Chemical group C(C=C)(=O)O NIXOWILDQLNWCW-UHFFFAOYSA-N 0.000 description 1
- 239000002184 metal Substances 0.000 description 1
- 239000012780 transparent material Substances 0.000 description 1
Images
Landscapes
- Instrument Panels (AREA)
Abstract
【課題】 コンバイナと折り返しミラーとを備えるHUDにおいて、コンバイナで入反射する光の入反射角が大きくなる場合であっても、表示像の歪みを抑制できるようにする。
【解決手段】 コンバイナ3の表示部3aと、折り返しミラー4とを曲面にして、表示部3aと折り返しミラー4とにおいて、表示像10の下部の光線9a、9bが当たる側のR値を、表示像10の上部の光線8a、8bが当たる側のR値よりも小さくする。すなわち、コンバイナ3では、表示部3aの下側3dでの縦R値を、上側3cでの縦R値よりも小さくする。一方、折り返しミラー4では、上側4aでの横R値を、下側での横R値よりも小さくする。これにより、R値が小さいほど拡大率が大きいことから、表示像10の下側の折り返しミラー4およびコンバイナ3での拡大率を、表示像10の上側よりも大きくする。
【選択図】 図5
【解決手段】 コンバイナ3の表示部3aと、折り返しミラー4とを曲面にして、表示部3aと折り返しミラー4とにおいて、表示像10の下部の光線9a、9bが当たる側のR値を、表示像10の上部の光線8a、8bが当たる側のR値よりも小さくする。すなわち、コンバイナ3では、表示部3aの下側3dでの縦R値を、上側3cでの縦R値よりも小さくする。一方、折り返しミラー4では、上側4aでの横R値を、下側での横R値よりも小さくする。これにより、R値が小さいほど拡大率が大きいことから、表示像10の下側の折り返しミラー4およびコンバイナ3での拡大率を、表示像10の上側よりも大きくする。
【選択図】 図5
Description
本発明は、コンバイナを用いて運転者に情報を表示するヘッドアップディスプレイ(以下では、HUDと呼ぶ)に関するものである。
従来、HUDの1つとして、フロントガラスとは別のコンバイナと、表示器とを有する構成のものがある。これは、ハーフミラー等により構成されたコンバイナをインストルメントパネル(ダッシュボード)の上面に配置し、このコンバイナに対して、コンバイナよりも下方に位置する液晶表示器等の表示器から投射された光を入射させることで、コンバイナに虚像を表示するものである(例えば、特許文献1、2参照)。
さらに、このようなHUDとしては、非使用時ではコンバイナを倒し、使用時ではコンバイナに像が表示されるように、コンバイナを起きあがらせる、いわゆるポップアップタイプのものや、コンバイナが常に起きあがった状態のタイプのものがある。
特開平11−85052号公報
特開平11−91403号公報
図14に本発明者が検討したHUDの構成を示す。図14に示すように、このHUDは、ケース1と、表示器2と、コンバイナ3と、折り返しミラー4とを備えている。なお、図中左側が、車両前方側であり、図中右側が運転者側である。
HUDの非使用時では、表示器2、コンバイナ3および折り返しミラー4は、ケース1の内部に収納されており、HUDの使用時では、コンバイナ3が起き上がるようになっている。コンバイナ3は表示部3aを有しており、表示部3aはハーフミラーにより構成されている。表示部3aは、凹面鏡であり、凹面鏡の曲率は均一である。また、折り返しミラー4は平面鏡である。
そして、HUDの使用時では、図14に示すように、表示器2から、車両の前方(図中左方向)に向かって、光(映像)6a、8a、9aが投射される。その光6a、8a、9aは、折り返しミラー4で上方向に反射されて、その反射光6b、8b、9bがコンバイナ3の表示部3aに入射する。そして、表示部3aで反射した反射光6c、8c、9cが運転者の目に入るようになっている。なお、図中の光線6、6a、6b、6cが中心光軸である。
これにより、運転者は、図14に示すように、コンバイナ3の表示部3aで、拡大された像10を、前方の景色と重ねて、視認することができる。
このように、折り返しミラー4で表示器2から投射された光(映像)を折り返すようにしているのは、例えば、HUDの車両への搭載スペースの制約上、HUDをコンパクト化する必要があるからである。
しかし、上記した構造のHUDでは、図14に示すように、折り返しミラー4で反射した光7b、8b、9bがコンバイナ3の表示部3aの表面に対して直角ではなく、斜めに入射している。すなわち、表示部3aで入反射する光の入反射角α、βが大きくなっている。
このため、図15に示すように、例えば、表示像10が上底よりも下底が大きな台形(逆台形)となり、表示像10の歪みが生じるという問題が発生する。なお、図15は、像10が表示されている場合における表示部3aの正面図である。
これは、図14に示すように、表示器2からコンバイナ3までの光路長をみると、像10の上部の光路長と8a、8bと、像10の下部の光路長9a、9bとが異なっているためである。
この結果、像10の上下で、著しく拡大率が異なってしまい、図15に示すように、像10の中心点10aの上側と下側とで、像10の上下左右における拡大率が異なり、像10の形状が、逆台形となる。
なお、このような問題は、HUDが図14に示すような構造の場合に限らず、コンバイナ3に入反射する表示器2からの光の入反射角α、βが大きく、コンバイナ3の表示部3aの上端3c、下端3dから表示器2までの光路長が異なる場合に、発生する問題である。
本発明は、上記点に鑑み、コンバイナと折り返しミラーとを備えるHUDであって、コンバイナで入反射する光の入反射角が大きくなる場合であっても、表示像の歪みを抑制できるHUDを提供することを目的とする。
上記目的を達成するため、請求項1に記載の発明では、HUDは、表示器(2)から投射された光を反射させて、コンバイナ(3)に入射させる反射鏡(4)を有している。また、コンバイナ(3)の光が入射する面(3a)および反射鏡(4)は曲面である。
そして、コンバイナ(3)と反射鏡(4)のどちらか一方は、曲面の上側(3c、4a)と下側(3d、4b)とにおいて、像(10)の上下方向での曲率半径が異なる大きさであり、コンバイナ(3)と反射鏡(4)の他方は、曲面の上側(3c、4a)と下側(3d、4b)とにおいて、像(10)の左右方向での曲率半径が異なる大きさであることを特徴としている。
具体的には、光路長が短い方と長い方とでは、短い方が表示像の拡大率が小さい。また、曲面の曲率半径が小さいほど拡大率が大きい。そこで、コンバイナと反射鏡において、上側と下側とにおいて、光路長が短い方の曲率半径を小さくする。
これにより、コンバイナと折り返しミラーとを備える場合であって、コンバイナで入反射する光の入反射角が大きくなる場合であっても、表示像の上側と下側とにおいて、拡大率が異なるのを抑制することができる。この結果、表示像の歪みを抑制することができる。
請求項1に記載の発明においては、請求項2に示すように、コンバイナ(3)では、曲面の上側(3c)と下側(3d)とにおいて、像(10)の上下方向での曲率半径が異なる大きさであり、反射鏡(4)では、曲面の上側(4a)と下側(4b)とにおいて、像(10)の左右方向での曲率半径が異なる大きさであることが好ましい。
これは、コンバイナの曲面の上側と下側とにおいて、像の左右方向での曲率半径を異なる大きさとするよりも、像の上下方向での曲率半径を異なる大きさとした場合の方が、同じ大きさの像をコンバイナに表示する場合では、反射鏡の大きさを小さくすることができるからである。
この結果、ヘッドアップディスプレイを、表示器および反射鏡をケースの内部に収納する構成とした場合に、ケースを低くすることができ、ヘッドアップディスプレイをよりコンパクトにすることができる。
また、請求項1、2に記載の発明は、コンバイナが常に起き上がっている状態のタイプや、請求項3に示すように、コンバイナ(3)を起こした状態や、コンバイナ(3)を倒した状態とするように、コンバイナ(3)を回動させる回動手段(12、13、14、15、16、17)を備えるポップアップタイプのHUDに適用することができる。
なお、上記各手段の括弧内の符号は、後述する実施形態に記載の具体的手段との対応関係を示す一例である。
(第1実施形態)
図1〜6に、本発明の第1実施形態におけるHUDの構成を示す。図1は、非使用時におけるHUDの側面図であり、図5、6は、使用時におけるHUDの側面図であり、図2〜4は、非使用時から使用時に至るまでの各段階におけるHUDの側面図である。
図1〜6に、本発明の第1実施形態におけるHUDの構成を示す。図1は、非使用時におけるHUDの側面図であり、図5、6は、使用時におけるHUDの側面図であり、図2〜4は、非使用時から使用時に至るまでの各段階におけるHUDの側面図である。
本実施形態のHUDは、いわゆるポップアップ式のHUDであり、例えば、インストルメントパネルの上面に設けられた凹部に埋め込むように設置される。なお、各図の右側が運転者側であり、左側が車両の前方側である。
HUDは、各図に示すように、ケース1と、シャッター1a、1bと、表示器2と、コンバイナ3と、反射鏡としての折り返しミラー4と、防塵カバー5とを備えている。
ケース1は、直方体の箱であり、図1に示すように、HUDの非使用時に、表示器2、コンバイナ3、折り返しミラー4、防塵カバー5を収納するものである。ケース1は、例えば、ケース1の上面と、インストルメントパネルの上面とが一致するように、配置される。
シャッター1a、1bは、ケース1の上面に設けられており、図1に示すように、非使用時では、ケース1の蓋をし、図5に示すように、使用時では、後述する図示しない可動機構部によって、開くようになっている。シャッター1a、1bは、遮光性のものである。
表示器2は表示像を映し出すものであり、例えば、液晶表示器が用いられる。表示器2は、図1に示すように、ケース1の底面に設置されており、取り付けピン2a等により固定されている。取り付けピン2aは、ケース1に設けられた穴1cに差し込むようになっており、ケース1の複数の位置に穴1cが設けられている。これにより、表示器2の固定位置が変えられるようになっている。なお、この固定位置の可変方向は、図5に示すように、HUDの使用時において、表示器2から投射される光6aの光軸と平行な方向である。
コンバイナ3は、フロントガラスよりも運転者側に位置し、表示器2から投射された光が入射されることで、虚像を表示するものである。コンバイナ3は、像を表示する表示部3aと、表示部3aを支持する支持部3bとを有している。表示部3aは、ハーフミラーであり、曲面を有する凹面鏡で構成されている。この表示部3aに表示器2から投射された光が入射される。この表示部3aの面が本発明のコンバイナ3の光が入射する面に相当する。
表示部3aおよび支持部3bは、透明な樹脂により一体的に形成されている。なお、表示部3aおよび支持部3bは、一体成形でなくても良い。
また、図1に示すように、コンバイナ3は、非使用時では、倒れた状態でケース1に収納される。このとき、表示部3aの表示面は略水平となっている。また、コンバイナ3は、図5に示すように、使用時では、後述する図示しない可動機構部によって、倒れた状態から起き上がるようになっている。
折り返しミラー4は、光路を折り返すためのものであり、ケース1の底面に設置されている。本実施形態では、折り返しミラー4全体がミラーとなっている。また、図5に示すように、表示器2から水平方向(図中左右方向)に投射された光を、折り返しミラー4が、上方向に反射させて、反射させた光をコンバイナ3に入射させるように配置されている。
また、折り返しミラー4は、平面でなく、曲面となっている。また、折り返しミラー4は、後述する図示しない可動機構部によって、前後(図中左右方向)に移動可能となっている。
防塵カバー5は、図5に示すように、コンバイナ3が起きあがった状態のときに、ケース1内に埃やゴミなどが入るのを防ぐものである。防塵カバー5は、非使用時では、図1に示すように、ケース1の内部に収納され、使用時では、図5に示すように、後述する図示しない可動機構部によってケース1の上面上に位置する。
また、防塵カバー5は、図5に示すように、表示器2からの光が透過する面5aと、透過しない面5bと、三角形状の側面5cとを有している。表示器2からの光が透過する面5aは透明であり、透過しない面5bは不透明となっている。これらの面5a、5bは、例えば、アクリルなどのあらかじめ透明な材料で一体に成型され、表示器2からの光が透過しない面5bが黒色に塗装されることで形成される。透過しない面5bが不透明なのは、外光が折り返しミラー4で反射して、運転者の目に入ることを防ぐためである。
また、防塵カバー5は、図5に示すように、透明な面5aと、不透明な面5bとにより、山型形状となっている。すなわち、表示器2からの光が透過する面5aは、水平方向に対して斜めになっている。これは、外光が防塵カバー5に反射して、運転者の目に入ることを防ぐためである。
また、HUDは、図示しないが、上記した各可動機構部を制御するための制御部を有している。HUDは、この制御部により、各可動機構部が制御されることで、以下のように作動する。
まず、図2に示すように、シャッター1a、1bが開く。これにより、ケース1の上面に、コンバイナ3と防塵カバー5とをせり上げるための開口部が形成される。このとき、シャッター1aは起き上がった状態で保持される。HUDの使用時において、外光が防塵カバー5に反射して、運転者の目に入るのを防ぐためである。
その後、図3に示すように、開口部からコンバイナ3が起き上がり、所望の角度になる。この所望の角度とは、コンバイナ3に表示される虚像を運転者が視認できる角度である。
続いて、図4に示すように、コンバイナ3が上昇する。この上昇方向は、HUDの使用時において、コンバイナ3に入射する光(後述する折り返しミラー4で反射された表示器2からの光6b)の光軸上、すなわち、光軸方向と平行な方向である。また、上昇する高さは、表示部3aの位置が、表示像の視認性の良い位置となるように、車種毎にあらかじめ設定されている。なお、図示しないが、コンバイナ3が上昇する高さに応じて、コンバイナ3と表示器2との間の光路長が所定の長さとなるように、表示器2の固定位置が設定されている。
その後、図5に示すように、防塵カバー5が開口部からせり上げられる。このようにして、HUDが使用状態となる。
HUDの使用時では、上記発明が解決しようとする課題の欄で説明した図14に示すHUDと同様に、表示器2から、車両の前方(図中左方向)に向かって、光(映像)6a、8a、9aが投射される。その光6a、8a、9aは、折り返しミラー4で上方向に反射されて、その反射光6b、8b、9bがコンバイナ3の表示部3aに入射する。そして、表示部3aで反射した反射光6c、8c、9cが運転者の目に入るようになっている。
これにより、運転者は、コンバイナ3の表示部3aで、反射光6cの進む方向の延長線上に、拡大された像10を、前方の景色と重ねて、視認することができる。ここで、図6に、表示部3aの正面図を示す。本実施形態では、図6に示すように、像10の中心点10aの上側と下側とにおいて、略同一の拡大率で、像10が表示部3aに表示される。なお、図6では、像10全体(表示領域)における輪郭を示している。
このとき、本実施形態では、表示器2からコンバイナ3までの光路長が、例えば、以下のようになっている。
像10の上部の光線8a、8bでは、表示器2と折り返しミラー4との間の光路長8aが42mm、折り返しミラー4とコンバイナ3との間での光路長8bが167mmであり、光路長8a、8bの合計は209mmである。
像10の中央の光線(中心光軸)6a、6bでは、表示器2と折り返しミラー4との間の光路長6aが54mm、折り返しミラー4とコンバイナ3との間での光路長6bが136mmであり、光路長8a、8bの合計は190mmである。
像10の下部の光線9a、9bでは、表示器2と折り返しミラー4との間の光路長9aが68mm、折り返しミラー4とコンバイナ3との間での光路長9bが102mmであり、光路長9a、9bの合計は170mmである。
また、コンバイナ3の表示部3aおよび折り返しミラー4のR値(曲率半径)は、例えば、以下のようになっている。
表示部3aでは、像10の上部の光線8bが当たる部分(表示部3aの上側)3cでの縦R値は950であり、像10の下部の光線9bが当たる部分(表示部3aの下側)3dでの縦R値は696である。
折り返しミラー4では、像10の上部の光線8aが当たる部分(折り返しミラー4の下側)4bの横R値は345であり、像10の下部の光線9aが当たる部分(折り返しミラー4の上側)4aの横R値は300である。
ここで、縦R値とは像10の上下方向(図5では上下方向)におけるR値のことであり、横R値とは、像10の左右方向(図5では紙面垂直方向)におけるR値のことである。
また、本実施形態では、表示部3aでの入反射する光(映像)の入反射角α、βは、例えば、43°である。
なお、上記した光6a、6b、6cの進む方向(中心光軸)は、アイレンジ7の中心7aと、表示器2の表示中心と、コンバイナ3、折り返しミラー4とによって、決定されるものである。アイレンジ7は、一般的な運転者の目が位置する範囲のことであり、アイレンジの中心7aは標準的な運転者の目の高さに相当する。アイレンジは、車両のシートの高さで定まるものである。
また、運転者の目の高さが標準よりも低かったり、高かったりする場合では、運転者の視域を満足するために、運転者の目の高さに応じて、図7中の破線で示すように、折り返しミラー4が平行移動する。図7は、折り返しミラー4を移動させる場合のHUDの側面図である。
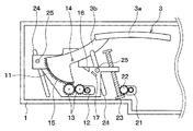
次に、上記した作動を可能とする各可動機構部の構造について説明する。図8にコンバイナ3の可動機構部の側面図を示す。上記したように、コンバイナ3の動作としては、「コンバイナ3が起き上がり、所望の角度になる第1の動作」と、「所望の角度に起き上がっているコンバイナ3が上昇する第2の動作」とがある。
そこで、まず、第1の動作を実現するための第1の機構部について説明する。この第1の機構部が本発明の回動手段に相当する。図に示すように、第1の機構部は、ハウジング11と、モータ12と、減速ギヤ13と、回転中心軸14と、コンバイナ側ギヤ15とを有している。
ハウジング11は、その内側に、モータ12と、減速ギヤ13と、回転中心軸14とがマウントされている。モータ12はコンバイナ3を回動させるためのものである。ハウジング11は樹脂や金属等により構成される。
減速ギヤ13はモータ12の回転を減速させるためのものである。なお、本実施形態では、減速ギヤ13を2つ用いているが、減速ギヤ13の数を他の数とすることもできる。
回転中心軸14は、コンバイナ3の支持部3bに設けられており、コンバイナ3を回動させるときに中心となる軸である。コンバイナ側ギヤ15は減速ギヤ13からの動力をコンバイナ3に伝えるものであり、コンバイナ3の支持部3bと一体となっている。なお、コンバイナ側ギヤ15と支持部3bは一体でなくても良く、これらを貼り合わせることもできる。
また、ハウジング11内には、コンバイナ3が起き上がったときに、コンバイナ3の回動を停止させる停止部16とリミットスイッチ17とが設けられている。
このような構成の第1の機構部では、モータ12が回転するとその動力が減速ギヤ13とコンバイナ側ギヤ15とを介してコンバイナ3に伝達する。これにより、回転中心軸14を中心にして、コンバイナ3を回動させ、コンバイナ3を倒れている状態から所望の角度にまで起き上がらせることができる。
次に、第2の動作を実現するための第2の機構部について説明する。第2の機構部は、ハウジング11と、モータ21と、減速ギヤ22と、送りねじ23と、案内ガイド24と、案内用ピン25とを有している。
モータ21はハウジング11全体を上昇させるための動力源である。減速ギヤ22はモータ21の回転を減速させるためのものである。送りねじ23は、直接、ハウジング11全体を上昇させるものである。
案内ガイド24は、ハウジング11の上昇方向を定めるものであり、ケース1の内側に設けられている。案内ガイド24は、直線状であり、HUDの使用時において、コンバイナ3に入射する光6bの光軸と平行な方向に延びている。案内用ピン25はハウジング11に設けられており、案内ガイド24に沿ってハウジング11が移動するためのピンである。
このような構成の第2の機構部では、モータ21が回転するとその動力が減速ギヤ22を伝達し、送りねじ23が回転する。この結果、送りねじ23の動作に連動して、ハウジング11全体が、案内ガイド24に沿って、移動し、図示しないリミットスイッチにより、所望の位置で停止する。
これにより、ハウジング11にマウントされているコンバイナ3を、コンバイナ3に入射する光6bの光軸と平行な方向に移動させることができる。
図9にシャッター1a、1bの可動機構部と防塵カバー5の可動機構部の側面図を示す。まず、シャッター1aの可動機構部について説明する。この可動機構部は、シャッター1aの可動動力源としてのモータ31と、減速ギヤ32と、シャッター1a側のギヤ33と、シャッター1aを回転させる際の軸となる回転軸34とを有している。
モータ31、減速ギヤ32、回転軸34は、ケース1の内部にマウントされている。シャッター1a側のギヤ33は、シャッター1aの支持部35のシャッター1aから離れた側の端部に位置し、シャッター1aと一体である。回転軸34は、支持部35に設けられている。
このような構成のシャッター1aの可動機構部では、モータ31が回転すると、その動力が減速ギヤ32、シャッター1a側のギヤ33を伝達する。これにより、シャッター1aが回転軸34を中心として、反時計回りに回転することで、シャッター1aが開く。このとき、シャッター1aが所定の位置に達したときに、リミットスイッチ36により、シャッター1aの可動が停止する。
次に、シャッター1bの可動機構部について説明する。この可動機構部は、シャッター1bの可動動力源としてのモータ41と、減速ギヤ42と、シャッター1b側のギヤ43と、シャッター1bを回転させる際の軸となる回転軸44とを有している。
モータ41、減速ギヤ42、回転軸44は、ケース1の内部にマウントされている。シャッター1b側のギヤ43は、シャッター1bの端部に位置し、シャッター1bと一体である。回転軸44は、シャッター1bの端部近傍に設けられている。
このような構成により、シャッター1bは、回転軸44を中心として、時計回りに回転することで、開くようになっており、図示しないリミットスイッチや回転のカウンターを制御することで、所定の位置で止まるようになっている。
次に、防塵カバー5の可動機構部について説明する。この可動機構部は、防塵カバー5の可動動力源としてのモータ51と、減速ギヤ52と、防塵カバー5側のギヤ53と、防塵カバー5を回転させる際の軸となる回転軸54とを有している。
モータ51、減速ギヤ52、回転軸54は、ケース1の内部にマウントされている。防塵カバー5側のギヤ53は、防塵カバー5の透明な面5aの端部に位置し、防塵カバー5と一体である。回転軸54も、透明な面5aの端部に設けられている。また、ケース1の内部に図示しないリミットスイッチが設けられており、防塵カバー5には、防塵カバー5が所定の位置に達したとき、リミットスイッチに接触するように、突起部55が設けられている。
このような構成により、モータ51が回転すると、動力が減速ギヤ52、防塵カバー5側のギヤ53を伝達して、防塵カバー5が回転軸54を中心に回転し、所定の位置に達すると停止する。これにより、非使用時には、ケース1内に収納されていた防塵カバー5が、使用時では、所望の位置までせり上がるようになっている。
図10に、折り返しミラー4の可動機構部の側面図を示す。折り返しミラー4の可動機構部は、ハウジング61と、送りねじ62と、折り返しミラー4を稼働させるためのモータ63と、減速ギヤ64と、案内ガイド65と、ガイド用ピン66とを有している。
送りねじ62と、折り返しミラー4を稼働させるためのモータ63と、減速ギヤ64と、案内ガイド65とは、ケース1の内部にマウントされている。
ハウジング61は折り返しミラー4を保持するためのものである。送りねじ62および案内ガイド65は、折り返しミラー4とハウジング61とを直線動作させるためのものである。送りねじ62および案内ガイド65は、折り返しミラー4と表示器2との距離を短くしたり長くしたりする方向(折り返しミラー4から表示器2に向かう方向)と平行である。ガイド用ピン66は、ハウジング61に設けられており、ハウジング61が案内ガイド65に沿って移動するためのピンである。
このような構成により、モータ63が回転すると、減速ギヤ64を伝達して、送りねじ62が回転する。これにより、折り返しミラー4がハウジング61ごと、図中左右方向に平行移動するようになっている。
以上説明したように、本実施形態のHUDでは、表示器2と、コンバイナ3と、折り返しミラー4とを有している。
そして、コンバイナ3の表示部3aに入反射する表示器2の光(映像)の入反射角が例えば43°と大きいため、表示像10の下部の光線9a、9bの光路長(170mm)の方が、表示像10の上部の光線8a、8bの光路長(209mm)よりも短くなっている。 光路長が短い方と長い方とでは、短い方が表示像10bの拡大率が小さくなってしまう。
そこで、本実施形態では、コンバイナ3の表示部3aと、折り返しミラー4とを曲面にして、表示部3aと折り返しミラー4とにおいて、表示像10の下部の光線9a、9bが当たる側のR値を、表示像10の上部の光線8a、8bが当たる側のR値よりも小さくしている(図5参照)。
すなわち、コンバイナ3では、表示部3aの下側3dでの縦R値(696)を、上側3cでの縦R値(950)よりも小さくしている。一方、折り返しミラー4では、上側4aでの横R値(300)を、下側での横R値(345)よりも小さくしている。
これにより、R値が小さいほど拡大率が大きいことから、表示像10の下側部分における折り返しミラー4およびコンバイナ3での拡大率を、表示像10の上側部分よりも大きくしている。
このように、本実施形態では、コンバイナ3の表示部3aでは、上側3cと下側3dとにおいて、縦R値を異なる大きさとし、折り返しミラー4では、上側4aと下側4bとにおいて、横R値を異なる大きさとしている。
この結果、コンバイナ3と折り返しミラー4とを備える場合であって、コンバイナ3の表示部3aで入反射する光の入反射角α、βが大きくなる場合であっても、表示像10の上側と下側とにおいて、拡大率が異なるのを抑制することができる。この結果、表示像の歪みを抑制することができる。
(第2実施形態)
第1実施形態では、HUDが防塵カバー5を有する場合を例として説明したが、防塵カバー5を有しない構造とすることもできる。図11、12、13に、本実施形態におけるHUDの断面図を示す。図11〜13に示すHUDは、図1〜6に示すHUDに対して、防塵カバー5を省略したものであり、他の構成は図1〜6に示すHUDと同じである。
第1実施形態では、HUDが防塵カバー5を有する場合を例として説明したが、防塵カバー5を有しない構造とすることもできる。図11、12、13に、本実施形態におけるHUDの断面図を示す。図11〜13に示すHUDは、図1〜6に示すHUDに対して、防塵カバー5を省略したものであり、他の構成は図1〜6に示すHUDと同じである。
非使用時では、図11に示すように、ケース1の内部に、第1実施形態と同様に、コンバイナ3が収納されている。
そして、使用時では、まず、図12に示すように、第1実施形態と同様に、シャッター1a、1bが開いた後、コンバイナ3が起き上がり、図13に示すように、コンバイナ3が上昇する。
本実施形態では、コンバイナ3が上昇した後、図13に示すように、シャッター1bが開いた状態から、少し、戻って、所定の位置で停止するようになっている。
これにより、第1実施形態での防塵カバー5の不透明な面5bの代わりに、外光が折り返しミラー4に反射して、運転者の目に入るのを防ぐことができる。
(他の実施形態)
(1)上記した各実施形態では、折り返しミラー4を1つだけ用いた場合を例として説明したが、折り返しミラー4を複数用いることもできる。この場合、少なくとも、1つの折り返しミラーにおいて、上側と下側の横R値を異なる値とする。例えば、コンバイナのすぐ隣に位置する折り返しミラー、もしくは、その折り返しミラーと表示器との間に位置する折り返しミラーにおいて、上側と下側の横R値を異なる値とすることができる。
(1)上記した各実施形態では、折り返しミラー4を1つだけ用いた場合を例として説明したが、折り返しミラー4を複数用いることもできる。この場合、少なくとも、1つの折り返しミラーにおいて、上側と下側の横R値を異なる値とする。例えば、コンバイナのすぐ隣に位置する折り返しミラー、もしくは、その折り返しミラーと表示器との間に位置する折り返しミラーにおいて、上側と下側の横R値を異なる値とすることができる。
(2)上記した各実施形態では、コンバイナ3において、表示部3aの上側3cと下側3dでの縦R値を異なる大きさとし、折り返しミラー4において、上側4aと下側4bでの横R値を異なる大きさとする場合を例として説明したが、コンバイナ3において、表示部3aの上側3cと下側3dでの横R値を異なる大きさとし、折り返しミラー4において、上側4aと下側4bでの縦R値を異なる大きさとすることもできる。
このように、コンバイナ3と折り返しミラー4とのどちらか一方で、縦R値を異なる大きさとし、他方で横R値を異なる大きさとすることで、表示像10に歪みが生じるのを抑制することができる。
ただし、コンバイナ3の表示部3aの上側3cと下側3dとにおいて、横R値を異なる大きさとするよりも、第1、第2実施形態のように、縦R値を異なる大きさとする場合の方が好ましい。
これは、同じ大きさの像10をコンバイナ3の表示部3aに表示する場合では、折り返しミラー4の大きさを小さくすることができ、折り返しミラー4が収納されているケース1を低くして、HUDをよりコンパクトにすることができるからである。
(3)上記した各実施形態では、コンバイナ3が倒れた状態から起き上がる、いわゆるポップアップタイプのHUDを例として説明したが、コンバイナ3が常に起き上がった状態に固定されているタイプのHUDに対しても、本発明を適用することができる。
1…ケース、2…表示器、
3…コンバイナ、3a…表示部、3b…支持部、
3c…表示部の上部、3d…表示部の下部、
4…折り返しミラー、5…防塵カバー、
6a、6b、6c…中心光軸、
7…アイレンジ、7a…アイレンジの中心、
8、8a、8b、8c…像10の上部の光線、
9、9a、9b、9c…像10の下部の光線、
11、61…ハウジング、
12、21、31、41、51、63…モータ、
13、22、32、42、52、64…減速ギヤ、
14、34、44、54…回転中心軸、
15…コンバイナ側ギヤ、
23、62…送りねじ、
24、65…案内ガイド、
25、66…案内用ピン、
33…シャッター1a側のギヤ、
43…シャッター1b側のギヤ、
53…防塵カバー5側のギヤ。
3…コンバイナ、3a…表示部、3b…支持部、
3c…表示部の上部、3d…表示部の下部、
4…折り返しミラー、5…防塵カバー、
6a、6b、6c…中心光軸、
7…アイレンジ、7a…アイレンジの中心、
8、8a、8b、8c…像10の上部の光線、
9、9a、9b、9c…像10の下部の光線、
11、61…ハウジング、
12、21、31、41、51、63…モータ、
13、22、32、42、52、64…減速ギヤ、
14、34、44、54…回転中心軸、
15…コンバイナ側ギヤ、
23、62…送りねじ、
24、65…案内ガイド、
25、66…案内用ピン、
33…シャッター1a側のギヤ、
43…シャッター1b側のギヤ、
53…防塵カバー5側のギヤ。
Claims (3)
- 光を投射する表示器(2)と、
車両のフロントガラスよりも運転者側に配置され、前記光が入射されることで、虚像(10)を表示するコンバイナ(3)とを備えるヘッドアップディスプレイにおいて、
前記表示器(2)から投射された前記光を反射させて、前記コンバイナ(3)に入射させる反射鏡(4)を有し、
前記コンバイナ(3)の光が入射する面(3a)および前記反射鏡(4)は曲面であり、
前記コンバイナ(3)と前記反射鏡(4)のどちらか一方は、前記曲面の上側(3c、4a)と下側(3d、4b)とにおいて、前記像(10)の上下方向での曲率半径が異なる大きさであり、前記コンバイナ(3)と前記反射鏡(4)の他方は、前記曲面の上側(3c、4a)と下側(3d、4b)とにおいて、前記像(10)の左右方向での曲率半径が異なる大きさであることを特徴とするヘッドアップディスプレイ。 - 前記コンバイナ(3)は、前記曲面の上側(3c)と下側(3d)とにおいて、前記像(10)の上下方向での曲率半径が異なる大きさであり、前記反射鏡(4)は、前記曲面の上側(4a)と下側(4b)とにおいて、前記像(10)の左右方向での曲率半径が異なる大きさであることを特徴とする請求項1に記載のヘッドアップディスプレイ。
- 前記コンバイナ(3)を起こした状態や、前記コンバイナ(3)を倒した状態とするように、前記コンバイナ(3)を回動させる回動手段(12、13、14、15、16、17)を有することを特徴とする請求項1または2に記載のヘッドアップディスプレイ。
Priority Applications (1)
| Application Number | Priority Date | Filing Date | Title |
|---|---|---|---|
| JP2004248824A JP2006065092A (ja) | 2004-08-27 | 2004-08-27 | ヘッドアップディスプレイ |
Applications Claiming Priority (1)
| Application Number | Priority Date | Filing Date | Title |
|---|---|---|---|
| JP2004248824A JP2006065092A (ja) | 2004-08-27 | 2004-08-27 | ヘッドアップディスプレイ |
Publications (1)
| Publication Number | Publication Date |
|---|---|
| JP2006065092A true JP2006065092A (ja) | 2006-03-09 |
Family
ID=36111632
Family Applications (1)
| Application Number | Title | Priority Date | Filing Date |
|---|---|---|---|
| JP2004248824A Withdrawn JP2006065092A (ja) | 2004-08-27 | 2004-08-27 | ヘッドアップディスプレイ |
Country Status (1)
| Country | Link |
|---|---|
| JP (1) | JP2006065092A (ja) |
Cited By (11)
| Publication number | Priority date | Publication date | Assignee | Title |
|---|---|---|---|---|
| JP2009073461A (ja) * | 2007-08-29 | 2009-04-09 | Nippon Seiki Co Ltd | ヘッドアップディスプレイ装置 |
| US8102601B2 (en) | 2010-03-30 | 2012-01-24 | Denso Corporation | Head up display device for vehicle |
| WO2012169557A1 (ja) * | 2011-06-08 | 2012-12-13 | 株式会社ニフコ | ヘッドアップディスプレイ装置 |
| WO2014162477A1 (ja) * | 2013-04-01 | 2014-10-09 | パイオニア株式会社 | 表示システム |
| JP5813243B2 (ja) * | 2012-09-27 | 2015-11-17 | パイオニア株式会社 | 表示装置 |
| WO2017063903A1 (de) * | 2015-10-14 | 2017-04-20 | Audi Ag | Deckelsystem und gehäuse mit dem deckelsystem |
| JP2017136996A (ja) * | 2016-02-04 | 2017-08-10 | アルパイン株式会社 | ヘッドアップディスプレイ装置 |
| JP2017142513A (ja) * | 2017-03-16 | 2017-08-17 | パイオニア株式会社 | 表示システム |
| EP3163354A4 (en) * | 2014-06-26 | 2017-11-29 | Nippon Seiki Co., Ltd. | Head-up display device |
| TWI656990B (zh) * | 2017-08-03 | 2019-04-21 | 光寶科技股份有限公司 | 電子裝置 |
| US10656417B2 (en) | 2016-02-25 | 2020-05-19 | Panasonic Intellectual Property Management Co., Ltd. | Heads-up display device |
-
2004
- 2004-08-27 JP JP2004248824A patent/JP2006065092A/ja not_active Withdrawn
Cited By (17)
| Publication number | Priority date | Publication date | Assignee | Title |
|---|---|---|---|---|
| JP2009073461A (ja) * | 2007-08-29 | 2009-04-09 | Nippon Seiki Co Ltd | ヘッドアップディスプレイ装置 |
| US8102601B2 (en) | 2010-03-30 | 2012-01-24 | Denso Corporation | Head up display device for vehicle |
| WO2012169557A1 (ja) * | 2011-06-08 | 2012-12-13 | 株式会社ニフコ | ヘッドアップディスプレイ装置 |
| JP2012254707A (ja) * | 2011-06-08 | 2012-12-27 | Nippon Seiki Co Ltd | ヘッドアップディスプレイ装置 |
| JP5813243B2 (ja) * | 2012-09-27 | 2015-11-17 | パイオニア株式会社 | 表示装置 |
| JPWO2014162477A1 (ja) * | 2013-04-01 | 2017-02-16 | パイオニア株式会社 | 表示システム |
| US20160041389A1 (en) * | 2013-04-01 | 2016-02-11 | Tohoku Pioneer Corporation | Display system |
| EP2982534A4 (en) * | 2013-04-01 | 2017-01-18 | Pioneer Corporation | Display system |
| WO2014162477A1 (ja) * | 2013-04-01 | 2014-10-09 | パイオニア株式会社 | 表示システム |
| EP3163354A4 (en) * | 2014-06-26 | 2017-11-29 | Nippon Seiki Co., Ltd. | Head-up display device |
| WO2017063903A1 (de) * | 2015-10-14 | 2017-04-20 | Audi Ag | Deckelsystem und gehäuse mit dem deckelsystem |
| CN107428250A (zh) * | 2015-10-14 | 2017-12-01 | 奥迪股份公司 | 盖系统和具有盖系统的壳体 |
| US10591727B2 (en) | 2015-10-14 | 2020-03-17 | Audi Ag | Cover system and housing with said cover system |
| JP2017136996A (ja) * | 2016-02-04 | 2017-08-10 | アルパイン株式会社 | ヘッドアップディスプレイ装置 |
| US10656417B2 (en) | 2016-02-25 | 2020-05-19 | Panasonic Intellectual Property Management Co., Ltd. | Heads-up display device |
| JP2017142513A (ja) * | 2017-03-16 | 2017-08-17 | パイオニア株式会社 | 表示システム |
| TWI656990B (zh) * | 2017-08-03 | 2019-04-21 | 光寶科技股份有限公司 | 電子裝置 |
Similar Documents
| Publication | Publication Date | Title |
|---|---|---|
| US9304318B2 (en) | Display device for vehicle | |
| JP6114380B2 (ja) | 表示システム | |
| US7659868B2 (en) | Head-up display apparatus and cover-mirror unit used for the same | |
| JP4336245B2 (ja) | ヘッドアップディスプレイ装置 | |
| EP3521885B1 (en) | Vehicle display device | |
| JPH0497193A (ja) | 車両用表示装置 | |
| JP2003039981A (ja) | 車載用ヘッドアップディスプレイ装置 | |
| JP2018205509A (ja) | ヘッドアップディスプレイ装置 | |
| JP2006062501A (ja) | ヘッドアップディスプレイ | |
| JP2006065092A (ja) | ヘッドアップディスプレイ | |
| JP2005186913A (ja) | ヘッドアップディスプレイ装置 | |
| JP7001034B2 (ja) | 虚像表示装置 | |
| JP2006069473A (ja) | ヘッドアップディスプレイ | |
| JP2007086226A (ja) | ヘッドアップディスプレイ装置 | |
| JP6296862B2 (ja) | 画像表示装置 | |
| JP2006065091A (ja) | ヘッドアップディスプレイ | |
| JP2006248322A (ja) | 車両用表示装置 | |
| CN117806000A (zh) | 车辆用显示装置 | |
| JP2019162903A (ja) | ヘッドアップディスプレイ装置のミラー可動機構 | |
| JP6391269B2 (ja) | 画像表示装置 | |
| JP3206679B2 (ja) | 車両用表示装置 | |
| CN220232108U (zh) | 平视显示装置 | |
| WO2017013819A1 (ja) | ヘッドアップディスプレイ装置 | |
| JP7697921B2 (ja) | 車両用表示装置 | |
| JP7623330B2 (ja) | 車両用表示装置 |
Legal Events
| Date | Code | Title | Description |
|---|---|---|---|
| A300 | Application deemed to be withdrawn because no request for examination was validly filed |
Free format text: JAPANESE INTERMEDIATE CODE: A300 Effective date: 20071106 |