JP2005354635A - 通信システム - Google Patents
通信システム Download PDFInfo
- Publication number
- JP2005354635A JP2005354635A JP2004176073A JP2004176073A JP2005354635A JP 2005354635 A JP2005354635 A JP 2005354635A JP 2004176073 A JP2004176073 A JP 2004176073A JP 2004176073 A JP2004176073 A JP 2004176073A JP 2005354635 A JP2005354635 A JP 2005354635A
- Authority
- JP
- Japan
- Prior art keywords
- communication
- signal
- communication system
- modem
- plc
- Prior art date
- Legal status (The legal status is an assumption and is not a legal conclusion. Google has not performed a legal analysis and makes no representation as to the accuracy of the status listed.)
- Pending
Links
- 230000008054 signal transmission Effects 0.000 claims abstract description 61
- 230000005540 biological transmission Effects 0.000 claims abstract description 51
- 239000003990 capacitor Substances 0.000 claims description 15
- 230000007423 decrease Effects 0.000 description 16
- 238000010586 diagram Methods 0.000 description 15
- 238000000034 method Methods 0.000 description 15
- 238000002347 injection Methods 0.000 description 13
- 239000007924 injection Substances 0.000 description 13
- 230000002829 reductive effect Effects 0.000 description 13
- 238000000605 extraction Methods 0.000 description 11
- 229910000859 α-Fe Inorganic materials 0.000 description 11
- 230000002238 attenuated effect Effects 0.000 description 6
- 239000000284 extract Substances 0.000 description 6
- 239000013307 optical fiber Substances 0.000 description 6
- 239000003795 chemical substances by application Substances 0.000 description 2
- 238000006243 chemical reaction Methods 0.000 description 1
- 239000004020 conductor Substances 0.000 description 1
- 238000010276 construction Methods 0.000 description 1
- 230000003247 decreasing effect Effects 0.000 description 1
- 230000000694 effects Effects 0.000 description 1
- 230000005611 electricity Effects 0.000 description 1
- 230000002452 interceptive effect Effects 0.000 description 1
- WABPQHHGFIMREM-UHFFFAOYSA-N lead(0) Chemical compound [Pb] WABPQHHGFIMREM-UHFFFAOYSA-N 0.000 description 1
- 230000003287 optical effect Effects 0.000 description 1
- 230000010363 phase shift Effects 0.000 description 1
- 230000002441 reversible effect Effects 0.000 description 1
- 230000005236 sound signal Effects 0.000 description 1
- 238000011144 upstream manufacturing Methods 0.000 description 1
Images
Classifications
-
- H—ELECTRICITY
- H04—ELECTRIC COMMUNICATION TECHNIQUE
- H04B—TRANSMISSION
- H04B3/00—Line transmission systems
- H04B3/54—Systems for transmission via power distribution lines
- H04B3/58—Repeater circuits
-
- H—ELECTRICITY
- H04—ELECTRIC COMMUNICATION TECHNIQUE
- H04B—TRANSMISSION
- H04B2203/00—Indexing scheme relating to line transmission systems
- H04B2203/54—Aspects of powerline communications not already covered by H04B3/54 and its subgroups
- H04B2203/5462—Systems for power line communications
- H04B2203/5479—Systems for power line communications using repeaters
Landscapes
- Engineering & Computer Science (AREA)
- Power Engineering (AREA)
- Computer Networks & Wireless Communication (AREA)
- Signal Processing (AREA)
- Cable Transmission Systems, Equalization Of Radio And Reduction Of Echo (AREA)
Abstract
【課題】 伝送速度をほとんど低下させることなく、より多くのノード数を有する通信システムを提供する。
【解決手段】 既存の多分岐有線電気通信網50を信号伝送路とする第一通信システムと、各家屋2A、2B、…に配される配電線10を信号伝送路とする第二通信システムと、これら両システムとの間で通信する信号中継手段20とを具える。第一通信システムは、上位のネットワーク300と接続される第一PLCモデム11を通信幹線52aに具える。第二通信システムは、配電線10に第二PLCモデム12を具える。信号中継手段20は、第一PLCモデム11との間、第二PLCモデム12との間で通信を行う二つのモデム部(第一モデム部21、第二モデム部22)を有する。信号中継手段20により、異なる信号伝送路間の通信を可能にする。
【選択図】 図1
【解決手段】 既存の多分岐有線電気通信網50を信号伝送路とする第一通信システムと、各家屋2A、2B、…に配される配電線10を信号伝送路とする第二通信システムと、これら両システムとの間で通信する信号中継手段20とを具える。第一通信システムは、上位のネットワーク300と接続される第一PLCモデム11を通信幹線52aに具える。第二通信システムは、配電線10に第二PLCモデム12を具える。信号中継手段20は、第一PLCモデム11との間、第二PLCモデム12との間で通信を行う二つのモデム部(第一モデム部21、第二モデム部22)を有する。信号中継手段20により、異なる信号伝送路間の通信を可能にする。
【選択図】 図1
Description
本発明は、電力線を利用して通信を行う通信システムに関するものである。特に、ノード数が増加しても、通信信号の伝送速度が低下しにくい通信システムに関するものである。
近年、電力線を利用する通信、例えば、低圧配電線などに通信信号を重畳して高速通信を行う電力線搬送通信(PLC:Power Line Communication)が検討されている(例えば、非特許文献1参照)。
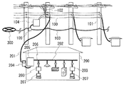
図6は、PLC方式の通信システムの概要を模式的に示した説明図であり、PLCユーザ家屋が一戸建て住宅の場合を示す。以下、図において同一符号は、同一物を示す。この方式は、図6に示すようにPLCユーザ家屋200に電力供給を行う電力線を通信に利用するものである。この例では、上位のネットワーク300から、電柱101に配置されたトランス102側までの通信に光ファイバケーブル103を用い、トランス102側から家屋200までの通信に低圧配電線100、引き込み線201、屋内配線202などの電力線を用いる。電柱101上には、上位のネットワーク300と低圧配電線100とに接続されるPLCモデム104(親モデム)を具え、家屋200内には、親モデム104との間で通信を行うPLCモデム203(子モデム)を具える。なお、図6に示す例や後述する図7に示す例では、親モデム104に光信号/電気信号の変換を行うメディアコンバータ(MC)を具える例を示すが、別途MCを具える場合もある。
上記構成において、例えば、PLCユーザがPLC信号を受信する場合、上位のネットワーク300から光ファイバケーブル103に伝送されたPLC信号は、接続箱105に接続された親モデム104にて変調/復調され、トランス102の低圧側(二次側)に注入される。そして、トランス102の低圧側から低圧配電線100→引き込み線201→電力量メータ204→分電盤205→屋内配線202→コンセント206を経て子モデム203にて変調/復調され、パソコンやIP電話などの端末機器207にて抽出することで受信される。PLCユーザがPLC信号を送信する場合は、上記受信の場合と反対の経路を経る。
図7は、PLCユーザ家屋が集合住宅の場合を示す。この例は、上位のネットワーク300から変圧器や開閉器などの電力機器401が収納される電力機器室400までの通信に光ファイバケーブル103を用い、電力機器401側から各PLCユーザ家屋200A、200B、200Cまでの通信に低圧配電線100を用いる。基本的構成は、上記図6で示す一戸建て住宅の場合とほぼ同様であり、親モデム104は、光ファイバケーブル103と、電力機器401から各家屋200A、200B、200Cへの低圧配電線100とに接続され、子モデム203は、各家屋200A、200B、200Cの屋内配線202に接続されて、親モデム104との間で通信を行う。
上記構成において、例えば、PLCユーザがPLC信号を送信する場合、端末機器207から伝送された通信信号は、子モデム203にて変調/復調され、屋内配線202→分電盤205→電力量メータ204→配電線100を経て、電力機器401の低圧側(二次側)に注入される。そして、電力機器401の低圧側から親モデム104にて変調/復調され、光ファイバケーブル103を介して上位のネットワーク300に伝送される。PLCユーザがPLC信号を受信する場合は、上記送信の場合と反対の経路を経る。
図6、7に示すようにPLC方式の通信システムでは、一つの親モデム104で複数の子モデム203と通信を行うことができる。このとき、複数の子モデム203が同じ電力線を利用して親モデム104との間で通信を行うことがある。そこで、親モデム104は、時間を複数の信号(データ)に割り当てて送信する時分割多重方式、或いは周波数帯域を複数の信号に割り当てて送信する周波数分割多重方式を用いて、各子モデム203に信号を割り当てている。
一方、電話やケーブルテレビなどといった音声信号や映像信号を通信線により伝送する通信網が構築されている。ユーザ家屋は、これらの信号を配信する局舎と通信線により接続されることで、信号を受信することができる。
江藤潔、「電力線搬送(PLC:Power Line Communication)の現状」、Interface、CQ出版社、2000年9月、p.70-81
上記のように親モデムは、子モデムに対して、一対複数の通信を行うことができる。しかし、一定以上の伝送速度を維持しようとすると、一つの親モデムに対して通信可能な子モデム数(ノード数)には、限界がある。従って、一つの親モデムに対してノード数をより多くして、より多くのユーザを保有する通信システムを構築しつつ、伝送速度を一定以上に保持するための構成が望まれる。
一つの親モデムに対してノード数が多くなると、時分割多重方式を行っている場合、各ノードに割り当てる時間が短くなると共に、遅延が増大し、伝送速度が低下してしまう。周波数分割多重伝送の場合、遅延が少ないため、ノード数が多いときは、周波数分割多重方式を利用する可能性が高い。しかし、周波数分割多重方式を利用しても、ノード数が多過ぎると、各ノードに割り当てる時間が短くなると共に、利用できる周波数帯域が少なくなるため、やはり伝送速度の低下を免れない。
また、信号伝送路を電力線のみにて構築する場合、親モデムと子モデム間の電力線が長くなることで、信号の減衰量が多くなり、親モデムと子モデム間での通信が行いにくくなる。そのため、信号中継装置を設置することが考えられるが、信号中継装置を配置した場合も、ノード数が多過ぎると伝送速度が低下してしまう。
そこで、本発明の主目的は、より多くのノード数を有することができながら、伝送速度の低下を低減することができる通信システムを提供することにある。
本発明は、電力線に加えて、既存の通信網を構築する通信線を信号伝送路に利用することで、上記目的を達成する。
即ち、本発明通信システムは、既存の多分岐有線電気通信網を信号伝送路とする第一通信システムと、各家屋に配される電力線を信号伝送路とする第二通信システムと、前記第一通信システムと第二通信システムとの間で通信する信号中継手段とを具えることを特徴とする。
一つの親モデムに対してノード数を多くすると、伝送速度が低下してしまい、高速通信が難しくなる。また、電力線のみを信号伝送路とすると、親モデムと子モデム間の距離が長い場合、信号中継装置を配置することが考えられるが、信号中継装置に接続されるノード数が多くなると、やはり伝送速度が低下してしまう。そこで、本発明者らは、種々検討した結果、信号伝送路を複数の伝送媒体で構築し、異なる伝送媒体間で信号の受け渡しを行うことで、伝送速度の低下を低減することができ、かつノード数を増大することができる、との知見を得た。具体的には、例えば、ある伝送媒体AにPLCモデムaと、このPLCモデムaとの間で通信を行う複数のPLCモデムaaとを配置し、別の伝送媒体Bにおいて上記PLCモデムaaを親モデムとして機能させ、この伝送媒体BにPLCモデムaaとの間で通信を行う複数のPLCモデムbbを配置する、…というように、伝送媒体Aに子モデムとして配置したPLCモデムを別の伝送媒体Bにおいて親モデムとして機能させて信号の受け渡しを行うことで、各伝送媒体に具えるノード数を少なくすることができる。そのため、伝送媒体ごとにみれば、伝送速度の低下を低減できる、或いは伝送速度を全く低下させることがない。かつ、各伝送媒体に具えるノード数が少なくても、全伝送媒体に配置されるノード数を合わせることで、システム全体ではより多くのノード数を具えることができる。本発明は、上記知見に基づき規定するものであり、特に、伝送媒体として、電力線、既存の通信網、具体的には、既存の多分岐有線電気通信網を用いることを規定する。以下、本発明をより詳しく説明する。
本発明通信システムは、伝送媒体が異なる二つの通信システムを具える。第一の通信システムは、既存の多分岐有線電気通信網を信号伝送路とする。本発明において既存とは、例えば、既に布設されていて、別の用途で用いられていること、或いは、既に布設されているが現在未使用であることなどが挙げられる。具体的な用途としては、例えば、多分岐有線電気通信網が構築された本来の目的である有線電気通信が挙げられる。多分岐有線電気通信網は、通信幹線と、通信幹線から分岐されて各家屋に配される通信分岐線とから構築される。このような多分岐有線電気通信網としては、例えば、ロシアなどで構築されている有線ラジオ通信網(例えば、モスクワ地域で利用されている呼称MGRS)が挙げられる。本発明は、第一の信号伝送路として通信線からなる多分岐有線電気通信網を利用することで、信号の減衰量を低減することができると共に、既存のものを利用するため、システムの構築を低コストとすることができる。なお、本発明では、既存の通信網を利用するため、この通信網が有線ラジオなどの有線電気通信に用いられていることが考えられる。このような場合、本発明で利用する通信信号の周波数帯域は、上記有線電気通信用信号の周波数帯域と異ならせておく。具体的には、例えば、50MHz以下、より具体的には1.7MHz〜50MHz、特に1.7〜30MHzとすることが好適である。また、通信網が現在未使用の場合、本発明で利用する通信信号の周波数帯域は、特に限定されない。
そして、第一通信システムでは、通信線(特に、通信幹線)に電力線搬送通信装置を具えて、電力線搬送通信装置を用いて通信を行うシステムとすることが好適である。電力線搬送通信装置とは、電力線搬送通信において利用されている通信信号の変調を行う通信用装置であり、例えば、1.7MHz〜30MHzの周波数帯域を用いて電力線などの信号伝送路に通信信号の注入/信号伝送路から通信信号を抽出可能であり、一つの電力線搬送通信装置は、別の複数の電力線搬送通信装置と通信を行うことができるものである。即ち、電力線搬送通信装置を利用することで、一対複数の通信が可能となる。変調方式としては、例えば、50MHz以下のキャリア周波数で、単一周波数、複数周波数、及び連続周波数のいずれかで変調する方式が挙げられる。具体的には、単一周波数の正弦波を広い周波数に分散して送信し、受信時に元の単一周波数の正弦波に復元するSS(Spread Spectrum;周波数拡散)方式、信号を直交する多数の周波数の正弦波に分割し、分割した波データを密に重畳するOFDM(Orthogonal Frequency Domain Multiplex;直交化周波数多重)方式、その他FSK(Frequency Shift Keying;周波数変調)方式、PSK(Phase Shift Keying;位相変調)方式などが挙げられる。特に、OFDMが好ましい。
第一通信システムに具える電力線搬送通信装置(以下、第一通信システムに具えるものを第一PLCモデムと呼ぶ)としては、上位のネットワーク(以下、上位NTと呼ぶ)に接続させ、第一通信システムの信号伝送路となる通信線(特に、通信幹線)に上位NTからの通信信号を注入/後述する信号中継手段により注入されて同通信線に伝送される通信信号を抽出可能であり、通信信号を適宜変復調できる構成のものが挙げられる。例えば、通信信号を送受信するための送受信部、送受信部などの各構成部を動作させる動力を得るための電源回路からなる電源部、上位NTとの通信に必要なインターフェースなどを具えるものが挙げられる。また、第一PLCモデムとして、いわゆる親モデムとして利用されている公知のPLCモデムを利用してもよい。なお、第一PLCモデムは、通信線のインピーダンスに整合するようにインピーダンスの整合をとっておくことが好ましい。
また、第一通信システムは、第一PLCモデムとの間で通信を行う複数のPLCモデムを具えて、通信線を利用してPLCモデムによる通信を行う構成としていてもよい。このとき、第一PLCモデムはいわゆる親モデムとして機能し、第一PLCモデムとの間で通信を行う複数のPLCモデムはそれぞれいわゆる子モデムとして機能する。このように第一通信システムは、通信線を信号伝送路とし、PLCモデムを信号注入抽出装置として利用することで、一対複数の通信を行うことができる。
第二の通信システムは、各家屋に配される電力線を信号伝送路とする。第二通信システムでは、第二の信号伝送路として各家屋に布設される電力線を利用するため、ユーザが簡単に通信を行うことができる。ユーザ家屋には、電力線に伝送される通信信号の受信/電力線に通信信号の発信を行う端末機器を具えておく。端末機器は、例えば、パソコンなどが挙げられる。そして、電力線には、通信を行うために電力線搬送通信装置(以下、第二通信システムに具えるものを第二PLCモデムと呼ぶ)を具えておく。第二通信システムに具える第二PLCモデムとしては、後述する信号中継手段により注入されて電力線に伝送される通信信号を抽出/端末機器からの通信信号を電力線に注入可能であり、適宜変復調できるものが挙げられる。例えば、通信信号を送受信するための送受信部、送受信部などの各構成部を動作させる動力を得るための電源回路からなる電源部、端末機器との通信に必要なインターフェースなどを具えるものが挙げられる。また、第二PLCモデムとして、いわゆる子モデムとして利用されている公知のPLCモデムを利用してもよい。このような第二PLCモデムは、ユーザ家屋に一つ具えていてもよいし、複数具えていてもよい。第二PLCモデムには、上記端末機器を接続して、端末機器が電力線を利用して通信を行えるようにしておく。
また、第二通信システムにおいて、上記第二PLCモデムとの間で通信を行う複数のPLCモデムを具えて、電力線を利用したネットワークを多段に構築してもよい。このとき、第二PLCモデムは、下位のネットワークに具える複数のPLCモデムに対して、いわゆる親モデムとして機能し、第二PLCモデムとの間で通信を行う上記複数のPLCモデムはそれぞれ、第二PLCモデムに対して、いわゆる子モデムとして機能する。
そして、本発明では、上記信号の伝送媒体が異なる第一通信システムと第二通信システムとの間で通信信号を中継するべく、信号中継手段を具える。信号中継手段は、第一通信システムの信号伝送路に伝送される通信信号を抽出して、第二通信システムの信号伝送路に注入可能であると共に、第二通信システムの信号伝送路に伝送される通信信号を抽出して、第一通信システムの信号伝送路に注入可能な構成を具えるものが挙げられる。例えば、第一通信システムに具える第一PLCモデムと通信可能な第一モデム部と、第一モデム部に結合されて、第二通信システムに具える複数の第二PLCモデムと通信可能な第二モデム部を具えるものが挙げられる。この構成の場合、一つの信号中継手段は、複数のノード(第二PLCモデム)と通信することができる。第一モデム部と第二モデム部とは、一体の部材としてもよいし、それぞれ別個の部材とし、イーサネット(登録商標)ケーブルなどの通信線で両モデム部を接続させてもよい。一つの第一PLCモデムに対し、このような信号中継手段を複数具え、各信号中継手段がそれぞれ複数の第二PLCモデムと接続されることで、システム全体で見ると、伝送速度をほとんど低減することなく、ノード数の増大を図ることができる。
このように第一PLCモデム、信号中継手段、第二PLCモデムを具える本発明通信システムでは、第一PLCモデムと信号中継手段間、信号中継手段と第二PLCモデム間でそれぞれがいわゆる親モデム、子モデムとして機能する。即ち、第一通信システムにおいて、第一PLCモデムが親モデム、信号中継手段が子モデムとなり、第二通信システムにおいて、信号中継手段が親モデム、第二PLCモデムが子モデムとなる。
上記のように本発明では、二つの通信システムを具えることで、各通信システムにおいてそれぞれ各信号伝送路に配置するノード数を減少することができ、伝送速度の大幅な低減を抑制する。しかし、信号伝送路が長距離に亘る場合、信号は、減衰し易くなる。特に、電力線を信号伝送路とする第二通信システムでは、通信線を信号伝送路とする第一通信システムよりも信号が減衰し易いと考えられる。このような場合、信号中継装置を配置することが好ましい。具体的には、第一通信システムでは、第一PLCモデムと信号中継手段間で信号を中継するもの、第二通信システムでは、信号中継手段と第二PLCモデム間で信号を中継するものが挙げられる。第一通信システムに具える信号中継装置としては、通信線に伝送される通信信号を抽出して通信線に注入可能であり、第一PLCモデムとの間で通信可能な第一通信モデム部、信号中継手段(第一モデム部)との間で通信可能な第二通信モデム部を具える構成が挙げられる。第二通信システムに具える信号中継装置としては、電力線に伝送される通信信号を抽出して電力線に注入可能であり、信号中継手段(第二モデム部)との間で通信可能な第一電力線モデム部、第二PLCモデムとの間で通信可能な第二電力線モデム部を具える構成が挙げられる。公知のリピータを利用してもよい。
また、第一通信システムにおいて、第一PLCモデムと通信を行う別のPLCモデムAを複数具える場合や、第二通信システムにおいて、第二PLCモデムを親モデムとして機能させ、この第二PLCモデムと通信を行う別のPLCモデムBを複数具える場合にも、第一PLCモデムとPLCモデムA間、第二PLCモデムとPLCモデムB間に信号中継装置を具えてもよい。
ここで、信号中継装置によって中継される前の通信信号(信号中継装置に入力した信号)の周波数帯域と、同中継された後の通信信号(信号中継装置から出力した信号)の周波数帯域とが重複する場合、同じ信号伝送路に伝送されることから、信号干渉が発生する。従って、信号中継装置において両モデム部で使用する周波数帯域は、信号干渉の発生を防止するべく、異ならせておくことが好ましい。本発明システムが利用可能な周波数帯域に制限がある、例えば、使用可能な周波数帯域がf1Hz以上f2Hz以下とする場合、この周波数帯域全体を信号中継装置で中継される前後の信号伝送路に割り振るとすると、例えば、信号中継装置で中継される前の信号伝送路にf1〜f2Hzの半分が、同後の信号伝送路に残り半分が割り振られる。このように割り振る周波数帯域が小さくなることから、信号中継装置が周波数分割多重伝送を行っている場合でも、ノード数が増加すると伝送速度が低下する恐れがある。なお、信号中継装置が時分割多重伝送を行っている場合は、上記周波数分割多重伝送の場合よりも割り当て時間が少なく、ノード数が増加すると割り当て時間が更に短くなることから、伝送速度が低下しやすい。そこで、このような伝送速度の低下を低減するべく、信号中継装置の近傍には、信号中継装置に入力した信号と、同出力した信号とが干渉することを抑制するフィルタを配置することが好ましい。このようなフィルタを配置することで、信号中継装置で中継される前後で通信信号が分断されるため、同前後で同じ周波数帯域が利用できるようになる。即ち、信号中継装置で中継される前後において、使用可能な周波数帯域全体を利用することができ、伝送速度の低下を抑制する。従って、第一通信システムの信号伝送路、第二通信システムの信号伝送路に信号中継装置及び上記フィルタをそれぞれ具えることで、各通信システムでは、同じ周波数帯域の通信信号を用いて通信を行うことができる。
上記フィルタは、信号中継装置で中継される前の信号と同じ周波数の信号を減衰して、信号中継装置で中継された後の信号と干渉し合わないような特性を持つものとする。即ち、信号中継装置で中継される前の信号が、同中継された後の信号伝送路に伝送されることを抑制できるものである。ただし、多分岐有線電気通信網で利用されている有線電気通信用信号や、電力線に流れる電力供給用の低周波数信号(例えば、50Hz又は60Hzの信号)が減衰しにくい、或いは全く減衰させないものとする。このようなフィルタとしては、例えば、コンデンサのみからなるものが挙げられるが、高周波数で利用されることが多い通信信号を効果的に減衰させるためには、インダクタンスとして機能するフェライトコアなどの磁性部材とコンデンサとを組み合わせてなるものが好ましい。また、このようなフィルタは、多分岐有線電気通信網を構築する通信線や電力線などの信号伝送路を構成する配線を切断することなく配置できる構成であると、作業性がよく好ましい。例えば、導電性材料からなるクリップなどの取付部を設けてもよい。また、フェライトコアは、分割片を組み合わせて一体物となる構成とすると、取り付け易い。
上記フィルタは、信号中継装置の近傍に配置する。例えば、信号中継装置において上位側の信号注入/抽出点と下位側の信号注入/抽出点とを異ならせておき、これら両信号注入/抽出点間に配置することが挙げられる。なお、このようなフィルタは、信号中継装置の近傍だけでなく、同じように信号を中継する信号中継手段の近傍にも配置してもよい。
また、上記第一PLCモデムは、多分岐有線電気通信網全体に対して複数具えていてもよい。具体的には、複数の通信幹線に対し、複数の第一PLCモデムをそれぞれ配置してもよい。そして、各第一PLCモデムに対してそれぞれ、信号中継手段、第二PLCモデムを具えて通信システムを構築することで、システム全体におけるノード数をより多くすることができる。このとき、ある第一PLCモデムが使用する通信信号と別の第一PLCモデムが使用する通信信号とが使用する周波数帯域が同じ場合、信号干渉が発生することがある。従って、各第一PLCモデムにおいて使用する周波数帯域を異ならせてもよいが、上記信号中継装置の場合と同様に、伝送速度の低下を低減するべく、第一PLCモデム間に生じる信号干渉を抑制するフィルタを第一PLCモデム間に具えることが好ましい。第一PLCモデム間にこのようなフィルタを具えることで、フィルタの前後で通信信号が分断されるため、各第一PLCモデムは、それぞれ同じ周波数帯域の通信信号を用いて通信を行うことができる。フィルタの構成としては、上記信号中継装置の近傍に配置するものと同様に、フェライトコアなどの磁性部材とコンデンサとを組み合わせてなるものが好ましい。また、フィルタは、多分岐有線電気通信網を構築する通信線を切断することなく配置できる構成が好ましい。ただし、このフィルタは、多分岐有線電気通信網で利用されている有線電気通信用信号が減衰しにくい、或いは全く減衰させないものとする。
上記構成を具える本発明通信システムは、異なる伝送媒体を有する二つの通信システムを組み合わせることで、通信信号の伝送速度の低下を低減しながら、ノード数を増大することができるという優れた効果を奏し得る。特に、既存の通信網を利用することで、信号の減衰量を低減すると共に、システム構築コストを低減することができる。
また、本発明システムにおいて信号伝送路が長距離に亘った場合は、信号中継装置が、この信号中継装置の近傍にフィルタを具えることで、信号中継装置で中継する前後の両信号伝送路において、使用可能な周波数帯域全体を割り振ることができるため、信号の伝送速度の低下を低減することが可能である。
以下、本発明の実施の形態を説明する。
図1(A)は、本発明通信システムの概略構成図、(B)は、多分岐有線電気通信網に複数の第一PLCモデムを具える本発明通信システムの概略構成図である。本発明通信システムは、既存の多分岐有線電気通信網50を信号伝送路とする第一通信システムと、各家屋2A、2B、…に配される配電線10を信号伝送路とする第二通信システムと、第一通信システムと第二通信システムとの間で通信する信号中継手段20とを具える。
本例において第一通信システムは、ラジオ放送用信号を伝送する通信線51から構成される既存の有線ラジオ通信網を利用する通信システムである。通信線51は、ラジオ放送用信号を配信する局舎(図示せず)に接続される通信幹線52aと、この通信幹線52aに接続されて複数の家屋2A、2B、…に分岐される通信分岐線52bとからなる。有線ラジオのユーザは、各家屋2A、2B…にラジオ放送用信号の受信装置(ラジオ)53を具えることで、同信号を受信できる。そして、第一通信システムは、通信幹線52aに上位のネットワーク300と接続されて上位のネットワーク300との間で通信を行う電力線搬送通信装置(第一PLCモデム11)を具え、通信線51を信号伝送路とし、第一PLCモデム11を信号注入抽出装置として利用するシステムをも兼ねる。
第二通信システムは、配電線10を信号伝送路とし、電力線搬送通信装置(以下、単にPLCモデムと呼ぶ)を利用して通信を行うシステムであり、第二通信システムにおけるユーザは、各家屋2A、2B…の屋内配線202に(第二)PLCモデム12を接続させて、このPLCモデム12に通信信号の送受信を行うためのパソコンなどの端末機器207を接続させることで、端末機器207を介して通信を行うことができる。
そして、本発明の最も特徴とするところは、上記信号伝送路が異なる二つの通信システム間に信号中継手段20を具え、信号伝送路を複数利用することにある。特に、本例に示す通信システムでは、通信信号の送受信にPLCモデムを用いることで、一つのPLCモデムが複数の別のPLCモデムと通信できるようにしている。具体的には、通信幹線52aに配置される第一PLCモデム11と、各家屋2A、2B、…に具える第二PLCモデム12と、両モデム11、12との間で通信を行う二つのモデム部(第一モデム部21、第二モデム部22)を有する信号中継手段20とを具える。
第一PLCモデム11は、上位のネットワーク300と接続されて、上位のネットワーク300からの通信信号を通信幹線52aに抽入可能であると共に、信号中継手段20にて通信幹線52aに抽入されて伝送される通信信号を抽出可能なものとした。変調方式は、OFDMとした。基本的構成は、いわゆる親モデムとして利用されている公知のPLCモデムと同様とした。なお、本例では、通信線51に対して通信信号の注入抽出を行うため、第一PLCモデムのインピーダンスを通信線51のインピーダンスに整合させている。図1(A)に示す例では、このような第一PLCモデム11を一つのメイン通信グループMG(後述)の通信線51に一つ配置しており、多分岐有線電気通信網50全体で一つ配置されている。
第二PLCモデム12は、信号中継手段20により注入されて電力線(配電線10、屋内配線202など)に伝送される通信信号を抽出可能であると共に、端末機器207からの通信信号を屋内配線202に注入可能なものとした。変調方式は、OFDMとした。基本的構成は、いわゆる子モデムとして利用されている公知のPLCモデムと同様とした。本例では、このような第二PLCモデム12を各家屋に具え、第二通信システム全体では複数具えている。
信号中継手段20は、第一PLCモデム11と通信を行う第一モデム部21と、この第一モデム部21に結合されて、複数の第二PLCモデム12と通信を行う第二モデム部22とを具える。本例では、このような信号中継手段20を通信幹線52aに複数具えている。
そして、図1(A)に示す例では、第一PLCモデム11を複数の信号中継手段20に対して親モデムとして機能させ、各信号中継手段20をそれぞれ子モデムとして機能させる。即ち、一つの第一PLCモデム11と、この第一PLCモデム11と通信する複数の信号中継手段20とにより、一つのメイン通信グループMGが構成される。図1(A)に示す例では、メイン通信グループMGが一つ存在する。また、各信号中継手段20をそれぞれ複数の第二PLCモデム12に対して親モデムとして機能させ、各第二PLCモデム12をそれぞれ子モデムとして機能させる。即ち、一つの信号中継手段20と、この信号中継手段20と通信する複数の第二PLCモデム12とにより、一つのサブ通信グループSGが構成される。従って、図1では、示していないが一つのメイン通信グループMGに対し、サブ通信グループSGを複数具える。
上記構成を具える本発明通信システムにおいて、例えば、ユーザが上位のネットワーク300から通信信号(PLC信号)を受信する場合、上位のネットワーク300から光ファイバケーブルなどの配線を介して第一PLCモデム11に伝送され、通信幹線52a→信号中継手段20(第一モデム部21→第二モデム部22)→配電線10→屋内配線202→第二PLCモデム12という経路を経て、端末機器207により通信信号を抽出することができる。一方、ユーザが通信信号(PLC信号)を送信する場合、上記とは逆に端末機器207→第二PLCモデム12→屋内配線202→配電線10→信号中継手段(第二モデム部22→第一モデム部21)→通信幹線52a→第一PLCモデム11を介して上位のネットワーク300に通信信号が伝送される。
図1(A)に示す通信システムでは、メイン通信グループMGにおいて第一PLCモデム11は、そのグループMG内の各信号中継手段20とのみ通信を行い、各信号中継手段20は、それぞれが配置されるサブ通信グループSG内の各第二PLCモデム12とのみ通信を行う。従って、グループMG、SGごとにみれば、ノード数を少なくしているため、伝送速度の低減を図ることができながら、システム全体では、ノード数を多くすることができる。特に、信号伝送路として、通信線51を利用していることで、信号の減衰量も低減することができる。
なお、本例では、通信信号の使用周波数帯域を有線ラジオの使用周波数帯域と異なるものとした。
また、図1(B)に示す通信システムのように、多分岐有線電気通信網50全体で第一PLCモデムを複数具える構成としてもよい。即ち、複数の通信幹線52aのそれぞれに第一PLCモデム11を配置し、メイン通信グループMGを複数具える構成としてもよい。そして、各メイン通信グループMGのそれぞれに複数のサブ通信グループを具える構成とすることで、システム全体のノード数をより多くすることができる。
図1(B)に示す例では、第一PLCモデム11間の信号干渉を抑制するべく、第一PLCモデム11間にフィルタ11Fを配置している。このフィルタ11Fは、第一PLCモデム間で通信信号同士が干渉することを抑制すると共に、フィルタ11Fの前後で通信信号を分断して、同前後で同じ周波数帯域を利用できるようにしている。本例においてフィルタ11Fは、コンデンサとフェライトコアとが配線により接続される構成のものを利用した。このようなフィルタ11Fを配置することで、伝送速度の低下を効果的に低減することができる。なお、このフィルタ11Fは、もともと信号伝送路となる通信線に流れているラジオ放送用信号は、通過させるものとする。
図2は、本発明通信システムの形態を示す模式図であり、(A)は、メイン通信グループとサブ通信グループとから構成される形態、(B)は、サブ通信グループが更に下位のサブ通信グループを有する形態、(C)は、通信分岐線にサブ通信グループを有する形態を示す。図2(A)に示す形態は、図1に示す例と同様であり、上位のネットワーク300に接続される第一PLCモデム11と、第一PLCモデム11との間で通信を行う複数の信号中継手段20とからなるメイン通信グループMGと、信号中継手段20と、信号中継手段20との間で通信を行う複数の第二PLCモデム12とからなるサブ通信グループSGとを具える。サブ通信グループSGは、信号中継手段20ごとに形成されており、一つのメイン通信グループMGに対して、複数のサブ通信グループSGが存在する。なお、図2(A)では、通信分岐線を省略している。
図2(B)に示す形態は、あるサブ通信グループSG1を上位として、更に下位のサブ通信グループSG2を具える形態である。具体的には、サブ通信グループSG1には、信号中継手段20と通信を行う第二PLCモデム12及び別のPLCモデム13を具えており、下位のサブ通信グループSG2には、PLCモデム13と、このPLCモデム13と通信を行う複数のPLCモデム14とを具える。即ち、PLCモデム13を親モデムとして機能させ、PLCモデム14を子モデムとして機能させる。このように、本発明システムでは、電力線を信号伝送路とする第二通信システムにおいて、サブ通信グループに具えるPLCモデムを親モデムとして機能させ、更にこのモデムと通信を行う複数の子モデムを具える下位のサブ通信グループを具えていてもよい。このように下位のサブ通信グループを増加させて、ユーザの増大を図ることもできる。
また、図2(B)に示すように通信線にPLCモデムを配置して、通信線を信号伝送路とした別の通信グループAG1を形成してもよい。この例に示す通信グループAG1は、第一PLCモデム11と通信を行うPLCモデム30を通信幹線52aに配置させ、各通信分岐線52bにそれぞれPLCモデム30と通信を行うPLCモデム31、32を配置させている。このようにPLCモデムを用いることで、一つのPLCモデムに対し、複数のPLCモデムと通信を行うことができると共に、通信線を信号伝送路とするため、サブ通信グループSGと比較して、信号の減衰量を低減することができる。また、上記電力線を信号伝送路とする例と同様に、通信グループAG1に更に下位の通信グループAG2を形成してもよい。この例において下位の通信グループAG2は、親モデムとして機能させるPLCモデム32と、PLCモデム32と通信を行う複数のPLCモデム33とを具える。
図2(C)に示す形態は、通信線を信号伝送路とした通信グループAGに電力線を信号伝送路とするサブ通信グループSGを具える例である。通信グループAGは、通信幹線52aに配置されて第一PLCモデム11と通信を行うPLCモデム30と、通信分岐線52bに配置されてPLCモデム30と通信を行う複数のPLCモデム31と、PLCモデム30と通信を行う信号中継手段20とを具える。このように通信幹線52aだけでなく、通信分岐線52bをも利用して、信号中継手段20を通信分岐線52bに配置した構成としてもよい。
信号伝送路が長くなる場合、信号の減衰量が増大し易い。そこで、このような場合、信号伝送路に信号中継装置を配置することが好ましい。例えば、図2(A)に示す形態の場合、第一PLCモデム11と信号中継手段20間で通信信号(PLC信号)を中継させるべく、通信幹線52aに信号中継装置を配置してもよいし、信号中継手段20と第二PLCモデム12間で通信信号を中継させるべく、配電線10に信号中継装置を配置してもよい。また、図2(B)に示す形態の場合も同様に通信幹線52aや配電線10に信号中継装置を配置してもよいし、通信分岐線52bを利用した通信グループAG1、AG2において、PLCモデム30とPLCモデム31間、PLCモデム32とPLCモデム33間で通信信号を中継させるべく、通信分岐線52bに信号中継装置を配置してもよい。図2(C)も同様である。また、PLCモデム13、32は、信号中継装置としてもよい。
上記信号中継装置は、例えば、第一PLCモデム11と信号中継手段20間に配置する場合、第一PLCモデム11と通信を行う第一通信モデム部と、この第一通信モデム部に結合されて信号中継手段20と通信を行う第二通信モデム部とを具えるものが挙げられる。信号中継手段20と第二PLCモデム12間は、信号中継手段20と通信を行う第一電力線モデム部と、この第一電力線モデム部に結合されて第二PLCモデム12と通信を行う第二電力線モデム部を具えるものが挙げられる。PLCモデム30とPLCモデム31間、PLCモデム32とPLCモデム33間に配置する場合についても同様に各モデムと通信を行う二つのモデム部を具えるものが挙げられる。公知のリピータを利用してもよい。なお、第一モデム部の使用周波数と第二モデム部の使用周波数は、信号干渉を防止するべく、異ならせておくことが好ましい。
上記実施例2のように信号伝送路に信号中継装置を具えており、信号中継装置が時分割多重方式を用いている場合、ノード数が増加するにつれて伝送速度が低下してしまう。また、周波数分割多重方式を用いている場合、二つのモデム部の使用周波数を異ならせることで、各モデム部で使用できる周波数帯域が狭くなり、信号の伝送速度の低下を招く恐れがある。そこで、この例では、信号中継装置を配置しても伝送速度が低下しにくいように、フィルタを具える構成を説明する。図3は、本発明システムにおいて、信号中継装置の近傍にフィルタを具える構成を示す概略構成図である。この例では、配電線10に信号中継装置40を配置させた形態を示す。この例の特徴とするところは、信号中継装置40の近傍にフィルタ43を具える点にある。
フィルタ43は、信号中継装置40で中継される前後の通信信号同士が干渉することを抑制すると共に、同前後において、中継前の通信信号と中継後の通信信号の使用周波数帯域を増大するべく、両通信信号を分断して、同前後で同じ周波数帯域を利用できるようにする。なお、このフィルタ43は、もともと信号伝送路となる通信線や電力線に流れているラジオ放送用信号や電力供給用の低周波数の信号は、通過させるものとする。
本例では、配電線10に伝送される上りの通信信号を信号中継装置40が抽出する点41A、41Bと、抽出した通信信号を信号中継装置40が配電線10に注入する点42A、42Bとの間にフィルタ43を配置している。そして、信号中継装置40に入力される通信信号と同じ周波数帯域fxの通信信号が点41A、41Bから図3において右向きに伝送されると、フィルタ43により減衰され、フィルタ43より右側にはほとんど伝送されることがない。そして、信号中継装置40から出力される通信信号を上記入力と同じ周波数帯域fxをもつものとし、この信号が注入される点42A、42Bから図3において左向きに伝送されても、フィルタ43により減衰されてフィルタ43より左側にはほとんど伝送されることがない。また、配電線10に伝送される下りの通信信号(周波数帯域fy)を点42A、42Bから信号中継装置40にて抽出する場合も同様に、信号中継装置40に入力される通信信号と同じ周波数帯域fyの通信信号が点42A、42Bから図3において左向きに伝送されると、フィルタ43により減衰され、フィルタ43より左側にはほとんど伝送されない。そして、信号中継装置40から出力される通信信号を上記入力と同じ周波数帯域fyをもつものとし、この信号の注入点である点41A、41Bから図3において右向きに伝送されても、フィルタ43により減衰されてフィルタ43より右側にはほとんど伝送されない。なお、時分割多重方式により、上りの通信信号/下りの通信信号を制御する場合には、fx=fyとすることもできる。
上記のような特性を具えるフィルタを具えることで、信号中継装置の入出力の前後において使用可能な周波数帯域を同じくすることができ、信号周波数帯域が狭いことで生じる伝送速度の低下を効果的に防止することができる。
図4は、フィルタの構成要素を示す電気回路図である。本例においてフィルタ43は、コンデンサとフェライトコアとからなり、コンデンサとフェライトコアとが配線により接続される構成のものが利用できる。例えば、図4(A)に示すようにフェライトコアLを配置した2本の配電線10間にコンデンサCを配置する構成Aが挙げられる。また、図4(B)に示すようにコンデンサCの両側にコアLが配置される構成B、図4(C)に示すようにコアLの両側にコンデンサCが配置される構成Cとすると、フィルタ機能をより向上させることができる。更に、構成Bを多段に具える構成や構成Cを多段に具える構成とするとより効果的である。本例では、構成Aとした。また、本例においてコンデンサは、配電線10を把持可能なクリップを具え、フェライトコアは、断面半円弧状の分割片を一対組み合わせて断面円弧状となる構成のものを利用した。この構成により、信号伝送路である電力線を切断することなく、フィルタを配置することができる。なお、配電線10は、通常、2本又は3本の配線にて構成される。この点は、上記実施例についても同様である。本例では2本の場合を示す。
また、本例では、電力線に信号中継装置を配置する例を示したが、通信幹線や通信分岐線などの通信線に配置してもよい。このとき、上記フィルタは、信号中継装置の近傍に配置するとよい。
上記実施例3では、電力線に配置された信号中継装置の近傍にフィルタを具える例を示したが、この例では、通信線に配置された信号中継装置の近傍にフィルタを具える例を示す。図5(A)は、集合住宅において通信線の配置状態を説明する概略構成図であり、(B)は、信号中継手段の近傍の概略構成図である。通信線51は、図5(A)に示すように集合住宅220の屋上に配置される支持部221により支持され、各家屋に配される複数の通信分岐線(図示せず)に分岐される。各家屋では、この通信線51及び通信分岐線によりラジオ放送用信号を受信できる。また、本例では、上記支持部221に信号中継装置60を配置している。信号中継装置60は、図5(B)において通信線51の右方向に伝送される通信信号を信号注入抽出点44により抽出して、中継信号を信号注入抽出点45に伝送する共に、通信線51の左方向に伝送される通信信号を信号注入抽出点45に抽出して、中継信号を信号注入抽出点44に伝送する。そして、本例では、この信号中継装置60の近傍にフィルタ43を配置している。具体的には、上記実施例3と同様に信号注入抽出点44、45間にフィルタ43を配置している。このようにフィルタを配置することで、上記実施例3と同様に伝送速度の低下を低減することができる。
本発明通信システムは、電力線搬送通信を行う場合に利用することが適する。特に、本発明システムを利用することで、信号の伝送速度の低下が少なく、簡単にノード数の増大を図ることができる。
2A,2B 家屋 10 配電線 11 第一PLCモデム 11F フィルタ
12 第二PLCモデム 13,14 PLCモデム
20 信号中継手段 21 第一モデム部 22 第二モデム部
30,31,32,33 PLCモデム 40,60 信号中継装置
41A,41B,42A,42B,44,45 信号注入抽出点 43 フィルタ
50 多分岐有線電気通信網 51 通信線 52a 通信幹線 52b 通信分岐線
53 受信装置
100 低圧配電線 101 電柱 102 トランス 103 光ファイバケーブル
104 親モデム 105 接続箱
200,200A,200B,200C ユーザ家屋 201 引き込み線
202 屋内配線 203 子モデム
204 電力量メータ 205 分電盤 206 コンセント 207 端末機器
220 集合住宅 221 支持部
300 上位のネットワーク 400 電力機器室 401 電力機器
12 第二PLCモデム 13,14 PLCモデム
20 信号中継手段 21 第一モデム部 22 第二モデム部
30,31,32,33 PLCモデム 40,60 信号中継装置
41A,41B,42A,42B,44,45 信号注入抽出点 43 フィルタ
50 多分岐有線電気通信網 51 通信線 52a 通信幹線 52b 通信分岐線
53 受信装置
100 低圧配電線 101 電柱 102 トランス 103 光ファイバケーブル
104 親モデム 105 接続箱
200,200A,200B,200C ユーザ家屋 201 引き込み線
202 屋内配線 203 子モデム
204 電力量メータ 205 分電盤 206 コンセント 207 端末機器
220 集合住宅 221 支持部
300 上位のネットワーク 400 電力機器室 401 電力機器
Claims (11)
- 既存の多分岐有線電気通信網を信号伝送路とする第一通信システムと、
各家屋に配される電力線を信号伝送路とする第二通信システムと、
前記第一通信システムと第二通信システムとの間で通信する信号中継手段とを具えることを特徴とする通信システム。 - 第一通信システム及び第二通信システムは、電力線搬送通信装置を具え、電力線搬送通信装置を用いて通信を行うことを特徴とする請求項1に記載の通信システム。
- 第一通信システムでは、多分岐有線電気通信網で用いられている有線電気通信用信号の周波数帯域と異なる周波数帯域の信号で通信を行うことを特徴とする請求項1に記載の通信システム。
- 多分岐有線電気通信網は、有線ラジオ通信網であることを特徴とする請求項1に記載の通信システム。
- 第一通信システム及び第二通信システムの少なくとも一方には、信号伝送路に伝送される信号を中継する信号中継装置を具えることを特徴とする請求項1に記載の通信システム。
- 信号中継装置の近傍に配置されて、信号中継装置に入力した信号と、信号中継装置から出力した信号とが干渉することを抑制するフィルタを具えることを特徴とする請求項5に記載の通信システム。
- フィルタは、信号伝送路を構成する配線を切断することなく配置可能な構成であることを特徴とする請求項6に記載の通信システム。
- フィルタは、磁性部材及びコンデンサにより構成されることを特徴とする請求項6又は7に記載の通信システム。
- 第一通信システム及び第二通信システムのうち、信号伝送路に信号中継装置及びフィルタを具える通信システムでは、同じ周波数帯域の通信信号を用いて通信を行うことを特徴とする請求項6に記載の通信システム。
- 第一通信システムの信号伝送路には、上位のネットワークに接続される電力線搬送通信装置を複数具えており、電力線搬送通信装置間には、電力線搬送通信装置間での干渉を抑制するフィルタを具えることを特徴とする請求項1に記載の通信システム。
- 複数の電力線搬送通信装置は、同じ周波数帯域の通信信号を用いて通信を行うことを特徴とする請求項10に記載の通信システム。
Priority Applications (2)
| Application Number | Priority Date | Filing Date | Title |
|---|---|---|---|
| JP2004176073A JP2005354635A (ja) | 2004-06-14 | 2004-06-14 | 通信システム |
| PCT/JP2005/010809 WO2005122424A1 (ja) | 2004-06-14 | 2005-06-13 | 通信システム |
Applications Claiming Priority (1)
| Application Number | Priority Date | Filing Date | Title |
|---|---|---|---|
| JP2004176073A JP2005354635A (ja) | 2004-06-14 | 2004-06-14 | 通信システム |
Publications (1)
| Publication Number | Publication Date |
|---|---|
| JP2005354635A true JP2005354635A (ja) | 2005-12-22 |
Family
ID=35503444
Family Applications (1)
| Application Number | Title | Priority Date | Filing Date |
|---|---|---|---|
| JP2004176073A Pending JP2005354635A (ja) | 2004-06-14 | 2004-06-14 | 通信システム |
Country Status (2)
| Country | Link |
|---|---|
| JP (1) | JP2005354635A (ja) |
| WO (1) | WO2005122424A1 (ja) |
Cited By (1)
| Publication number | Priority date | Publication date | Assignee | Title |
|---|---|---|---|---|
| JP2011129480A (ja) * | 2009-12-21 | 2011-06-30 | Panasonic Electric Works Co Ltd | 照明システム |
Families Citing this family (2)
| Publication number | Priority date | Publication date | Assignee | Title |
|---|---|---|---|---|
| JP4907277B2 (ja) * | 2006-09-15 | 2012-03-28 | パナソニック株式会社 | 電力線通信装置、電力線通信方法、及び電力線通信システム |
| JP6696396B2 (ja) * | 2016-10-11 | 2020-05-20 | 住友電気工業株式会社 | 親機および監視システム |
Citations (6)
| Publication number | Priority date | Publication date | Assignee | Title |
|---|---|---|---|---|
| JPS5666143A (en) * | 1979-10-31 | 1981-06-04 | Matsushita Electric Works Ltd | Power line carriage type load control device |
| JPS61238131A (ja) * | 1985-04-16 | 1986-10-23 | Matsushita Electric Ind Co Ltd | 電力線搬送通信システムの中継器 |
| JP2002124897A (ja) * | 2000-10-17 | 2002-04-26 | Hitachi Ltd | 通信システム及び通信方法 |
| JP2003347973A (ja) * | 2002-05-28 | 2003-12-05 | Matsushita Electric Works Ltd | 情報伝送システム |
| JP2004147226A (ja) * | 2002-10-25 | 2004-05-20 | Sumitomo Electric Ind Ltd | 通信用フィルタ |
| JP2004153500A (ja) * | 2002-10-30 | 2004-05-27 | Matsushita Electric Ind Co Ltd | 電力線通信装置および電力線通信システム |
-
2004
- 2004-06-14 JP JP2004176073A patent/JP2005354635A/ja active Pending
-
2005
- 2005-06-13 WO PCT/JP2005/010809 patent/WO2005122424A1/ja not_active Ceased
Patent Citations (6)
| Publication number | Priority date | Publication date | Assignee | Title |
|---|---|---|---|---|
| JPS5666143A (en) * | 1979-10-31 | 1981-06-04 | Matsushita Electric Works Ltd | Power line carriage type load control device |
| JPS61238131A (ja) * | 1985-04-16 | 1986-10-23 | Matsushita Electric Ind Co Ltd | 電力線搬送通信システムの中継器 |
| JP2002124897A (ja) * | 2000-10-17 | 2002-04-26 | Hitachi Ltd | 通信システム及び通信方法 |
| JP2003347973A (ja) * | 2002-05-28 | 2003-12-05 | Matsushita Electric Works Ltd | 情報伝送システム |
| JP2004147226A (ja) * | 2002-10-25 | 2004-05-20 | Sumitomo Electric Ind Ltd | 通信用フィルタ |
| JP2004153500A (ja) * | 2002-10-30 | 2004-05-27 | Matsushita Electric Ind Co Ltd | 電力線通信装置および電力線通信システム |
Cited By (1)
| Publication number | Priority date | Publication date | Assignee | Title |
|---|---|---|---|---|
| JP2011129480A (ja) * | 2009-12-21 | 2011-06-30 | Panasonic Electric Works Co Ltd | 照明システム |
Also Published As
| Publication number | Publication date |
|---|---|
| WO2005122424A1 (ja) | 2005-12-22 |
Similar Documents
| Publication | Publication Date | Title |
|---|---|---|
| US6958680B2 (en) | Power line communication system and method of using the same | |
| US5949327A (en) | Coupling of telecommunications signals to a balanced power distribution network | |
| US6507573B1 (en) | Data transfer method and system in low voltage networks | |
| HU217753B (hu) | Hálózati rendszer és eljárás különböző helyiségekben lévő hírközlési terminálok összekapcsolására | |
| US20060193313A1 (en) | Local area network above telephony infrastructure | |
| US20110122928A1 (en) | High frequency signal hub | |
| WO2010063234A1 (zh) | 无线分布式设备和系统以及信号传输方法 | |
| US10886971B1 (en) | System and method for access broadband over power lines (BPL) using double alternating carrier and channel frequencies | |
| CN105356913A (zh) | 一种通信方法 | |
| Tan et al. | Relay transmission protocols for in-door powerline communications networks | |
| JP2005354635A (ja) | 通信システム | |
| Nancy et al. | A case study: Broadband over powerline for rural area deployment in Sarawak | |
| JP4757123B2 (ja) | 電力線搬送通信の伝送機器、コンセントプラグ、コンセントプラグボックス、テーブルタップ、結合装置、通信装置、及び通信システム | |
| JP2006033082A (ja) | 信号分配装置 | |
| JP2002353864A (ja) | 電力線利用の高速データ伝送方式及びその方式を用いたネットワークシステム | |
| CN105490382B (zh) | 一种上行信号处理方法 | |
| JP2008193307A (ja) | 電力線通信装置 | |
| JP2005295501A (ja) | 電力線搬送通信システム | |
| JP2003188781A (ja) | 電力線搬送耐ノイズ通信システム | |
| Ajenikoko et al. | Investigative Study of Voice and Data Communication over Power Line Communication System | |
| GB2313273A (en) | A telecommunications method and system and a subscriber`s interface unit of the system | |
| KR20010075516A (ko) | 저전압 네트워크 상에서의 데이터 전송 방법 및 장치 | |
| AU2008200644A1 (en) | Communications system | |
| CHIUŢA et al. | POWER LINE COMMUNICATION (PLC) OVERVIEW | |
| JP2005150854A (ja) | 通信システム |
Legal Events
| Date | Code | Title | Description |
|---|---|---|---|
| A621 | Written request for application examination |
Free format text: JAPANESE INTERMEDIATE CODE: A621 Effective date: 20070221 |
|
| A131 | Notification of reasons for refusal |
Effective date: 20100129 Free format text: JAPANESE INTERMEDIATE CODE: A131 |
|
| A02 | Decision of refusal |
Effective date: 20100706 Free format text: JAPANESE INTERMEDIATE CODE: A02 |