JP2005299610A - ウォータポンプ - Google Patents
ウォータポンプ Download PDFInfo
- Publication number
- JP2005299610A JP2005299610A JP2004121039A JP2004121039A JP2005299610A JP 2005299610 A JP2005299610 A JP 2005299610A JP 2004121039 A JP2004121039 A JP 2004121039A JP 2004121039 A JP2004121039 A JP 2004121039A JP 2005299610 A JP2005299610 A JP 2005299610A
- Authority
- JP
- Japan
- Prior art keywords
- coolant
- rolling bearing
- inner ring
- rotating member
- seal
- Prior art date
- Legal status (The legal status is an assumption and is not a legal conclusion. Google has not performed a legal analysis and makes no representation as to the accuracy of the status listed.)
- Pending
Links
- XLYOFNOQVPJJNP-UHFFFAOYSA-N water Substances O XLYOFNOQVPJJNP-UHFFFAOYSA-N 0.000 title claims abstract description 25
- 238000005096 rolling process Methods 0.000 claims abstract description 36
- 230000002093 peripheral effect Effects 0.000 claims abstract description 19
- 239000002184 metal Substances 0.000 claims description 5
- 239000002826 coolant Substances 0.000 abstract description 34
- 238000007599 discharging Methods 0.000 abstract description 2
- LYCAIKOWRPUZTN-UHFFFAOYSA-N Ethylene glycol Chemical compound OCCO LYCAIKOWRPUZTN-UHFFFAOYSA-N 0.000 description 12
- 238000001816 cooling Methods 0.000 description 2
- 239000004519 grease Substances 0.000 description 2
- 238000002485 combustion reaction Methods 0.000 description 1
- 238000001704 evaporation Methods 0.000 description 1
- 239000012530 fluid Substances 0.000 description 1
- 238000007710 freezing Methods 0.000 description 1
- 230000008014 freezing Effects 0.000 description 1
- JEIPFZHSYJVQDO-UHFFFAOYSA-N iron(III) oxide Inorganic materials O=[Fe]O[Fe]=O JEIPFZHSYJVQDO-UHFFFAOYSA-N 0.000 description 1
- 239000007788 liquid Substances 0.000 description 1
- 230000007774 longterm Effects 0.000 description 1
- 238000000034 method Methods 0.000 description 1
- 230000035515 penetration Effects 0.000 description 1
- 238000003825 pressing Methods 0.000 description 1
- 238000007789 sealing Methods 0.000 description 1
- 238000007711 solidification Methods 0.000 description 1
- 230000008023 solidification Effects 0.000 description 1
- 239000000126 substance Substances 0.000 description 1
Images
Landscapes
- Structures Of Non-Positive Displacement Pumps (AREA)
Abstract
【課題】 クーラントを外部に排出するための孔が塞がれたり、メカニカルシールから大量のクーラントが漏れても、そのクーラントの転がり軸受への侵入を防止することのできるウォータポンプを提供する。
【解決手段】 インペラ1が取り付けられるシャフト部21とベルト3が巻き掛けられるプーリ部22とが一体に形成された回転部材2を外輪52に装着し、内輪51をボディ4に固定することにより、回転部材2をボディ4に対して回転自在に支持するための転がり軸受5のシール55を、その内周部をにおいて内輪51に固定し、外周部に設けられたリップ部55aを外輪52に対して摺動接触させる構造とすることにより、内輪51の近傍にクーラントが滞っても、そのクーラント内にリップ部55aが浸漬される状態を生じさせず、クーラントの転がり軸受5内への侵入を防止する。
【選択図】 図1
【解決手段】 インペラ1が取り付けられるシャフト部21とベルト3が巻き掛けられるプーリ部22とが一体に形成された回転部材2を外輪52に装着し、内輪51をボディ4に固定することにより、回転部材2をボディ4に対して回転自在に支持するための転がり軸受5のシール55を、その内周部をにおいて内輪51に固定し、外周部に設けられたリップ部55aを外輪52に対して摺動接触させる構造とすることにより、内輪51の近傍にクーラントが滞っても、そのクーラント内にリップ部55aが浸漬される状態を生じさせず、クーラントの転がり軸受5内への侵入を防止する。
【選択図】 図1
Description
本発明は、自動車等の内燃機関を冷却するためのウォータポンプに関し、更に詳しくは、インペラが取り付けられるシャフト部とベルトが巻き掛けられるプーリ部とが一体化された金属プレス製の回転部材を用いたタイプのウォータポンプに関する。
自動車のエンジンを冷却すべくクーラントを循環させるウォータポンプとして、従来、図3に断面図を例示するように、インペラ31が取り付けられるシャフト部321と、ベルト33が巻き掛けられるプーリ部322とが一体に形成された金属プレス製の回転部材32を、インペラ31が収容される水室341を備えたボディ34に対して転がり軸受35を介して回転自在に支持するとともに、ボディ34と回転部材32のシャフト部321との間をメカニカルシール36で封止した構造のものが知られている(例えば特許文献1参照)。
この構造のウォータポンプにおいては、通常、図示のように円筒部を備えた支持部材342をボディ34に一体に設け、この支持部材342の円筒部の外周面に転がり軸受35の内輪351を圧入するとともに、回転部材32のプーリ部322の内側に形成されている円筒部322aに転がり軸受35の外輪352の外周面が圧入される。
組立てに際しては、通常、回転部材32に転がり軸受35を組み付けたものを、支持部材342対して組み付けた後、インペラ31をシャフト部321に固着したうえで、支持部材342をボディ34に取り付ける方法が採られる。すなわち、回転部材32のプーリ部322を転がり軸受35の外輪352に嵌め込んで一体化した後、転がり軸受35の内輪351を支持部材342に対して圧入して一体化する。この圧入に際しては、圧入治具等を用いて内輪351を支持部材342に対して相応の力で押し込む必要があり、この圧入作業のために、回転部材32のシャフト部321の付け根部分に、内輪351の一端面を臨むように複数の孔323が設けられる。また、これらの孔323は、水室341内のクーラントがメカニカルシール36を通って外部に若干量だけ漏れた場合に、転がり軸受35の回転等により発生する熱などで蒸発して蒸気となって逃がすための通路としても機能する。
また、この種のウォータポンプに用いられる転がり軸受35は、グリース封入タイプの通常の玉軸受などが用いられる。すなわち、内輪351と外輪352、これらの間に転動自在に配置されたボール353、各ボール353を周方向に一定のピッチで保持する保持器354を備えるとともに、軸方向両端部にはシール355を備えた構造をとり、各シール355は、外輪352の両端部内側に設けられたシール溝352aに対してその外周部が固定され、内周部に設けられたリップ部355aが内輪351に摺動接触して、内部に設けられたグリースの漏出を防止すると同時に、外部からの異物や水等の侵入を防止する役割を担っている。
特開2002−89486号公報
ところで、自動車のエンジンを冷却するクーラントには、一般に、防錆や凍結防止等を目的として、水に対してエチレングリコール等が添加される場合が多い。このクーラントに含まれるエチレングリコールが、長期の使用やその他の原因によって、メカニカルシール36を通って漏れた後に凝固し、図4に図3のA部拡大図を示すように、この凝固物Sがシャフト部321の付け根部分に形成されている孔323を塞いでしまう場合がある。この場合、メカニカルシール36を通過してシャフト部321を伝ってきたクーラントは、転がり軸受35の内輪351の一端側のCで示される部位に滞ることになる。
この状態においては、転がり軸受35のシール355のリップ部355aがクーラントに浸漬した状態となり、転がり軸受35の内部にクーラントが侵入し、転がり軸受35の破損の原因となる場合もあるという問題がある。この現象は、孔323が塞がれなくても、メカニカルシール36から大量のクーラントが漏れた場合にも生じる。
本発明はこのような実情に鑑みてなされたもので、クーラントを外部に排出するための孔が塞がれたり、メカニカルシールから大量のクーラントが漏れても、そのクーラントが転がり軸受に侵入することを防止することのできるウォータポンプの提供をその課題としている。
上記の課題を解決するため、本発明のウォータポンプは、インペラが取り付けられるシャフト部とベルトが巻き掛けられるプーリ部とが一体化された金属プレス成形体からなる回転部材を、上記インペラを収容する水室が形成されたボディに対して転がり軸受を介して回転自在に支持するとともに、その転がり軸受は、上記ボディに形成された円筒部外周面に内輪が圧入固定され、上記回転部材のプーリブの内側に形成された円筒部に外輪画集面が圧入固定されるウォータポンプにおいて、上記転がり軸受の両端部に、それぞれ内周部が内輪に固定され、かつ、外周部が外輪に対して摺動接触するシールが装着されていることによって特徴づけられる。
本発明は、メカニカルシールを通過したクーラントが滞りやすい部位に転がり軸受のシールのリップ部を設けず、この部位にはシールの転がり軸受への固定部を設けることによって、所期の課題を解決しようとするものである。
すなわち、メカニカルシールを通過したクーラントが転がり軸受内部に侵入するのは、前記したように、滞ったクーラント内にシールのリップ部が浸漬された状態となるためであり、クーラントが滞りやすいのは内輪の近傍である。そこで、転がり軸受のシールの内周側を内輪に対して固定し、外周側に外輪に対して摺動接触するリップ部を設けることにより、クーラントが滞ってもリップ部が浸漬されることなく、内輪に対する固定部が浸漬された状態となる。シールの液体に対するシール性能は、一般に、リップ部に比して固定部が圧倒的に良好であるため、クーラントの転がり軸受への侵入を可及的に少なくすることができる。
本発明によれば、回転部材に形成されたクーラントを逃がすための孔が塞がれたり、あるいはメカニカルシールから大量のクーラントが漏れた場合でも、転がり軸受内へのクーラントの侵入を有効に防止することができる。しかも、このクーラントの侵入を防止するために別途シールなどの部材を追加する必要がないため、本発明の適用によるコストアップも生じない。
以下、図面を参照しつつ本発明の実施の形態について説明する。
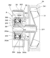
図1は本発明の実施の形態の要部断面図であり、図2はその転がり軸受5の詳細構造を示す軸平行断面図である。
図1は本発明の実施の形態の要部断面図であり、図2はその転がり軸受5の詳細構造を示す軸平行断面図である。
この例においては、ウォータポンプの基本的構成は図3に示したものと同等であり、 インペラ1が装着されるシャフト部21と、ベルト3が巻き掛けられるプーリ部22とが一体に形成された金属プレス成形体からなる回転部材2、インペラ1を収容する水室41が形成され、かつ、転がり軸受5の内輪51が圧入される円筒部を有する支持部材42が一体化されたボディ4、および水室41内のクーラントの漏れを防止するためのメカニカルシール6を主体として構成されている。
転がり軸受5は、内輪51、外輪52、複数のボール53、各ボール53を周方向に一定のピッチで保持する保持器54、および両端部に装着されるシール55からなり、上記のように内輪51の内周面が支持部材42の円筒部に圧入されているとともに、回転部材2のプーリ部22の内側に形成されている円筒部22aに外輪52の外周面が圧入され、これにより回転部材2がボディ4に対して回転自在に支持されている。
回転部材2のシャフト部21の付け根部分には、図3の例と同様に複数の孔23が形成されており、転がり軸受5の外輪52に回転部材2を装着してこれらを一体化した後、孔23を介して圧入治具で内輪51を押圧することによって、内輪51を支持部材42の円筒部に圧入して三者を一体化するとともに、シャフト部21にインペラ1を固定した後、支持部材42をボディ4に固定することによって組み立てられる。また、孔23はメカニカルシール6を介して漏出したクーラントの逃がし孔としても機能することも、図3に示した従来のものと同様である。
さて、この実施の形態の特徴は、転がり軸受5のシール55が、内輪固定/外輪摺動接触となっている点である。すなわち、図2に示すように、内輪51の両端部外周にシール溝51aが形成されており、各シール55はその内周部がこのシール溝51aに対して嵌め込まれて固定されている。各シール55の外周部にはリップ部55aが形成されており、このリップ部55aが外輪52の内周面と、外輪52の両端部に形成された溝52aの側端部に摺動接触する。なお、55bは芯金である。
以上の本発明の実施の形態によると、メカニカルシール6を通過したクーラントに含まれるエチレングリコールが凝固して孔23が塞がれ、これによって前記した図4にCで示した部位にクーラントが滞っても、あるいはメカニカルシール6を通じて大量のクーラントが漏れても、シール55の内輪51に対する固定部がクーラント内に浸漬されるものの外輪52に対する摺動接触部は浸漬されないため、摺動接触部を通じてクーラントが転がり軸受5内に侵入することがない。その結果、転がり軸受5が長期にわたって安定した性能を発揮することができる。
なお、本発明は、インペラ1や回転部材2、およびボディ4の形状等については、上記した実施の形態で示したものに限られることなく、この種のウォータポンプで用いられている公知の形状等を採用し得ることは勿論である。また、シール55のリップ部55aの形状等についても、他の公知の形状等を採用し得ることは言うまでもない。
1 インペラ
2 回転部材
21 シャフト部
22 プーリ部
23 孔
3 ベルト
4 ボディ
41 水室
42 支持部材
5 転がり軸受
51 内輪
51a シール溝
52 外輪
52a 溝
53 ボール
54 保持器
55 シール
55a リップ部
2 回転部材
21 シャフト部
22 プーリ部
23 孔
3 ベルト
4 ボディ
41 水室
42 支持部材
5 転がり軸受
51 内輪
51a シール溝
52 外輪
52a 溝
53 ボール
54 保持器
55 シール
55a リップ部
Claims (1)
- インペラが取り付けられるシャフト部とベルトが巻き掛けられるプーリ部とが一体化された金属プレス製の回転部材を、上記インペラを収容する水室が形成されたボディに対して転がり軸受を介して回転自在に支持するとともに、その転がり軸受は、上記ボディに形成された円筒部外周面に内輪が圧入固定され、上記回転部材のプーリ部の内側に形成された円筒部に外輪外周面が圧入固定されるウォータポンプにおいて、
上記転がり軸受の両端部に、それぞれ内周部が内輪に固定され、かつ、外周部が外輪に対して摺動接触するシールが装着されていることを特徴とするウォータポンプ。
Priority Applications (1)
| Application Number | Priority Date | Filing Date | Title |
|---|---|---|---|
| JP2004121039A JP2005299610A (ja) | 2004-04-16 | 2004-04-16 | ウォータポンプ |
Applications Claiming Priority (1)
| Application Number | Priority Date | Filing Date | Title |
|---|---|---|---|
| JP2004121039A JP2005299610A (ja) | 2004-04-16 | 2004-04-16 | ウォータポンプ |
Publications (1)
| Publication Number | Publication Date |
|---|---|
| JP2005299610A true JP2005299610A (ja) | 2005-10-27 |
Family
ID=35331446
Family Applications (1)
| Application Number | Title | Priority Date | Filing Date |
|---|---|---|---|
| JP2004121039A Pending JP2005299610A (ja) | 2004-04-16 | 2004-04-16 | ウォータポンプ |
Country Status (1)
| Country | Link |
|---|---|
| JP (1) | JP2005299610A (ja) |
Cited By (4)
| Publication number | Priority date | Publication date | Assignee | Title |
|---|---|---|---|---|
| JP2009074479A (ja) * | 2007-09-21 | 2009-04-09 | Jtekt Corp | ウォータポンプ |
| JP2009074480A (ja) * | 2007-09-21 | 2009-04-09 | Jtekt Corp | ウォータポンプ |
| CN102102576A (zh) * | 2009-12-18 | 2011-06-22 | 日立汽车系统株式会社 | 机动车用水泵及轴承结构 |
| CN110873122A (zh) * | 2019-11-26 | 2020-03-10 | 柳州上汽汽车变速器有限公司 | 变速器轴承 |
Citations (2)
| Publication number | Priority date | Publication date | Assignee | Title |
|---|---|---|---|---|
| JPH0329724U (ja) * | 1989-08-01 | 1991-03-25 | ||
| JP2002089486A (ja) * | 2000-09-19 | 2002-03-27 | Aisin Seiki Co Ltd | ウォータポンプ |
-
2004
- 2004-04-16 JP JP2004121039A patent/JP2005299610A/ja active Pending
Patent Citations (2)
| Publication number | Priority date | Publication date | Assignee | Title |
|---|---|---|---|---|
| JPH0329724U (ja) * | 1989-08-01 | 1991-03-25 | ||
| JP2002089486A (ja) * | 2000-09-19 | 2002-03-27 | Aisin Seiki Co Ltd | ウォータポンプ |
Cited By (7)
| Publication number | Priority date | Publication date | Assignee | Title |
|---|---|---|---|---|
| JP2009074479A (ja) * | 2007-09-21 | 2009-04-09 | Jtekt Corp | ウォータポンプ |
| JP2009074480A (ja) * | 2007-09-21 | 2009-04-09 | Jtekt Corp | ウォータポンプ |
| CN102102576A (zh) * | 2009-12-18 | 2011-06-22 | 日立汽车系统株式会社 | 机动车用水泵及轴承结构 |
| JP2011127539A (ja) * | 2009-12-18 | 2011-06-30 | Hitachi Automotive Systems Ltd | 自動車用ウォータポンプ及び軸受構造 |
| US8734099B2 (en) | 2009-12-18 | 2014-05-27 | Hitachi Automotive Systems, Ltd. | Water pump for vehicle and bearing structure |
| CN110873122A (zh) * | 2019-11-26 | 2020-03-10 | 柳州上汽汽车变速器有限公司 | 变速器轴承 |
| CN110873122B (zh) * | 2019-11-26 | 2021-04-30 | 柳州上汽汽车变速器有限公司 | 变速器轴承 |
Similar Documents
| Publication | Publication Date | Title |
|---|---|---|
| US20040067130A1 (en) | Seal apparatus for a water pump, rotation-support apparatus for a water pump, and a water pump | |
| JP5713870B2 (ja) | 内燃機関のウォータポンプ | |
| JP2003065289A (ja) | ウォータポンプ用シール装置とウォータポンプ用回転支持装置とウォータポンプ | |
| JP2012112340A (ja) | ウォータポンプ | |
| JP5563525B2 (ja) | ウォータポンプ | |
| KR20070012562A (ko) | 워터 펌프용 시일 장치, 워터 펌프용 회전 지지 장치 및워터 펌프의 조립 방법 | |
| JPWO2003091573A1 (ja) | ウォータポンプ用シール装置、ウォータポンプ用回転支持装置、ウォータポンプの組立方法 | |
| JP2005299610A (ja) | ウォータポンプ | |
| JP2014190377A (ja) | 軸受装置 | |
| JP2007078115A (ja) | 転がり軸受 | |
| JP3751701B2 (ja) | ウォータポンプの密封装置 | |
| JP2009074480A (ja) | ウォータポンプ | |
| JP2014149033A (ja) | シェル形ニードル軸受 | |
| JP2007321886A (ja) | ボールねじ装置 | |
| JP2012047243A (ja) | ウォータポンプ用軸受の密封装置 | |
| JP4334502B2 (ja) | モータ用密封型転がり軸受 | |
| JP2005048780A (ja) | ウォータポンプ用シールリングとウォータポンプ用回転支持装置とウォータポンプ | |
| JP2007146869A (ja) | 転がり軸受及び軸受装置 | |
| KR20100043606A (ko) | 워터펌프장치 | |
| JP2004270775A (ja) | 転がり軸受の密封装置 | |
| JP2006258247A (ja) | プーリユニット | |
| JP2016080055A (ja) | ウォータポンプ用転がり軸受のシール装置 | |
| JP2007132428A (ja) | 転がり軸受 | |
| JP2015004408A (ja) | 転がり軸受装置 | |
| JP2011085154A (ja) | 水ポンプ用軸受 |
Legal Events
| Date | Code | Title | Description |
|---|---|---|---|
| A621 | Written request for application examination |
Effective date: 20070326 Free format text: JAPANESE INTERMEDIATE CODE: A621 |
|
| A977 | Report on retrieval |
Free format text: JAPANESE INTERMEDIATE CODE: A971007 Effective date: 20100419 |
|
| A131 | Notification of reasons for refusal |
Free format text: JAPANESE INTERMEDIATE CODE: A131 Effective date: 20100519 |
|
| A02 | Decision of refusal |
Effective date: 20100922 Free format text: JAPANESE INTERMEDIATE CODE: A02 |