JP2005299540A - 電磁式燃料噴射弁 - Google Patents
電磁式燃料噴射弁 Download PDFInfo
- Publication number
- JP2005299540A JP2005299540A JP2004117849A JP2004117849A JP2005299540A JP 2005299540 A JP2005299540 A JP 2005299540A JP 2004117849 A JP2004117849 A JP 2004117849A JP 2004117849 A JP2004117849 A JP 2004117849A JP 2005299540 A JP2005299540 A JP 2005299540A
- Authority
- JP
- Japan
- Prior art keywords
- valve
- fuel injection
- electromagnetic
- armature
- nozzle hole
- Prior art date
- Legal status (The legal status is an assumption and is not a legal conclusion. Google has not performed a legal analysis and makes no representation as to the accuracy of the status listed.)
- Withdrawn
Links
Images
Landscapes
- Electrical Control Of Air Or Fuel Supplied To Internal-Combustion Engine (AREA)
- Fuel-Injection Apparatus (AREA)
Abstract
【課題】 噴孔開閉弁の作動に必要とされる駆動力を充分に確保しつつ電磁手段の小型化が可能な電磁式燃料噴射弁を提供する。
【解決手段】 噴孔1を有するノズル本体2と、該ノズル本体2内に配設されて上記噴孔1を開閉する噴孔開閉弁4と、該噴孔開閉弁4を閉弁するように付勢する付勢手段6と、上記噴孔開閉弁4に一体的に設けられたアーマチャ5と、該アーマチャ5に電磁力を作用させて上記噴孔開閉弁4を開弁する電磁手段7とを備えた電磁式燃料噴射弁において、上記アーマチャ5を永久磁石から構成し、上記電磁手段7に通電した際に生ずる反発力を利用して上記噴孔開閉弁4を開弁するように構成したことを特徴とする電磁式燃料噴射弁100が提供される。
【選択図】 図1
【解決手段】 噴孔1を有するノズル本体2と、該ノズル本体2内に配設されて上記噴孔1を開閉する噴孔開閉弁4と、該噴孔開閉弁4を閉弁するように付勢する付勢手段6と、上記噴孔開閉弁4に一体的に設けられたアーマチャ5と、該アーマチャ5に電磁力を作用させて上記噴孔開閉弁4を開弁する電磁手段7とを備えた電磁式燃料噴射弁において、上記アーマチャ5を永久磁石から構成し、上記電磁手段7に通電した際に生ずる反発力を利用して上記噴孔開閉弁4を開弁するように構成したことを特徴とする電磁式燃料噴射弁100が提供される。
【選択図】 図1
Description
本発明は電磁式燃料噴射弁に関する。
スプリング等の付勢手段による付勢力によって閉弁されている噴孔開閉弁(例えば、ニードル弁)を電磁手段(例えば、ソレノイド)による吸引力によって開弁させて燃料噴射を行なうようにした電磁式燃料噴射弁が公知である。そして、このような電磁式燃料噴射弁においては従来より、上記電磁手段による吸引力が不足して弁の開閉動作が適切に行なえないという問題があった。
このような問題に対し、例えば特許文献1では、電磁手段であるソレノイドを上記噴孔開閉弁を構成する部材の上下二箇所に配設することで、上記吸引力の不足を解消しようとしている。
しかしながら、上記のような電磁式燃料噴射弁においては、通常、その噴孔開閉弁の開弁動作の初期に必要駆動力が最大となるのに対し、その駆動力となる電磁手段(例えば、ソレノイド)により作用せしめられる吸引力は開弁動作の初期において最小となる。このため、充分な駆動力(この場合には吸引力)を得るためには電磁手段を大型化する必要があり、これによって製造コストの上昇を招く恐れがある。
本発明は、上記のような点に鑑みてなされたものであり、その目的は、噴孔開閉弁の作動に必要とされる駆動力を充分に確保しつつ、電磁手段の小型化が可能な電磁式燃料噴射弁を提供することである。
本発明は、上記課題を解決するための手段として、特許請求の範囲の各請求項に記載された電磁式燃料噴射弁を提供する。
1番目の発明は、噴孔を有するノズル本体と、該ノズル本体内に配設されて上記噴孔を開閉する噴孔開閉弁と、該噴孔開閉弁を閉弁するように付勢する付勢手段と、上記噴孔開閉弁に一体的に設けられたアーマチャと、該アーマチャに電磁力を作用させて上記噴孔開閉弁を開弁する電磁手段とを備えた電磁式燃料噴射弁において、上記アーマチャを永久磁石から構成し、上記電磁手段に通電した際に生ずる反発力を利用して上記噴孔開閉弁を開弁するように構成したことを特徴とする電磁式燃料噴射弁を提供する。
また、2番目の発明は1番目の発明において、上記電磁手段を上記アーマチャに対して上記噴孔側に配設したことを特徴とする。
また、2番目の発明は1番目の発明において、上記電磁手段を上記アーマチャに対して上記噴孔側に配設したことを特徴とする。
上記噴孔開閉弁を開弁する際に必要となる駆動力は、通常、開弁動作の初期に最大となる。一方、従来の電磁式燃料噴射弁では、この駆動力として電磁手段によりアーマチャに作用せしめられる吸引力を利用しているが、この吸引力は開弁動作の初期には、電磁手段とアーマチャとの距離が大きいこと等から最小となる。このため従来は、充分な駆動力(この場合には吸引力)を得るためには電磁手段を大型化する必要があり、これによって製造コストの上昇を招く恐れがあった。
これに対し、1番目または2番目の発明では、上記駆動力として、上記電磁手段に通電した際に永久磁石から構成された上記アーマチャとの間に生ずる反発力を利用している。そしてこのようにすると、上記噴孔開閉弁を開弁するのに必要な駆動力が最大となる開弁動作の初期において、その駆動力(この場合には反発力)を最大とすることができる。そしてこの結果、比較的小型の電磁手段を用いても上記噴孔開閉弁の作動に必要とされる駆動力を充分に得ることができる。つまり、1番目また2番目の発明によれば、噴孔開閉弁の作動に必要とされる駆動力を充分に確保しつつ電磁手段の小型化が可能な電磁式燃料噴射弁が提供される。
3番目の発明は、1番目または2番目の発明において、上記噴孔開閉弁の動作速度及びリフト量の一方または両方を制御すべく、上記電磁手段への通電量及び通電方向の一方または両方が制御されることを特徴とする。
3番目の発明によれば、例えば、上記噴孔開閉弁に閉弁動作を行なわせる時に、上記電磁手段を流れる電流の向きを開弁する時と逆向きにし、上記アーマチャに対して吸引力を作用させ、閉弁速度を高めるようにすることができる。また、上記電磁手段への通電量を制御して上記反発力を調整し、上記噴孔開閉弁のリフト量を制御して燃料噴射の噴射率を制御することもできる。
更に、上記噴孔開閉弁を開弁した時に上記アーマチャが上記ノズル本体の内面等に当接する(すなわち、上記噴孔開閉弁がフルリフトする)直前等に、上記噴孔開閉弁の動作速度が低くなるように上記電磁手段への通電量等を制御するようにしてもよい。このようにすると、上記アーマチャが上記ノズル本体に勢いよく衝突して跳ね返ることが抑制されるので、このような跳ね返り(バウンス)に起因して生ずる燃料噴射量の目標噴射量からのずれが抑制され、燃料噴射量の制御性の改善を図ることができる。
4番目の発明は、1番目から3番目の何れかの発明において、上記噴孔開閉弁のリフト量が予め定めた最大リフト量に達した時に上記アーマチャと当接するようにストッパが設けられており、該ストッパが強磁性体を含んで構成されていることを特徴とする。
4番目の発明では、噴孔開閉弁のリフト量が予め定めた最大リフト量に達した時に永久磁石で構成された上記アーマチャが強磁性体を含んで構成されたストッパに当接するように構成されている。つまり、この場合、上記噴孔開閉弁がフルリフトするということは上記アーマチャが上記ストッパに当接することであり、この時上記アーマチャはその磁力でストッパに吸着することになる。そしてこれによって、上述したようなフルリフト時の跳ね返り(バウンス)の発生が抑制され、燃料噴射量の制御性の悪化を抑制することができる。
5番目の発明は、1番目から3番目の何れかの発明において、上記電磁手段に通電した際に生ずる反発力の大きさに応じて上記噴孔開閉弁の最大リフト量が定まるように構成されていることを特徴とする。
5番目の発明では、上記噴孔開閉弁の最大リフト量が、上記アーマチャが上記ノズル本体等に当接することによってではなく、上記電磁手段に通電した際に生じる反発力の大きさに応じて定まるようになっている。つまり、5番目の発明では、上記噴孔開閉弁が開弁した時に上記アーマチャが上記ノズル本体等に当接することがないように、すなわち上記噴孔開閉弁がフルリフトすることが無いようにされている。そしてこれにより、上述したようなフルリフト時の跳ね返り(バウンス)の発生に起因する燃料噴射量の制御性の悪化という問題を解消することができる。
各請求項に記載の発明によれば、噴孔開閉弁の作動に必要とされる駆動力を充分に確保しつつ電磁手段の小型化が可能な電磁式燃料噴射弁が提供される。
以下、添付図面を参照しつつ本発明の実施形態について説明する。
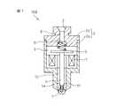
図1及び図2は、本発明の一実施形態の電磁式燃料噴射弁100の略示断面側面図であって、図1が燃料の噴射されないモードである不噴射モードにある場合を示し、図2が燃料の噴射されるモードである噴射モードにある場合を示している。図1及び図2に示されているように、本実施形態の電磁式燃料噴射弁100は、燃料を噴射するための噴孔1が設けられている第一部分ノズル本体2aと、燃料供給管(図示なし)に連結され当該電磁式燃料噴射弁100にて噴射される燃料が導入される燃料導入口3が設けられている第二部分ノズル本体2bとを有している。この第一部分ノズル本体2aと第二部分ノズル本体2bとでノズル本体2が構成される。
図1及び図2は、本発明の一実施形態の電磁式燃料噴射弁100の略示断面側面図であって、図1が燃料の噴射されないモードである不噴射モードにある場合を示し、図2が燃料の噴射されるモードである噴射モードにある場合を示している。図1及び図2に示されているように、本実施形態の電磁式燃料噴射弁100は、燃料を噴射するための噴孔1が設けられている第一部分ノズル本体2aと、燃料供給管(図示なし)に連結され当該電磁式燃料噴射弁100にて噴射される燃料が導入される燃料導入口3が設けられている第二部分ノズル本体2bとを有している。この第一部分ノズル本体2aと第二部分ノズル本体2bとでノズル本体2が構成される。
上記ノズル本体2内には、噴孔1を開閉するための噴孔開閉弁を構成するニードル弁4が配設されている。ニードル弁4には円板状部材であるアーマチャ5が一体的に設けられている。本実施形態の電磁式燃料噴射弁100では、このアーマチャ5が永久磁石で構成されている。また、図1及び図2に示されているように、上記アーマチャ5と上記第二ノズル部分本体2bとの間には付勢手段であるスプリング6が配設されており、これによってニードル弁4が閉弁する方向(すなわち、図1及び図2において下側)に付勢されている。更に、上記アーマチャ5に対して上記噴孔1側の位置には電磁手段であるソレノイド7が配設されている。ソレノイド7は通電されることによって磁界を発生し、上記アーマチャ5に電磁力を作用させる。
本実施形態の電磁式燃料噴射弁100では、上記第二部分ノズル本体2bに設けられた燃料通路8と、上記アーマチャ5が配設されているアーマチャ室9と、上記第一部分ノズル本体2aに設けられた燃料通路10とが、上記燃料導入口3から導入された加圧燃料によって満たされている。
そして、図1に示されている不噴射モードにおいては、上記ソレノイド7には通電が行なわれず、上記ニードル弁4は上記スプリング6によって付勢され、その付勢力によって閉弁されている。すなわち、上記スプリング6の付勢力によって上記ニードル弁4のシール面4aが第一部分ノズル本体2aの内面に設けられた座面11に着座せしめられて閉弁され、燃料噴射が行なわれないようにされている。
一方、図2に示されている噴射モードにおいては、上記ソレノイド7に、その発生する磁界によって永久磁石で構成された上記アーマチャ5との間で反発力が生じる向きの電流が流され、その反発力によって上記スプリング6の付勢力と、ニードル弁4及びそれと一体に構成されているアーマチャ5(以下、「ニードル弁4等」という)に作用する油圧力とに抗してニードル弁4が開弁され、燃料噴射が実施される。なお、以上の説明からも明らかなように、上記噴射モードにおいて、上記ソレノイド7への通電を停止すれば、上記スプリング6の付勢力によってニードル弁4が閉弁され、燃料噴射が停止される。
そして本実施形態の電磁式燃料噴射弁100は、上述したような構成を有し、また上述したように作動することにより、従来の電磁式燃料噴射弁に比べて噴孔開閉弁であるニードル弁の作動に必要とされる駆動力を充分に得ることができ、その結果電磁手段であるソレノイドの小型化が可能であるという利点を有している。
すなわち、従来の電磁式燃料噴射弁は、典型的には図6のような構成を有している。図6は典型的な従来の電磁式燃料噴射弁400の略示断面側面図であって、燃料の噴射されないモードである不噴射モードにある場合を示している。なお、図6において、図1及び図2に示した参照番号と同一の参照番号は図1及び図2に示した部品または部分と同一もしくは対応する部品または部分を示している。
図6に示されているように、従来の電磁式燃料噴射弁400では、電磁手段であるソレノイド7がアーマチャ25に対して噴孔1と反対側の位置に配設されている。また、このアーマチャ25は、例えば鉄等の強磁性体の材料から構成されている。そしてこのような構成において、ソレノイド7に通電することによってアーマチャ25に対して吸引力を作用させ、スプリング6の付勢力等に抗してニードル弁4を開弁して燃料噴射を行なうようになっている。
ところが、このような構成及び作動方式によると、ソレノイド7による吸引力が不足して弁の開閉動作が適切に行なえない場合がある。
すなわち、図1及び図2、並びに図6に示されたような電磁式燃料噴射弁において、ニードル弁4を開弁する場合には、上記スプリング6の付勢力と、ニードル弁4等に作用する油圧力とに抗してニードル弁4等を移動させる必要がある。ここで、このニードル弁4等に作用する油圧力は、ニードル弁4を閉弁する方向に作用しており、ニードル弁4が閉弁されている場合に最大となっている。これは、ニードル弁4が閉弁されている場合には、ニードル弁4のシール面4aより先端側の部分には油圧力が作用しないため、その分だけニードル弁4を閉弁させる向きの油圧力が大きくなるためである。したがって、この油圧力は、ニードル弁4を開弁しリフト量が大きくなるにつれて次第に小さくなる。
すなわち、図1及び図2、並びに図6に示されたような電磁式燃料噴射弁において、ニードル弁4を開弁する場合には、上記スプリング6の付勢力と、ニードル弁4等に作用する油圧力とに抗してニードル弁4等を移動させる必要がある。ここで、このニードル弁4等に作用する油圧力は、ニードル弁4を閉弁する方向に作用しており、ニードル弁4が閉弁されている場合に最大となっている。これは、ニードル弁4が閉弁されている場合には、ニードル弁4のシール面4aより先端側の部分には油圧力が作用しないため、その分だけニードル弁4を閉弁させる向きの油圧力が大きくなるためである。したがって、この油圧力は、ニードル弁4を開弁しリフト量が大きくなるにつれて次第に小さくなる。
そして、以上のことと、上記スプリング6による付勢力の大きさは一定であることとを考慮すると、ニードル弁4を開弁するのに必要な駆動力RPとニードル弁4のリフト量L(開閉状態)との関係は図7のようになっていると考えられる。つまり、上記必要駆動力RPは上記ニードル弁4の開弁動作の初期(すなわち、開始時)に最大となる。
一方、従来の電磁式燃料噴射弁400において上記駆動力となるソレノイド7により作用せしめられる吸引力について見てみると、上記開弁動作の初期には上記アーマチャ25と上記ソレノイド7との距離が最大であるために、上記吸引力は最小となる。つまり、図6に示したような従来の電磁式燃料噴射弁400においては、上記必要駆動力が最大となる開弁動作の初期には、その駆動力となる上記吸引力は最小となってしまうのである。そしてこのために、ソレノイド7による吸引力が不足して弁の開閉動作が適切に行なえない場合が生じる。また、このような従来の電磁式燃料噴射弁400において充分な駆動力(この場合には吸引力)を確保しようとすると、電磁手段であるソレノイド7を大型化する必要があり、これによって製造コストの上昇を招く恐れがある。
これに対し、図1及び図2に示した本実施形態の電磁式燃料噴射弁100においては、上述したように、上記ソレノイド7に通電することにより永久磁石で構成された上記アーマチャ5との間で生ずる反発力を利用してニードル弁4を開弁し、燃料噴射を行なうようになっている。そして図1及び図2に示したように電磁式燃料噴射弁100の構成においては、上記ニードル弁4の開弁動作の初期に上記アーマチャ5と上記ソレノイド7との距離が最小になっており、したがって、この時に発生する上記反発力は最大となる。すなわち、この電磁式燃料噴射弁100においては、ニードル弁4を開弁するのに必要な駆動力が最大となる開弁動作の初期において、その駆動力となる上記反発力が最大となるようになっている。
そしてその結果、本実施形態の電磁式燃料噴射弁100では比較的小型のソレノイド7を用いてもニードル弁4の作動に必要とされる駆動力を充分に得ることができる。つまり、本実施形態の電磁式燃料噴射弁100によれば、ニードル弁4の作動に必要とされる駆動力を充分に確保しつつソレノイド7の小型化が可能である。
また、本実施形態の電磁式燃料噴射弁100においては、上記ニードル弁4の動作速度及びリフト量の一方または両方を制御すべく、上記ソレノイド7への通電量及び通電方向の一方または両方を制御するようにしてもよい。すなわち、例えば、上記ニードル弁4に閉弁動作を行なわせる時に、ソレノイド7を流れる電流の向きを開弁する時と逆向きにし、上記アーマチャ5に対して吸引力を作用させ、閉弁速度を高めるようにしてもよい。あるいは、上記ソレノイド7への通電量を制御して上記反発力を調整し、ニードル弁4のリフト量を制御して燃料噴射の噴射率を制御するようにしてもよい。
更に、上記ニードル弁4を開弁した時にアーマチャ5がアーマチャ室9の上面(すなわち、ここでは第二部分ノズル本体2b)に当接する(すなわち、ニードル弁4が「フルリフト」する)直前、もしくは上記ニードル弁4を閉弁する場合に上記ニードル弁4のシール面4aが上記座面11に着座せしめられる直前に、上記ニードル弁4の動作速度が低くなるように上記ソレノイド7への通電量等を制御するようにしてもよい。このようにすると、アーマチャ5がアーマチャ室9の上面に、もしくは上記ニードル弁4のシール面4aが上記座面11に勢いよく衝突して跳ね返ることが抑制されるので、このような跳ね返り(以下、「バウンス」という)に起因して生ずる燃料噴射量の目標噴射量からのずれが抑制され、燃料噴射量の制御性の改善を図ることができる。
ここで、上述のバウンスの発生と燃料噴射量の制御性との関係について、簡単に説明しておく。すなわち、上記バウンスが発生すると燃料噴射量が目標噴射量からずれ、燃料噴射量の制御性が悪化する場合があるが、これは例えば、バウンスの発生によりニードル弁4の閉弁速度が加速され、想定よりも早くニードル弁4が閉弁して実際の燃料噴射量が目標噴射量よりも少なくなってしまうことに起因する。
図3は、このことを説明するための図であり、各曲線はニードル弁4のリフト量Lの経時変化を示し、各曲線の下の面積がその時の燃料噴射量に相当する。図3から、ニードル弁4がフルリフトFLして直ぐに閉弁するようにソレノイド7が通電された場合(通電時間t2の場合)には、バウンスによりニードル弁4の閉弁速度が加速され、想定よりも早くニードル弁4が閉弁して実際の燃料噴射量が目標噴射量よりも少なくなってしまうことがわかる(図3中に斜線で示された部分の分だけ少なくなってしまう)。そして、このようなことが起きると、ソレノイド7への通電時間と燃料噴射量との間にある線形的な関係が崩れ、燃料噴射量の制御性が悪化してしまうことになるのである。
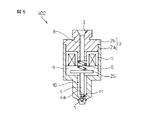
次に本発明の別の実施形態について説明する。図4はこの実施形態の電磁式燃料噴射弁200の略示断面側面図であり、電磁式燃料噴射弁200が、燃料が噴射されないモードである不噴射モードにある場合を示している。なお、図4において、図1及び図2に示した参照番号と同一の参照番号は図1及び図2に示した部品または部分と同一もしくは対応する部品または部分を示している。
本実施形態の電磁式燃料噴射弁200と上述した電磁式燃料噴射弁100とは、その構成及び作動、並びに作用効果について共通する部分を多く有しており、これら共通する部分については原則として説明を省略する。電磁式燃料噴射弁200の構成と電磁式燃料噴射弁100の構成とを比較すると、本実施形態の電磁式燃料噴射弁200には、ストッパ15が設けられている点で異なっている。より詳細には、このストッパ15は、鉄等の強磁性体の材料から構成され、ニードル弁4のリフト量が予め定めた最大リフト量に達した時に永久磁石で構成されたアーマチャ5と当接するように設けられている。つまり、ニードル弁4がフルリフトした時にアーマチャ5が上記ストッパ15と当接する。
このような構成とすることで、本実施形態の電磁式燃料噴射弁200によれば、ニードル弁4がフルリフトした時におけるバウンスの発生を抑制することができる。つまり本実施形態の電磁式燃料噴射弁200では、アーマチャ5が永久磁石で構成され、ニードル弁4のフルリフト時にそのアーマチャ5が当接する上記ストッパ15が鉄等の強磁性体の材料で構成されているので、ニードル弁4がフルリフトした時にはアーマチャ5がその磁力でストッパ15に吸着することになる。そしてこれによって、バウンスの発生が抑制され、燃料噴射量の制御性の悪化を抑制することができる。
なお、本実施形態の電磁式燃料噴射弁200においては、上記ストッパ15の上記アーマチャに面する面積を調整することによって、ニードル弁4が良好に動作できるように、アーマチャ5の磁力による吸着力と、スプリング6の閉弁方向への付勢力とのバランスを適切に調節することが好ましい。また、本実施形態の電磁式燃料噴射弁200においてニードル弁4を閉弁する時には、上記ソレノイド7への通電量及び通電方向の一方または両方を制御して、上記アーマチャ5に対して吸引力を作用させるようにするのが好ましい。
次に本発明の更に別の実施形態について説明する。図5はこの実施形態の電磁式燃料噴射弁300の略示断面側面図であり、電磁式燃料噴射弁300が、燃料が噴射されないモードである不噴射モードにある場合を示している。なお、図5において、図1及び図2に示した参照番号と同一の参照番号は図1及び図2に示した部品または部分と同一もしくは対応する部品または部分を示している。
本実施形態の電磁式燃料噴射弁300についても、上述した電磁式燃料噴射弁100とその構成及び作動、並びに作用効果について多くの共通する部分を有しており、これら共通する部分については原則として説明を省略する。電磁式燃料噴射弁300の構成と電磁式燃料噴射弁100の構成とを比較すると、本実施形態の電磁式燃料噴射弁300では、ニードル弁4の閉弁時におけるアーマチャ5とアーマチャ室9の上面(すなわち、ここでは第二部分ノズル本体2b)との距離Dがより大きくされている点で異なっている。より詳細には、この距離Dは、ニードル弁4を開弁すべくソレノイド7に通電した時に、アーマチャ5がアーマチャ室9の上面に当接しない(すなわち、ニードル弁4がフルリフトしない)ようにするのに充分な距離とされる。つまり、本実施形態の電磁式燃料噴射弁300においては、ニードル弁4の最大リフト量が、アーマチャ5がアーマチャ室9の上面(第二部分ノズル本体2bやストッパ15等)に当接することによってではなく、ソレノイド7に通電した際に生じる反発力の大きさに応じて定まるようになっている。
そして、このような構成とすることで、本実施形態の電磁式燃料噴射弁300によれば、ニードル弁4がフルリフトすることが無くなるので、上述したようなフルリフト時のバウンスの発生に起因する燃料噴射量の制御性の悪化という問題を解消することができる。
1…噴孔
2a…第一部分ノズル本体
2b…第二部分ノズル本体
2…ノズル本体
3…燃料導入口
4…ニードル弁(噴孔開閉弁)
5…アーマチャ
6…スプリング
7…ソレノイド
9…アーマチャ室
15…ストッパ
2a…第一部分ノズル本体
2b…第二部分ノズル本体
2…ノズル本体
3…燃料導入口
4…ニードル弁(噴孔開閉弁)
5…アーマチャ
6…スプリング
7…ソレノイド
9…アーマチャ室
15…ストッパ
Claims (5)
- 噴孔を有するノズル本体と、該ノズル本体内に配設されて上記噴孔を開閉する噴孔開閉弁と、該噴孔開閉弁を閉弁するように付勢する付勢手段と、上記噴孔開閉弁に一体的に設けられたアーマチャと、該アーマチャに電磁力を作用させて上記噴孔開閉弁を開弁する電磁手段とを備えた電磁式燃料噴射弁において、
上記アーマチャを永久磁石から構成し、上記電磁手段に通電した際に生ずる反発力を利用して上記噴孔開閉弁を開弁するように構成したことを特徴とする電磁式燃料噴射弁。 - 上記電磁手段を上記アーマチャに対して上記噴孔側に配設したことを特徴とする請求項1に記載の電磁式燃料噴射弁。
- 上記噴孔開閉弁の動作速度及びリフト量の一方または両方を制御すべく、上記電磁手段への通電量及び通電方向の一方または両方が制御されることを特徴とする請求項1または2に記載の電磁式燃料噴射弁。
- 上記噴孔開閉弁のリフト量が予め定めた最大リフト量に達した時に上記アーマチャと当接するようにストッパが設けられており、該ストッパが強磁性体を含んで構成されていることを特徴とする請求項1から3の何れか一項に記載の電磁式燃料噴射弁。
- 上記電磁手段に通電した際に生ずる反発力の大きさに応じて上記噴孔開閉弁の最大リフト量が定まるように構成されていることを特徴とする請求項1から3の何れか一項に記載の電磁式燃料噴射弁。
Priority Applications (1)
| Application Number | Priority Date | Filing Date | Title |
|---|---|---|---|
| JP2004117849A JP2005299540A (ja) | 2004-04-13 | 2004-04-13 | 電磁式燃料噴射弁 |
Applications Claiming Priority (1)
| Application Number | Priority Date | Filing Date | Title |
|---|---|---|---|
| JP2004117849A JP2005299540A (ja) | 2004-04-13 | 2004-04-13 | 電磁式燃料噴射弁 |
Publications (1)
| Publication Number | Publication Date |
|---|---|
| JP2005299540A true JP2005299540A (ja) | 2005-10-27 |
Family
ID=35331388
Family Applications (1)
| Application Number | Title | Priority Date | Filing Date |
|---|---|---|---|
| JP2004117849A Withdrawn JP2005299540A (ja) | 2004-04-13 | 2004-04-13 | 電磁式燃料噴射弁 |
Country Status (1)
| Country | Link |
|---|---|
| JP (1) | JP2005299540A (ja) |
Cited By (3)
| Publication number | Priority date | Publication date | Assignee | Title |
|---|---|---|---|---|
| CN103764995A (zh) * | 2011-09-09 | 2014-04-30 | 大陆汽车有限公司 | 阀组件和喷射阀 |
| CN103975157A (zh) * | 2011-11-04 | 2014-08-06 | 大陆汽车有限公司 | 用于控制阀的阀组件和控制阀 |
| JP2015135116A (ja) * | 2009-08-27 | 2015-07-27 | マクアリスター テクノロジーズ エルエルシー | 燃料噴射器及び燃料噴射器を作動させる方法 |
-
2004
- 2004-04-13 JP JP2004117849A patent/JP2005299540A/ja not_active Withdrawn
Cited By (4)
| Publication number | Priority date | Publication date | Assignee | Title |
|---|---|---|---|---|
| JP2015135116A (ja) * | 2009-08-27 | 2015-07-27 | マクアリスター テクノロジーズ エルエルシー | 燃料噴射器及び燃料噴射器を作動させる方法 |
| CN103764995A (zh) * | 2011-09-09 | 2014-04-30 | 大陆汽车有限公司 | 阀组件和喷射阀 |
| CN103975157A (zh) * | 2011-11-04 | 2014-08-06 | 大陆汽车有限公司 | 用于控制阀的阀组件和控制阀 |
| CN103975157B (zh) * | 2011-11-04 | 2017-03-29 | 大陆汽车有限公司 | 用于控制阀的阀组件和控制阀 |
Similar Documents
| Publication | Publication Date | Title |
|---|---|---|
| JP4637931B2 (ja) | 燃料噴射弁 | |
| US6685160B2 (en) | Dual solenoid latching actuator and method of using same | |
| JP2006257874A (ja) | インジェクタ | |
| JP5689395B2 (ja) | 電磁弁 | |
| CN104508291A (zh) | 电磁式燃料喷射阀 | |
| US11319911B2 (en) | Fuel injection valve | |
| JP6655723B2 (ja) | 燃料噴射弁 | |
| JPS61152960A (ja) | 電磁式燃料噴射弁 | |
| US11421635B2 (en) | Electromagnetic fuel injection valve | |
| JP2013137016A (ja) | 燃料噴射器 | |
| US6910644B2 (en) | Solenoid-operated fuel injection valve | |
| US6702207B2 (en) | Fuel injector control module with unidirectional dampening | |
| JP2005299540A (ja) | 電磁式燃料噴射弁 | |
| JP2018135882A (ja) | 電磁切換弁および高圧燃料ポンプ | |
| JP2006322430A (ja) | 燃料噴射装置 | |
| JP4135628B2 (ja) | 燃料噴射弁 | |
| JP4239942B2 (ja) | 燃料噴射弁 | |
| KR102666028B1 (ko) | 스프링리스 바운싱 저감 타입 인젝터 | |
| WO2019163383A1 (ja) | 燃料噴射弁及びその組立方法 | |
| US7111595B2 (en) | Electromechanical valve control actuator for internal combustion engines | |
| JP3829605B2 (ja) | 燃料噴射装置 | |
| JP3796735B2 (ja) | 燃料噴射弁 | |
| JP5756488B2 (ja) | 弁装置 | |
| JP2007224829A (ja) | 燃料噴射弁 | |
| JP2023037746A (ja) | 燃料噴射装置 |
Legal Events
| Date | Code | Title | Description |
|---|---|---|---|
| A621 | Written request for application examination |
Effective date: 20060714 Free format text: JAPANESE INTERMEDIATE CODE: A621 |
|
| A761 | Written withdrawal of application |
Free format text: JAPANESE INTERMEDIATE CODE: A761 Effective date: 20061220 |