JP2005297942A - 衝撃緩和装置 - Google Patents

衝撃緩和装置 Download PDF

Info

Publication number
JP2005297942A
JP2005297942A JP2004251898A JP2004251898A JP2005297942A JP 2005297942 A JP2005297942 A JP 2005297942A JP 2004251898 A JP2004251898 A JP 2004251898A JP 2004251898 A JP2004251898 A JP 2004251898A JP 2005297942 A JP2005297942 A JP 2005297942A
Authority
JP
Japan
Prior art keywords
seat
rotor
stopper
link
rotation
Prior art date
Legal status (The legal status is an assumption and is not a legal conclusion. Google has not performed a legal analysis and makes no representation as to the accuracy of the status listed.)
Granted
Application number
JP2004251898A
Other languages
English (en)
Other versions
JP3934635B2 (ja
Inventor
Seimo Kyo
成模 姜
Current Assignee (The listed assignees may be inaccurate. Google has not performed a legal analysis and makes no representation or warranty as to the accuracy of the list.)
RIGEN KANPOTEKKU KK
Original Assignee
RIGEN KANPOTEKKU KK
Priority date (The priority date is an assumption and is not a legal conclusion. Google has not performed a legal analysis and makes no representation as to the accuracy of the date listed.)
Filing date
Publication date
Application filed by RIGEN KANPOTEKKU KK filed Critical RIGEN KANPOTEKKU KK
Publication of JP2005297942A publication Critical patent/JP2005297942A/ja
Application granted granted Critical
Publication of JP3934635B2 publication Critical patent/JP3934635B2/ja
Anticipated expiration legal-status Critical
Expired - Lifetime legal-status Critical Current

Links

Images

Classifications

    • EFIXED CONSTRUCTIONS
    • E06DOORS, WINDOWS, SHUTTERS, OR ROLLER BLINDS IN GENERAL; LADDERS
    • E06BFIXED OR MOVABLE CLOSURES FOR OPENINGS IN BUILDINGS, VEHICLES, FENCES OR LIKE ENCLOSURES IN GENERAL, e.g. DOORS, WINDOWS, BLINDS, GATES
    • E06B1/00Border constructions of openings in walls, floors, or ceilings; Frames to be rigidly mounted in such openings
    • E06B1/04Frames for doors, windows, or the like to be fixed in openings
    • EFIXED CONSTRUCTIONS
    • E06DOORS, WINDOWS, SHUTTERS, OR ROLLER BLINDS IN GENERAL; LADDERS
    • E06BFIXED OR MOVABLE CLOSURES FOR OPENINGS IN BUILDINGS, VEHICLES, FENCES OR LIKE ENCLOSURES IN GENERAL, e.g. DOORS, WINDOWS, BLINDS, GATES
    • E06B1/00Border constructions of openings in walls, floors, or ceilings; Frames to be rigidly mounted in such openings
    • E06B1/04Frames for doors, windows, or the like to be fixed in openings
    • E06B1/52Frames specially adapted for doors

Landscapes

  • Engineering & Computer Science (AREA)
  • Civil Engineering (AREA)
  • Structural Engineering (AREA)
  • Seats For Vehicles (AREA)

Abstract

【課題】多様な運転者の身体条件に合わせて座席の高さを任意に調整することができ、快適に車両を運転することができるようにする。
【解決手段】X型リンク4によって連結された上部フレーム2及び下部フレーム3から成る枠体と、X型リンク4の一方のリンクに対して揺動自在に配設された回転子12と、ストッパ15を備えたシリンダ14と、第1、第2の作動部を備えたコントロールバルブと、回動に伴って、第1、第2の作動部を押圧するカム17とを有する。操作部の操作に伴って、ストッパ15が回転子12の回動を許容した状態で、座席1が上昇又は下降させられ、操作部の操作が中止されると、ストッパ15が回転子12の回動を拘束し、座席1の上昇又は下降が停止させられ、その状態で緩衝作用が機能させられる。
【選択図】図1

Description

本発明は、衝撃緩和装置に関するものである。
従来、粗い路面を有する未舗装道路等に沿って車両を走行させると、外部からの衝撃が車両に加わり、座席に伝達される。そこで、座席に各種の衝撃緩和装置が配設されるようになっている(例えば、特許文献1参照。)。該衝撃緩和装置においては、例えば、外部からの衝撃が伝達されて座席の高さが変化しようとすると、座席の下部に配設されたカムが、コントロールバルブの空気注入ピン及び空気放出ピンを選択的に加圧し、前記座席を弾性的に支持するエアスプリング内の空気圧を調整することによって、座席に伝達される衝撃を緩和し、該座席を常時所定の高さに保持するようになっている。
特開平10−53056号公報
しかしながら、前記従来の衝撃緩和装置においては、運転者の身長、体重等の身体条件とは関わりなく、車両の出荷時に工場において座席が所定の高さに設定されてしまうので、一般より背丈が高かったり低かったりする運転者にとっては、車両の運転が不便である。
本発明は、前記従来の衝撃緩和装置の問題点を解決して、多様な運転者の身体条件に合わせて座席の高さを任意に調整することができ、快適に車両を運転することができる衝撃緩和装置を提供することを目的とする。
そのために、本発明の衝撃緩和装置においては、エアスプリング及びダンパによって弾性的に支持され、X型リンクによって連結された上部フレーム及び下部フレームから成る枠体と、前記X型リンクの一方のリンクに対して揺動自在に配設され、外周縁に歯が形成され、側面に作動片が突出させて形成された回転子と、前記一方のリンクに配設され、前記回転子の回動を制御するための歯が形成されたストッパを備えたシリンダと、固定板に取り付けられ、第1、第2の作動部を備えたコントロールバルブと、前記固定板に取り付けられ、回動に伴って、前記第1、第2の作動部を押圧するカムとを有する。
そして、前記固定板は前記X型リンクの他方のリンクに取り付けられる。また、操作部の操作に伴って、前記ストッパが回転子の回動を許容した状態で、座席が上昇又は下降させられ、前記操作部の操作が中止されると、前記ストッパが回転子の回動を拘束し、前記座席の上昇又は下降が停止させられ、その状態で緩衝作用が機能させられる。
本発明によれば、衝撃緩和装置においては、エアスプリング及びダンパによって弾性的に支持され、X型リンクによって連結された上部フレーム及び下部フレームから成る枠体と、前記X型リンクの一方のリンクに対して揺動自在に配設され、外周縁に歯が形成され、側面に作動片が突出させて形成された回転子と、前記一方のリンクに配設され、前記回転子の回動を制御するための歯が形成されたストッパを備えたシリンダと、固定板に取り付けられ、第1、第2の作動部を備えたコントロールバルブと、前記固定板に取り付けられ、回動に伴って、前記第1、第2の作動部を押圧するカムとを有する。
そして、前記固定板は前記X型リンクの他方のリンクに取り付けられる。また、操作部の操作に伴って、前記ストッパが回転子の回動を許容した状態で、座席が上昇又は下降させられ、前記操作部の操作が中止されると、前記ストッパが回転子の回動を拘束し、前記座席の上昇又は下降が停止させられ、その状態で緩衝作用が機能させられる。
この場合、未舗装道路等に沿って車両を走行させる際に、座席に伝達される衝撃を緩和することができるとともに、衝撃を受けても座席の高さを一定に保持することができる。
また、多様な運転者の身体条件に合わせて座席の高さを任意に調整することができるので、快適に車両を運転することができる。
以下、本発明の実施の形態について図面を参照しながら詳細に説明する。
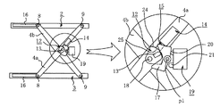
図1は本発明の実施の形態における座席の斜視図、図2は本発明の実施の形態における支持機構の斜視図、図3は本発明の実施の形態における支持機構の分解図、図4は本発明の実施の形態における座席の高さを高めに調整する工程を示す第1の図、図5は本発明の実施の形態における座席の高さを高めに調整する工程を示す第2の図、図6は本発明の実施の形態における座席の高さを高めに調整する工程を示す第3の図、図7は本発明の実施の形態における座席の高さを低めに調整する工程を示す第1の図、図8は本発明の実施の形態における座席の高さを低めに調整する工程を示す第2の図、図9は本発明の実施の形態における座席の高さを低めに調整する工程を示す第3の図、図10は本発明の実施の形態におけるカムの作動状態を示す第1の図、図11は本発明の実施の形態におけるカムの作動状態を示す第2の図、図12は本発明の実施の形態におけるカムの作動状態を示す第3の図である。なお、図4〜12において、矢印の右側の図は、左側の図の円内の拡大図である。
図1〜3において、51は車両に搭載された座席1を支持する支持機構であり、該支持機構51は、リンク機構としてのX型リンク4によって連結され、矩(く)形の形状を有する上部フレーム2及び下部フレーム3を備え、前記上部フレーム2が座席1に、下部フレーム3が車室内の図示されない床面に取り付けられる。そして、前記上部フレーム2及び下部フレーム3内に、前記上部フレーム2及び下部フレーム3を弾性的に支持し、外部から座席1に伝達される衝撃を緩和するエアスプリング6及びダンパ7が配設される。なお、前記上部フレーム2及び下部フレーム3によって枠体が構成される。
前記X型リンク4は、座席1の左右に一つずつ所定の距離を置いて配設され、第1、第2のリンクとしての内側リンク4a及び外側リンク4bを、中央部分に配設されたピン18によって揺動自在に連結することによって形成される。そして、前記各X型リンク4を同期させて伸縮させることができるように、座席1における前方(図において左方)において、各内側リンク4a及び外側リンク4bの端部間が第1の連結部材としての移動軸8によって連結され、座席1における後方(図において右方)において、各内側リンク4a及び外側リンク4bの端部間が第2の連結部材としての固定軸9によって連結される。前記各移動軸8の両端は、前記各内側リンク4a及び外側リンク4bの前端(図において左端)に形成された孔h1を貫通して外側に向けて所定の量だけ延び、図示されない摺(しゅう)動突起を形成する。該摺動突起は、上部フレーム2及び下部フレーム3における前方に形成されたガイド溝16に沿って摺動する。また、前記各固定軸9の両端は、前記各内側リンク4a及び外側リンク4bの後端(図において右端)に形成された孔h2を貫通して外側に向けて所定の量だけ延び、図示されない軸支持突起を形成する。該軸支持突起は、上部フレーム2及び下部フレーム3の後端に形成された図示されない軸孔内に進入させられる。
そして、前記外側リンク4bにおけるピン18より下方の所定の位置に、固定板10が取り付けられる。該固定板10は、前記外側リンク4bから内側に向けて突出させて形成された第1の片10a、該第1の片10aから上方に向けて立ち上げて形成された第2の片10b、及び前記固定板10を外側リンク4bに取り付けるために下方に向けて立ち下げて形成された第3の片10cを備える。そして、前記第1の片10aに、第1のバルブとしての高さ調整バルブ11が固定される。また、第2の片10bに、第2のバルブとしてのコントロールバルブ19が固定されるとともに、第1の揺動部材としてのカム17が、前記コントロールバルブ19と対向させて、かつ、ピンp1を介して揺動自在に取り付けられる。
そして、前記カム17は、回動に伴って、前記コントロールバルブ19の、第1、第2の作動部としての空気放出ピン20及び空気注入ピン21を選択的に押圧する。そのために、前記カム17における空気放出ピン20及び空気注入ピン21と対向する側、すなわち、後側(図において右側)に、湾曲する凸面から成る作動面17aが形成される。
また、内側リンク4aには、前記カム17と係合させて、第2の揺動部材としての回転子12が、前記ピン18を介して揺動自在に配設される。そして、前記回転子12は、扇状の形状を有し、回転子12の側面、すなわち、内側面には、作動片13が突出させて形成され、回転子12の外周縁の円弧部分に、所定の範囲にわたって歯24が形成される。
さらに、前記カム17における空気放出ピン20及び空気注入ピン21と対向しない側、すなわち、前側(図において左側)に、湾曲する凹面から成る被作動面17bが形成され、該被作動面17bの中央における最も深い谷部分に前記作動片13が当接させられる。また、前記内側リンク4aには、シリンダ14が配設され、該シリンダ14は、シリンダ14に対して進退(図において左右方向に移動)自在に配設されたストッパ15を備える。そして、該ストッパ15の先端に前記歯24と噛(し)合自在に歯25が形成され、該歯25によって回転子12の回動が制御される。
次に、前記構成の衝撃緩和装置の動作について詳細に説明する。
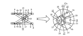
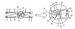
まず、座席1の高さを高めに調整する場合について説明する。
運転者が座席1の第1の操作部としての図示されない上昇スイッチレバーを引っ張ると、前記高さ調整バルブ11の上昇スイッチケーブル22が引っ張られるとともに、エアスプリング6内に圧縮空気が注入される。これと同時に、ストッパ15が後退(図において右方向に移動)させられ、ストッパ15によって回転が拘束されていた回転子12が、図4に示されるように、解放され、回動が許容される。
また、エアスプリング6内に圧縮空気が注入されるのに伴って、座席1が上方に移動させられ、図5に示されるように、上部フレーム2と下部フレーム3との距離が長くなり、前記シリンダ14は、内側リンク4aと共に回動させられるが、ストッパ15が回転子12と離れているので、該回転子12は回転しない。
そして、座席1の高さが最適になったときに、運転者が、前記上昇スイッチレバーの操作を中止して離すと、図6に示されるように、前記ストッパ15が前進(図において左方向に移動)させられ、前記歯24、25が噛合させられ、回転子12の回動が拘束される。このとき、座席1の上昇が停止させられ、その状態で緩衝作用が機能させられる。
次に、座席1の高さを低めに調整する場合について説明する。
この場合、運転者が座席1の第2の操作部としての図示されない下降スイッチレバーを引っ張ると、前記高さ調整バルブ11の下降スイッチケーブル23が引っ張られるとともに、エアスプリング6内から圧縮空気が排出される。これと同時に、ストッパ15が後退させられ、ストッパ15によって回転が拘束されていた回転子12が、図7に示されるように、解放され、回動が許容される。
また、エアスプリング6内から圧縮空気が排出されるのに伴って、座席1が下方に移動させられ、図8に示されるように、上部フレーム2と下部フレーム3との距離が短くなり、前記シリンダ14は、内側リンク4aと共に回動させられるが、ストッパ15が回転子12と離れているので、該回転子12は回転しない。
そして、座席1の高さが最適になったときに、運転者が、前記下降スイッチレバーの操作を中止して離すと、図9に示されるように、前記ストッパ15が前進させられ、前記歯24、25が噛合させられ、回転子12の回動が拘束される。このとき、座席1の下降が停止させられ、その状態で緩衝作用が機能させられる。
このように、運転者が上昇スイッチレバー又は下降スイッチレバーを操作すると、ストッパ15が回転子12から離れた状態で座席1の高さが調整され、上昇スイッチレバー又は下降スイッチレバーの操作を中止すると、ストッパ15が回転子12の回転を拘束し、座席1の上昇又は下降が停止され、座席1の高さが継続して保持される。したがって、多様な運転者の身体条件に合わせて座席1の高さを任意に調整することができるので、快適に車両を運転することができる。
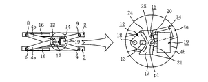
ところで、運転者の身体条件に合わせて座席1の高さが調整された状態においては、図10に示されるように、前記歯24、25が噛合させられ、前記作動片13はカム17が中立状態になるように、被作動面17bの最も深い谷部分と接触させられ、カム17は、前記空気放出ピン20及び空気放出ピン21を押圧しない状態に置かれる。
そして、外部からの衝撃によって座席1の高さが高くなると、図11に示されるように、上部フレーム2と下部フレーム3との距離が長くなり、移動軸8が上部フレーム2及び下部フレーム3に形成されたガイド溝16に沿って後方に摺動し、前記シリンダ14が内側リンク4aと共に回転する。
このとき、歯24、25が噛合させられているので、回転子12はシリンダ14と共にピン18を中心に回動し、それに伴って、前記作動片13がカム17を回転させ、該カム17が前記空気放出ピン20を押圧する。
その結果、エアスプリング6内の圧縮空気が排出され、エアスプリング6内の空気圧が低くなり、外部からの衝撃によって高くされた座席1が低くされ、カム17が図10に示される中立状態に置かれる。
一方、外部からの衝撃によって、座席1の高さが低くなると、図12に示されるように、上部フレーム2と下部フレーム3との距離が短くなり、前記移動軸8がガイド溝16に沿って前方に摺動し、前記シリンダ14が内側リンク4aと共に回転する。
このとき、歯24、25が噛合させられているので、回転子12はシリンダ14と共にピン18を中心に回動し、それに伴って、前記作動片13がカム17を回転させ、カム17が前記空気注入ピン21を押圧する。
その結果、エアスプリング6内に圧縮空気が注入され、エアスプリング6内の空気圧が高くなり、外部からの衝撃によって低くされた座席1が高くされ、カム17が図10に示される中立状態に置かれる。
このように、座席1の上昇又は下降が停止された状態で緩衝作用が機能する。したがって、未舗装道路等に沿って車両を走行させる際に、座席1に伝達される衝撃を緩和することができるとともに、衝撃を受けても座席1の高さを一定に保持することができる。
なお、本発明は前記実施の形態に限定されるものではなく、本発明の趣旨に基づいて種々変形させることが可能であり、それらを本発明の範囲から排除するものではない。
本発明の実施の形態における座席の斜視図である。 本発明の実施の形態における支持機構の斜視図である。 本発明の実施の形態における支持機構の分解図である。 本発明の実施の形態における座席の高さを高めに調整する工程を示す第1の図である。 本発明の実施の形態における座席の高さを高めに調整する工程を示す第2の図である。 本発明の実施の形態における座席の高さを高めに調整する工程を示す第3の図である。 本発明の実施の形態における座席の高さを低めに調整する工程を示す第1の図である。 本発明の実施の形態における座席の高さを低めに調整する工程を示す第2の図である。 本発明の実施の形態における座席の高さを低めに調整する工程を示す第3の図である。 本発明の実施の形態におけるカムの作動状態を示す第1の図である。 本発明の実施の形態におけるカムの作動状態を示す第2の図である。 本発明の実施の形態におけるカムの作動状態を示す第3の図である。
符号の説明
1 座席
2 上部フレーム
3 下部フレーム
4 X型リンク
4a 内側リンク
4b 外側リンク
6 エアスプリング
7 ダンパ
10 固定板
12 回転子
13 作動片
14 シリンダ
15 ストッパ
17 カム
19 コントロールバルブ
20 空気放出ピン
21 空気注入ピン
24、25 歯

Claims (1)

  1. (a)エアスプリング及びダンパによって弾性的に支持され、X型リンクによって連結された上部フレーム及び下部フレームから成る枠体と、
    (b)前記X型リンクの一方のリンクに対して揺動自在に配設され、外周縁に歯が形成され、側面に作動片が突出させて形成された回転子と、
    (c)前記一方のリンクに配設され、前記回転子の回動を制御するための歯が形成されたストッパを備えたシリンダと、
    (d)固定板に取り付けられ、第1、第2の作動部を備えたコントロールバルブと、
    (e)前記固定板に取り付けられ、回動に伴って、前記第1、第2の作動部を押圧するカムとを有するとともに、
    (f)前記固定板は前記X型リンクの他方のリンクに取り付けられ、
    (g)操作部の操作に伴って、前記ストッパが回転子の回動を許容した状態で、座席が上昇又は下降させられ、
    (h)前記操作部の操作が中止されると、前記ストッパが回転子の回動を拘束し、前記座席の上昇又は下降が停止させられ、その状態で緩衝作用が機能させられることを特徴とする衝撃緩和装置。
JP2004251898A 2004-04-09 2004-08-31 衝撃緩和装置 Expired - Lifetime JP3934635B2 (ja)

Applications Claiming Priority (1)

Application Number Priority Date Filing Date Title
KR1020040024416A KR100451657B1 (ko) 2004-04-09 2004-04-09 차량용 의자의 높이 조절식 충격 완화장치

Publications (2)

Publication Number Publication Date
JP2005297942A true JP2005297942A (ja) 2005-10-27
JP3934635B2 JP3934635B2 (ja) 2007-06-20

Family

ID=35067059

Family Applications (1)

Application Number Title Priority Date Filing Date
JP2004251898A Expired - Lifetime JP3934635B2 (ja) 2004-04-09 2004-08-31 衝撃緩和装置

Country Status (3)

Country Link
JP (1) JP3934635B2 (ja)
KR (1) KR100451657B1 (ja)
CN (1) CN1680138A (ja)

Cited By (4)

* Cited by examiner, † Cited by third party
Publication number Priority date Publication date Assignee Title
JP2009046119A (ja) * 2007-08-20 2009-03-05 Rigen Kanpotekku Kk 車両用緩衝椅子の高さ調節用弁集約型操作ボタン
JP2010030473A (ja) * 2008-07-29 2010-02-12 Namba Press Works Co Ltd 座席シート用サスペンション
JP2011213280A (ja) * 2010-04-01 2011-10-27 Nhk Spring Co Ltd 車両用エアサスペンション式シート支持装置
JP7334306B1 (ja) 2022-05-27 2023-08-28 日本発條株式会社 シート支持装置及び車両用シート

Families Citing this family (5)

* Cited by examiner, † Cited by third party
Publication number Priority date Publication date Assignee Title
CN102112796A (zh) * 2008-06-20 2011-06-29 江森自控科技公司 车辆座椅
KR101067915B1 (ko) 2008-10-24 2011-09-28 한일이화주식회사 차량용 시트의 서스펜션 장치
DE102010046489B3 (de) * 2010-09-20 2012-01-05 Keiper Gmbh & Co. Kg Fahrzeugsitz, insbesondere Nutzfahrzeugsitz
CN106080276A (zh) * 2016-07-14 2016-11-09 长春富维—江森自控汽车饰件系统有限公司 基于气控阀控制的高调悬浮集成式控制系统
CN108099712B (zh) * 2017-11-17 2019-09-20 北汽福田汽车股份有限公司 汽车座椅减震器及汽车

Cited By (5)

* Cited by examiner, † Cited by third party
Publication number Priority date Publication date Assignee Title
JP2009046119A (ja) * 2007-08-20 2009-03-05 Rigen Kanpotekku Kk 車両用緩衝椅子の高さ調節用弁集約型操作ボタン
JP2010030473A (ja) * 2008-07-29 2010-02-12 Namba Press Works Co Ltd 座席シート用サスペンション
JP2011213280A (ja) * 2010-04-01 2011-10-27 Nhk Spring Co Ltd 車両用エアサスペンション式シート支持装置
JP7334306B1 (ja) 2022-05-27 2023-08-28 日本発條株式会社 シート支持装置及び車両用シート
JP2023174121A (ja) * 2022-05-27 2023-12-07 日本発條株式会社 シート支持装置及び車両用シート

Also Published As

Publication number Publication date
KR100451657B1 (ko) 2004-10-12
JP3934635B2 (ja) 2007-06-20
CN1680138A (zh) 2005-10-12

Similar Documents

Publication Publication Date Title
JP3934635B2 (ja) 衝撃緩和装置
JP4069672B2 (ja) シートバーチカル装置
KR101827130B1 (ko) 차량용 시트의 높이 조절장치
JP4927660B2 (ja) 車輌用灯具
JP2009046119A (ja) 車両用緩衝椅子の高さ調節用弁集約型操作ボタン
JP2005162064A (ja) サンルーフ装置
JP2007330355A (ja) 遊技機の可動装飾装置
JP2012066776A (ja) 車両用シート
KR101600199B1 (ko) 자동차 시트의 헤드레스트 조절장치
JP4932673B2 (ja) 便座昇降装置および洋式トイレ
JP2007145300A (ja) 収納体
KR200293230Y1 (ko) 차량용 의자의 완충높이 조정장치
CN203358664U (zh) 车辆的转向装置
JP5159384B2 (ja) 手動高さ調節機構を備えた座席シート
JP2008105542A (ja) 車両用パワーシートの駆動機構
JP2009227012A (ja) 手動高さ調節機構を備えた座席シート
JP4958047B2 (ja) 車両用シートの骨組み構造体
JP2009227208A (ja) リフタ機構付き乗物用シート
RU2359845C1 (ru) Автомобильное сиденье
JP2011057039A (ja) 自動車用シート
JPWO2020194947A1 (ja) 鞍乗り型車両の風防装置
JP2010070005A (ja) 車両用エアサスペンション式シート支持装置
KR20050030302A (ko) 차량 시트 리클라이너
JP4492372B2 (ja) 自動車の着座姿勢調整装置
CN112389474B (zh) 一种机械升降装置

Legal Events

Date Code Title Description
A977 Report on retrieval

Free format text: JAPANESE INTERMEDIATE CODE: A971007

Effective date: 20060823

A131 Notification of reasons for refusal

Free format text: JAPANESE INTERMEDIATE CODE: A131

Effective date: 20060912

A521 Written amendment

Free format text: JAPANESE INTERMEDIATE CODE: A523

Effective date: 20061207

TRDD Decision of grant or rejection written
A01 Written decision to grant a patent or to grant a registration (utility model)

Free format text: JAPANESE INTERMEDIATE CODE: A01

Effective date: 20070313

A61 First payment of annual fees (during grant procedure)

Free format text: JAPANESE INTERMEDIATE CODE: A61

Effective date: 20070315

R150 Certificate of patent or registration of utility model

Free format text: JAPANESE INTERMEDIATE CODE: R150

FPAY Renewal fee payment (event date is renewal date of database)

Free format text: PAYMENT UNTIL: 20100330

Year of fee payment: 3

FPAY Renewal fee payment (event date is renewal date of database)

Free format text: PAYMENT UNTIL: 20110330

Year of fee payment: 4

FPAY Renewal fee payment (event date is renewal date of database)

Free format text: PAYMENT UNTIL: 20110330

Year of fee payment: 4

FPAY Renewal fee payment (event date is renewal date of database)

Free format text: PAYMENT UNTIL: 20120330

Year of fee payment: 5

FPAY Renewal fee payment (event date is renewal date of database)

Free format text: PAYMENT UNTIL: 20120330

Year of fee payment: 5

FPAY Renewal fee payment (event date is renewal date of database)

Free format text: PAYMENT UNTIL: 20130330

Year of fee payment: 6

FPAY Renewal fee payment (event date is renewal date of database)

Free format text: PAYMENT UNTIL: 20140330

Year of fee payment: 7

R250 Receipt of annual fees

Free format text: JAPANESE INTERMEDIATE CODE: R250

R250 Receipt of annual fees

Free format text: JAPANESE INTERMEDIATE CODE: R250

R250 Receipt of annual fees

Free format text: JAPANESE INTERMEDIATE CODE: R250

R250 Receipt of annual fees

Free format text: JAPANESE INTERMEDIATE CODE: R250

R250 Receipt of annual fees

Free format text: JAPANESE INTERMEDIATE CODE: R250

R250 Receipt of annual fees

Free format text: JAPANESE INTERMEDIATE CODE: R250