JP2005297941A - ワイパブレード - Google Patents

ワイパブレード Download PDF

Info

Publication number
JP2005297941A
JP2005297941A JP2004239848A JP2004239848A JP2005297941A JP 2005297941 A JP2005297941 A JP 2005297941A JP 2004239848 A JP2004239848 A JP 2004239848A JP 2004239848 A JP2004239848 A JP 2004239848A JP 2005297941 A JP2005297941 A JP 2005297941A
Authority
JP
Japan
Prior art keywords
fin
wiper blade
longitudinal direction
width direction
lever
Prior art date
Legal status (The legal status is an assumption and is not a legal conclusion. Google has not performed a legal analysis and makes no representation as to the accuracy of the status listed.)
Granted
Application number
JP2004239848A
Other languages
English (en)
Other versions
JP4267537B2 (ja
Inventor
Hiroyuki Nakano
博之 中野
Yukio Kobayashi
幸夫 小林
Motoyasu Yano
元康 谷野
Atsushi Takagi
篤 高木
Toshihiro Saito
年弘 齋藤
Naoki Torii
直紀 鳥居
Current Assignee (The listed assignees may be inaccurate. Google has not performed a legal analysis and makes no representation or warranty as to the accuracy of the list.)
Asmo Co Ltd
Original Assignee
Asmo Co Ltd
Priority date (The priority date is an assumption and is not a legal conclusion. Google has not performed a legal analysis and makes no representation as to the accuracy of the date listed.)
Filing date
Publication date
Priority to JP2004239848A priority Critical patent/JP4267537B2/ja
Application filed by Asmo Co Ltd filed Critical Asmo Co Ltd
Priority to US11/022,893 priority patent/US7603742B2/en
Priority to DE602004031192T priority patent/DE602004031192D1/de
Priority to EP10005753A priority patent/EP2230140B1/en
Priority to EP04030904A priority patent/EP1559623B1/en
Priority to EP10005754A priority patent/EP2258592B1/en
Priority to KR1020040117188A priority patent/KR101050819B1/ko
Priority to CN200510003791.4A priority patent/CN1647980B/zh
Publication of JP2005297941A publication Critical patent/JP2005297941A/ja
Application granted granted Critical
Publication of JP4267537B2 publication Critical patent/JP4267537B2/ja
Anticipated expiration legal-status Critical
Expired - Lifetime legal-status Critical Current

Links

Images

Abstract

【課題】車両走行時に払拭面からの浮き上がりをより確実に防止し、払拭性能を向上することができるワイパブレードを提供する。
【解決手段】カバー部材7はフィン部20e,21bを有するフィン部材を兼ねており、該カバー部材7を構成するサイドカバー部21は可動フィン部となっている。カバー部材7は、レバーアッセンブリ4の長手方向に沿ってガラス表面と反対側に頂部20d,21aを有すると共に、該頂部20d,21aからワイパブレード1の幅方向の一側においてフィン部20e,21bが形成されている。フィン部20e,21bは、頂部20d,21aがワイパブレードの幅方向の中心線に対して前記幅方向の他側にオフセットするとともに、該オフセット量が前記長手方向先端側に向かうに従って大きくなるように設定された拡大フィン部を有している。
【選択図】 図3

Description

本発明は、複数個のレバーがトーナメント状に連結されてなるレバーアッセンブリを用い、走行風を受ける自動車のフロントガラス(ウインドシールドガラス)表面等を払拭するのに好適なワイパブレードに関する。
自動車のフロントガラス(ウインドシールドガラス)表面を払拭するワイパブレードには、複数個の金属製レバーがトーナメント状に連結されて構成されるレバーアッセンブリに、バッキングを装着したブレードラバーが取り付けられて構成されているのが一般的である。しかしながら、このようなワイパブレードは、レバーアッセンブリの部分が雑然としており、外観見栄えが良好であるとはいえなかった。
そこで、例えば、特許文献1に示されるようなワイパブレードでは、レバーアッセンブリを構成する複数個のレバーが合成樹脂よりなり、各レバーがレバーアッセンブリとして組み立てた際に外観形状が一体的となるような形状にそれぞれ形成され、ワイパブレードの外観見栄えを向上させている。又、各レバーには、車両走行時に生じるワイパブレードの浮き上がりを防止するためのフィン部がそれぞれ一体形成されている。
実開平7−28759号公報
ところが、上記文献1のレバーアッセンブリを構成する各レバーは樹脂製であるため、各レバーの肉厚増大する等して、不足する強度や剛性を確保する必要がある。そのため、上記文献1では、各レバーが大型化してレバーアッセンブリ、ひいてはワイパブレード全体が大型化してしまう。
そこで、上記金属製レバーを用いたワイパブレードのレバーアッセンブリに対して、別途に製作したフィン部材を装着するように構成したものも提案されている。しかし、これらフィン部材はブレードラバーの長手方向に長尺の板状のフィン部に脚部が形成され、この脚部を介してレバーアッセンブリに付加的に取り付けられているため、その取付位置によってワイパブレードの幅方向または高さ方向に大型となってしまい、やはりワイパブレード全体が大型化してしまう。また、レバーアッセンブリが外観上剥き出しであり、フィン部材との一体感も無いため見栄えも悪いといった問題点がある。
また、いずれの場合も、前記フィン部は、ワイパブレードの幅方向の中心線に対するその頂部のオフセット量が一定のため、浮き上がり防止効果が少ない。
本発明は、こうした実情に鑑みてなされたものであって、その目的は、車両走行時に払拭面からの浮き上がりをより確実に防止し、払拭性能を向上することができるワイパブレードを提供することにある。
上記課題を解決するため、請求項1に記載の発明は、ワイパアームと連結され、複数個のレバーがトーナメント状に連結されて構成されて複数個の把持部を有するレバーアッセンブリと、該レバーアッセンブリにて保持されるブレードラバーと、前記レバーアッセンブリの長手方向に沿って取り付けられ車両走行時に生じる走行風を受けると前記ブレードラバーを払拭面側に押し付ける力を生じさせるフィン部材と、を備えたワイパブレードであって、前記フィン部材は、前記長手方向に沿って前記払拭面と反対側に頂部を有すると共に、該頂部から前記ワイパブレードの幅方向の一側においてフィン部が形成され、前記フィン部は、前記頂部が前記ワイパブレードの幅方向の中心線に対して前記幅方向の他側にオフセットするとともに、該オフセット量が前記長手方向先端側に向かうに従って大きくなるように設定された拡大フィン部を、少なくとも前記長手方向の所定位置から端部側に有していることをその要旨とする。
請求項2に記載の発明は、請求項1に記載のワイパブレードにおいて、前記フィン部材は、前記ブレードラバー側が開口する凹状に形成され前記レバーアッセンブリを該開口から内部に収容するカバー部材に一体に形成されていることをその要旨とする。
請求項3に記載の発明は、請求項1又は2に記載のワイパブレードにおいて、前記フィン部材は、前記頂部の前記フィン部の下縁からの高さ寸法をh、前記頂部の前記フィン部の下縁と対応する位置までの前記幅方向の距離をWとするとき、前記長手方向の中央部側においてW<hであり、かつ前記長手方向の端部側においてW>hとなるように設定されていることをその要旨とする。
(作用)
請求項1に記載の発明によれば、ワイパブレードに備えられるフィン部材は、前記長手方向に沿って前記払拭面と反対側に頂部を有すると共に、該頂部から前記ワイパブレードの幅方向の一側においてフィン部が形成され、前記フィン部は、前記頂部が前記ワイパブレードの幅方向の中心線に対して前記幅方向の他側にオフセットするとともに、該オフセット量が前記長手方向先端側に向かう(近づく)に従って大きくなるように設定された拡大フィン部を、前記長手方向の所定位置から端部側に有する。従って、拡大フィン部はワイパブレードの幅方向の中心線から幅方向の他側にオフセットした頂部から形成されるので、フィン部材の幅方向の大型化を抑えながら、そのフィン部の大型化(フィン機能の向上、つまり、走行風を利用した浮き上がり防止機能、言い換えれば、ブレード押圧力補完機能の向上)が可能となるとともに、フィン部材のフィン部を長手方向先端側に向かうほど徐々に大きく設定できる。
請求項2に記載の発明によれば、フィン部材は、前記ブレードラバー側が開口する凹状に形成され前記レバーアッセンブリを該開口から内部に収容するカバー部材に一体に形成される。従って、レバーアッセンブリがカバー部材に収容されて覆われるので、ワイパブレードの外観見栄えが向上する。しかも、フィン部材をカバー部材に一体に形成したので、部品点数が増加しない。
請求項3に記載の発明によれば、フィン部材は、前記頂部の前記フィン部の下縁からの高さ寸法をh、前記頂部の前記フィン部の下縁と対応する位置までの前記幅方向の距離をWとするとき、前記長手方向の中央部側においてW<hであり、かつ前記長手方向の端部側においてW>hとなるように設定されている。ワイパブレードの長手方向の端部側に行くに従ってレバーアッセンブリの高さは低くなるので、それに応じてフィン部材の高さも低くする。高さが低くなることでフィンとして有効に機能する面も小さくなる。しかし、この発明では、長手方向の端部側においてW>hとなるようにオフセット量を大きくすることにより、フィンとして機能する面の減少を抑えて、高さが低くてもより大きなフィン機能面を確保できる。
本発明によれば、車両走行時に払拭面からの浮き上がりをより確実に防止し、払拭性能を向上することができるワイパブレードを提供することができる。
以下、本発明を具体化した一実施形態を図面に従って説明する。
図1(a)は、自動車のフロントガラス(ウインドシールドガラス)30を払拭するための本実施形態のワイパブレード1を示す。ワイパブレード1は、ワイパアーム8の先端部に取り付けられ、該ワイパアーム8から払拭面であるガラス表面30a側への押圧力を受ける。ワイパアーム8はワイパモータ(図示略)にて所定角度だけ回動され、その回動によりワイパブレード1はフロントガラス30のガラス表面30aの所定角度範囲を払拭する。このようなワイパブレード1は、図1〜図3に示すように、プライマリレバー2及び一対のセカンダリレバー3がトーナメント状に連結されたレバーアッセンブリ4と、ブレードラバー5と、バッキング6と、カバー部材7とから構成されている。
前記レバーアッセンブリ4において、プライマリレバー2は、金属板材をプレス加工することにより、長手方向の略全体が下方(ブレードラバー5側)が開口する山折り形状に形成されている。プライマリレバー2は、長手方向中央部に設けられるホルダ部10と、該ホルダ部10から長手方向両側にそれぞれ延びるアーム部11と、各アーム部11の先端側、即ちプライマリレバー2の両端部にそれぞれ設けられる連結部12とを備えている。
ホルダ部10は、図3及び図4(a)に示すように、ワイパアーム8の先端部を挿入するための長方形状の開口10aが形成されており、両側壁が平行となるように折り曲げられている。ホルダ部10は、その幅方向の中心がワイパブレード1(ブレードラバー5)の幅方向の中心線L1上に位置するように設けられている。又、ホルダ部10には、ワイパアーム8の先端部と連結クリップ(図示略)を介して回動可能に連結するための連結ピン13が取り付けられている。
各アーム部11は、図4(b)に示すように、下方(ブレードラバー5側)が開口し下方に向かうほど拡開する断面略V字状に形成されている。アーム部11は、ワイパブレード1の幅方向の中心線L1に対して該幅方向の一側に所定距離だけオフセットさせて設けられている。因みに、本実施形態のアーム部11のオフセット量は、後述するカバー部材7のフィン部20e,21bのオフセット量X1と略同じに設定されている。又、アーム部11の幅方向の他側端部は、該幅方向外側に向かって折り曲げられた折曲部11aが形成され、該折曲部11aによりアーム部11の剛性を向上させている。
連結部12は、図4(c)に示すように、下方(ブレードラバー5側)が開口する断面略U字状に折り曲げられている。この連結部12には、前記セカンダリレバー3の略中央部分が連結ピン17にて回動可能に連結されている。
又、連結部12における連結ピン17よりも先端部側の両側壁には、一対の連結孔12aが形成されている。各連結孔12aは、連結ピン17の軸線と平行な直線上にそれぞれ位置している。この連結孔12aは、後述するカバー部材7の基端部に設けられる連結突起21cが嵌挿されるために設けられている。
各セカンダリレバー3は、金属板材をプレス加工することにより、長手方向に沿って山折りされて形成されている。セカンダリレバー3は、長手方向中央部に設けられる連結部14と、該連結部14から長手方向両側にそれぞれ延びるアーム部15と、各アーム部15の先端側、即ちセカンダリレバー3の両端部にそれぞれ設けられる把持部16とを備えている。
連結部14及びアーム部15は、図4(c)及び図5(a)に示すように、重なるように山折りされて形成されている。連結部14は、前記連結部12内に収容された状態で、連結ピン17にて前記プライマリレバー2の連結部12に対して回動可能に連結されている。因みに、セカンダリレバー3の連結部14と前記プライマリレバー2の連結部12との間には、合成樹脂材料よりなり下方(ブレードラバー5側)が開口する断面略U字状をなすダンパ18が介在されている。ダンパ18は、セカンダリレバー3をプライマリレバー2に連結するための連結ピン17が挿通されて各連結部12,14間に装着される。ダンパ18は、セカンダリレバー3とプライマリレバー2との間のガタツキを防止しながら、セカンダリレバー3がプライマリレバー2に対して円滑に回動するように設けられている。
各アーム部15の基端は、前記プライマリレバー2のアーム部11と直線的に並ぶように、ワイパブレード1の幅方向の中心線L1に対して前記プライマリレバー2のアーム部11と同じオフセット量だけオフセットさせて設けられている。
各アーム部15の先端側、即ちセカンダリレバー3の両端部に設けられる把持部16は、図5(b)に示すように、下方(ブレードラバー5側)が開口する断面略C字状に折り曲げられている。把持部16は、その幅方向の中心がワイパブレード1の幅方向の中心線L1上に位置するように設けられている。把持部16には、その先端部分がブレードラバー5の基部5aの長手方向に連続して設けられる保持溝5d内に挿入されるようにして、バッキング6を装着した該ブレードラバー5の基部5aが長手方向から挿入される。そして、把持部16は、ブレードラバー5をガラス表面30aの曲率変化による屈曲変形に追従可能に保持する。
前記ブレードラバー5は、ゴム材にて長尺状に形成され、図4及び図5に示すように、レバーアッセンブリ4の各把持部16にて把持される基部5aと、該基部5aから延出、より詳しくは基部5aからワイパブレード1の幅方向の中心線L1上に位置して延出されて、先端部がガラス表面30aに接触して雨滴等を払拭する払拭部5bとを有している。これら基部5a及び払拭部5bは、ブレードラバー5の長手方向に連続して形成されている。尚、各図において、図面が煩雑になるのを防止するために、ブレードラバー5の側面に現れる線を一部省略している。
ブレードラバー5の基部5aには、保持溝5dよりも上部(反払拭部5b側)にバッキング装着溝5cが長手方向に連続して形成されている。バッキング装着溝5cには、バネ性を有する金属板材にて細長い板状に形成されるバッキング6が装着される。尚、このバッキング6は、各図において図面が煩雑になるのを防止するために直線状としているが、実際は自然状態(無負荷状態)においてガラス表面30aの曲率よりも大きい曲率(ガラス表面30aの湾曲半径よりも小さな湾曲半径)を有して長手方向中央部が反ガラス表面30a側に向けて凸状となる湾曲形状に形成されている。これにより、ブレードラバー5はバッキング6の形状に合わせて湾曲変形する。又、払拭時においてワイパアーム8により押圧力が加わると、ブレードラバー5はガラス表面30aの曲率に合わせて弾性変形する。そして、このようなバッキング6は、ワイパアーム8により受けるガラス表面30a側への押圧力をブレードラバー5の長手方向に分散させている。
このようなブレードラバー5及びバッキング6は、本実施形態では、前記レバーアッセンブリ4の中で端部に位置する把持部16から長手方向外側に所定長さだけ長く突出するように構成され、該ブレードラバー5をガラス表面30aの曲率変化に良好に追従させる構造としている。因みに、ブレードラバー5(バッキング6を含む)において、レバーアッセンブリ4の端部に位置する把持部16から外側に突出し該ブレードラバー5の端部までの部分を特に追従端部Yとしている。
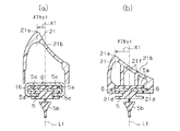
フィン部材を構成する前記カバー部材7は、図3に示すように、センターカバー部20と該センターカバー部20の両側に位置する一対のサイドカバー部21とから構成され、それぞれ合成樹脂材料にて所定の剛性を有するように形成されている。カバー部材7即ちフィン部材は、レバーアッセンブリ4の長手方向に沿って取り付けられている。センターカバー部20及びサイドカバー部21は、前記レバーアッセンブリ4を収容して覆うとともに、前記ブレードラバー5の端部まで延びており、該ブレードラバー5と一体的な外観となるように構成されている。
センターカバー部20は、略中央に設けられ前記プライマリレバー2のホルダ部10を覆うホルダカバー部分20aと、該ホルダカバー部分20aの両側にそれぞれ設けられてプライマリレバー2のアーム部11の略全体を覆うアームカバー部分20bとを備えている。
ホルダカバー部分20aは、図4(a)に示すように、両側壁が平行となるように形成され、その幅方向の中心がワイパブレード1の幅方向の中心線L1上に位置するように設けられている。ホルダカバー部分20aの上端部には、前記ホルダ部10を露出させるための長方形状の開口20cが形成されている。
アームカバー部分20bは、図4(b)に示すように、下方(ブレードラバー5側)が開口する断面略V字状に形成されている。アームカバー部分20bは、その先端部がプライマリレバー2の連結部12の連結孔12aが設けられる部位より手前まで覆うように延びている。
又、アームカバー部分20bは、前記プライマリレバー2のアーム部11と同様に、頂部20dがワイパブレード1の幅方向の中心線L1に対して該幅方向の一側にオフセット量X1だけオフセットさせて設けられている。即ち、ワイパアーム8の停止位置において、中心線L1に対して走行風の下流側(車両後方側)にオフセット量X1だけオフセットした位置に頂部20dが設けられている。図4(b),(c)に示すように、頂部20dのオフセット量X1がアームカバー部分20bの長手方向先端側(ワイパブレード1の長手方向端部側)に向かうに従って大きくなるように設定されている。
アームカバー部分20bには、頂部20dから幅方向の他側においてフィン部20eが一体に形成されている。フィン部20eは、走行風を受けるとワイパブレード1をガラス表面30a側に押し付ける力を生じさせる斜面に形成されている。フィン部20eは、上記のようにオフセットさせた頂部20dから形成されるので、アームカバー部分20bの幅方向の大型化を抑えながら、該フィン部20eの大型化が図られている。また、オフセット量X1がアームカバー部分20bの長手方向先端側に向かうに従って大きくなるように設定されているため、フィン部20eも先端側に向かうに従って徐々に大きくなるように形成されている。
図3及び図4(a)に示すように、前記ホルダカバー部分20aの内側面には前記プライマリレバー2のホルダ部10下端面の所定の4箇所に係止する係止突起20fが形成されている。又、図3及び図4(c)に示すように、アームカバー部分20bの先端部の内側面には前記プライマリレバー2の連結部12下端面の所定の2箇所に係止する係止突起20gが形成されている。これら各係止突起20f,20gは、センターカバー部20をレバーアッセンブリ4に対して装着した際、それぞれ対応するプライマリレバー2のホルダ部10及び連結部12の下端部に係止し、該プライマリレバー2に対して装着したセンターカバー部20の反装着方向側への移動を規制して脱落を防止する。
一方、対をなすサイドカバー部21は、図3に示すように、互いに対称形状に形成されている。サイドカバー部21は、下方(ブレードラバー5側)が開口する断面略V字状に形成されている。サイドカバー部21は、前記プライマリレバー2の連結部12の連結孔12aが設けられる部位からブレードラバー5の端部まで延びており、長手方向の所定位置から先端部(ブレードラバー5の端部)に向かうほど高さが次第に低くなる形状をなしている。サイドカバー部21の先端部には、下端から切り欠き状に開口形成された開口部21eが形成されており、該開口部21eからは、バッキング6を装着したブレードラバー5が長手方向に挿入可能である。つまり、サイドカバー部21をプライマリレバー2に装着した状態であっても、その開口部21eからブレードラバー5を長手方向に挿入して装着することが可能となっている。
サイドカバー部21は、前記センターカバー部20のアームカバー部分20bと連続するように、基端部の頂部21aがワイパブレード1の幅方向の中心線L1に対して該幅方向の一側に前記センターカバー部20のアームカバー部分20bの先端部と同じオフセット量X1だけオフセットさせて設けられている。即ち、ワイパアーム8の停止位置において、中心線L1に対して走行風の下流側(車両後方側)にオフセット量X1だけオフセットした位置に頂部21aが設けられている。図5(a)〜(c)に示すように、サイドカバー部21は、頂部21aのオフセット量X1をサイドカバー部21の長手方向先端側(ワイパブレード1の長手方向の端部側)に向かうに従って大きくなるように設定されている。又、サイドカバー部21には、前記アームカバー部分20bと同様に、頂部21aから幅方向の他側においてフィン部21bが一体に形成されている。フィン部21bは、走行風を受けるとワイパブレード1をガラス表面30a側に押し付ける力を生じさせる斜面に形成されている。又、フィン部21bは、上記のようにオフセットさせた頂部21aから形成されるので、サイドカバー部21の幅方向の大型化を抑えながら、該フィン部21bの大型化が図られている。また、オフセット量X1がサイドカバー部21の長手方向先端側に向かうに従って大きくなるように設定されているため、フィン部21bも先端側に向かうに従って徐々に大きくなるように形成されている。
即ち、この実施形態では、フィン部20e,21bは、頂部20d,21aがワイパブレード1の幅方向の中心線L1に対して前記幅方向の他側にオフセットするとともに、該オフセット量X1がレバーアッセンブリ4の長手方向先端側に向かうに従って大きくなるように設定された拡大フィン部を長手方向のほぼ全域に有している。この場合、センターカバー部20の頂部20dとサイドカバー部21の頂部21aとが連続的になるのが好ましい。
更に、サイドカバー部21の基端内側面には、図5(a)に示すように、前記プライマリレバー2の連結部12の連結孔12aにそれぞれ嵌挿され、前記連結部12に対して回動可能に連結する一対の連結突起21cが形成されている。又、サイドカバー部21の先端内側面には、図5(c)に示すように、前記ブレードラバー5の基部5aを長手方向から挿入するための把持部21dが形成されている。把持部21dは、その先端部分がブレードラバー5の基部5aの保持溝5dに挿入されて、ブレードラバー5をガラス表面30aの曲率変化による屈曲変形に追従可能となるようにレバーアッセンブリ4の中で端部に位置する把持部16よりも先端側でブレードラバー5の基部5aを把持する。即ち、サイドカバー部21は、把持部21dにおいてブレードラバー5を直接保持する。又、サイドカバー部21の把持部16よりも更に先端側の内側面には、対をなすラバー押圧突起21fが下方に向かって突出形成されている。ラバー押圧突起21fは、ワイパブレード1の幅方向の中心線L1を挟んだ両側に配置され、ブレードラバー5の上面における該中心線L1と幅方向端部との中間部分に当接し、ブレードラバー5の端部がガラス表面30aに曲率変化による屈曲変形に追従するようにブレードラバー5をガラス表面30a側に押す。
因みに、サイドカバー部21の基端上部は、側方から見て、サイドカバー部21の回動中心(連結突起21c)を中心とした円形状に形成されている。これに対し、サイドカバー部21の基端部と対向する前記センターカバー部20(アームカバー部分20b)の先端部は、側方から見て円形凹状をなしており、サイドカバー部21が回動した際に、該サイドカバー部21との隙間の変化が小さくなるようになっている。又、側方から見てレバーアッセンブリ4が位置していないサイドカバー部21とセンターカバー部20との隙間の上部は、その隙間を通じて反対側が見えてしまう。これを防止するために、センターカバー部20の先端には、下方に向かって直線的に延びるリブ20hが設けられている。又、このリブ20hは、センターカバー部20の先端上部が鋭利な形状になるのも同時に防止している。
このように構成されるカバー部材7において、そのセンターカバー部20は、下端部の開口から内部にレバーアッセンブリ4のプライマリレバー2を収容するように該プライマリレバー2に装着される。この時、センターカバー部20は、内側面に設けられる各係止突起20f,20g分、外側に弾性変形し、該係止突起20f,20gがプライマリレバー2のホルダ部10及び連結部12の下端面に到達すると、通常状態に弾性復帰する。そして、各係止突起20fがホルダ部10の下端面に、各係止突起20gが連結部12下端面の係止溝12bにそれぞれ係止して、該センターカバー部20がレバーアッセンブリ4から脱落しないように装着される。センターカバー部20は、プライマリレバー2の連結部12の連結ピン13が設けられる部位までの該プライマリレバー2の略全体を覆う。
又、サイドカバー部21は、下端部の開口から内部にレバーアッセンブリ4のセカンダリレバー3の外側のアーム部15を収容するとともに、該アーム部15よりも先端側においてブレードラバー5の追従端部Y上部に位置するように、プライマリレバー2の連結部12及びブレードラバー5の端部に対して装着される。具体的には、サイドカバー部21の連結突起21cをプライマリレバー2の連結部12の連結孔12aに嵌挿し、その後、サイドカバー部21の先端の開口部21eから把持部21d及び前記レバーアッセンブリ4の把持部16にブレードラバー5の基部5aが長手方向から挿入される。これにより、サイドカバー部21は、レバーアッセンブリ4及びブレードラバー5から脱落しないように装着される。サイドカバー部21は、センターカバー部20(アームカバー部分20b)から連続するように、プライマリレバー2の連結部12の連結孔12aが設けられる部位からセカンダリレバー3の外側のアーム部15を覆うとともに、そこからブレードラバー5の端部まで連続するようにブレードラバー5の端部まで延びている。このサイドカバー部21及び前記センターカバー部20を装着することにより、レバーアッセンブリ4が覆われてブレードラバー5と一体的な外観となる本実施形態のワイパブレード1が構成されている。
そして、このようなカバー部材7を装着してなるワイパブレード1は、サイドカバー部21先端の把持部21dがブレードラバー5端部の基部5aと高さ方向に係合することから、該ブレードラバー5が払拭するガラス表面30aの曲率に応じて屈曲変形すると、その変形に追従するようにサイドカバー部21が連結突起21cを中心として回動する。つまり、サイドカバー部21とブレードラバー5との端部では、該ブレードラバー5が屈曲変形しても隙間が生じず、外観見栄えが良好である。
又、サイドカバー部21の先端の把持部21dがブレードラバー5の端部の基部5aと高さ方向に係合し、ラバー押圧突起21fがブレードラバー5をガラス表面30a側に押圧可能に該ブレードラバー5の上面に当接している。従って、車両走行時にサイドカバー部21のフィン部21bで生じるガラス表面30a側への押圧力が把持部21d及びラバー押圧突起21fからブレードラバー5の端部に直接的に伝わる。そのため、車両走行時において、ブレードラバー5の端部がフィン部21bで生じる押圧力を受けてガラス表面30a側に押圧されるので、ブレードラバー5の端部にて浮き上がりが生じることがより確実に防止され、払拭性能が向上する。しかも、ブレードラバー5がレバーアッセンブリ4の端部に位置する把持部16から該レバーアッセンブリ4の把持部16間の半分以上の長さ突出する追従端部Yを有する本実施形態のワイパブレード1では、特に有効な構造となっている。
次に、このような構成の本実施形態のワイパブレード1の特徴的な作用効果を述べる。
(1)カバー部材7はフィン部20e,21bを有するフィン部材を兼ねており、該カバー部材7を構成するサイドカバー部21は可動フィン部となっている。即ち、可動フィン部であるサイドカバー部21は、ブレードラバー5の屈曲変形に応じて回動するように、該カバー部21の連結突起21cがプライマリレバー2の連結部12の連結孔12aに嵌挿されて該カバー部21の基端部がレバーアッセンブリ4に対して回動可能に連結されている。そして、先端部が把持部21dにてレバーアッセンブリ4の端部に位置する把持部16よりも先端側でブレードラバー5を把持(保持)する。従って、サイドカバー部21の先端の把持部21dがレバーアッセンブリ4の端部に位置する把持部16よりも先端側で、言い換えれば追従端部Yにおいてブレードラバー5を把持するので、車両走行時にサイドカバー部21で生じるガラス表面30a側への押圧力がサイドカバー部21の把持部21dからブレードラバー5の端部に直接的に伝わる。そのため、車両走行時において、ブレードラバー5の端部がサイドカバー部21で生じる押圧力を受けてガラス表面30a側に押圧されるので、ブレードラバー5の端部にて浮き上がりが生じることがより確実に防止され、払拭性能を向上することができる。
(2)サイドカバー部21は、その先端側にブレードラバー5の上面に当接するラバー押圧突起21fを有している。従って、車両走行時にサイドカバー部21で生じるガラス表面30a側への押圧力にてラバー押圧突起21fがブレードラバー5の上面を押圧するので、該ブレードラバー5はガラス表面30a側に確実に押圧される。そのため、これによってもブレードラバー5の端部にて浮き上がりが生じることがより確実に防止されるので、払拭性能をより向上することができる。
(3)フィン部材を兼ねているカバー部材7は、その長手方向に沿ってガラス表面30a(払拭面)と反対側に頂部20d,21aを有し、該頂部20d,21aがワイパブレード1の幅方向の中心線L1に対して該幅方向の一側にオフセットしており、その頂部20d,21aから幅方向の他側においてフィン部20e,21bが形成されている。従って、フィン部20e,21bはワイパブレード1の幅方向の中心線L1からオフセットした頂部20d,21aから形成されるので、カバー部材7の幅方向の大型化を抑えながら、そのフィン部20e,21bの大型化を図ることができる。
(4)フィン部20e,21bは、頂部20d,21aがワイパブレード1の幅方向の中心線L1に対して前記幅方向の他側にオフセットするとともに、該オフセット量X1がレバーアッセンブリ4の長手方向先端側に向かうに従って大きくなるように設定された拡大フィン部を備えている。従って、カバー部材7(フィン部材)の幅方向の大型化を抑えながら、そのフィン部の大型化(フィン機能の向上、つまり、走行風を利用した浮き上がり防止機能、言い換えれば、ブレード押圧力補完機能の向上)が可能となるとともに、フィン部材のフィン部を長手方向先端側に向かうほど徐々に大きく設定でき、ブレードラバー5の端部にて浮き上がりが生じることがより確実に防止され、払拭性能をより向上することができる。
(5)フィン部材を兼ねているカバー部材7は、ブレードラバー5側が開口する凹状に形成され、レバーアッセンブリ4を該開口から内部に収容する。従って、レバーアッセンブリ4がカバー部材7に収容されて覆われるので、ワイパブレード1の外観見栄えが良好である。しかも、カバー部材7はフィン部材を兼ねているので、部品点数の増加を防止することができる。
(6)サイドカバー部21は、対をなしておりワイパブレード1の長手方向におけるワイパアーム8が連結される部分の両側にそれぞれ設けられ、互いが対称形状に形成されている。従って、ワイパブレード1の両側のバランスが良好であり、ワイパブレード1の外観見栄えが向上する。
(7)サイドカバー部21は、プライマリレバー2に対して回動可能に連結されている。従って、サイドカバー部21は、強度及び剛性の高い金属製のプライマリレバー2に回動可能に連結されるので、例えば樹脂製のセンターカバー部20に連結する場合と比べて、その連結が確実である。
(8)サイドカバー部21の基端内側面には連結突起21cが形成され、プライマリレバー2の連結部12には連結突起21cが嵌挿される連結孔12aが形成されている。従って、プライマリレバー2は金属製であるので、該レバー2に形成する連結のための手段を孔としたことで、その形成が突起を形成した場合と比べて容易である。
(9)サイドカバー部21は、基端部が連結突起21cにてプライマリレバー2の連結部12に連結され、先端部が把持部21dにてブレードラバー5の端部に装着される。ブレードラバー5には剛性を有するバッキング6が装着されているので、サイドカバー部21は、両端が剛性を有する部材にそれぞれ支持されて片持ち状とならない。その結果、サイドカバー部21に対して洗車機等から比較的大きな外力が作用しても、該サイドカバー部21がワイパブレード1から脱落したり破損したりすることを抑制することができる。
(10)プライマリレバー2の連結部12に連結されたサイドカバー部21は、回動軸がワイパブレード1の幅方向に延びていることから、該ワイパブレード1の幅方向、即ち払拭方向においては移動不能となる。従って、サイドカバー部21の把持部21dにて把持されるブレードラバー5端部は払拭方向の剛性が向上するため、払拭時のびびり(ガラス表面30aからの飛び)を抑制することができる。
尚、本発明の実施形態は、以下のように変更してもよい。
○上記実施形態では、サイドカバー部21をレバーアッセンブリ4に回動可能に連結したが、センターカバー部20に回動可能に連結する構成であってもよい。
○上記実施形態では、サイドカバー部21に連結突起21cを設け、レバーアッセンブリ4に連結孔12aを設けて、サイドカバー部21を回動可能に連結したが、突起及び孔を逆の部材に形成してもよい。又、突起及び孔以外の連結手段を用いてもよい。例えば、連結ピン17を若干突出若しくは該連結ピン17に孔を形成し、その突出させた連結ピン17若しくは該連結ピン17の孔に対してサイドカバー部21を回動可能に連結するようにしてもよい。又、連結突起21c及び連結孔12aといった連結部分の位置を適宜変更してもよい。
○上記実施形態では、フィン部材を兼ねるカバー部材7(センターカバー部20及びサイドカバー部21)の頂部20d,21aのオフセット量X1を、長手方向全体にわたってカバー部材7の長手方向先端側(ワイパブレード1の長手方向端部側)に向かうに従って大きくなるように設定していた。しかし、長手方向の所定位置から、カバー部材7の長手方向先端側(ワイパブレード1の長手方向端部側)に向かうに従って大きくなるように設定してもよい。即ち、拡大フィン部は、フィン部材の長手方向途中から先端までであってもよい。ここで、「長手方向の所定位置」を、当該位置より先端側で前記オフセット量X1が一定だとワイパーブレードの浮き上がりを抑制する作用が不足する位置として設定することが好ましい。前記所定位置は、ワイパブレードの長さ、幅、形状、材質等によって異なり、特に、レバーアッセンブリを収容したフィン部材を兼ねるカバー部材7の場合には、収容されるレバーアッセンブリの形状によって異なる。従って、拡大フィン部が設けられる位置は、ワイパブレードによって適正位置が異なる。
例えば、図6及び図7に示すワイパブレード1aのように、センターカバー部20の頂部20dのオフセット量X1を一定にし、サイドカバー部21の頂部21aのオフセット量X1を長手方向先端側に向かうに従って徐々に大きくなるように設定してもよい。例えば、図7(a),(c)に示すように、サイドカバー部21は、頂部20dのフィン部21bの下縁からの高さ寸法をh、頂部20dの前記フィン部の下縁と対応する位置までの幅方向の距離をWとするとき、長手方向の基端側においてW<hであり、かつ長手方向先端部においてW>hとなるように設定する。このようにすれば、サイドカバー部21のフィン部21bを長手方向先端側に向かうほど徐々に大きく設定することができ、車両走行時にワイパブレード1(ブレードラバー5)の端部にて浮き上がりが生じることをより確実に防止できる。この実施形態ではサイドカバー部21に形成されたフィン部21bが拡大フィン部を構成する。
○上記実施形態では、1個のセンターカバー部20と2個のサイドカバー部21とで構成されるカバー部材7としたが、カバー部の数はこれに限定されるものではなく、カバー部の数を適宜増減させてもよい。例えば、カバー部材をサイドカバー部のみとし、プライマリレバー2自体をセンターカバー部のような外形形状としてもよい。
○上記実施形態では、1個のプライマリレバー2と2個のセカンダリレバー3とで構成されるレバーアッセンブリ4を用いたが、レバーの数はこれに限定されるものではない。
○上記各実施形態では、レバーアッセンブリ4を構成する複数のレバーが金属製のものについて説明したが、複数のレバーを樹脂製としたり、金属製のレバーと樹脂製のレバーとが混在する構成としたりしてもよい。しかし、金属製の方が必要な強度や剛性を確保するのが容易なため、金属製の方が好ましい。
○上記実施形態では、フィン部材として、可動フィン部を備えて分割された構成のものについて説明したが、フィン部材は分割された構成に限らず、1個のカバー部材でレバーアッセンブリ4及びブレードラバー5を覆う構成としてもよい。例えば、フィン部材としてセンターカバー部20とサイドカバー部21とが一体に形成された構成としてもよい。図8はそのようなフィン部材としてのカバー部材7aの片側部分を示す模式斜視図である。カバー部材7aは、略中央に設けられプライマリレバー2のホルダ部10を覆うホルダカバー部分22aと、該ホルダカバー部分22aの両側(片側部分のみ図示)にそれぞれ設けられてプライマリレバー2のアーム部11、セカンダリレバー3及びブレードラバー5を覆うカバー部分22bとを備えている。カバー部分22bは、その頂部22cのオフセット量X1が長手方向先端側に向かうに従って徐々に大きくなるように設定されている。カバー部分22bには、頂部22cから幅方向の他側においてフィン部22dが一体に形成されている。フィン部22dは拡大フィン部を構成する。また、頂部22cの高さは、フィン部22dの下縁からの高さ寸法をh(hn)、頂部22cのフィン部22dの下縁と対応する位置までの幅方向の距離をW(Wn)とするとき、長手方向の中央側においてW<hであり、かつ長手方向の端部側においてWn>hnとなるように設定されている。フィン部22dの高さ寸法h(hn)及び幅方向の距離W(Wn)を前記のように設定することにより、カバー部材7aの高さがワイパブレードの長手方向の端部側に行くに従って低く形成されても、フィンとして機能する面の減少を抑えて、高さが低くてもより大きなフィン機能面を確保できる。
○上記各実施形態では、頂部20d,21a,22cは、いずれもフィン部のフィン機能を向上させる方向にオフセットされた構成であった。しかし、レバーアッセンブリ4の構造によっては、図9(a),(b)に示すように、ワイパアーム8が連結されるホルダ部近傍において、ワイパブレードの幅方向の中心線L1よりもフィン機能を低減させてしまう方向にオフセットしてしまう部位があっても、途中から先端部までがフィン機能を向上させる拡大フィン部23となっていればよい。
○上記各実施形態では、可動カバー部は、その先端部がレバーアッセンブリ4の端部に位置する把持部16よりも先端側でブレードラバー5を直接保持する構成としたが、ブレードラバー5を間接的に保持する構成としてもよい。例えば、図10(a),(b)に示すように、バッキング6として、その一部がブレードラバー5のバッキング装着溝5cから突出する幅のものを使用する。そして、図10(b)に示すように、サイドカバー部21に形成された把持部21dは、バッキング装着溝5cから突出したバッキング6の部分を把持することにより間接的にブレードラバー5を保持する構成とする。このとき、セカンダリレバー3の両端部に設けられる把持部16は、図10(a)に示すように、ブレードラバー5の基部5aを把持してブレードラバー5を保持する構成であっても、図11に示すように、把持部16がバッキング装着溝5cから突出したバッキング6の部分と係合する状態でブレードラバー5を保持する構成であってもよい。
次に、上記実施形態及び別例から把握できる技術的思想を以下に追記する。
(イ) 請求項1〜3のいずれか1項に記載のワイパブレードにおいて、
前記可動フィン部は、ワイパブレードの長手方向における前記ワイパアームが連結される部分の両側にそれぞれ設けられ、互いが同一形状又は対称形状に形成されていることを特徴とするワイパブレード。
これによれば、可動フィン部は、ワイパブレードの長手方向におけるワイパアームが連結される部分の両側にそれぞれ設けられ、互いが同一形状又は対称形状に形成される。従って、ワイパブレードの両側のバランスが良くなり、ワイパブレードの外観見栄えが良好となる。
(ロ) 請求項1〜3,上記(イ)のいずれか1項に記載のワイパブレードにおいて、
前記可動フィン部は、前記レバーアッセンブリを構成する金属製のレバーに対して回動可能に連結されていることを特徴とするワイパブレード。
これによれば、可動フィン部は、レバーアッセンブリを構成する金属製のレバーに対して回動可能に連結される。従って、可動フィン部は、強度及び剛性の高い金属製のレバーに回動可能に連結されるので、その連結が確実となる。
(ハ) 上記(ロ)に記載のワイパブレードにおいて、
前記可動フィン部には、基端部に連結突起が形成され、
前記レバーには、前記連結突起が嵌挿され前記可動フィン部と回動可能に連結する連結孔が形成されていることを特徴とするワイパブレード。
これによれば、可動フィン部の基端部には連結突起が形成され、レバーには連結突起が嵌挿され可動フィン部と回動可能に連結する連結孔が形成される。従って、レバーは金属製であるので、該レバーに形成する連結のための手段を孔としたことで、その形成が突起を形成した場合と比べて容易となる。
(a)は、本実施形態におけるカバー部材を装着したワイパブレードの側面図、(b)は、カバー部材を装着する前のワイパブレードの側面図。 (a)(b)は、図1の要部拡大図。 ワイパブレードの分解斜視図。 (a)は、図2(a)のA−A断面図、(b)は、図2(a)のB−B断面図、(c)は、図2(a)のC−C断面図。 (a)は、図2(a)のD−D断面図、(b)は、図2(a)のE−E断面図、(c)は、図2(a)のF−F断面図。 別例におけるワイパブレードの斜視図。 (a)は、図6のD’−D’断面図、(b)は、図6のE’−E’断面図、(c)は、図6のF’−F’断面図。 他の別例におけるカバー部材の片側部分の模式斜視図。 (a)は、他の別例におけるカバー部材の片側部分の模式斜視図、(b)は、同じく模式平面図。 (a)は、図5(b)に対応する変形例の断面図、(b)は、図5(c)に対応する変形例の断面図。 は、図5(b)に対応する変形例の断面図。
符号の説明
1,1a…ワイパブレード、2…レバーとしてのプライマリレバー、3…レバーとしてのセカンダリレバー、4…レバーアッセンブリ、5ブレードラバー、6…バッキング、7,7a…フィン部材を構成するカバー部材、8…ワイパアーム、16…把持部、21…可動フィン部としてのサイドカバー部、20d,21a,22c…頂部、20e,21b,22d…フィン部、21f…ラバー当接部としてのラバー押圧突起、23…拡大フィン部、30a…払拭面としてのガラス表面、h…高さ寸法、L1…中心線、W…幅方向の距離、X1…オフセット量。

Claims (3)

  1. ワイパアームと連結され、複数個のレバーがトーナメント状に連結されて構成されて複数個の把持部を有するレバーアッセンブリと、該レバーアッセンブリにて保持されるブレードラバーと、前記レバーアッセンブリの長手方向に沿って取り付けられ車両走行時に生じる走行風を受けると前記ブレードラバーを払拭面側に押し付ける力を生じさせるフィン部材と、を備えたワイパブレードであって、
    前記フィン部材は、前記長手方向に沿って前記払拭面と反対側に頂部を有すると共に、該頂部から前記ワイパブレードの幅方向の一側においてフィン部が形成され、
    前記フィン部は、前記頂部が前記ワイパブレードの幅方向の中心線に対して前記幅方向の他側にオフセットするとともに、該オフセット量が前記長手方向先端側に向かうに従って大きくなるように設定された拡大フィン部を、少なくとも前記長手方向の所定位置から端部側に有していることを特徴とするワイパブレード。
  2. 請求項1に記載のワイパブレードにおいて、
    前記フィン部材は、前記ブレードラバー側が開口する凹状に形成され前記レバーアッセンブリを該開口から内部に収容するカバー部材に一体に形成されていることを特徴とするワイパブレード。
  3. 請求項1又は2に記載のワイパブレードにおいて、
    前記フィン部材は、前記頂部の前記フィン部の下縁からの高さ寸法をh、前記頂部の前記フィン部の下縁と対応する位置までの前記幅方向の距離をWとするとき、
    前記長手方向の中央部側においてW<hであり、かつ前記長手方向の端部側においてW>hとなるように設定されていることを特徴とするワイパブレード。
JP2004239848A 2004-01-30 2004-08-19 ワイパブレード Expired - Lifetime JP4267537B2 (ja)

Priority Applications (8)

Application Number Priority Date Filing Date Title
JP2004239848A JP4267537B2 (ja) 2004-03-18 2004-08-19 ワイパブレード
DE602004031192T DE602004031192D1 (de) 2004-01-30 2004-12-28 Wischerblatt
EP10005753A EP2230140B1 (en) 2004-01-30 2004-12-28 Wiper blade
EP04030904A EP1559623B1 (en) 2004-01-30 2004-12-28 Wiper blade
US11/022,893 US7603742B2 (en) 2004-01-30 2004-12-28 Wiper blade and wiper system having the same
EP10005754A EP2258592B1 (en) 2004-01-30 2004-12-28 Wiper blade
KR1020040117188A KR101050819B1 (ko) 2004-01-30 2004-12-30 와이퍼 블레이드 및 이를 구비한 와이퍼 시스템
CN200510003791.4A CN1647980B (zh) 2004-01-30 2005-01-11 刮水片和具有该刮水片的擦拭系统

Applications Claiming Priority (2)

Application Number Priority Date Filing Date Title
JP2004078948 2004-03-18
JP2004239848A JP4267537B2 (ja) 2004-03-18 2004-08-19 ワイパブレード

Publications (2)

Publication Number Publication Date
JP2005297941A true JP2005297941A (ja) 2005-10-27
JP4267537B2 JP4267537B2 (ja) 2009-05-27

Family

ID=35329988

Family Applications (1)

Application Number Title Priority Date Filing Date
JP2004239848A Expired - Lifetime JP4267537B2 (ja) 2004-01-30 2004-08-19 ワイパブレード

Country Status (1)

Country Link
JP (1) JP4267537B2 (ja)

Cited By (4)

* Cited by examiner, † Cited by third party
Publication number Priority date Publication date Assignee Title
WO2007137891A1 (de) * 2006-05-26 2007-12-06 Robert Bosch Gmbh Wischblatt mit mindestens einem tragelement und einem spoiler
JP2009519857A (ja) * 2005-12-19 2009-05-21 ローベルト ボツシユ ゲゼルシヤフト ミツト ベシユレンクテル ハフツング 接続エレメント
JP2013538737A (ja) * 2010-09-30 2013-10-17 フェデラル−モグル エス.エー. フロントガラスワイパ装置
JP2014139070A (ja) * 2012-12-10 2014-07-31 Valeo Systemes D'essuyage フロントガラスワイパー

Cited By (6)

* Cited by examiner, † Cited by third party
Publication number Priority date Publication date Assignee Title
JP2009519857A (ja) * 2005-12-19 2009-05-21 ローベルト ボツシユ ゲゼルシヤフト ミツト ベシユレンクテル ハフツング 接続エレメント
JP4881394B2 (ja) * 2005-12-19 2012-02-22 ローベルト ボツシユ ゲゼルシヤフト ミツト ベシユレンクテル ハフツング 接続エレメント
US8191201B2 (en) 2005-12-19 2012-06-05 Robert Bosch Gmbh Connection element
WO2007137891A1 (de) * 2006-05-26 2007-12-06 Robert Bosch Gmbh Wischblatt mit mindestens einem tragelement und einem spoiler
JP2013538737A (ja) * 2010-09-30 2013-10-17 フェデラル−モグル エス.エー. フロントガラスワイパ装置
JP2014139070A (ja) * 2012-12-10 2014-07-31 Valeo Systemes D'essuyage フロントガラスワイパー

Also Published As

Publication number Publication date
JP4267537B2 (ja) 2009-05-27

Similar Documents

Publication Publication Date Title
JP4202940B2 (ja) ワイパブレード
JP4823072B2 (ja) ワイパブレード
US8347450B2 (en) Wiper blade
JP4293465B2 (ja) ワイパブレード
EP2258592B1 (en) Wiper blade
US9862356B2 (en) Wiper blade
US4293974A (en) Arm to blade connector
JP4267537B2 (ja) ワイパブレード
JP4203069B2 (ja) ワイパブレード
JP2005297940A (ja) ワイパブレード
JP4227156B2 (ja) ワイパブレード
JP4589864B2 (ja) ワイパブレード
JP4153445B2 (ja) ワイパブレード
US9950694B2 (en) Windscreen wiper device
JP4227052B2 (ja) ワイパブレード
JP2002370622A (ja) ワイパブレード
JP4227083B2 (ja) ワイパブレード
JP2007055589A (ja) ワイパ装置
JP4294543B2 (ja) ワイパブレード
JP4815327B2 (ja) ワイパブレード
JP2008037387A (ja) ワイパー装置
JP2008238868A (ja) ワイパーブレード
JP4714519B2 (ja) ワイパーアーム用ストッパ部材及びワイパーアーム
JP2004189185A (ja) ワイパブレード及びワイパ装置
JP4504129B2 (ja) 車両用ワイパー装置

Legal Events

Date Code Title Description
A621 Written request for application examination

Free format text: JAPANESE INTERMEDIATE CODE: A621

Effective date: 20060822

A131 Notification of reasons for refusal

Free format text: JAPANESE INTERMEDIATE CODE: A131

Effective date: 20081111

A521 Request for written amendment filed

Free format text: JAPANESE INTERMEDIATE CODE: A523

Effective date: 20090107

TRDD Decision of grant or rejection written
A01 Written decision to grant a patent or to grant a registration (utility model)

Free format text: JAPANESE INTERMEDIATE CODE: A01

Effective date: 20090217

A01 Written decision to grant a patent or to grant a registration (utility model)

Free format text: JAPANESE INTERMEDIATE CODE: A01

A61 First payment of annual fees (during grant procedure)

Free format text: JAPANESE INTERMEDIATE CODE: A61

Effective date: 20090218

R150 Certificate of patent or registration of utility model

Ref document number: 4267537

Country of ref document: JP

Free format text: JAPANESE INTERMEDIATE CODE: R150

Free format text: JAPANESE INTERMEDIATE CODE: R150

FPAY Renewal fee payment (event date is renewal date of database)

Free format text: PAYMENT UNTIL: 20120227

Year of fee payment: 3

FPAY Renewal fee payment (event date is renewal date of database)

Free format text: PAYMENT UNTIL: 20130227

Year of fee payment: 4

FPAY Renewal fee payment (event date is renewal date of database)

Free format text: PAYMENT UNTIL: 20130227

Year of fee payment: 4

FPAY Renewal fee payment (event date is renewal date of database)

Free format text: PAYMENT UNTIL: 20140227

Year of fee payment: 5

R250 Receipt of annual fees

Free format text: JAPANESE INTERMEDIATE CODE: R250

R250 Receipt of annual fees

Free format text: JAPANESE INTERMEDIATE CODE: R250

R250 Receipt of annual fees

Free format text: JAPANESE INTERMEDIATE CODE: R250

R250 Receipt of annual fees

Free format text: JAPANESE INTERMEDIATE CODE: R250

S111 Request for change of ownership or part of ownership

Free format text: JAPANESE INTERMEDIATE CODE: R313111

R360 Written notification for declining of transfer of rights

Free format text: JAPANESE INTERMEDIATE CODE: R360

R360 Written notification for declining of transfer of rights

Free format text: JAPANESE INTERMEDIATE CODE: R360

R371 Transfer withdrawn

Free format text: JAPANESE INTERMEDIATE CODE: R371

S111 Request for change of ownership or part of ownership

Free format text: JAPANESE INTERMEDIATE CODE: R313111

R350 Written notification of registration of transfer

Free format text: JAPANESE INTERMEDIATE CODE: R350

R250 Receipt of annual fees

Free format text: JAPANESE INTERMEDIATE CODE: R250

R250 Receipt of annual fees

Free format text: JAPANESE INTERMEDIATE CODE: R250

R250 Receipt of annual fees

Free format text: JAPANESE INTERMEDIATE CODE: R250

R250 Receipt of annual fees

Free format text: JAPANESE INTERMEDIATE CODE: R250

R250 Receipt of annual fees

Free format text: JAPANESE INTERMEDIATE CODE: R250

R250 Receipt of annual fees

Free format text: JAPANESE INTERMEDIATE CODE: R250

EXPY Cancellation because of completion of term