JP2005297062A - 内面螺旋溝付管の製造方法及びその装置 - Google Patents
内面螺旋溝付管の製造方法及びその装置 Download PDFInfo
- Publication number
- JP2005297062A JP2005297062A JP2005072289A JP2005072289A JP2005297062A JP 2005297062 A JP2005297062 A JP 2005297062A JP 2005072289 A JP2005072289 A JP 2005072289A JP 2005072289 A JP2005072289 A JP 2005072289A JP 2005297062 A JP2005297062 A JP 2005297062A
- Authority
- JP
- Japan
- Prior art keywords
- plug
- spiral
- mandrel
- tube
- extrusion
- Prior art date
- Legal status (The legal status is an assumption and is not a legal conclusion. Google has not performed a legal analysis and makes no representation as to the accuracy of the status listed.)
- Granted
Links
- 238000004519 manufacturing process Methods 0.000 title claims abstract description 25
- 238000000034 method Methods 0.000 title claims abstract description 13
- 238000001125 extrusion Methods 0.000 claims abstract description 52
- 239000007769 metal material Substances 0.000 claims abstract description 8
- 238000003825 pressing Methods 0.000 claims abstract description 6
- 229910000838 Al alloy Inorganic materials 0.000 description 4
- 238000000465 moulding Methods 0.000 description 4
- 238000013459 approach Methods 0.000 description 1
- 238000010586 diagram Methods 0.000 description 1
- 239000000463 material Substances 0.000 description 1
- 238000012805 post-processing Methods 0.000 description 1
- 238000004804 winding Methods 0.000 description 1
Images
Landscapes
- Extrusion Of Metal (AREA)
Abstract
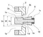
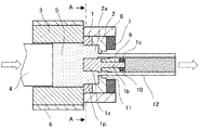
【解決手段】 金属材料の押出成形により内面螺旋溝付管12を製造する方法において、外周に複数の螺旋状の突部9aを有するプラグ9をマンドレル1よりも押出方向前方に設け、プラグ9の最大外接円9gの直径9fをマンドレル1の外径1hより大きく設定し、ビレット5をダイス2とマンドレル1の間から押し出して押出管11を形成し、該押出管11をプラグ9に押し付けて内面11bに螺旋溝12cを形成することを特徴とする。
【選択図】 図1
Description
1h マンドレルの外径
1p、51p ポート孔
2 ダイス
3 コンテナ
4 ステム
5 ビレット(金属材料)
9 プラグ
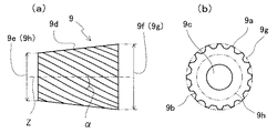
9a 突部
9b 凹部
9e プラグ9の後端の外接円
9f プラグ9の前端の外接円(最大外接円)
9g 外接円9fの直径
9h 外接円9eの直径
11 押出管
11a 押出管11の外面
11b 押出管11の内面
12 内面螺旋溝付管
12a 内面螺旋溝付管12の外面
12b 内面螺旋溝付管12の内面
12c 螺旋溝
Claims (6)
- 金属材料の押出成形により内面螺旋溝付管を製造する方法において、外周に複数の螺旋状の突部を有するプラグをマンドレルよりも押出方向前方に設け、前記プラグの最大外接円の直径を前記マンドレルの外径より大きく設定し、金属材料をダイスと前記マンドレルの間から押し出して押出管を形成し、該押出管を前記プラグに押し付けて内面に螺旋溝を形成することを特徴とする内面螺旋溝付管の製造方法。
- 前記プラグは、押出方向前方に向って拡径した形状であることを特徴とする請求項1に記載の内面螺旋溝付管の製造方法。
- 前記プラグは回転自在になっており、前記押出管を前記プラグに押し付けて前記プラグを回転させながら内面に螺旋溝を形成することを特徴とする請求項2に記載の内面螺旋溝付管の製造方法。
- 前記マンドレルのポート孔は、前記プラグの螺旋状の突部と同じねじれ方向又は反対のねじれ方向にねじらせて形成した形状であることを特徴とする請求項3に記載の内面螺旋溝付管の製造方法。
- 外周に複数の螺旋状の突部を有するプラグを用いて内面螺旋溝付管を押出成形する製造装置であって、前記プラグを押出方向前方に向って拡径した形状にしたことを特徴とする内面螺旋溝付管の製造装置。
- 前記プラグをマンドレル及びダイスよりも押出方向前方に設けるとともに、前記プラグの最大外接円の直径を前記マンドレルの外径より大きく設定したことを特徴とする請求項5に記載の内面螺旋溝付管の製造装置。
Priority Applications (1)
| Application Number | Priority Date | Filing Date | Title |
|---|---|---|---|
| JP2005072289A JP4708820B2 (ja) | 2004-03-16 | 2005-03-15 | 内面螺旋溝付管の製造方法及びその装置 |
Applications Claiming Priority (3)
| Application Number | Priority Date | Filing Date | Title |
|---|---|---|---|
| JP2004075207 | 2004-03-16 | ||
| JP2004075207 | 2004-03-16 | ||
| JP2005072289A JP4708820B2 (ja) | 2004-03-16 | 2005-03-15 | 内面螺旋溝付管の製造方法及びその装置 |
Publications (2)
| Publication Number | Publication Date |
|---|---|
| JP2005297062A true JP2005297062A (ja) | 2005-10-27 |
| JP4708820B2 JP4708820B2 (ja) | 2011-06-22 |
Family
ID=35329238
Family Applications (1)
| Application Number | Title | Priority Date | Filing Date |
|---|---|---|---|
| JP2005072289A Expired - Lifetime JP4708820B2 (ja) | 2004-03-16 | 2005-03-15 | 内面螺旋溝付管の製造方法及びその装置 |
Country Status (1)
| Country | Link |
|---|---|
| JP (1) | JP4708820B2 (ja) |
Cited By (4)
| Publication number | Priority date | Publication date | Assignee | Title |
|---|---|---|---|---|
| KR100982534B1 (ko) | 2008-03-26 | 2010-09-16 | 한국생산기술연구원 | 이음매가 없는 반용융 압출 튜브 제조 방법 및 그 장치 |
| KR101287614B1 (ko) | 2012-05-08 | 2013-07-19 | (주)휘일 | 나선형 리브 파이프의 압출장치 |
| US8584501B2 (en) | 2008-01-14 | 2013-11-19 | Korea Institute Of Industrial Technology | Forming device for thixoextrusion and method thereof |
| CN106623474A (zh) * | 2017-01-17 | 2017-05-10 | 辽源飞跃工模具有限公司 | 一种管内外带有螺旋形翅片型材的挤压模具 |
Citations (5)
| Publication number | Priority date | Publication date | Assignee | Title |
|---|---|---|---|---|
| JPS63235020A (ja) * | 1987-03-24 | 1988-09-30 | Sumitomo Metal Ind Ltd | 熱間押出し製管法 |
| JPH01215408A (ja) * | 1988-02-23 | 1989-08-29 | Showa Alum Corp | ローター等に使用されるねじり成形品の製造方法 |
| JPH06297032A (ja) * | 1993-04-15 | 1994-10-25 | Ishikawajima Harima Heavy Ind Co Ltd | ねじれ体の押出成形方法および押出成形装置 |
| JPH09295040A (ja) * | 1996-05-10 | 1997-11-18 | Hitachi Cable Ltd | 内面加工金属管の製造方法 |
| JPH10166033A (ja) * | 1996-12-11 | 1998-06-23 | Hitachi Cable Ltd | 内面螺旋フィン付金属管の製造方法 |
-
2005
- 2005-03-15 JP JP2005072289A patent/JP4708820B2/ja not_active Expired - Lifetime
Patent Citations (5)
| Publication number | Priority date | Publication date | Assignee | Title |
|---|---|---|---|---|
| JPS63235020A (ja) * | 1987-03-24 | 1988-09-30 | Sumitomo Metal Ind Ltd | 熱間押出し製管法 |
| JPH01215408A (ja) * | 1988-02-23 | 1989-08-29 | Showa Alum Corp | ローター等に使用されるねじり成形品の製造方法 |
| JPH06297032A (ja) * | 1993-04-15 | 1994-10-25 | Ishikawajima Harima Heavy Ind Co Ltd | ねじれ体の押出成形方法および押出成形装置 |
| JPH09295040A (ja) * | 1996-05-10 | 1997-11-18 | Hitachi Cable Ltd | 内面加工金属管の製造方法 |
| JPH10166033A (ja) * | 1996-12-11 | 1998-06-23 | Hitachi Cable Ltd | 内面螺旋フィン付金属管の製造方法 |
Cited By (6)
| Publication number | Priority date | Publication date | Assignee | Title |
|---|---|---|---|---|
| US8584501B2 (en) | 2008-01-14 | 2013-11-19 | Korea Institute Of Industrial Technology | Forming device for thixoextrusion and method thereof |
| US8650927B1 (en) | 2008-01-14 | 2014-02-18 | Korea Institute Of Industrial Technology | Forming device for thixoextrusion and method thereof |
| DE112008003618B4 (de) | 2008-01-14 | 2019-02-21 | Korea Institute Of Industrial Technology | Formapparatur zur Thixoextrusion |
| KR100982534B1 (ko) | 2008-03-26 | 2010-09-16 | 한국생산기술연구원 | 이음매가 없는 반용융 압출 튜브 제조 방법 및 그 장치 |
| KR101287614B1 (ko) | 2012-05-08 | 2013-07-19 | (주)휘일 | 나선형 리브 파이프의 압출장치 |
| CN106623474A (zh) * | 2017-01-17 | 2017-05-10 | 辽源飞跃工模具有限公司 | 一种管内外带有螺旋形翅片型材的挤压模具 |
Also Published As
| Publication number | Publication date |
|---|---|
| JP4708820B2 (ja) | 2011-06-22 |
Similar Documents
| Publication | Publication Date | Title |
|---|---|---|
| JP2009220153A (ja) | 内面螺旋溝付管の製造方法及びその装置 | |
| JP3792690B2 (ja) | 熱交換器用の異形伝熱管の製造方法 | |
| US4779440A (en) | Extrusion tool for producing hard-metal or ceramic drill blank | |
| JP4708820B2 (ja) | 内面螺旋溝付管の製造方法及びその装置 | |
| JP5871269B2 (ja) | スパイラル管押出成形方法及びスパイラル管押出成形機 | |
| WO2012157768A1 (ja) | 管材製造装置、管材製造方法、および、管材 | |
| JP2000202569A (ja) | 中空ラック軸の製造方法 | |
| JP2002361320A (ja) | 摩擦押出方法及び該方法に用いるツール | |
| CN1183067A (zh) | 具有成型夹爪的卡盘 | |
| CN116390822A (zh) | 滚珠丝杠驱动器的螺纹螺母和用于生产该螺纹螺母的方法 | |
| JP2017064905A (ja) | 溝形成工具 | |
| JP5040686B2 (ja) | 鍛造用金型及びその加工方法、並びに歯車鍛造装置及び歯車鍛造方法 | |
| JP3111896B2 (ja) | 内面加工金属管の製造方法 | |
| JPH10166085A (ja) | 内面溝付管の押出し成形方法 | |
| JPH10166036A (ja) | 内面溝付管の製造方法及びその装置 | |
| JP2013202615A (ja) | 拡管ビレット、拡管装置、及び熱交換器 | |
| JPH1110268A (ja) | 外面溝付管の製造方法 | |
| EP3615270B1 (en) | Planetary reform roller and method of reforming a vessel cavity | |
| JP2013018042A (ja) | 内歯ヘリカルギア製造用マンドレル、内歯ヘリカルギア製造装置、及び、内歯ヘリカルギアの製造方法 | |
| JPH11319934A (ja) | 内面溝付管の製造方法及びその装置 | |
| JP4009261B2 (ja) | パイプの端部構造及びパイプの端部加工方法 | |
| WO2014119120A1 (ja) | 鍛造装置および鍛造方法 | |
| JPH06207623A (ja) | ステアリングロッド及びその製造方法 | |
| JP2007111740A (ja) | ねじ軸形成方法及びボールねじ機構のねじ軸 | |
| JP2005138149A (ja) | 内面溝付管の製造方法及び装置 |
Legal Events
| Date | Code | Title | Description |
|---|---|---|---|
| A621 | Written request for application examination |
Free format text: JAPANESE INTERMEDIATE CODE: A621 Effective date: 20071218 |
|
| A977 | Report on retrieval |
Free format text: JAPANESE INTERMEDIATE CODE: A971007 Effective date: 20101111 |
|
| A131 | Notification of reasons for refusal |
Free format text: JAPANESE INTERMEDIATE CODE: A131 Effective date: 20101207 |
|
| A521 | Written amendment |
Free format text: JAPANESE INTERMEDIATE CODE: A523 Effective date: 20110112 |
|
| RD02 | Notification of acceptance of power of attorney |
Free format text: JAPANESE INTERMEDIATE CODE: A7422 Effective date: 20110112 |
|
| A01 | Written decision to grant a patent or to grant a registration (utility model) |
Free format text: JAPANESE INTERMEDIATE CODE: A01 Effective date: 20110307 |
|
| A61 | First payment of annual fees (during grant procedure) |
Free format text: JAPANESE INTERMEDIATE CODE: A61 Effective date: 20110317 |
