JP2005296930A - 浄水器用浄化材およびこれを用いた上水浄化方法並びに浄水器 - Google Patents

浄水器用浄化材およびこれを用いた上水浄化方法並びに浄水器 Download PDF

Info

Publication number
JP2005296930A
JP2005296930A JP2004348107A JP2004348107A JP2005296930A JP 2005296930 A JP2005296930 A JP 2005296930A JP 2004348107 A JP2004348107 A JP 2004348107A JP 2004348107 A JP2004348107 A JP 2004348107A JP 2005296930 A JP2005296930 A JP 2005296930A
Authority
JP
Japan
Prior art keywords
water
solution
anion
acid
charcoal
Prior art date
Legal status (The legal status is an assumption and is not a legal conclusion. Google has not performed a legal analysis and makes no representation as to the accuracy of the status listed.)
Granted
Application number
JP2004348107A
Other languages
English (en)
Other versions
JP2005296930A5 (ja
JP3828133B2 (ja
Inventor
Satoshi Hayashi
聡 林
Michihide Yokoyama
理英 横山
Current Assignee (The listed assignees may be inaccurate. Google has not performed a legal analysis and makes no representation or warranty as to the accuracy of the list.)
Nisshoku Corp
Original Assignee
Nisshoku Corp
Priority date (The priority date is an assumption and is not a legal conclusion. Google has not performed a legal analysis and makes no representation as to the accuracy of the date listed.)
Filing date
Publication date
Application filed by Nisshoku Corp filed Critical Nisshoku Corp
Priority to JP2004348107A priority Critical patent/JP3828133B2/ja
Publication of JP2005296930A publication Critical patent/JP2005296930A/ja
Publication of JP2005296930A5 publication Critical patent/JP2005296930A5/ja
Application granted granted Critical
Publication of JP3828133B2 publication Critical patent/JP3828133B2/ja
Anticipated expiration legal-status Critical
Expired - Fee Related legal-status Critical Current

Links

Images

Landscapes

  • Treatment Of Water By Ion Exchange (AREA)
  • Water Treatment By Sorption (AREA)
  • Solid-Sorbent Or Filter-Aiding Compositions (AREA)

Abstract

【課題】 安価で環境に優しく陰イオン吸着性に優れた浄水器用浄化材およびこれを用いた上水浄化方法並びに浄水器を提供すること。
【解決手段】 原料植物5を炭化処理して得られる炭化物9に酸溶液を接触させることにより陰イオン吸着特性を持たせた炭素材料9Sからなるか、または前記炭素材料9Sを含む。
【選択図】 図1

Description

本発明は、硝酸イオン、亜硝酸イオン、フッ化物イオン等の陰イオンを吸着する浄水器用浄化材およびこれを用いた上水浄化方法並びに浄水器に関する。
重金属、農薬、有機塩素化合物による水質や土壌の汚染は、環境を破壊するものとして問題になっている。これらの有害物質は活性炭やゼオライト等の吸着材で吸着除去することができるが、陰イオンの形態で存在する硝酸性窒素または亜硝酸性窒素、フッ素、ヒ素、シアン等は吸着材による処理が難しいのが現状である。
例えば、硝酸性窒素や亜硝酸性窒素は、茶畑やゴルフ場芝地等の植物培養廃水に含まれる施肥による地下水汚染が深刻な問題となっており、その対策が必要であるが、有効な方法が見出されていない。また、化学工場、石油精製工場、鉄鋼・鋼材製造工場、製紙工場、半導体工場、産業廃棄物貯留場、繊維製造業における紡糸工場、食品工場からの廃水、さらには生活排水等に含まれる硝酸イオンや亜硝酸性イオンは、マイナス電荷を持ち、他の物と結合して難溶性の塩にならないため、マイナスに荷電している土壌から最も溶脱しやすく、現在、地下水等の水質汚染が大きな問題となっている上、最近では環境ホルモンである疑いが出てきている。
そこで、河川や地下水などを水源として使用するときには、採取した水から硝酸性窒素成分を除去する必要がある。そして、その方法として脱窒菌を用いる方法も考えられているが、脱窒菌によって硝酸性窒素を除去するためには、嫌気条件を守りながら、水素供与体であるメタノール等の有機物の存在下で硝酸性窒素を還元しながら脱窒菌を増殖させて脱窒を行なう必要があり、運転操作が煩雑であり、維持管理に手間と費用がかかるという問題があった。このため、硝酸性窒素成分の除去は浄水場施設などの大がかりな施設を設けてしか行なえなかった。
特許文献1は、陰イオン交換樹脂と炭酸カルシウムとを組み合わせることにより、安全に上水から硝酸態窒素を除去する浄水器を示している。ところが、この陰イオン交換樹脂は高価な材料であると共に、特定の陰イオンに対してのみ作用する専用の合成樹脂であるから浄水器の製造コストが引き上げられるという問題があった。
また、河川や地下水にはフッ素も含まれている場合があり、フッ化物イオンは有害なイオン種であるから、水道水などの上水の精製のために採取した水に何らかの処理をして、上水からフッ化物イオンを排出する必要がある。
そこで、水源から得られる水に含まれるフッ素にカルシウム化合物を添加し、フッ化カルシウムとしてこれを除去する方法が考えられるが、活性アルミナやフッ素用の陰イオン交換樹脂による吸着塔の設置が必要であるから、大がかりで費用のかかる装置や施設を必要としていた。特に高価な専用の陰イオン交換樹脂が必要となるという問題があった。
一方、採取した水からフッ素を除去するために、吸着材を利用する方法としては、樹脂母体に金属水和物を担持させたもの又はイオン交換樹脂に金属を吸着させたものや、陽イオン交換樹脂にトリウム、ジルコニウム、チタニウムなどの金属イオンを吸着させたフッ化物イオン吸着材などが考えられている。しかしながら、これらの吸着材は吸着速度が遅いという問題があった。
上述のように、硝酸イオンをはじめとする上記陰イオンを吸着する安価な材料は、現在のところなく、安価にて製造可能でありながら各家庭で飲料水などに用いる上水から容易かつ効果的に陰イオンを取り除くことができ、環境にやさしい浄水器が望まれていた。
特開平10−80682号公報 特開平10−165824号公報
ところで、木炭は、活性炭とともに代表的な多孔質炭素材料であり、この木炭は、極めて安価な調湿材、河川浄化材、土壌改良材などとして広く用いられており、例えば、排ガス中の塩素系ガスや硫黄酸化物などの除去にも利用されている。これは、活性炭と同様に、多孔質炭素材料の内部の微細孔による吸着特性を利用しているに過ぎず、陰イオンの形態で存在する硝酸性窒素または亜硝酸性窒素あるいはフッ素、ヒ素、シアンなどはほとんど吸着しない。
本発明は、上述の事柄を考慮に入れてなされたものであって、その目的は、安価で環境に優しく陰イオン吸着性に優れた浄水器用浄化材およびこれを用いた上水浄化方法並びに浄水器を提供することである。
第1発明の浄水器用浄化材は、原料植物を炭化処理して得られる炭化物に酸溶液を接触させることにより陰イオン吸着特性を持たせた炭素材料からなるか、または前記炭素材料を含むことを特徴としている(請求項1)。
また、第2発明の浄水器用浄化材は、カルシウム導入処理した原料植物を炭化処理して得られる炭化物に酸溶液を接触させることにより陰イオン吸着特性を持たせた炭素材料からなるか、または前記炭素材料を含むことを特徴としている(請求項2)。原料植物にカルシウムイオンを含む溶液を接触させることにより前記カルシウム導入処理がなされていることが好ましい(請求項3)。
すなわち、本発明者らは、酸溶液を炭化物に接触させて得られた材料について陰イオンの吸着性能を検討した結果、天然繊維、木質材料等の原料植物(植物からなる原料)に対する炭化処理温度、酸の濃度にも依るが、得られた材料が優れた陰イオンの吸着性能を有することを知見するに至った。
例えば、原料植物としての木材を炭化して得られる木炭に、塩酸(HCl)、硫酸(H2 SO4 )等の酸溶液を接触(酸処理)させれば、陰イオンの吸着能が発現されるのを本発明者らは見出した。これは炭化物の微細孔壁面に形成された官能基に、吸着対象の陰イオンとイオン交換可能である陰イオンが結合したためである。なお、酸溶液を炭化物に接触させる方法としては、酸溶液の滴下、塗布、吹付、噴霧などが可能であるが、炭化物を酸溶液に浸漬させることが最も効果的である。
さらに、前記原料植物を炭化する前に、当該原料植物にカルシウムイオンを含む溶液(陽イオンとして主にカルシウムイオンが含まれるのが望ましい)、例えば水酸化カルシウム(Ca(OH)2 )の飽和水溶液(石灰水)または懸濁液(石灰乳)を接触させて、原料植物にCaを導入しておき、その後、このCa導入材を炭化し、得られたCa導入炭をHCl、H2 SO4 等の酸で処理すると、より優れた陰イオン吸着特性が得られることを本発明者らは見出した。なお、カルシウムイオンを含む溶液を原料植物に接触させる方法としては、前記溶液の滴下、塗布、吹付、噴霧などが可能であるが、原料植物を前記溶液に浸漬させることが最も効果的である。
カルシウムを含む溶液としては、石灰水、石灰乳の他、酢酸カルシウム溶液や塩化カルシウム溶液等が挙げられ、カルシウムとして0.03〜30重量%、より好ましくは0.1〜7.0重量%含まれるものが好適である。
また、炭化処理後の原料植物の接触処理に用いる酸溶液は、HCl、H2 SO4 といった、浄水器用浄化材の製造時において排水処理に支障のない酸溶液を用いるのが好ましい。そして、この酸溶液の濃度は、0.01mol/L以上(請求項4)が好ましい。これは、酸溶液濃度が0.01mol/Lを下回ると、十分な吸着特性が得られないからである。なお、より詳しくは、前記酸溶液濃度は0.01mol/L〜20mol/Lであり、好ましくは0.1mol/L〜10mol/Lである。また、酸溶液としては、吸着対象陰イオンとイオン交換可能な陰イオンを含むものが望ましいが、炭化前に植物からなる材料を接触させる溶液中に、吸着対象陰イオンとイオン交換が可能な陰イオンを含む場合はこの限りではない。
また、本発明者らは、鋭意研究の結果、植物からなる原料を炭化する前に、当該原料に予め金属塩化物を含む溶液、例えばCaCl2 を含む溶液を接触させて原料内にCaCl2 を導入しておき、その後、このCaCl2 を導入した原料を炭化すれば、これにより得られる炭化材料が優れた陰イオンの吸着性能を有することを知見するに至った。
したがって、第3発明の浄水器用浄化材は、金属塩化物を導入処理した原料植物を炭化処理することによりその炭化物に陰イオン吸着特性を持たせた炭素材料からなるか、または前記炭素材料を含むことを特徴としている(請求項5)。炭化物内に含有する金属塩化物の塩化物イオンが陰イオン交換能を発現するため、炭化物は浄水器用浄化材として機能するのである。なお、原料植物への金属塩化物の導入処理は、金属塩化物を含む溶液を前記原料植物に接触させることによって行え、この接触方法としては、前記溶液の滴下、塗布、吹付け、噴霧等が可能であるが、前記原料植物を前記溶液に浸漬させることが最も効率的である。
上記第3発明の浄水器用浄化材において、原料植物を、金属塩化物としてCaCl2 を含む溶液に浸漬して、原料にCaイオンとClイオンとを導入処理し、その後、このCaCl2 導入材を炭化して得られるCaCl2 導入炭には、優れた陰イオン吸着性能が認められる。
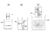
すなわち、例えば、図18(A)に示すように、原料としての木質チップ5をCaCl2 溶液100に浸漬してCaCl2 溶液100に接触させると、CaCl2 溶液100中のCaイオンとClイオンが木質チップ5に導入され、同図(C)に示すように、CaCl2 導入チップ101が得られる。これは、同図(B)に示すように、木質チップ5中の組織、特に通道組織にCaCl2 溶液100が染み込むからである。なお、原料の前処理(接触処理)に用いる前記CaCl2 溶液100の濃度としては、CaCl2 0.1重量%〜50重量%が好ましく、1重量%〜20重量%がコスト的により好ましい。0.1重量%を下回ると高い陰イオン吸着能は発現されず、50重量%を越えても陰イオン吸着能は向上しない。
続いて、前記CaCl2 導入チップ101を、図19(A)に示すように炭化すると、同図(C)に示すように浄化材1が得られる。この炭化の過程では、CaCl2 導入チップ101中の有機物が熱で分解するのと同時に、ClイオンおよびCaイオンがCaCl2 導入チップ101の微細孔壁表面に析出する。このとき、同図(B)に示すように、ClイオンおよびCaイオンはCaCl2 導入チップ101の微細孔壁表面に微細で高分散状態に析出し、多くの官能基を微細孔壁の隅々から引き出す。その結果、同図(C)に示すように、Clイオンが、微細孔壁表面に引き出された多数の官能基に金属イオン(この場合Caイオン)を介してまたは直接結合された状態になると考えられる。
なお、前記金属塩化物の含有量としては、前記炭化物内に結合される金属塩化物を灰分として2%〜25%含有させてあることが好ましい(請求項6)。炭化物内に結合される金属塩化物とは、炭化物内に単に付着している金属塩化物を除く金属塩化物であり、炭化物内に結合しているため、水や酸で洗い流した後に溶解せずに残留する金属塩化物をいう。2%を下回ると陰イオン吸着能が劣り、25%を上回っても陰イオン吸着能は向上しない傾向がある。
さらに、請求項5および6に係る発明において、前記炭化物を水および/または酸に接触させてあることが好ましい(請求項7)。なお、水および/または酸を前記炭化物に接触させる方法としては、水および/または酸の滴下、塗布、吹付け、噴霧などが可能であるが、前記炭化物を水および/または酸に浸漬させることが最も効率的である。
ここで、前記炭化物に水および/または酸を接触させることが好ましいことの理由は以下のように考えられる。すなわち、図18および図19に示したようにして得られた浄化材(CaCl2 炭)1を、図20(A)に示すように、例えば塩酸102や硫酸等の酸に浸漬(接触)させると、浄化材1に付着していた余分な金属塩化物の結晶が除去される。しかも、酸として塩酸102を用いた場合は、前記浄化材1の官能基と結合するClイオンが新たに増加し、同図(B)から同図(C)に示す状態に変わり、これらのことから、製造した陰イオン吸着能が高まって好ましい。なお、前記炭化物に塩酸102等の酸ではなく水を接触させた場合にも、浄化材1に付着していた余分な金属塩化物の結晶が除去され、陰イオン吸着能を高めることができる。
具体的には、前記金属塩化物としてCaCl2 またはBaCl2 が挙げられる(請求項8)。
上記浄水器用浄化材における原料植物は、植物体であれば何でもよいが、天然繊維や木質材料の1種以上からなり、かつ炭化物が微細孔を有するものが好ましく、例えば、間伐材、伐採木、廃木材等全ての木質材料や麻等の天然繊維を挙げることができる。具体的には、吸水性の高い檜や杉等の針葉樹を例えば50mm以下(好適には10mm以下)のサイズにチップ化した木質チップを用いるのが好ましい。さらに、前記木質チップのほかに、竹、おが屑、籾殻、椰子、ビンロウジュ、ジュート、藁、ミカンやリンゴの皮、搾りかす等の農産廃棄物を用いてもよい。また、植物体の中で特に通道組織(道管,仮道管,または師管)を有する部分が好ましい。
前記原料を接触させる溶液として吸着対象陰イオンとイオン交換可能な陰イオン(例えば塩化物イオン等)をほとんど含まずカルシウムイオンを含む溶液(例えば石灰水や石灰乳等)を用いる場合、前記原料としては、カルシウムを導入した後炭化すると、その炭化物の微細孔に100nm以下の粒径のCa化合物が無数に形成されるようなものが好ましい。
また、吸着対象陰イオンとイオン交換可能な陰イオン(例えば塩化物イオン等)とカルシウムイオンを共に含む溶液(例えば塩化カルシウム溶液や酢酸カルシウム溶液等)を用いる場合は、前記原料として、溶液に浸漬する際、溶液が染み込み易いようなものが望ましい。
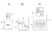
また、第2発明では、例えば、原料植物の炭化処理前に、原料植物にカルシウムイオンを含む溶液(例えば、石灰水または石灰乳等)を接触させて、原料植物にカルシウムを導入するようにしている。前記原料をカルシウムイオンを含む溶液に浸漬させると、溶液が原料に染み込むことでCa導入チップを得ることができる。特に、カルシウムイオンを含む溶液としてアルカリ性の溶液(例えば石灰水など)を用いる場合、図8(A)に示すように、例えば、木質チップ5を石灰水18に浸漬させると、木質チップ5に石灰水18を接触させることができ、石灰水18中のCaが木質チップ5に導入され、図8(C)に示すように、Ca導入チップ16が得られる。これは、図8(B)に示すように、アルカリによって木質チップ5中の有機物が溶け出し、Caイオンが木質チップ5の成分と反応するからであると考えられる。そして、原料植物を前処理としての接触処理に用いる石灰水(または石灰乳)の濃度としては、Ca(OH)2 0.1重量%〜50重量%が好ましく、より好ましくは0.2重量%〜10重量%である。
前記Ca導入チップ16を、図9(A)に示すように炭化すると、図9(C)に示すようなCa導入炭化チップ(Ca導入炭)21が得られるが、この炭化時に、Ca導入チップ16(図9(B)参照)中の有機物が熱によって分解するのと同時に、CaイオンがCa導入チップ16の微細孔壁表面に析出する〔図9(C)参照〕と考えられる。この場合、カルシウムイオンがCa導入チップ16の微細孔壁表面に析出してくるので〔図9(B)参照〕、微細で高分散状態となることにより、多くの官能基を微細孔壁の隅々から引出すものと考えられる。
なお、第1発明では、原料植物を炭化処理した後、その炭化物に酸溶液を接触させることによって、また、第2発明では、カルシウムイオンを含む溶液を接触させてカルシウム導入処理した原料植物を炭化処理した後、その炭化物に酸溶液を接触させることによって、それぞれ、炭化物の微細孔壁から引出した官能基に、吸着対象の陰イオンとイオン交換が可能な陰イオンを直接またはカルシウムイオンを介して結合させている。
また、本発明者らは、炭化処理過程で、温度および時間を制御することにより炭化物の官能基をより多く生成させることができることを見出した。つまり、第1発明のように、原料植物にCaを導入しない場合は、炭化処理の際の加熱温度による炭化物の官能基の生成量の差は少ない。一方、第2発明のように、原料植物に予めCaを導入してある場合は、650〜750℃の炭化処理温度を例えば1時間持続させた後、自然冷却させる場合の方が、約600℃および約800℃の炭化処理温度を1時間持続させた後、自然冷却させる場合に比べて、より多くの官能基が形成できることを本発明者らは確認した。
特に、Caを導入した場合、電子顕微鏡で観察すると、650〜750℃の炭化処理温度で炭化させた炭化物では、Ca化合物の微粒子が炭化物の微細孔壁面に半ば析出して均一に分散している様子が観察された。一方、約600℃の炭化処理温度では、Ca化合物の微粒子の微細孔壁への析出が十分行われていない様子が観察された。また、約800℃の炭化処理温度では、Ca化合物の微粒子の微細孔壁への析出は見られるものの、欠落が多くなっている様子が観察された。このように、Caが炭化物の微細孔壁から官能基をできるだけ多く引出すために必要な炭化処理温度として約650〜750℃(最適は700℃)を挙げることができる。
第2発明では、炭化処理対象の原料植物として、例えば、カルシウムイオンを含む溶液を用いてCaを導入したものを用い、これを炭化処理してCa導入炭21としている。例えば、図10(A)に示すように、Ca導入炭21にHCl溶液12を接触させると、図10(B)および(C)に示すように、Ca導入炭21の微細孔壁表面の官能基に結合したカルシウムイオンおよび前記官能基に塩化物イオン(Cl- )が結合して、図10(D)に示すように、前記官能基にCl- がカルシウムイオンを介してまたは直接結合している酸処理Ca導入炭21Sが得られると考えられる。また、上記酸処理は、Ca導入炭21を酸溶液12に浸漬するのみでよいが、減圧下で行うのが好ましく、1330Pa〜13.3Paの圧力範囲で行うのが好ましい。
そして、原料植物の炭化処理は、400℃〜1000℃の温度範囲で行われることが好ましい(請求項9)。これは、炭化処理温度が400℃を下回ると、細孔が発達せず吸着材としての性能が劣り、前記温度が1000℃を超えると、炭素化が進みすぎることにより吸着特性が得られないからである。なお、炭化処理温度としてより好ましくは500℃〜900℃であり、最も好ましいのは650℃〜750℃である。
上記構成よりなる浄水器用浄化材は、優れた陰イオンの吸着性能を有する。そして、この浄水器用浄化材は、その製造時の排水処理などになんらの問題を生ずることはなく、極めて環境に優しく、また、安価に製造することができる。さらに、本発明では、吸着対象の陰イオンを吸着した浄水器用浄化材から、吸着した陰イオンを除去するとともに、次の吸着対象の陰イオンとイオン交換が可能な陰イオンを前記除去した陰イオンに替えて結合させる(請求項10)ことにより、浄水器用浄化材を繰り返し再生使用することができる。なお、本発明の浄水器用浄化材で吸着可能な陰イオンは、炭化物の微細孔壁表面の官能基に直接またはカルシウムイオンを介して予め結合させてある陰イオンとイオン交換が可能な陰イオンであり、当然、前記炭化物の微細孔壁表面の官能基に直接またはカルシウムイオンを介して予め結合させてある陰イオン以外の陰イオンである。
第4発明の上水浄化方法は、請求項1〜10のいずれかに記載の浄水器用浄化材を用いて上水を浄化することを特徴とする(請求項11)。前記浄水器用浄化材は、粒体状または粉体状に加工することができる。したがって、例えば粒体状の浄水器用浄化材を、適宜のメッシュを有する網籠やメッシュ状袋体に収納して浄水器用浄化体とし、この浄水器用浄化体を上水と十二分に接触しうる状態に設置することにより、前記上水中に含まれる陰イオンが確実に吸着される。また、粉体状にした場合は、これを不織布に付着させるなどして浄水器用浄化体としてもよい。さらに、上水の通水路に流亡防止用メッシュを設け、この通水路内に浄水器用浄化材を収容して浄水器用浄化体としてもよい。
第5発明の浄水器は、浄水器内に請求項1〜10のいずれかに記載の浄水器用浄化材を設け、上水を浄化するように構成してあることを特徴としている(請求項12)。この浄水器は安価にて製造可能であるから、各家庭において設置することにより、上水中の陰イオンを確実に吸着させることができる。
浄水器用浄化材には、活性炭等、従来から使用されている浄化材を併用してもよい。
本発明の浄水器用浄化材は、特定の陰イオンのみならず所望の陰イオン吸着性能を有するとともに、原料植物を炭化処理して得られる炭化物に陰イオン吸着特性を持たせた炭素材料からなるか、または前記炭素材料を含むので、環境にやさしいものとなっており、また、安価に製造することができる。
そして、上記浄水器用浄化材において、原料植物をカルシウム導入処理した後炭化する場合には、陰イオン交換樹脂と同等あるいは陰イオン交換樹脂よりも優れた陰イオン吸着特性を持つ陰イオン吸着炭素材料を得ることができる。
また、上記浄水器用浄化材を用いる上水浄化方法および浄水器により、上水中の陰イオンが確実に吸着される。
図1〜図3は、本発明の第1実施例を示す。まず、図1(A)は、本発明の浄水器用浄化材(以下、単に浄化材という)1の一例を示すもので、この実施例では、長さが10mm程度のチップ状に形成されている。また、図1(B)は、前記チップ状の浄化材1を適宜径の粒体(ペレット)1aに形成した例を示す。
前記浄化材1を製造する装置および方法について、図2および図3を参照しながら説明する。図2は、浄化材1を製造する装置の一例を概略的に示すもので、この図において、5は原料植物で、この実施例では木質チップである。この木質チップ5は、例えば、吸水性の高い檜や杉等の針葉樹を50mm以下(好適には10mm以下)の適宜のサイズにチップ化したものである。6は木質チップ5を炭化処理する炭化処理炉で、その内部には適宜の熱源7によって加熱される炭化炉本体8が収容されている。この炭化炉本体8の導入部8aから供給された木質チップ5は、適宜の温度(後述する)、適宜の時間(後述する)加熱することにより炭化され、炭化チップ(炭化物)9として排出部8bから排出される。
そして、図2において、10は前記炭化チップ9を酸処理する装置で、例えば、処理槽11内に適宜濃度のHClが酸溶液12として収容されている。なお、13は処理槽11内に設けられる攪拌用羽根13で、モータ(図示していない)によって回転駆動され、処理槽11内の酸溶液12の濃度を均一になるように攪拌するものである。
また、図2において、14は前記酸処理、中和処理、中和後水洗い処理(以下、酸処理等という)後の炭化チップ(酸処理炭化チップ)9Sを乾燥させる乾燥機で、この乾燥機14には炭化処理炉6から排出される排熱が供給されるようにしてある。
上記装置を用いて、原料植物5から浄化材1を得る手順の一例を、図3をも参照しながら説明すると、まず、檜や杉等の針葉樹を10mm以下の適宜のサイズにチップ化した木質チップ5を用意する(ステップS11)。
前記木質チップ5は、炭化処理炉6の炭化炉本体8に供給され、400℃〜1000℃の温度範囲で1時間程度加熱され炭化処理される(ステップS12)。これによって、炭化チップ9が得られる。
前記炭化チップ9は、酸処理装置10に供給され、処理槽11内の0.01mol/L〜20mol/Lに調整された酸溶液12に浸漬され、酸処理される(ステップS13)。なお、炭化チップ9の酸溶液12への浸漬処理は、炭化チップ9に酸溶液12を接触させる処理の一例を示すものであり、この他にも炭化チップ9に対する酸溶液12の滴下、塗布、吹付、噴霧などが可能である。
酸処理後の酸処理炭化チップ9Sは、一般的には乾燥機14において乾燥処理される(ステップS14)。この場合、酸処理炭化チップ9Sをそのまま乾燥機14に送るようにしてもよいが、適宜のアルカリ溶液に浸漬するなどして中和処理したり、さらには、中和処理後に水洗いしてもよい。なお、酸処理炭化チップ9Sを湿潤状態で使用するときは、乾燥処理をしないこともある。
そして、前記乾燥処理後の酸処理炭化チップ9Sは、加工を施さずにそのままの形状で使用することもできるが、適宜の加工機を用いて適宜径の粒体(ペレット)1aやより細かな粉体1bに形成される(ステップS15)。そして、例えば、金網よりなる網籠内に前記ペレット状の浄化材1aを多数収容することにより、下水処理用浄化体が得られる(ステップS16)。
上述の第1実施例では、原料植物(例えば、木質チップ)5を炭化処理し、この炭化処理によって得られる炭化物(例えば、炭化チップ)9を酸溶液12に浸漬処理して前記炭化物9に陰イオン吸着特性を持たせるようにしていたが、原料植物5として、カルシウム導入処理したものを用いるようにしてもよい。以下、これを第2実施例として、図4および図5を参照しながら説明する。
まず、図4は、浄化材1を製造する装置の他の例を概略的に示すもので、この図において、図2に示した符号と同一符号は同一物である。この実施例における装置が図2に示した第1実施例の装置と大きく異なる点を説明すると、15は木質チップ5にCaを導入処理し、Ca導入チップ16とするための装置で、例えば、処理槽17内にカルシウムイオンを含む溶液18を収容してなるものであり、この実施形態では、前記カルシウムイオンを含む溶液18は適宜濃度の石灰水(または石灰乳)である。なお、19は処理槽17内に設けられる攪拌用羽根で、モータ(図示していない)によって回転駆動され、処理槽17内のカルシウムイオンを含む溶液18を濃度が均一になるように攪拌するものである。
また、図4において、20は前記Ca導入処理装置15において得られるCa導入チップ16を乾燥させる乾燥機で、この乾燥機20には炭化処理炉6から排出される排熱が供給されるようにしてある。
上記装置を用いて、原料植物5から浄化材1を得る手順の一例を、図5をも参照しながら説明すると、まず、檜や杉等の針葉樹を10mm以下の適宜のサイズにチップ化した木質チップ5を用意する(ステップS21)。
前記木質チップ5をCa導入処理装置15の処理槽17内の5重量%に調整されたカルシウムイオンを含む溶液18内に例えば、3時間以上浸漬する。この場合、溶液18を木質チップ5へ充分染み込ませるため、或いはカルシウムイオンを木質チップ5の成分と充分反応させるために、木質チップ5の浸漬中に、攪拌羽根19を回転させることが好ましい。これによって、Caイオンが木質チップ5の成分と充分反応することができ、木質チップ5にCaが導入されたCa導入チップ16が得られる(ステップS22)。なお、前記Ca導入処理は、石灰乳を用いた方が処理効率がよい。また、木質チップ5のカルシウムイオンを含む溶液18への浸漬処理は、木材チップ5にカルシウムイオンを含む溶液18を接触させる処理の一例を示すものであり、この他にも木材チップ5に対するカルシウムイオンを含む溶液18の滴下、塗布、吹付、噴霧などが可能である。そして、溶液18としては、石灰水や石灰乳に代えて、塩化カルシウム溶液や酢酸カルシウム溶液を用いることもできる。
前記Ca導入処理酸処理後のCa導入チップ16は、乾燥機20に送られて乾燥処理される(ステップS23)。
前記乾燥処理後のCa導入チップ16は、炭化処理炉6の炭化炉本体8に供給され、700℃の処理温度で、1時間程度加熱して炭化処理される(ステップS24)。これによって、Ca導入炭化チップ(Ca導入炭)21が得られる。
前記Ca導入チップ21は、酸処理装置10に供給され、処理槽11内の例えば5mol/Lに調整された酸溶液12に浸漬され、酸処理される(ステップS25)。この場合、攪拌羽根13を回転させるのが好ましく、これによって、Ca導入チップ21の微細孔壁表面のCaCO3 が酸によって溶解するのを促進させるとともに、塩化物イオンおよびカルシウムイオンをCa導入チップ21の微細孔壁表面の官能基と充分反応させることができ、所望のCa導入酸処理炭化チップ21Sが得られる。なお、Ca導入チップ21の酸溶液12への浸漬処理は、Ca導入チップ21に酸溶液12を接触させる処理の一例を示すものであり、この他にもCa導入チップ21に対する酸溶液12の滴下、塗布、吹付、噴霧などが可能である。
前記酸処理後のCa導入酸処理炭化チップ21Sは、一般的には乾燥機14において乾燥処理される(ステップS26)。この場合、Ca導入酸処理炭化チップ21Sをそのまま乾燥機14に送るようにしてもよいが、適宜のアルカリ溶液に浸漬するなどして中和処理したり、さらには、中和処理後に水洗いしてもよいことはいうまでもない。
そして、前記乾燥処理後のCa導入酸処理炭化チップ21Sは、加工を施さずにそのままの形状で使用することもできるが、適宜の加工機を用いて適宜径の粒体(ペレット)やより細かな粉体に形成される(ステップS27)。そして、例えば、金網よりなる網籠内にペレット状の浄化材1aを多数収容することにより、浄水器用浄化体が得られる(ステップS28)。
ここで、前記浄化材1の硝酸性窒素、亜硝酸性窒素およびフッ素の吸着性能について説明する。まず、硝酸性窒素および亜硝酸性窒素の吸着性能の試験方法および試験結果について説明すると、以下の通りである。
〔硝酸性窒素および亜硝酸性窒素の吸着性能について〕
〔試験方法〕
硝酸性窒素および亜硝酸性窒素の濃度が50mg/L(50ppm)の硝酸溶液および亜硝酸溶液50mL(標準液)をそれぞれ5つ用意し、
(1)木質チップ5を700℃で炭化させた比較例に用いる木炭9を200mg、
(2)木質チップ5を700℃で炭化させた木炭を1mol/LのFeCl3 溶液に浸漬させた後、水洗いした比較例に用いる塩化鉄木炭200mg、
(3)木質チップ5を700℃で炭化させた木炭を5mol/LのHCl溶液に浸漬させた後、水洗いした酸処理木炭9Sを200mg、
(4)木質チップ5を5重量%の石灰水18に浸漬した後700℃で炭化させた木炭を5mol/LのHCl溶液に浸漬させたCa導入酸処理木炭21Sを200mg、
(5)比較例に用いる陰イオン交換樹脂200mgの5つのサンプルを、それぞれ対応する標準液に入れ、例えば200rpm、20℃の条件下で、10時間振とう後、硝酸溶液および亜硝酸溶液中の硝酸性窒素の濃度および亜硝酸性窒素の濃度をそれぞれ測定し、吸着量を計算した。
〔結果〕
図6は、上記各サンプルの硝酸性窒素および亜硝酸性窒素吸着能の比較を表す。
(1)の700℃炭化の木炭9は、硝酸性窒素および亜硝酸性窒素をほとんど吸着しないのに対して、(2)の塩化鉄木炭は、硝酸性窒素および亜硝酸性窒素をそれぞれ2.75mg/gおよび2.35mg/g吸着した。また、(3)の酸処理木炭9Sは、硝酸性窒素および亜硝酸性窒素をそれぞれ2.50mg/gおよび2.20mg/g吸着した。(5)の陰イオン交換樹脂は、硝酸性窒素および亜硝酸性窒素をそれぞれ10.80mg/gおよび10.00mg/g吸着した。一方、木質チップ5を石灰水18に浸漬した後炭化し、続いて、HCl溶液に浸漬させてなる(4)のCa導入酸処理木炭21Sは、硝酸性窒素および亜硝酸性窒素をそれぞれ10.75mg/gおよび9.80mg/g吸着し、(5)の陰イオン交換樹脂と同等以上の吸着能力を示した。
そして、前記Ca導入酸処理木炭21Sが例えば硝酸イオンを吸着するメカニズムは、以下のように考えられる。図11(A)に示すように、Ca導入酸処理木炭21Sを硝酸溶液25に漬けると、Ca導入酸処理木炭21Sの表面の官能基にカルシウムイオンを介してまたは直接前記官能基に結合した塩化物イオン(図11(B)参照)と硝酸溶液25中の硝酸イオンが交換され(図11(C)参照)、硝酸イオンがCa導入酸処理木炭21Sに吸着される(図11(D)参照)。そして、図11(E)は、図11(D)に示すCa導入酸処理木炭21Sを例えば濃いKCl(またはNaCl)溶液に漬けたときの変化を示す。すなわち、吸着された硝酸イオンはKCl(またはNaCl)溶液で再度、塩化物イオンと硝酸イオンを交換させて再生可能となる。以下、この再生について説明する。
《再生試験》
〔試験方法〕
前記硝酸性窒素吸着試験を行った後の酸処理木炭9SまたはCa導入酸処理木炭21Sの試料を1mol/LのKCl(またはNaCl)溶液で洗浄し、さらに水洗いした。続いて、標準液を交換して硝酸性窒素濃度が50mg/Lの硝酸溶液50mLを用意し、水洗いした200mgの前記試料の1回目の再生試験を行った。すなわち、前記試料を硝酸溶液に入れ、例えば200rpm、20℃の条件下で、10時間振とう後、前記硝酸溶液中の硝酸性窒素濃度を測定し、吸着量を計算する1回目の再生試験を前記試料を用いて行った。
次に、1回目の再生試験で用いた前記試料を1mol/LのKCl(またはNaCl)溶液で洗浄し、さらに水洗いした。続いて、標準液を交換して硝酸性窒素濃度が50mg/Lの硝酸溶液50mLを用意し、前記水洗いした200mgの前記試料の再生試験を行った。すなわち、前記試料を、硝酸溶液50mLに入れ、例えば200rpm、20℃の条件下で、10時間振とう後、前記硝酸溶液中の硝酸性窒素濃度を測定し、吸着量を計算する2回目の再生試験を前記試料を用いて行った。この処理をあと2回繰り返した。
〔結果〕
酸処理木炭9Sによる硝酸性窒素の吸着量
初回…2.5mg/g
再生1回目…2.5mg/g
再生2回目…2.4mg/g
再生3回目…2.5mg/g
Ca導入酸処理木炭21Sによる硝酸性窒素の吸着量
初回…10.8mg/g
再生1回目…10.6mg/g
再生2回目…10.9mg/g
再生3回目…10.7mg/g
以上のことから、使用した酸処理木炭9SおよびCa導入酸処理木炭21Sをそれぞれ濃いKCl(またはNaCl)溶液で洗浄し、さらに水洗いすることにより、再生することが分かった。すなわち、硝酸性窒素吸着試験で硝酸性窒素(陰イオン)を吸着した酸処理木炭9SおよびCa導入酸処理木炭21Sをそれぞれ、KCl(またはNaCl)溶液で洗浄し、さらに水洗いすることにより、硝酸性窒素吸着試験で吸着した硝酸性窒素(陰イオン)が除去されて、除去された硝酸性窒素(陰イオン)に替えてCl- を結合させることにより、酸処理木炭9SおよびCa導入酸処理木炭21Sがそれぞれ再生されることが分かった。つまり、一度使用した酸処理木炭9SおよびCa導入酸処理木炭21Sをそれぞれ使用後にその都度洗浄と水洗いを行うことにより、複数回使用できることが確認された。なお、亜硝酸性窒素を吸着した場合でも、陰イオン吸着炭素材料として酸処理木炭9SおよびCa導入酸処理木炭21Sをそれぞれ使用しても、再生する原理は同じである。
〔フッ素吸着性能について〕
〔試験方法〕
フッ化物イオン濃度が50mg/Lの溶液50mL(標準液)を用意し、
(1)木質チップ5を700℃で炭化させた比較例に用いる木炭9Sを100mg、
(2)木質チップ5を700℃で炭化させた木炭を1mol/LのFeCl3 溶液に浸漬させた後、水洗いした比較例に用いる塩化鉄木炭100mg、
(3)木質チップ5を700℃で炭化させた木炭を5mol/LのHCl溶液に浸漬させた後、水洗いした酸処理木炭9Sを100mg、
(4)木質チップ5を5重量%の石灰水に浸漬した後700℃で炭化させた木炭を5mol/LのHCl溶液に浸漬させたCa導入酸処理木炭21Sを100mg、
(5)比較例に用いる陰イオン交換樹脂100mgの5つのサンプルを、それぞれ対応する標準液に入れ、例えば200rpm、20℃の条件下で、10時間振とう後、前記溶液中のフッ化物イオン濃度をそれぞれ測定し、吸着量を計算した。
〔結果〕
図7は、上記各サンプルのフッ化物イオン吸着能の比較を表す。
(1)の700℃炭化の木炭は、フッ化物イオンをほとんど吸着しないのに対して、(2)の塩化鉄木炭は、7.50mg/gのフッ化物イオンを吸着した。また、(3)の酸処理木炭9Sは、5.00mg/gのフッ化物イオンを吸着した。(5)の陰イオン交換樹脂は、8.50mg/gのフッ化物イオンを吸着した。一方、木質チップ5を石灰水に浸漬した後炭化し、続いて、HCl溶液に浸漬させてなる(4)のCa導入酸処理木炭21Sは、19.00mg/gのフッ化物イオンを吸着し、(5)の陰イオン交換樹脂を大きく超える吸着能力を示した。
《再生試験》
〔試験方法〕
次に、前記フッ素吸着試験を行った後の酸処理木炭9SまたはCa導入酸処理木炭21Sの試料を1mol/Lの塩酸(または硫酸)で洗浄し、さらに水洗いした。続いて、標準液を交換してフッ化物イオン濃度が50mg/Lの溶液50mLを用意し、前記水洗いした200mgの前記試料の1回目の再生試験を行った。すなわち、前記試料を前記溶液に入れ、例えば200rpm、20℃の条件下で、10時間振とう後、前記溶液中のフッ化物イオン濃度を測定し、吸着量を計算する1回目の再生試験を前記試料を用いて行った。
次に、1回目の再生試験で用いた前記試料を1mol/Lの塩酸(または硫酸)で洗浄し、さらに水洗いした。続いて、標準液を交換してフッ化物イオン濃度が50mg/Lの前記溶液50mLを用意し、前記水洗いした200mgの前記試料の再生試験を行った。すなわち、前記試料を、前記溶液50mLに入れ、例えば200rpm、20℃の条件下で、10時間振とう後、前記溶液中のフッ化物イオン濃度を測定し、吸着量を計算する2回目の再生試験を前記試料を用いて行った。この処理をあと2回繰り返した。
〔結果〕
酸処理木炭9Sによるフッ化物イオンの吸着量
初回…2.5mg/g
再生1回目…2.5mg/g
再生2回目…2.4mg/g
再生3回目…2.5mg/g
Ca導入酸処理木炭21Sによるフッ化物イオンの吸着量
初回…18.7mg/g
再生1回目…18.2mg/g
再生2回目…18.9mg/g
再生3回目…18.6mg/g
以上のことから、使用した酸処理木炭9SおよびCa導入酸処理木炭21Sをそれぞれ濃い塩酸(または硫酸)で洗浄し、さらに水洗いすることにより、再生することが分かった。すなわち、フッ素吸着試験でフッ化物イオン(陰イオン)を吸着した酸処理木炭9SおよびCa導入酸処理木炭21Sをそれぞれ、塩酸(または硫酸)で洗浄し、さらに水洗いすることにより、フッ素吸着試験で吸着したフッ化物イオン(陰イオン)が除去されて、除去されたフッ化物イオン(陰イオン)に替えてCl- (またはSO4 2-)を結合させることにより、酸処理木炭9SおよびCa導入酸処理木炭21S(陰イオン吸着炭素材料)がそれぞれ再生することが分かった。つまり、一度使用した酸処理木炭9SおよびCa導入酸処理木炭21Sをそれぞれ使用後にその都度洗浄と水洗いを行うことにより、複数回使用できることが確認された。
上述のように、本発明の浄化材1は、硝酸性窒素、亜硝酸性窒素およびフッ素等の陰イオンの吸着性能に優れる。また、吸着対象の陰イオンを吸着した使用済みの浄化材1(1a,1b)から、吸着した陰イオンが除去されるととともに、次の吸着対象の陰イオンとイオン交換が可能な陰イオンを前記除去した陰イオンに替えて結合させることにより、浄化材1(1a,1b)を再生でき、この再生処理した浄化材1(1a,1b)を繰り返し使用することができる。このような浄化材1をたとえば水道管の途中に形成される水道水の実際の浄水器に適用した例について、以下に説明する。
図12は第3実施例の浄水器30の構成を示す断面図であり、図12において、31は略円筒状の有底筒体からなる本体、32は本体31の上端部に着脱自在に螺合連結される蓋体、33は本体31の下部側面に形成された水導水Wの給水口、34は蓋体32の中心部に突設された吐水口である。35は本体31内に収容可能に同芯円状に配置された2つの円筒35a,35bとこの円筒35a,35bの上下に位置して内部にミネラル36を収容した状態で保持するフィルタ35c,35dからなる容器、37は前記容器35bの内径とほゞ同じか僅かに小さい外径を有するプラスチックやステンレス鋼などの科学的に安定な素材よりなる円筒37aと例えば第1,第2の浄化材38,39を分けた状態で保持するフィルタ37b〜37dとからなる容器である。
前記ミネラル36は、例えば炭酸カルシウムを主成分とし、これによってミネラル層(以下、ミネラル層36ともいう)を形成する。したがって、水道水などの原水(上水)Wが矢印F1 ,F2 に示すように、ミネラル層36を通過する間に上水Wに人体に有益なカルシウム分が溶出する。
前記第1の浄化材38は、図1に示したチップ状の浄化材1や図2または図4に示したペレット状の浄化材1を適宜径の粒状(ペレット)1aに形成したものであり、これによって、陰イオン除去層(以下、陰イオン除去層38ともいう)を形成する。すなわち、水道水Wが矢印F3 に示すように陰イオン除去層38を通過する間に、この水道水Wにたとえ硝酸イオンや亜硝酸イオン、フッ化物イオンやヒ素などの陰イオンが含有していたとしても、これを浄化材38に吸着させて除去することができる。
前記第2の浄化材39は、活性炭であり、この活性炭による層(以下、活性炭層39ともいう)は浄化材38よりも下流側に形成してある。この活性炭により、水の味を悪くする残留塩素が除去できる。すなわち、水道水Wに含まれる硝酸イオンや亜硝酸イオンを浄化材38に吸着させるときにイオン交換で発生する塩化物イオン等を、活性炭層39によって物理的に吸着させて除去することができる。
前記フィルタ35c,35d,37b〜37dは例えばプラスチックやステンレス鋼などの科学的に安定な素材よりなり、内容物36,38,39が外部に抜け出たりしない程度の細かい目合いを有している網体を用いて内容物を保持できるようにする。また、とりえわけ最下流部に設けたフィルタ37bには、より細かい目合いを有する不織布などを配置して、浄化材1(1a)や活性炭の細かい破片をフィルタ37bによって捕捉できるようにすることが望ましい。
また、前記本体31から蓋体32を取り外すことにより、容器35,37をそれぞれ取り出すことが可能であり、ミネラル層36,陰イオン除去層38,活性炭層39が劣化した場合にはこれらを容易に交換できるように構成してある。なお、陰イオン除去層38を構成する浄化材1(1a)は既に詳述したように、HCl溶液に浸漬させることによりフッ化物イオン吸着能を回復することが可能であり、KCl溶液に浸漬させることにより硝酸性窒素吸着能を回復することが可能であるから、これらをリサイクルして使用することが可能である。
本発明は上述した詳細な構造に限定されるものではない。すなわち、容器37を用いることなく浄化材1(1a)を網籠や網袋内に収容し、これを前記陰イオン除去層38として使用してもよい。さらに、浄化材1(1a,1b)を不織布などの透水性シートに織り込んだり接着するなどして保持させ、この透水性シートを前記フィルタ35c,35d,37b〜37dとして使用してもよい。また、他にも中空糸フィルタや麦飯石やトルマリンなどの濾材を組み合わせるようにしてもよい。
さらに、浄水器30は図12に示した据え置き型に限られるものではなく、蛇口の吐水口に取り付けられる程度に小型に形成してあっても、吐水口から原水Wを採取して据え置き型の浄水器30によって原水Wから陰イオンを取り除くことができるようなアタッチメントを取付けるなど、種々の変形が考えられる。
以下、複数の浄化材1を用いて形成される浄水器用浄化体の幾つかの例を説明する。
図13は図1に示したチップ状の浄化材1や図2または図4に示したペレット状の浄化材1を適宜径の粒状(ペレット)1aに形成したものを、例えば、外観視直方体形状の網籠40に収容して浄水器用浄化体41とした例を示している。ここで、網籠40は、容易に化学物質に侵されたり、容易に溶出しないプラスチックやステンレス鋼など化学的に安定な素材よりなり、粒体状の浄化材1aが網目から外部に簡単に抜け出たりしない程度の細かい目合いを有している。なお、図中、40aは補強用線材である。
また、詳細には、図示していないが、網籠40には開閉・ロック自在の扉を備えた開口が形成されており、浄化材1aを交換または補充することができるように構成されている。上記構成の浄水器用浄化体41は網籠40の形状を例えば円筒形状とすることにより、前記陰イオン除去層38の代わりに、その位置に配置することが可能である。
上記浄水器用浄化体41は、図13に例示したものに限られるものではなく、例えば、図14に示すように、例えば、ポリエチレンなどのような耐腐蝕性素材からなる網袋42内に図1に示したチップ状の浄化材1や図2または図4に示したペレット状の浄化材1aを多数収容してマット状の浄水器用浄化体43を構成してもよい。この場合、網袋42の開口(図示していない)を開閉自在にして、浄化材1または1aの充填・取り出しを容易に行えるようにしておくことが望ましい。また、浄化材1(1a)が充填された袋42の形状をほゞ円筒形状に整えることにより、この浄水器用浄化体43を前記陰イオン除去層38の代わりに配置することも可能である。
図15は、他の浄水器用浄化体50の例を概略的に示すものである。図15(A)に示す浄水器用浄化体50は、前記チップ状の浄化材1(適宜径のペレット1aまたは粉体1bに形成したもの)を担持するように構成した透水性シート(例えば、不織布シート)51とを有している。なお、不織布シート51に浄化材のペレット1aまたは粉体1bを担持する場合は、浄化材のペレット1aまたは粉体1bを不織布シート51の原料に混入するようにして浄水器用浄化体50を構成することができる。また、浄化材1を後述の接着剤などを用いて不織布シート51に固定してもよい。
図15(B)に示す浄水器用浄化体50は、不織布シート51の一方の面全体に前記チップ状の浄化材1(例えばペレット状の浄化材1a)を適宜の接着剤52を用いて貼着するように保持する。なお、図15(C)に示すように、チップ状の浄化材1(ペレット状の浄化材1a)は不織布シート51の表裏両面に固着してあってもよい。これらの浄水器用浄化体50を図12に示すフィルタ35c,35d,37b〜37dとして使用することにより、各フィルタ35c,35d,37b〜37dに陰イオンの吸着機能をもたせることが可能である。また、この浄水器用浄化体50をフィルタとして用いる場合には、不織布シート51をプラスチックやステンレス鋼など化学的に安定な素材よりなる板状の網体に沿わせるようにしてその機械的強度を高めるようにしてもよい。
上述の第2実施例では、原料植物5としてカルシウム導入処理したものを用いているが、原料植物5として、金属塩化物導入処理したものを用いるようにしてもよい。以下、これを第4実施例として、図16および図17を参照しながら説明する。
まず、図16は、浄化材1を製造する装置のさらに他の例を概略的に示すもので、この図において、図4に示した符号と同一符号は同一物である。そして、図16に示すように、前記木質チップ5は、適宜濃度の金属塩化物溶液(この実施の形態ではCaCl2 溶液)91を収容した処理槽92に送られ、この処理槽92内において木質チップ5に対する金属塩化物(この実施の形態ではCaCl2 )の導入処理が行われ、金属塩化物導入チップ93が形成される。なお、94は処理槽92内に設けられる攪拌用羽根で、モータ(図示していない)によって回転駆動され、処理槽92内の液等を攪拌する際に用いられる。なおここで、金属塩化物溶液に対して、Ca(OH)2 を僅かに加えておくことが、陰イオン吸着能を向上させる上で好ましい。
上記のようにして得られた金属塩化物導入チップ93は、乾燥機20によって乾燥処理された後、炭化処理炉6に送られ、炭化処理される。なお、前記乾燥機20は、炭化処理炉6から排出される排熱を前記乾燥処理に利用するように構成されている。
そして、金属塩化物導入チップ93は、導入部8aを経て前記炭化炉本体8内に供給され、適宜の温度(後述する)および適宜の時間(後述する)の加熱により炭化され、浄化材1として排出部8bから炭化炉本体8外に排出される。
その後、前記浄化材1は、水またはHCl溶液(塩酸)96を収容した処理槽97に送られ、この処理槽97内において浄化材1の水またはHCl溶液96に対する接触(浸漬)処理が行われる。なお、98は処理槽97内に設けられる攪拌用羽根で、モータ(図示していない)によって回転駆動され、処理槽97内の液等を攪拌する際に用いられる。酸への接触処理を行った後に水への接触処理を行うこともあり、またその逆の手順で行ってもよい。
続いて、前記浄化材1は、乾燥機14に送られ、乾燥処理された後、適宜径の粒体(ペレット)1aやより細かな粉体1bに形成される。なお、前記乾燥機14は、炭化処理炉6から排出される排熱を前記乾燥処理に利用するように構成されている。
次に、図16に示した装置を用いて、原料植物5から浄化材1を得る手順の一例を、図16および図17を参照しながら詳細に説明する。まず、檜や杉等の針葉樹を10mm以下の適宜のサイズにチップ化した木質チップ5を用意する(ステップT1)。
続いて、前記木質チップ5を処理槽92内の1〜20重量%に調整されたCaCl2 溶液91内に例えば、3時間以上浸漬する。この木質チップ5の浸漬中に、攪拌羽根94を回転させることが好ましい。これによって、CaCl2 溶液91が木質チップ5に染み込むことができ、木質チップ5にCaイオンおよびClイオンが導入された金属塩化物導入チップ93が得られる(ステップT2)。
そして、前記金属塩化物導入チップ93は、乾燥機20に送られて乾燥処理される(ステップT3)。
その後、前記金属塩化物導入チップ93は、炭化処理炉6の炭化炉本体8に供給され、400℃〜1000℃の温度範囲(この実施の形態では700℃)で1時間程度加熱され炭化処理される(ステップT4)。これによって、浄化材1が得られる。
前記浄化材1は、処理槽97に供給され、処理槽97内の0.01mol/L〜11mol/L(例えば5mol/L)に調整されたHCl溶液96に浸漬処理される(ステップT5)。この場合、攪拌羽根98を回転させるのが好ましく、これによって、浄化材1内に残留する余分な金属塩化物(CaCl2 )の結晶を除去することができるとともに、塩化物イオンをさらに付加させることができ、所望の浄化材1が得られる。
そして、前記浸漬処理後の浄化材1は、一般的には乾燥機14において乾燥処理される(ステップT6)。この場合、浄化材1をそのまま乾燥機14に送るようにしてもよいが、適宜のアルカリ溶液に浸漬するなどして中和処理したり、さらには、中和処理後に水洗いしてもよい。なお、浄化材1を湿潤状態で使用するときは、乾燥処理をしないこともある。
そして、前記乾燥処理後の浄化材1は、チップ状のまま使用することもできるが、この実施例では適宜の加工機を用いて適宜径の粒体(ペレット)1aやより細かな粉体1bに形成してある(ステップT7)。
なお、前記浄化材1は、上記ステップT1からステップT7までが全て同一工場内で行われて製造されるものに限られない。例えば、他の工場等にて上記ステップT1〜T7のうちのあるステップまで製造されている場合、途中のステップから始めて浄化材1を製造すればよい。
なお、上記第4実施例では、金属塩化物として、最も高性能な陰イオン吸着炭素材料が得られるCaCl2 を挙げているが、BaCl2 やMnCl2 等でもよい。
また、上記第4実施例では、処理槽97内において浄化材1のHCl溶液96に対する接触処理を行っているが、HCl溶液96に代えて水を用いてもよい。この場合、塩化物イオンの付加は行われず、浄化材1内に残留する余分な金属塩化物の結晶を除去するのみとなる。
さらに、上記実施の形態では、金属塩化物導入チップ93を炭化処理炉6にて炭化処理して浄化材1を得た後、処理槽97へと送っているが、処理槽97へと送らなくてもよい。この場合、前記浄化材1を乾燥機14に送る必要がないので、浄化材1の製造方法は、上記ステップT5,T6が省かれたものとなる。また、この場合、浄化材1の製造方法としては、ステップT1〜T4で終了してもよいし、その後ステップT7を行ってもよい。
次に、第4実施例の浄化材1の硝酸性窒素および亜硝酸性窒素の吸着性能を調べるために行った試験について説明する。硝酸性窒素および亜硝酸性窒素の吸着性能の試験方法および試験結果について説明すると、以下の通りである。
まず、以下に示す計七つのサンプル(1)〜(7)をそれぞれ200mgずつ2組用意した。すなわち、
(1)木質チップ5を700℃で1時間加熱し炭化させて得られた木炭
(2)木質チップ5を700℃で1時間加熱し炭化させ、その後、1mol/LのFeCl3 溶液に浸漬し水洗いして得られた塩化鉄木炭
(3)陰イオン交換樹脂
(4)木質チップ5を10重量%のBaCl2 溶液に浸漬した後700℃で1時間加熱し炭化させて得られたBaCl2
(5)木質チップ5を10重量%のBaCl2 溶液に浸漬した後700℃で1時間加熱し炭化させ、その後、5mol/LのHCl溶液に浸漬処理して得られたHCl処理BaCl2
(6)木質チップ5を10重量%のCaCl2 溶液に浸漬した後700℃で1時間加熱し炭化させて得られたCaCl2
(7)木質チップ5を10重量%のCaCl2 溶液に浸漬した後700℃で1時間加熱し炭化させ、その後、5mol/LのHCl溶液に浸漬処理して得られたHCl処理CaCl2
の計七つのサンプルを2組用意した。なお、(4)〜(7)のサンプルは上記浄化材1に相当するものであり、(1)〜(3)のサンプルは浄化材1と比較するためのものである。
そして、一方の組の各サンプルを、硝酸性窒素の濃度が50mg/L(50ppm)の硝酸性窒素溶液50mL(第1標準液)に個別に投入し、また、他方の組の各サンプルを、亜硝酸性窒素の濃度が50mg/L(50ppm)の亜硝酸性窒素溶液50mL(第2標準液)に個別に投入した。その後、200rpm、20℃の条件下で、10時間振とう後、第1標準液中の硝酸性窒素の濃度および第2標準液中の亜硝酸性窒素の濃度をそれぞれ測定し、各サンプルによる硝酸性窒素および亜硝酸性窒素の吸着量を計算した。
図22は、上記試験によって得られた各サンプルの硝酸性窒素吸着能および亜硝酸性窒素吸着能の比較結果を表す。なお、この図では、各サンプルの硝酸性窒素・亜硝酸性窒素吸着量を一対の棒グラフで示しており、左側の棒グラフが硝酸性窒素吸着量、右側の棒グラフが亜硝酸性窒素吸着量を示している。この図に示す結果から、本発明のサンプルはいずれも高い硝酸性窒素吸着能および亜硝酸性窒素吸着能を持つことがわかる。さらに、(4)のBaCl2 炭と(5)のHCl処理BaCl2 炭の硝酸性窒素および亜硝酸性窒素の吸着量を比較し、また、(6)のCaCl2 炭と(7)のHCl処理CaCl2 炭の硝酸性窒素および亜硝酸性窒素の吸着量を比較することにより、浄化材1の硝酸性窒素・亜硝酸性窒素吸着能をより高めるためには、浄化材1をHCl溶液に浸漬する処理(HCl処理)を行ったほうがよいことがわかる。しかし、HCl処理を行わなくても十分に高い硝酸性窒素・亜硝酸性窒素吸着能を持った浄化材1が得られ、この場合には、HCl溶液の接触処理を行わない分だけ低いコストで浄化材1を製造することができる。
ここで、前記浄化材1が例えば硝酸イオンを吸着するのは、図21(A)に示すように、浄化材(CaCl2 炭)1を硝酸溶液99に浸漬すると、浄化材1の表面の官能基にCaイオンを介してまたは直接結合されたClイオン(同図(B)参照)と硝酸溶液99中のNO3 イオンが交換され(同図(C)参照)、NO3 イオンが浄化材1に吸着される(同図(D)参照)からであると考えられる。
また、図21(E)は、NO3 イオンを吸着して同図(D)に示す状態となった浄化材1を、高濃度の塩化物溶液(例えばKClやNaClの金属塩化物溶液、またはHCl溶液)に浸漬した後の状態を示す。すなわち、浄化材1に吸着されたNO3 イオンは、塩化物溶液によってClイオンと交換され、これにより浄化材1が再生され、NO3 イオンなどの陰イオンを吸着可能な状態となる。すなわち、第4実施例の浄化材1は、上記製造方法により常に新たに得られるものに限られず、前記製造方法により得られ、陰イオン(例えばNO3 イオン)を吸着した浄化材1から、吸着した陰イオン(NO3 イオン)が除去されるとともに、次の吸着対象の陰イオン(例えばNO3 イオン)とイオン交換が可能な陰イオン(この実施の形態ではClイオン)を前記除去した陰イオン(NO3 イオン)に替えて結合させることによって得られたもの(すなわち再生されたもの)でもよい。また、上記塩化物溶液に代えて硫酸を用いた場合は、NO3 イオンは、上記Clイオンに代えてSO4 イオンとイオン交換されることとなる。
次に、上記ステップT2において木質チップ5を浸漬する金属塩化物溶液(CaCl2 溶液)91の濃度が、製造後の浄化材1の陰イオン吸着能に与える影響を調べるために行った試験について述べる。上記試験は、木質チップ5をCaCl2 溶液91に浸漬した後、700℃で1時間の加熱により炭化し、水洗いして得た浄化材1を、硝酸性窒素の濃度が50mg/L(50ppm)の硝酸性窒素溶液50mL(標準液)に投入し、前記浄化材1の硝酸性窒素の吸着能を調べたもので、前記CaCl2 溶液61として、濃度が1重量%、3重量%、5重量%、7重量%、10重量%、12重量%、14重量%、17重量%、20重量%のものが用いられた。また、比較のために、木質チップ5を10重量%のCaCl2 溶液91に浸漬した後、700℃で1時間の加熱により炭化し、HCl処理して得た浄化材1の硝酸性窒素の吸着能についても調べた。上記試験の結果を図23に示す。
図23に示す結果から明らかなように、浄化材1の陰イオン吸着能はCaCl2 溶液の濃度に比例して高くなるわけではなく、コスト面等から考えれば、10重量%程度とすることが最も好ましいといえる。また、この図23に示す結果からも、浄化材1の陰イオン吸着能をより高めるためには、浄化材1をHCl処理したほうがよいことがわかる。
次に、硝酸性窒素の吸着に使用された第4実施例の浄化材1をKCl(またはNaCl)溶液によって再生し、再生された浄化材1の硝酸性窒素吸着能を調べるために行った再生試験について説明する。
まず、浄化材1として、木質チップ5を10重量%のCaCl2 溶液に浸漬した後700℃で1時間加熱し炭化させて得られたCaCl2 炭を200mg用意した。そして、このCaCl2 炭を、硝酸性窒素の濃度が50mg/L(50ppm)の硝酸性窒素溶液50mL(標準液)に投入し、200rpm、20℃の条件下で、10時間振とう後、前記標準液中の硝酸性窒素の濃度を測定し、前記CaCl2 炭による硝酸性窒素の吸着量を計算した(初回)。
続いて、前記CaCl2 炭を1mol/LのKCl(またはNaCl)溶液で洗浄し、さらに水洗いして再生した。その後、新たに用意した標準液(すなわち、硝酸性窒素の濃度が50mg/Lの硝酸性窒素溶液50mL)に再生したCaCl2 炭を投入し、200rpm、20℃の条件下で、10時間振とう後、前記標準液中の硝酸性窒素の濃度を測定し、前記CaCl2 炭による硝酸性窒素の吸着量を計算した。そして、このCaCl2 炭の再生から硝酸性窒素の吸着量の計算までの処理を計3回行った(再生一回目〜三回目)。
上記再生試験の結果、すなわち、CaCl2 炭による硝酸性窒素の吸着量は、
初回 …9.5mg/g
再生一回目…9.0mg/g
再生二回目…9.1mg/g
再生三回目…8.8mg/g
であった。以上のことから、硝酸性窒素の吸着に使用した浄化材1(CaCl2 炭)は、濃いKCl(またはNaCl)溶液で洗浄しさらに水洗いすれば再生することが確認された。これは、硝酸性窒素を吸着したCaCl2 炭をKCl(またはNaCl)溶液で洗浄し、さらに水洗いすることにより、CaCl2 炭から硝酸性窒素が除去され、この除去された硝酸性窒素に代わってCl- が官能基に結合されるためであると考えられる。また、上記再生試験の結果から、浄化材1(CaCl2 炭)は、KCl(またはNaCl)溶液を用いた洗浄と水洗いとを行うことにより再生させれば、硝酸性窒素の吸着に複数回使用することができることも確認された。なお、前記浄化材1(CaCl2 炭)を亜硝酸性窒素の吸着に使用した場合でも、再生する原理は同じである。
次に、第4実施例の浄化材1として、木質チップ5を10重量%のCaCl2 溶液に浸漬した後700℃で1時間加熱し炭化させ、その後、5mol/LのHCl溶液に浸漬処理して得られたHCl処理CaCl2 炭を用い、このHCl処理CaCl2 炭について上記と同様に再生試験を行った結果を示す。
上記再生試験の結果、すなわち、HCl処理CaCl2 炭による硝酸性窒素の吸着量は、
初回 …11.0mg/g
再生一回目…11.0mg/g
再生二回目…10.8mg/g
再生三回目…10.8mg/g
であった。以上のことから、炭化後にHCl溶液に浸漬処理して得られる浄化材1(HCl処理CaCl2 炭)についても、硝酸性窒素の吸着に使用後、濃いKCl(またはNaCl)溶液で洗浄し、さらに水洗いすることにより、再生することが確認された。また、HCl溶液への浸漬処理によって向上したHCl処理CaCl2 炭の硝酸性窒素吸着能は、KCl(またはNaCl)溶液を用いた洗浄と水洗いとを行ってHCl処理CaCl2 炭を繰り返し再生させても持続すること(向上したままであること)が確認された。
次に、第4実施例の浄化材1のフッ化物イオンの吸着性能を調べるために行った試験について説明する。まず、この試験を行うために、上述した硝酸性窒素および亜硝酸性窒素の吸着性能の試験で用いた計七つのサンプル(1)〜(7)をそれぞれ50mgずつ1組用意した。そして、各サンプルを、フッ化物イオン濃度が50mg/L(50ppm)の溶液50mL(標準液)に個別に投入し、200rpm、20℃の条件下で、10時間振とう後、標準液中のフッ化物イオンの濃度をそれぞれ測定し、各サンプルによるフッ化物イオンの吸着量を計算した。
図24は、上記試験によって得られた各サンプルのフッ化物イオン吸着能の比較結果を表す。この図に示す結果から、本発明のサンプルはいずれも高いフッ化物イオン吸着能を持つことがわかる。さらに、(4)のBaCl2 炭と(5)のHCl処理BaCl2 炭のフッ化物イオンの吸着量を比較し、また、(6)のCaCl2 炭と(7)のHCl処理CaCl2 炭のフッ化物イオンの吸着量を比較することにより、浄化材1のフッ化物イオン吸着能をより高めるためには、浄化材1をHCl溶液に浸漬する処理(HCl処理)を行ったほうがよいことがわかる。しかし、HCl処理を行わなくても十分に高いフッ化物イオン吸着能を持った浄化材1が得られ、この場合には、HCl溶液の接触処理を行わない分だけ低いコストで浄化材1を製造することができる。
次に、フッ化物イオンの吸着に使用された上記浄化材1を塩酸(または硫酸)によって再生し、再生された浄化材1のフッ化物イオン吸着能を調べるために行った再生試験について説明する。
まず、浄化材1として、木質チップ5を10重量%のCaCl2 溶液に浸漬した後700℃で1時間加熱し炭化させて得られたCaCl2 炭を200mg用意した。そして、このCaCl2 炭を、フッ化物イオンの濃度が50mg/L(50ppm)の溶液50mL(標準液)に投入し、200rpm、20℃の条件下で、10時間振とう後、前記標準液中のフッ化物イオンの濃度を測定し、前記CaCl2 炭によるフッ化物イオンの吸着量を計算した(初回)。
続いて、前記CaCl2 炭を1mol/Lの塩酸(または硫酸)で洗浄し、さらに水洗いして再生した。その後、新たに用意した標準液(すなわち、フッ化物イオンの濃度が50mg/Lの溶液50mL)に再生したCaCl2 炭を投入し、200rpm、20℃の条件下で、10時間振とう後、前記標準液中のフッ化物イオンの濃度を測定し、前記CaCl2 炭によるフッ化物イオンの吸着量を計算した。そして、このCaCl2 炭の再生からフッ化物イオンの吸着量の計算までの処理を計3回行った(再生一回目〜三回目)。
上記再生試験の結果、すなわち、CaCl2 炭によるフッ化物イオンの吸着量は、
初回 …22.5mg/g
再生一回目…22.4mg/g
再生二回目…21.7mg/g
再生三回目…21.9mg/g
であった。以上のことから、フッ化物イオンの吸着に使用した浄化材1(CaCl2 炭)は、濃い塩酸(または硫酸)で洗浄しさらに水洗いすれば再生することが確認された。これは、フッ化物イオンを吸着したCaCl2 炭を塩酸(または硫酸)で洗浄し、さらに水洗いすることにより、CaCl2 炭からフッ化物イオンが除去され、この除去されたフッ化物イオンに代わってCl- (またはSO4 2- )が官能基に結合されるためであると考えられる。また、上記再生試験の結果から、浄化材1(CaCl2 炭)は、塩酸(または硫酸)を用いた洗浄と水洗いとを行うことにより再生させれば、フッ化物イオンの吸着に複数回使用することができることも確認された。
次に、第4実施例の浄化材1として、木質チップ5を10重量%のCaCl2 溶液に浸漬した後700℃で1時間加熱し炭化させ、その後、5mol/LのHCl溶液に浸漬処理して得られたHCl処理CaCl2 炭を用い、このHCl処理CaCl2 炭について上記と同様に再生試験を行った結果を示す。
上記再生試験の結果、すなわち、HCl処理CaCl2 炭によるフッ化物イオンの吸着量は、
初回 …32.0mg/g
再生一回目…31.5mg/g
再生二回目…31.4mg/g
再生三回目…31.2mg/g
であった。以上のことから、炭化後にHCl溶液に浸漬処理して得られる浄化材1(HCl処理CaCl2 炭)についても、フッ化物イオンの吸着に使用後、塩酸(または硫酸)溶液で洗浄し、さらに水洗いすることにより、再生することが確認された。また、HCl溶液への浸漬処理によって向上したHCl処理CaCl2 炭のフッ化物イオン吸着能は、塩酸(または硫酸)を用いた洗浄と水洗いとを行ってHCl処理CaCl2 炭を繰り返し再生させても持続すること(向上したままであること)が確認された。
(A)は、本発明の浄水器用浄化材の一例を示す図、(B)は、浄水器用浄化材の加工例を示す図である。 前記浄水器用浄化材を製造する装置の一例を概略的に示す図である。 前記製造装置を用いて浄水器用浄化材を製造する工程の一例を示す図である。 前記浄水器用浄化材を製造する装置の他の例を概略的に示す図である。 前記製造装置を用いて浄水器用浄化材を製造する工程の一例を示す図である。 本発明の浄水器用浄化材の硝酸性窒素および亜硝酸性窒素の吸着試験における各吸着量を示す図である。 前記浄水器用浄化材のフッ化物イオンの吸着試験における各吸着量を示す図である。 石灰水浸漬工程を説明するための図である。 上記石灰水浸漬工程後の炭化工程を説明するための図である。 炭化工程後の酸溶液浸漬工程を示す図である。 硝酸イオン吸着のメカニズムを説明するための図である。 本発明の浄水器の一例を示す図である。 前記浄水器用浄化材を用いた浄水器用浄化体の一例を示す図である。 浄水器用浄化体の他の例を示す図である。 浄水器用浄化体のさらに他の例を示す図である。 この発明の第4実施例に係る浄水器用浄化材を製造する装置の構成を概略的に示す説明図である。 前記製造装置を用いて前記炭素材料を製造する工程の一例を示す図である。 (A)〜(C)は、図17におけるステップT2の工程の詳細を示す図である。 (A)〜(C)は、図17におけるステップT4の工程の詳細を示す図である。 (A)〜(C)は、図17におけるステップT5の工程の詳細を示す図である。 (A)〜(D)は、第4実施例における硝酸イオン吸着の詳細を示す図、(E)は、再生後の炭素材料を示す図である。 第4実施例の浄化材および比較材料の硝酸性窒素・亜硝酸性窒素の吸着量の比較結果を示すグラフである。 ステップT2におけるCaCl2 溶液の濃度を変えて作成された炭素材料およびHCl処理して得られた炭素材料の硝酸性窒素の各吸着量を示すグラフである。 第4実施例の浄化材および比較材料のフッ化物イオンの吸着量の比較結果を示すグラフである。
符号の説明
1(1a,1b) 浄水器用浄化材
5 原料植物
9,21 炭化物
9S,21S 炭素材料
30 浄水器
39 活性炭層

Claims (12)

  1. 原料植物を炭化処理して得られる炭化物に酸溶液を接触させることにより陰イオン吸着特性を持たせた炭素材料からなるか、または前記炭素材料を含むことを特徴とする浄水器用浄化材。
  2. カルシウム導入処理した原料植物を炭化処理して得られる炭化物に酸溶液を接触させることにより陰イオン吸着特性を持たせた炭素材料からなるか、または前記炭素材料を含むことを特徴とする浄水器用浄化材。
  3. 原料植物にカルシウムイオンを含む溶液を接触させることにより前記カルシウム導入処理がなされている請求項2に記載の浄水器用浄化材。
  4. 酸溶液の濃度が0.01mol/L以上である請求項1〜3のいずれかに記載の浄水器用浄化材。
  5. 金属塩化物を導入処理した原料植物を炭化処理することによりその炭化物に陰イオン吸着特性を持たせた炭素材料からなるか、または前記炭素材料を含むことを特徴とする浄水器用浄化材。
  6. 前記炭化物内に結合される金属塩化物を灰分として2%〜25%含有させてある請求項5に記載の浄水器用浄化材。
  7. 前記炭化物を水および/または酸に接触させてある請求項5または6に記載の浄水器用浄化材。
  8. 前記金属塩化物がCaCl2 またはBaCl2 である請求項5〜7のいずれかに記載の浄水器用浄化材。
  9. 原料植物の炭化処理温度が400℃〜1000℃である請求項1〜8のいずれかに記載の浄水器用浄化材。
  10. 吸着対象の陰イオンを吸着した請求項1〜9のいずれかに記載の浄水器用浄化材から、吸着した陰イオンが除去されるとともに、次の吸着対象の陰イオンとイオン交換が可能な陰イオンを前記除去した陰イオンに替えて結合させてなる浄水器用浄化材。
  11. 請求項1〜10のいずれかに記載の浄水器用浄化材を用いて上水を浄化することを特徴とする上水浄化方法。
  12. 浄水器内に請求項1〜10のいずれかに記載の浄水器用浄化材を設け、上水を浄化するように構成してあることを特徴とする浄水器。
JP2004348107A 2003-12-05 2004-12-01 浄水器用浄化材およびこれを用いた上水浄化方法並びに浄水器 Expired - Fee Related JP3828133B2 (ja)

Priority Applications (1)

Application Number Priority Date Filing Date Title
JP2004348107A JP3828133B2 (ja) 2003-12-05 2004-12-01 浄水器用浄化材およびこれを用いた上水浄化方法並びに浄水器

Applications Claiming Priority (3)

Application Number Priority Date Filing Date Title
JP2003407705 2003-12-05
JP2004073787 2004-03-16
JP2004348107A JP3828133B2 (ja) 2003-12-05 2004-12-01 浄水器用浄化材およびこれを用いた上水浄化方法並びに浄水器

Publications (3)

Publication Number Publication Date
JP2005296930A true JP2005296930A (ja) 2005-10-27
JP2005296930A5 JP2005296930A5 (ja) 2006-02-23
JP3828133B2 JP3828133B2 (ja) 2006-10-04

Family

ID=35329118

Family Applications (1)

Application Number Title Priority Date Filing Date
JP2004348107A Expired - Fee Related JP3828133B2 (ja) 2003-12-05 2004-12-01 浄水器用浄化材およびこれを用いた上水浄化方法並びに浄水器

Country Status (1)

Country Link
JP (1) JP3828133B2 (ja)

Cited By (2)

* Cited by examiner, † Cited by third party
Publication number Priority date Publication date Assignee Title
JP2010269225A (ja) * 2009-05-20 2010-12-02 Kuraray Chem Corp 陰イオン吸着剤成型体およびそれを用いた浄水器
JP2012206011A (ja) * 2011-03-29 2012-10-25 Gaia Kankyo Gijutsu Kenkyusho:Kk 浄水材及びその使用方法、ならびにその製造方法

Families Citing this family (1)

* Cited by examiner, † Cited by third party
Publication number Priority date Publication date Assignee Title
KR101454613B1 (ko) * 2013-11-01 2014-10-27 이세영 살균 및 원적외선과 음이온이 방출되는 냉온수기

Cited By (2)

* Cited by examiner, † Cited by third party
Publication number Priority date Publication date Assignee Title
JP2010269225A (ja) * 2009-05-20 2010-12-02 Kuraray Chem Corp 陰イオン吸着剤成型体およびそれを用いた浄水器
JP2012206011A (ja) * 2011-03-29 2012-10-25 Gaia Kankyo Gijutsu Kenkyusho:Kk 浄水材及びその使用方法、ならびにその製造方法

Also Published As

Publication number Publication date
JP3828133B2 (ja) 2006-10-04

Similar Documents

Publication Publication Date Title
KR100834410B1 (ko) 음이온 흡착 탄소 재료와 그 제조 방법
JP3828133B2 (ja) 浄水器用浄化材およびこれを用いた上水浄化方法並びに浄水器
JP2005296930A5 (ja)
JP3828131B2 (ja) 下水処理場用を除く排廃水処理用浄化材およびこれを用いた排廃水浄化方法並びに排廃水処理装置
JP3828132B2 (ja) 浄水器用を除く上水用浄化材およびこれを用いた上水浄化方法並びに上水浄化装置
JP3828130B2 (ja) 下水処理場用浄化材およびこれを用いた下水浄化方法並びに下水処理設備
JP3828134B2 (ja) 農牧地排水浄化材およびこれを用いた農牧地排水浄化方法
JP3828136B2 (ja) 養殖場用浄化材およびこれを用いた養殖場浄化方法並びに養殖場浄化装置
CN101185877B (zh) 阴离子吸附用炭材料及其制造方法和制造装置
JP2005296928A5 (ja)
JP3718517B1 (ja) 陰イオン吸着炭素材料およびその製造方法
JP2007099619A (ja) 土壌改良肥料およびこれを用いた植物栽培方法
JP2005296929A5 (ja)
JP2005296933A5 (ja)
JP4001886B2 (ja) 土壌改良肥料およびこれを用いた植物栽培方法
JP3822888B2 (ja) 陰イオン吸着炭素材料の製造装置
JP2005296931A5 (ja)
JP2005296926A5 (ja)
JP3828135B2 (ja) 養殖場用を除く水槽水浄化材並びにこれを用いた水槽水浄化方法および装置
JP3790538B2 (ja) 陰イオン吸着炭素材料ならびにその製造方法
JP3790541B2 (ja) 陰イオン吸着炭素材料の製造に用いられるカルシウムまたは金属塩化物導入植物,炭化物ならびにそれらの製造方法
JP3790536B2 (ja) 陰イオン吸着炭素材料ならびにその製造方法
JP3822894B2 (ja) 陰イオン吸着炭素材料の製造装置
JP3718520B2 (ja) 陰イオン吸着炭素材料とその製造方法
JP2007091591A (ja) 土壌改良肥料およびこれを用いた植物栽培方法

Legal Events

Date Code Title Description
A621 Written request for application examination

Free format text: JAPANESE INTERMEDIATE CODE: A621

Effective date: 20051116

A521 Request for written amendment filed

Free format text: JAPANESE INTERMEDIATE CODE: A523

Effective date: 20060106

A871 Explanation of circumstances concerning accelerated examination

Free format text: JAPANESE INTERMEDIATE CODE: A871

Effective date: 20060207

A975 Report on accelerated examination

Free format text: JAPANESE INTERMEDIATE CODE: A971005

Effective date: 20060313

A131 Notification of reasons for refusal

Free format text: JAPANESE INTERMEDIATE CODE: A131

Effective date: 20060328

A521 Request for written amendment filed

Free format text: JAPANESE INTERMEDIATE CODE: A523

Effective date: 20060529

TRDD Decision of grant or rejection written
A01 Written decision to grant a patent or to grant a registration (utility model)

Free format text: JAPANESE INTERMEDIATE CODE: A01

Effective date: 20060627

A61 First payment of annual fees (during grant procedure)

Free format text: JAPANESE INTERMEDIATE CODE: A61

Effective date: 20060705

R150 Certificate of patent or registration of utility model

Ref document number: 3828133

Country of ref document: JP

Free format text: JAPANESE INTERMEDIATE CODE: R150

Free format text: JAPANESE INTERMEDIATE CODE: R150

FPAY Renewal fee payment (event date is renewal date of database)

Free format text: PAYMENT UNTIL: 20100714

Year of fee payment: 4

FPAY Renewal fee payment (event date is renewal date of database)

Free format text: PAYMENT UNTIL: 20110714

Year of fee payment: 5

FPAY Renewal fee payment (event date is renewal date of database)

Free format text: PAYMENT UNTIL: 20110714

Year of fee payment: 5

FPAY Renewal fee payment (event date is renewal date of database)

Free format text: PAYMENT UNTIL: 20120714

Year of fee payment: 6

FPAY Renewal fee payment (event date is renewal date of database)

Free format text: PAYMENT UNTIL: 20120714

Year of fee payment: 6

FPAY Renewal fee payment (event date is renewal date of database)

Free format text: PAYMENT UNTIL: 20130714

Year of fee payment: 7

LAPS Cancellation because of no payment of annual fees