JP2005296927A - 陰イオン吸着炭素材料の製造装置 - Google Patents

陰イオン吸着炭素材料の製造装置 Download PDF

Info

Publication number
JP2005296927A
JP2005296927A JP2004339607A JP2004339607A JP2005296927A JP 2005296927 A JP2005296927 A JP 2005296927A JP 2004339607 A JP2004339607 A JP 2004339607A JP 2004339607 A JP2004339607 A JP 2004339607A JP 2005296927 A JP2005296927 A JP 2005296927A
Authority
JP
Japan
Prior art keywords
acid
anion
charcoal
solution
treated
Prior art date
Legal status (The legal status is an assumption and is not a legal conclusion. Google has not performed a legal analysis and makes no representation as to the accuracy of the status listed.)
Granted
Application number
JP2004339607A
Other languages
English (en)
Other versions
JP3822894B2 (ja
JP2005296927A5 (ja
Inventor
Satoshi Hayashi
聡 林
Michihide Yokoyama
理英 横山
Current Assignee (The listed assignees may be inaccurate. Google has not performed a legal analysis and makes no representation or warranty as to the accuracy of the list.)
Nisshoku Corp
Original Assignee
Nisshoku Corp
Priority date (The priority date is an assumption and is not a legal conclusion. Google has not performed a legal analysis and makes no representation as to the accuracy of the date listed.)
Filing date
Publication date
Application filed by Nisshoku Corp filed Critical Nisshoku Corp
Priority to JP2004339607A priority Critical patent/JP3822894B2/ja
Publication of JP2005296927A publication Critical patent/JP2005296927A/ja
Publication of JP2005296927A5 publication Critical patent/JP2005296927A5/ja
Application granted granted Critical
Publication of JP3822894B2 publication Critical patent/JP3822894B2/ja
Anticipated expiration legal-status Critical
Expired - Fee Related legal-status Critical Current

Links

Images

Landscapes

  • Water Treatment By Sorption (AREA)
  • Solid-Sorbent Or Filter-Aiding Compositions (AREA)
  • Carbon And Carbon Compounds (AREA)

Abstract

【課題】 安価で環境にやさしく、陰イオン吸着性に優れた陰イオン吸着炭素材料の製造装置を提供すること。
【解決手段】 植物からなる原料2を炭化する炭化手段1と、この炭化手段1で生成した炭化物Aを酸溶液3aに接触させる手段3とを備えてなる。
【選択図】 図1

Description

この発明は、硝酸イオンやフッ化物イオンなどの陰イオンを吸着する陰イオン吸着炭素材料の製造装置に関するものである。
重金属、農薬、有機塩素化合物による水質や土壌の汚染は、環境を破壊するものとして問題になっている。これらの有害物質は活性炭やゼオライトなどの吸着材で吸着除去できるが、陰イオンの形態で存在する硝酸性窒素または亜硝酸性窒素、フッ素、ヒ素、シアンなどは吸着材による処理が難しいのが現状である。
例えば、硝酸性窒素及び亜硝酸性窒素は、茶畑やゴルフ場芝地などでの施肥により地下水汚染が深刻な問題となっており、その対策が必要であるが有効な方法が見出されていない。硝酸イオン及び亜硝酸性イオンはマイナス電荷を持ち、他の物と結合して難溶性の塩にならないため、マイナスに荷電している土壌から最も溶脱しやすく、現在、地下水等の水質汚染が大きな問題となっている上、最近では環境ホルモンである疑いが出てきている。脱窒菌などを利用した微生物処理でも嫌気条件が必要であるなどの制限があり、また、陰イオンを吸着する安価な材料がないため、硝酸汚染はさらに広まりつつある。その他の陰イオンにおいても同様に一度汚染されるとその修復には多大なコストが必要となる。
また、フッ素は半導体、ガラス、メッキ工場などの排水に含まれており、工場排水中のフッ素はカルシウム化合物を添加しフッ化カルシウムとして除去する方法がとられているが、さらに活性アルミナやフッ素用の陰イオン交換樹脂による吸着塔の設置が必要で大きなコストがかかっている。また、環境基準0.8mg/L以下にしようとすると、高価な専用の陰イオン交換樹脂が必要となる。その他、ヒ素やシアンなども工場排水や、地下水汚染の処理には高価な陰イオン交換樹脂が必要である。
特開平10−165824号公報
そこで安価で環境にやさしい陰イオン吸着素材が求められている。活性炭とともに多孔質炭素材料の代表である木炭は、調湿材や河川浄化、土壌改良材として広く普及しており、例えば排ガス中の塩素系ガスや硫黄酸化物などの除去にも利用されているが、これは活性炭と同様に多孔質炭素材料の内部の微細孔による吸着特性だけを利用しているに過ぎず、陰イオンの形態で存在する硝酸性窒素または亜硝酸性窒素、フッ素、ヒ素、シアンなどはほとんど吸着しない。ところで、木炭よりも吸着力の高いものとして、木炭に濃い塩化鉄(FeCl3 )溶液を含浸した後洗浄してなる材料があり、材料1g当たり3mg程度の硝酸イオンを吸着すること、また、前記材料1g当たり4mg程度のフッ化物イオンを吸着することが検証されている。しかし、この材料は、鉄(Fe)を含むので、製造時の排水処理などに問題が残る。
この発明は、上述の事柄に留意してなされたもので、その目的は、安価で環境にやさしく、陰イオン吸着性に優れた陰イオン吸着炭素材料の製造装置を提供することである。
本発明者らは、塩化鉄に代えて木炭に酸を添加して得られた材料について陰イオンの吸着性能を検討した結果、天然繊維、木質材料等の原料に対する炭化温度、酸の濃度にも依るが、塩化鉄溶液を用いた場合に得られる材料とほぼ同様の陰イオンの吸着性能を知見するに至った。すなわち、例えば木材原料を炭化して得られた木炭を、HCl,H2 SO4 等の酸で処理するだけで、陰イオンの吸着能を発現することを本発明者らは見出した。しかも、塩化鉄溶液を用いた場合では、Feの排水処理の問題があるが、木炭をHCl,H2 SO4 等の酸で処理すれば、酸を中和するのみでよく、このような問題は生じることはなく環境にやさしい。
更に、前記木材原料を炭化する前に当該原料を予めカルシウムイオンを含む溶液(陽イオンとして主にカルシウムイオンが含まれるのが望ましい)、例えば、水酸化カルシウムの溶液(石灰水)または懸濁液(石灰乳)に接触させて当該原料にCa(カルシウム)を導入しておき、その後、このCa導入原料を炭化し、得られたCa導入木炭をHCl,H2 SO4 等の酸で処理すると、より優れた陰イオン吸着特性が得られることを本発明者らは見出した。
カルシウムイオンを含む溶液としては、石灰水、石灰乳の他、酢酸カルシウム溶液や塩化カルシウム溶液等が挙げられ、カルシウムとして0.03〜30重量%、より好ましくは0.1〜7.0重量%含まれるものが好適である。
かくして、この発明の陰イオン吸着炭素材料の製造装置(第1発明)は、植物からなる原料を炭化する炭化手段と、この炭化手段で生成した炭化物を酸溶液に接触させる手段とを備えてなることを特徴とする(請求項1)。
この場合、炭化手段として、炭化温度を設定可能な炭化炉が用いられる。また、炭化手段で生成した炭化物を酸溶液に接触させる手段としては、酸溶液を収容する耐酸性のタンク等公知のものが用いられる。
また、この発明の陰イオン吸着炭素材料の製造装置(第2発明)は、植物からなる原料をカルシウムイオンを含む溶液に接触させる手段と、接触後の前記原料を炭化する炭化手段と、この炭化手段で生成した炭化物を酸溶液に接触させる手段とを備えてなることを特徴とする(請求項2)。
この場合、植物からなる原料をカルシウムイオンを含む溶液に接触させる手段として、タンク等公知のものが用いられる。また、炭化手段として、炭化温度を設定可能な炭化炉が用いられる。また、炭化手段で生成した炭化物を酸溶液に接触させる手段としては、酸溶液を収容する耐酸性のタンク等公知のものが用いられる。
この発明における植物からなる原料としては、植物体であれば適用できるが、天然繊維、木質材料の1種以上からなるもので前記原料の炭化物が微細孔を有するものが望ましく、例えば、間伐材,伐採木,廃木材等全ての木質材料や麻等の天然繊維を挙げることができる。この原料を接触させる溶液として吸着対象陰イオンとイオン交換可能な陰イオン(例えば塩化物イオン等)をほとんど含まずカルシウムイオンを含む溶液(例えば石灰水や石灰乳等)を用いる場合、前記原料としては、カルシウムを導入した後炭化すると、その炭化物の微細孔に100nm以下の粒径のカルシウム化合物が無数に形成されるようなものが望ましく、具体的には、吸水性の高いヒノキ、スギ等の針葉樹を例えば10mm以下のサイズにチップ化した木質チップを用いるのが好ましい。また、吸着対象陰イオンとイオン交換可能な陰イオン(例えば塩化物イオン等)とカルシウムイオンを共に含む溶液(例えば塩化カルシウム溶液等)を用いる場合は、前記原料として、溶液に浸漬する際、溶液が染み込み易いようなものが望ましく、具体的には、吸水性の高いヒノキ、スギ等の針葉樹を例えば50mm以下のサイズにチップ化した木質チップを用いるのが好ましい。更に、いずれの溶液を用いた場合でも、竹、おが屑、籾殻、椰子、ビンロウジュ、ジュート、藁も植物からなる原料として用いることができる。これ以外に、前記植物からなる原料として、ミカンやリンゴの皮・絞りかす等の農産廃棄物を挙げることができる。また、植物体の中で特に通道組織(道管、仮道管、または、師管)を有する部分が植物からなる原料として好ましい。
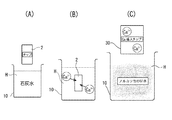
第2発明においては、以下のようにして陰イオン吸着炭素材料を得ることができる。すなわち、まず、植物からなる原料に、カルシウムイオンを含む溶液、例えば、石灰水または石灰乳等を接触させる。前記原料をカルシウムイオンを含む溶液に浸漬させると、溶液が原料に染み込むことでCa導入チップを得ることができる。特に、カルシウムイオンを含む溶液としてアルカリ性の溶液(例えば石灰水Hなど)を用いる場合、図8(A)に示すように、植物からなる原料としての例えば木質チップ2を石灰水Hに浸漬して接触させるとCa導入チップ30〔図8(C)参照〕が得られるが、これは、図8(B)に示すように、アルカリによって木質チップ2中の有機物が溶け出し、カルシウムイオンが木質チップ2の成分と反応するからであると考えられる。第2発明において、カルシウムイオンを含む溶液は、カルシウムを0.03〜30重量%含有するのが好ましく、0.1〜7.0重量%含有するのがより好ましい。
カルシウムイオンを含む溶液を前記植物からなる原料に接触させる方法(手段)としては、カルシウムイオンを含む溶液の滴下、塗布、吹付け、噴霧などが可能であるが、前記原料をカルシウムイオンを含む溶液に浸漬させることが最も効率的である。また、酸溶液を炭化物に接触させる方法(手段)としては、酸溶液の滴下、塗布、吹付け、噴霧などが可能であるが、炭化物を酸溶液に浸漬させることが最も効率的である。
続いて、第2発明では、得られた前記Ca導入チップ30〔図9(A)参照〕を炭化手段1によって炭化することによりCa導入炭(以下、単にCa炭という)31〔図9(C)参照〕を得るが、この炭化時に、Ca導入チップ30〔図9(B)参照〕中の有機物が熱によって分解するのと同時に、カルシウムイオンがCa導入チップ30の微細孔壁表面に析出する〔図9(C)参照〕と考えられる。この場合、カルシウムイオンがCa導入チップ30の微細孔壁表面に析出してくるので〔図9(B)参照〕、微細で高分散状態となることにより、多数の官能基を微細孔壁の隅々から引出すものと考えられる。
この発明において、植物からなる原料の適用可能な炭化温度としては、400℃〜1000℃を挙げることができ、500℃〜900℃が好ましく、最も好ましいのは650℃〜750℃である。
400℃を下回る温度では、細孔が発達せず吸着材としての性能が劣るという不都合が生じる。また、1000℃を越える温度では、炭素化が進みすぎることにより吸着特性が得られないという不都合が生じる。
第1発明によると、植物からなる原料を炭化させた後、その炭化物を酸溶液に接触させることで植物の炭化物の微細孔壁に形成された官能基に、また、第2発明によると、カルシウムイオンを含む溶液に接触させた植物からなる原料を炭化させた後、その炭化物を酸溶液に接触させることで炭化物の微細孔壁から引出して形成した官能基に、直接またはカルシウムイオンを介して、吸着対象の陰イオンとイオン交換が可能な陰イオンを結合させることができる。本発明者らは、鋭意研究の結果、炭化の過程で、温度及び時間を制御することにより炭化物の官能基をより多く生成させることができることを見出した。つまり、第1発明のように、前記原料にカルシウムを導入しない場合は、炭化の際の加熱温度による炭化物の官能基の生成量の差は少ない。一方、第2発明のように、前記原料に予めカルシウムを導入してある場合は、約650℃〜750℃の炭化温度を例えば1時間持続させた後自然冷却させる場合の方が、約600℃および約800℃の炭化温度を1時間持続させた後自然冷却させる場合に比して、より多くの官能基が形成できることを本発明者らは確認した。特にカルシウムを導入した場合、電子顕微鏡で観察すると、上記のように約650℃〜750℃の炭化温度で炭化させた炭化物ではカルシウム化合物の微粒子が前記炭化物の微細孔壁面に半ば析出して均一に分散している様子が観察された。一方、約600℃の炭化温度では、カルシウム化合物の微粒子の前記微細孔壁面への析出が十分行われていない様子が観察された。また、約800℃の炭化温度では、カルシウム化合物の微粒子の前記微細孔壁面への析出は見られるものの、欠落が多くなっている様子が観察された。このように、カルシウムが炭化物の前記微細孔壁面から官能基をできるだけ多く引出すために必要な炭化温度として約650℃〜750℃を挙げることができる。
この発明の酸溶液としては、HCl,H2 SO4 等の製造時の排水処理に問題のない酸溶液を挙げることができる。酸溶液の濃度は、0.01mol/L以上、すなわち、0.01mol/L〜20mol/Lであり(請求項4)、0.1mol/L〜10mol/Lが好ましい。0.01mol/Lを下回る濃度では、十分な効果が得られないという不都合が生じる。尚、酸溶液としては、吸着対象陰イオンとイオン交換可能な陰イオンを含むものが望ましいが、炭化前に植物からなる材料を接触させる溶液中に、吸着対象陰イオンとイオン交換可能な陰イオンを含む場合はこの限りではない。
第1発明では、植物からなる原料を炭化手段によって炭化してなる炭化物の多孔内壁に例えばHCl溶液等の酸溶液を接触させることで、植物の炭化物の微細孔壁面に形成された官能基に、吸着対象の例えば硝酸性窒素や亜硝酸性窒素等の陰イオンとイオン交換が可能な例えば塩化物イオン等の陰イオンを結合させることができる。これは、炭化物を例えばHCl溶液に接触させると、炭化物の微細孔表面にHCl溶液中の塩化物イオンが結合して、当該官能基に塩化物イオンが結合している酸処理木炭S〔図1参照〕が得られると考えられる。
更に、第2発明では、植物からなる原料をカルシウムイオンを含む溶液に接触させた後炭化してなる炭化物の微細孔壁に例えばHCl溶液等の酸溶液を接触させることで、前記微細孔壁から引出した官能基に、直接またはカルシウムイオンを介して、吸着対象とする例えば硝酸性窒素や亜硝酸性窒素等の陰イオンとイオン交換が可能な例えば塩化物イオン等の陰イオンを結合させることができる。これは、例えば前記Ca炭31を例えばHCl溶液3a〔図10(A)参照〕に浸漬させると、Ca炭31の微細孔表面の官能基に結合したカルシウムイオンおよび前記官能基に〔図10(B)参照〕、塩化物イオンが結合して〔図10(C)参照〕、当該官能基に塩化物イオンがカルシウムイオンを介してまたは直接結合している酸処理Ca炭32〔図10(D)参照〕が得られると考えられる。
また、この酸処理は酸溶液に浸漬させるのが効率がよいが、減圧下で行うのが好ましく、1330Pa〜13.3Paの圧力範囲で行うのが好ましい。
また、この発明は、陰イオン吸着炭素材料を得るための中間体を乾燥する乾燥エリアを備え、この乾燥エリアで炭化手段の排熱を利用して前記中間体を乾燥するように構成するのが好ましい(請求項3)。
なお、この発明の陰イオン吸着炭素材料で吸着可能な陰イオンは、炭素材料の微細孔壁表面の官能基に直接またはカルシウムイオンを介して予め結合させてある陰イオンとイオン交換が可能な陰イオンであり、当然、前記炭素材料の微細孔壁表面の官能基に直接またはカルシウムイオンを介して予め結合させてある陰イオン以外の陰イオンである。
この発明では、植物からなる原料を炭化する炭化手段と、この炭化手段で生成した炭化物を酸溶液に接触させる手段とを備えているので、炭化物の微細孔壁に酸溶液を接触させることができ、前記微細孔壁に形成された官能基に、吸着対象の陰イオンとイオン交換が可能な陰イオンを結合させることができる。
また、この発明では、植物からなる原料をカルシウムイオンを含む溶液に接触させる手段と、接触後の前記原料を炭化する炭化手段と、この炭化手段で生成した炭化物を酸溶液に接触させる手段とを備えているので、炭化物の微細孔壁に酸溶液を接触させることができ、前記微細孔壁から引出して形成した官能基に、吸着対象の陰イオンとイオン交換が可能な陰イオンを直接またはカルシウムイオンを介して結合させることができる。
そのため、植物からなる原料を炭化した後塩化鉄溶液に浸漬させる場合のように、Feの排水処理の問題が生じることなく、陰イオン吸着能を持つ陰イオン吸着炭素材料を得ることができる。
そして、この発明では、植物からなる原料をカルシウムイオンを含む溶液に接触させた後炭化する場合、炭化温度を適宜に設定すると、陰イオン交換樹脂と同等あるいは陰イオン交換樹脂よりも優れた陰イオン吸着特性を持つ陰イオン吸着炭素材料を得ることができる。
以下、この発明の実施形態を、図を参照しながら説明する。なお、それによってこの発明は限定されるものではない。
図1、図2は、この発明の第1の実施形態を示す。
図1、図2において、1は、麻等の天然繊維や木材等の植物性の木質材料(植物からなる原料の一例)2を炭化する炭化炉(植物からなる原料を炭化する炭化手段の一例)である。前記原料2としては例えば木質チップが用いられる。この木質チップは、例えば吸水性の高いヒノキ、スギ等の針葉樹を例えば10mm以下のサイズにチップ化したものである。
3は、炭化手段1で生成した炭化物を酸溶液に接触させる酸処理装置で、HCl,H2 SO4 等の酸溶液3aを収容してある容器4の内部に攪拌羽根5を有する。この酸溶液3aの濃度は、例えば5mol/Lである。酸処理装置3は、炭化炉1で得られたチップ状の木炭Aを酸処理するためのものである。そして、(1)酸処理後ただちに使用できる酸処理木炭(中間体の一例)Sはそのまま使用される。また、(2)必要に応じて、酸処理後に前記木炭Sをアルカリで中和してもよく、この場合、(3)中和した酸処理木炭Sを、必要に応じて水洗いしてもよい。6は、乾燥機で、酸処理後の酸処理木炭Sまたは酸処理・中和・水洗後の酸処理木炭Sを、炭化炉廃熱を利用して乾燥させる。なお、湿潤状態で使用される場合は乾燥を省略してもよい。7は、この乾燥処理された酸処理木炭Sがペレット化された製品、8は、乾燥処理された酸処理木炭Sを粉砕して成形された製品である。なお、製品の加工は、用途によって使い分けられる。また、製品7,8以外の製品として、乾燥処理された酸処理木炭Sを例えば不織布へ添着してなるものを挙げることができる。
図3、図4は、この発明の第2の実施形態を示す。
図3、図4において、陰イオン吸着炭素材料の一例である酸処理Ca炭32は、麻等の天然繊維や木材等の植物性の木質材料(植物からなる原料の一例)2をCa導入装置(植物からなる原料にカルシウムイオンを含む溶液を接触させる手段の一例)9に用意されているカルシウムイオンを含む溶液(例えば石灰水H)に浸漬した後乾燥機12で乾燥させ、続いて、炭化炉(炭化手段の一例)1で炭化し、その後、炭化手段1で生成した炭化物を酸溶液に接触させる酸処理装置3でHCl,H2 SO4 等の酸溶液3aに浸漬させ、更に、乾燥機6で乾燥させることにより得られる。この実施形態では、前記植物からなる原料(以下、単に原料という)2として木質チップを用いている。この木質チップは、例えば吸水性の高いヒノキ、スギ等の針葉樹を例えば10mm以下のサイズにチップ化したものである。前記Ca導入装置9は、木質チップ2にCaを導入する装置であり、木質チップ2が浸漬されるカルシウムイオンを含む溶液が収容された容器10を備えている。この実施形態では石灰水Hに木質チップ2を浸漬しており、所定濃度(例えば5重量%)の石灰水Hに木質チップ2を浸漬した後容器10から取り出すことでCaが導入されたCa導入チップ(中間体の一例)30が得られる。この場合、溶液を木質チップ2へ充分染み込ませるため、或いはカルシウムイオンを木質チップ2の成分と充分反応させるために、木質チップ浸漬中に、容器10の内部に設けた攪拌羽根10aを駆動させるのが好ましい。得られたCa導入チップ30を前記乾燥機12で乾燥する。この実施形態では、乾燥機12は、Ca導入チップ30を炭化炉排熱を利用して乾燥させる。なお、石灰乳を用いた方が処理効率がよい。また、石灰水Hや石灰乳に代えて、塩化カルシウム溶液や酢酸カルシウム溶液を用いることもできる。
乾燥させたCa導入チップ30は炭化炉1で炭化され、チップ状のCa炭(炭化物の一例)31が得られる。この実施形態においては炭化条件は、炭化温度が650℃〜750℃である。
前記酸処理装置3は、HCl,H2 SO4 等の酸溶液3aを収容してある容器4を備えており、この容器4の内部に攪拌羽根5が設けられている。この酸溶液3aの濃度は、例えば5mol/Lである。前記酸処理装置3は、炭化炉1で得られたチップ状のCa炭31を酸処理して酸処理Ca炭32を得るためのものである。そして、Ca炭31の表面の炭酸カルシウム(CaCO3 )が酸によって溶解するのを促進させるとともに、塩化物イオンおよびカルシウムイオンを前記Ca炭31の表面の官能基と充分反応させるために、容器4の内部に設けた攪拌羽根5を駆動させるのが好ましい。得られた酸処理Ca炭(中間体の一例)32を前記乾燥機6で乾燥する。この実施形態では、乾燥機6は、酸処理Ca炭32を炭化炉排熱を利用して乾燥させる。
そして、(1)酸処理・乾燥後ただちに使用できる酸処理Ca炭32は陰イオン吸着炭素材料としてそのまま製品に加工される。また、(2)必要に応じて、酸処理後に酸処理Ca炭32をアルカリで中和してもよく、この場合、(3)中和した酸処理Ca炭を、必要に応じて水洗いしてもよい。なお、湿潤状態で使用される場合は乾燥を省略してもよい。
7’は、酸処理Ca炭32がペレット化された製品、8’は、酸処理Ca炭32を粉砕して成形された製品である。なお、製品の加工は、下記に示すように、用途によって使い分けられている。また、製品7’,8’以外の製品として、酸処理Ca炭32を例えば不織布へ添着してなるものを挙げることができる。なお、Ca導入チップ30及びCa炭31は、それぞれ別の工場で作成される場合もあり、この場合は、それぞれ上記実施形態の途中の工程から酸処理Ca炭32を製造すればよい。また、酸処理Ca炭32は、加工を施さずにそのままの形状で使用することもできる。
この発明の陰イオン吸着炭素材料は、以下の用途に主として利用される。
(硝酸性窒素、亜硝酸性窒素の吸着に関して)
(1)水質浄化のために用いられる[前記Ca炭31との組み合わせによりリンも同時に吸着することが可能となる〔図5(A)参照〕。また、微生物担体としても機能する。]。
(2)畜産による汚染の防止のために用いられる[畜産糞尿堆積地、堆肥化設備近傍等糞尿の流出するおそれのある地域への適用〔図5(B)参照〕。]。
(3)農業用として過剰施肥汚染防止のために用いられる[過剰施肥により植物に利用されない窒素分を吸着し、その後の木炭は緩効性肥料として利用可能〔図5(C)参照〕。。また、特に、火災が発生した場合には大量の窒素肥料、アミノ酸の散布など窒素汚染が激しく、そのような地域への適用も可能。]。
(フッ素吸着に関して)
(1)排水(廃水)処理のために用いられる[フッ酸による洗浄を行っている半導体、ガラス、メッキ工場などの最終処理設備への適用〔図5(D)参照〕。]。
《硝酸性窒素、亜硝酸性窒素吸着試験》
〔試験方法〕
硝酸性窒素及び亜硝酸性窒素の濃度が50mg/L(50ppm)の硝酸溶液及び亜硝酸溶液50ml(ミリリットル)(標準液)をそれぞれ五つ用意し、
(1)木質チップ2を700℃で炭化させた比較例に用いる木炭200mg(単に木炭という)
(2)木質チップ2を700℃で炭化させた木炭を1mol/LのFeCl3 溶液に浸漬させた後、水洗いした比較例に用いる塩化鉄木炭200mg、
(3)前記木質チップ2を700℃で炭化させた木炭を5mol/LのHCl溶液に浸漬させた後、水洗いした酸処理木炭200mg、
(4)木質チップ2を5重量%の石灰水に浸漬した後700℃で炭化させた木炭を5mol/LのHCl溶液に浸漬させた酸処理Ca炭32(陰イオン吸着炭素材料)200mg、
(5)比較例に用いる陰イオン交換樹脂200mgの五つのサンプルを、それぞれ対応する標準液に入れ、例えば200rpm、20℃の条件下で、10時間振とう後、前記硝酸溶液及び亜硝酸溶液中の硝酸性窒素の濃度及び亜硝酸性窒素の濃度をそれぞれ測定し、吸着量を計算した。
〔結果〕
図6は、上記各サンプルの硝酸性窒素及び亜硝酸性窒素吸着能の比較を表す。
(1)の700℃炭化の木炭は、硝酸性窒素及び亜硝酸性窒素をほとんど吸着しないのに対して、(2)の塩化鉄木炭は、硝酸性窒素及び亜硝酸性窒素をそれぞれ2.75mg/g及び2.35mg/g吸着した。また、(3)の酸処理木炭Sは、硝酸性窒素及び亜硝酸性窒素をそれぞれ2.50mg/g及び2.20mg/g吸着した。(5)の陰イオン交換樹脂は、硝酸性窒素及び亜硝酸性窒素をそれぞれ10.80mg/g及び10.00mg/g吸着した。
一方、木質チップ2を石灰水Hに浸漬した後炭化し、続いて、HCl溶液に浸漬させてなる(4)の酸処理Ca炭32は、硝酸性窒素及び亜硝酸性窒素をそれぞれ10.75mg/g及び9.80mg/g吸着し、(5)の陰イオン交換樹脂と同等以上の吸着能力を示した。
そして、前記酸処理Ca炭32が例えば硝酸イオンを吸着するメカニズムは、以下のように考えられる。図11(A)に示すように、例えば酸処理Ca炭32(陰イオン吸着炭素材料)を硝酸溶液Lに漬けると、酸処理Ca炭32の微細孔壁表面の官能基にカルシウムイオンを介してまたは直接結合した塩化物イオン〔図11(B)参照〕と硝酸溶液L中の硝酸イオンが交換され〔図11(C)参照〕、硝酸イオンが酸処理Ca炭32に吸着される〔図11(D)参照〕。図11(E)は、図11(D)に示す酸処理Ca炭32をKCl(またはNaCl)溶液に漬けたときの変化を示す。すなわち、吸着された硝酸イオンはKCl(またはNaCl)溶液で再度、塩化物イオンと硝酸イオンを交換させて再生可能となる。以下、この再生試験について説明する。
《再生試験》
〔試験方法〕
前記硝酸性窒素吸着試験を行った後の酸処理木炭Sまたは酸処理Ca炭32の試料を1mol/LのKCl(またはNaCl)溶液で洗浄し、さらに水洗いした。続いて、標準液を交換して硝酸性窒素濃度が50mg/Lの硝酸溶液50ml(ミリリットル)を用意し、水洗いした200mgの前記試料の一回目の再生試験を行った。すなわち、前記試料を硝酸溶液に入れ、例えば200rpm、20℃の条件下で、10時間振とう後、前記硝酸溶液中の硝酸性窒素濃度を測定し、吸着量を計算する一回目の再生試験を前記試料を用いて行った。
次に、一回目の再生試験で用いた前記試料を1mol/LのKCl(またはNaCl)溶液で洗浄し、さらに水洗いした。続いて、標準液を交換して硝酸性窒素濃度が50mg/Lの硝酸溶液50ml(ミリリットル)を用意し、前記水洗いした200mgの前記試料の再生試験を行った。すなわち、前記試料を、硝酸溶液50ml(ミリリットル)に入れ、例えば200rpm、20℃の条件下で、10時間振とう後、前記硝酸溶液中の硝酸性窒素濃度を測定し、吸着量を計算する二回目の再生試験を前記試料を用いて行った。この処理をあと二回繰り返した。
〔結果〕
酸処理木炭Sによる硝酸性窒素の吸着量
初回…2.5mg/g
再生一回目…2.5mg/g
再生二回目…2.4mg/g
再生三回目…2.5mg/g
酸処理Ca炭32による硝酸性窒素の吸着量
初回…10.8mg/g
再生一回目…10.6mg/g
再生二回目…10.9mg/g
再生三回目…10.7mg/g
以上のことから、使用した前記酸処理木炭S及び酸処理Ca炭32をそれぞれ濃いKCl(またはNaCl)溶液で洗浄し、さらに水洗いすることにより、再生することが分かった。すなわち、硝酸性窒素吸着試験で硝酸性窒素(陰イオン)を吸着した酸処理木炭S及び酸処理Ca炭(陰イオン吸着炭素材料)32をそれぞれ、KCl(またはNaCl)溶液で洗浄し、さらに水洗いすることにより、硝酸性窒素吸着試験で吸着した硝酸性窒素(陰イオン)が除去されて、除去された硝酸性窒素(陰イオン)に替えてCl- を結合させることにより、酸処理木炭S及び酸処理Ca炭32(陰イオン吸着炭素材料)がそれぞれ再生することが分かった。つまり、一度使用した酸処理木炭S及び酸処理Ca炭32(陰イオン吸着炭素材料)をそれぞれ使用後にその都度洗浄と水洗いを行うことにより、複数回使用できることが確認された。なお、亜硝酸性窒素を吸着した場合でも、陰イオン吸着炭素材料として酸処理木炭S及び酸処理Ca炭をそれぞれ使用しても、再生する原理は同じである。
《フッ化物イオン吸着試験》
〔試験方法〕
フッ化物イオン濃度が50mg/Lの溶液50ml(ミリリットル)(標準液)を用意し、
(1)木質チップ2を700℃で炭化させた比較例に用いる木炭100mg(単に木炭という)、
(2)木質チップ2を700℃で炭化させた木炭を1mol/LのFeCl3 溶液に浸漬させた後、水洗いした比較例に用いる塩化鉄木炭100mg、
(3)前記木質チップ2を700℃で炭化させた木炭を5mol/LのHCl溶液に浸漬させた後、水洗いした酸処理木炭100mg、
(4)木質チップ2を5重量%の石灰水に浸漬した後700℃で炭化させた木炭を5mol/LのHCl溶液に浸漬させた陰イオン吸着炭素材料(以下、酸処理Ca炭32という)100mg、
(5)比較例に用いる陰イオン交換樹脂100mgの五つのサンプルを、それぞれ対応する標準液に入れ、例えば200rpm、20℃の条件下で、10時間振とう後、前記溶液中のフッ化物イオン濃度をそれぞれ測定し、吸着量を計算した。
〔結果〕
図7は、上記各サンプルのフッ化物イオン吸着能の比較を表す。
(1)の700℃炭化の木炭は、フッ化物イオンをほとんど吸着しないのに対して、(2)の塩化鉄木炭は、7.50mg/gのフッ化物イオンを吸着した。また、(3)の酸処理木炭Sは、5.00mg/gのフッ化物イオンを吸着した。(5)の陰イオン交換樹脂は、8.50mg/gのフッ化物イオンを吸着した。
一方、木質チップ2を石灰水に浸漬した後炭化し、続いて、HCl溶液に浸漬させてなる(4)の酸処理Ca炭32は、19.00mg/gのフッ化物イオンを吸着し、(5)の陰イオン交換樹脂を大きく越える吸着能力を示した。
《再生試験》
〔試験方法〕
次に、前記フッ素吸着試験を行った後の酸処理木炭Sまたは酸処理Ca炭32の試料を1mol/Lの塩酸(または硫酸)で洗浄し、さらに水洗いした。続いて、標準液を交換してフッ化物イオン濃度が50mg/Lの溶液50ml(ミリリットル)を用意し、前記水洗いした200mgの前記試料の一回目の再生試験を行った。すなわち、前記試料を前記溶液に入れ、例えば200rpm、20℃の条件下で、10時間振とう後、前記溶液中のフッ化物イオン濃度を測定し、吸着量を計算する一回目の再生試験を前記試料を用いて行った。 次に、一回目の再生試験で用いた前記試料を1mol/Lの塩酸(または硫酸)で洗浄し、さらに水洗いした。続いて、標準液を交換してフッ化物イオン濃度が50mg/Lの前記溶液50ml(ミリリットル)を用意し、前記水洗いした200mgの前記試料の再生試験を行った。すなわち、前記試料を、前記溶液50ml(ミリリットル)に入れ、例えば200rpm、20℃の条件下で、10時間振とう後、前記溶液中のフッ化物イオン濃度を測定し、吸着量を計算する二回目の再生試験を前記試料を用いて行った。この処理をあと二回繰り返した。
〔結果〕
酸処理木炭Sによるフッ化物イオンの吸着量
初回…2.5mg/g
再生一回目…2.5mg/g
再生二回目…2.4mg/g
再生三回目…2.5mg/g
酸処理Ca炭32によるフッ化物イオンの吸着量
初回…18.7mg/g
再生一回目…18.2mg/g
再生二回目…18.9mg/g
再生三回目…18.6mg/g
以上のことから、使用した前記酸処理木炭S及び酸処理Ca炭32をそれぞれ濃い塩酸(または硫酸)で洗浄し、さらに水洗いすることにより、再生することが分かった。すなわち、フッ素吸着試験でフッ化物イオン(陰イオン)を吸着した酸処理木炭S及び酸処理Ca炭32(陰イオン吸着炭素材料)をそれぞれ、塩酸(または硫酸)で洗浄し、さらに水洗いすることにより、フッ化物イオン吸着試験で吸着したフッ化物イオン(陰イオン)が除去されて、除去されたフッ化物イオン(陰イオン)に替えてCl- (またはSO4 2- )を結合させることにより、酸処理木炭S及び酸処理Ca炭32(陰イオン吸着炭素材料)がそれぞれ再生することが分かった。つまり、一度使用した酸処理木炭S及び酸処理Ca炭32(陰イオン吸着炭素材料)をそれぞれ使用後にその都度洗浄と水洗いを行うことにより、複数回使用できることが確認された。
第1発明の一実施形態を示す全体構成説明図である。 上記実施形態における製造工程の全体を示す図である。 第2発明の一実施形態を示す全体構成説明図である。 第2発明の上記実施形態における製造工程の全体を示す図である。 第1,2発明の上記各実施形態によって得られる陰イオン吸着炭素材料の適用例を示す図である。 第1,2発明の上記各実施形態によって得られる陰イオン吸着炭素材料の硝酸性窒素及び亜硝酸性窒素の吸着試験における各吸着量を示す図である。 第1,2発明の上記各実施形態によって得られる陰イオン吸着炭素材料のフッ化物イオンの吸着試験における各吸着量を示す図である。 第2発明の上記実施形態において植物からなる原料をカルシウムイオンを含む溶液に接触させる工程を示す図である。 第2発明の上記実施形態において接触後の前記原料を炭化する工程を示す図である。 第2発明の上記実施形態において炭化手段で生成した炭化物を酸溶液に接触させる工程を示す図である。 第2発明の上記実施形態によって得られる陰イオン吸着炭素材料の硝酸イオン吸着のメカニズムを示す図である。
符号の説明
1 炭化手段
2 植物からなる原料
3 炭化物を酸溶液に接触させる手段
3a 酸溶液
A 炭化物

Claims (4)

  1. 植物からなる原料を炭化する炭化手段と、この炭化手段で生成した炭化物を酸溶液に接触させる手段とを備えてなることを特徴とする陰イオン吸着炭素材料の製造装置。
  2. 植物からなる原料をカルシウムイオンを含む溶液に接触させる手段と、接触後の前記原料を炭化する炭化手段と、この炭化手段で生成した炭化物を酸溶液に接触させる手段とを備えてなることを特徴とする陰イオン吸着炭素材料の製造装置。
  3. 陰イオン吸着炭素材料を得るための中間体を乾燥する乾燥エリアを備え、この乾燥エリアで炭化手段の排熱を利用して前記中間体を乾燥するように構成してある請求項1または請求項2に記載の陰イオン吸着炭素材料の製造装置。
  4. 炭化手段が、植物からなる原料の炭化物の内部に微細孔が形成され、かつ、その微細孔壁に多数の官能基が形成されるように炭化できるものであるとともに、酸溶液に接触させる手段が、前記官能基に、直接またはカルシウムイオンを介して、吸着対象の陰イオンとイオン交換が可能な陰イオンを結合させることができるものであることを特徴とする請求項1〜請求項3のいずれかに記載の陰イオン吸着炭素材料の製造装置。
JP2004339607A 2003-12-05 2004-11-24 陰イオン吸着炭素材料の製造装置 Expired - Fee Related JP3822894B2 (ja)

Priority Applications (1)

Application Number Priority Date Filing Date Title
JP2004339607A JP3822894B2 (ja) 2003-12-05 2004-11-24 陰イオン吸着炭素材料の製造装置

Applications Claiming Priority (3)

Application Number Priority Date Filing Date Title
JP2003407705 2003-12-05
JP2004074074 2004-03-16
JP2004339607A JP3822894B2 (ja) 2003-12-05 2004-11-24 陰イオン吸着炭素材料の製造装置

Publications (3)

Publication Number Publication Date
JP2005296927A true JP2005296927A (ja) 2005-10-27
JP2005296927A5 JP2005296927A5 (ja) 2006-02-23
JP3822894B2 JP3822894B2 (ja) 2006-09-20

Family

ID=35329115

Family Applications (1)

Application Number Title Priority Date Filing Date
JP2004339607A Expired - Fee Related JP3822894B2 (ja) 2003-12-05 2004-11-24 陰イオン吸着炭素材料の製造装置

Country Status (1)

Country Link
JP (1) JP3822894B2 (ja)

Also Published As

Publication number Publication date
JP3822894B2 (ja) 2006-09-20

Similar Documents

Publication Publication Date Title
KR100834410B1 (ko) 음이온 흡착 탄소 재료와 그 제조 방법
JP3822894B2 (ja) 陰イオン吸着炭素材料の製造装置
JP3790538B2 (ja) 陰イオン吸着炭素材料ならびにその製造方法
JP3718517B1 (ja) 陰イオン吸着炭素材料およびその製造方法
JP3718520B2 (ja) 陰イオン吸着炭素材料とその製造方法
JP3822888B2 (ja) 陰イオン吸着炭素材料の製造装置
JP3790536B2 (ja) 陰イオン吸着炭素材料ならびにその製造方法
JP3790541B2 (ja) 陰イオン吸着炭素材料の製造に用いられるカルシウムまたは金属塩化物導入植物,炭化物ならびにそれらの製造方法
JP2005296927A5 (ja)
JP4001886B2 (ja) 土壌改良肥料およびこれを用いた植物栽培方法
CN1890027B (zh) 阴离子吸附用炭材料及其制造方法和制造装置
JP3828133B2 (ja) 浄水器用浄化材およびこれを用いた上水浄化方法並びに浄水器
JP2007099619A (ja) 土壌改良肥料およびこれを用いた植物栽培方法
JP2006061770A5 (ja)
JP3790540B2 (ja) 中毒防止材
JP3828134B2 (ja) 農牧地排水浄化材およびこれを用いた農牧地排水浄化方法
JP3828130B2 (ja) 下水処理場用浄化材およびこれを用いた下水浄化方法並びに下水処理設備
JP2005305416A5 (ja)
JP2005306716A5 (ja)
JP2005295999A5 (ja)
JP3828131B2 (ja) 下水処理場用を除く排廃水処理用浄化材およびこれを用いた排廃水浄化方法並びに排廃水処理装置
JP2005296930A5 (ja)
JP2007091591A (ja) 土壌改良肥料およびこれを用いた植物栽培方法
JP2005296931A5 (ja)
JP3828132B2 (ja) 浄水器用を除く上水用浄化材およびこれを用いた上水浄化方法並びに上水浄化装置

Legal Events

Date Code Title Description
A621 Written request for application examination

Free format text: JAPANESE INTERMEDIATE CODE: A621

Effective date: 20051116

A521 Request for written amendment filed

Free format text: JAPANESE INTERMEDIATE CODE: A523

Effective date: 20060106

A871 Explanation of circumstances concerning accelerated examination

Free format text: JAPANESE INTERMEDIATE CODE: A871

Effective date: 20060207

A975 Report on accelerated examination

Free format text: JAPANESE INTERMEDIATE CODE: A971005

Effective date: 20060306

A131 Notification of reasons for refusal

Free format text: JAPANESE INTERMEDIATE CODE: A132

Effective date: 20060328

A521 Request for written amendment filed

Free format text: JAPANESE INTERMEDIATE CODE: A523

Effective date: 20060526

TRDD Decision of grant or rejection written
A01 Written decision to grant a patent or to grant a registration (utility model)

Free format text: JAPANESE INTERMEDIATE CODE: A01

Effective date: 20060620

A61 First payment of annual fees (during grant procedure)

Free format text: JAPANESE INTERMEDIATE CODE: A61

Effective date: 20060623

R150 Certificate of patent or registration of utility model

Ref document number: 3822894

Country of ref document: JP

Free format text: JAPANESE INTERMEDIATE CODE: R150

Free format text: JAPANESE INTERMEDIATE CODE: R150

FPAY Renewal fee payment (event date is renewal date of database)

Free format text: PAYMENT UNTIL: 20090630

Year of fee payment: 3

FPAY Renewal fee payment (event date is renewal date of database)

Free format text: PAYMENT UNTIL: 20100630

Year of fee payment: 4

FPAY Renewal fee payment (event date is renewal date of database)

Free format text: PAYMENT UNTIL: 20110630

Year of fee payment: 5

FPAY Renewal fee payment (event date is renewal date of database)

Free format text: PAYMENT UNTIL: 20120630

Year of fee payment: 6

FPAY Renewal fee payment (event date is renewal date of database)

Free format text: PAYMENT UNTIL: 20130630

Year of fee payment: 7

LAPS Cancellation because of no payment of annual fees