JP2005295955A - 植物育成装置 - Google Patents

植物育成装置 Download PDF

Info

Publication number
JP2005295955A
JP2005295955A JP2004120672A JP2004120672A JP2005295955A JP 2005295955 A JP2005295955 A JP 2005295955A JP 2004120672 A JP2004120672 A JP 2004120672A JP 2004120672 A JP2004120672 A JP 2004120672A JP 2005295955 A JP2005295955 A JP 2005295955A
Authority
JP
Japan
Prior art keywords
growth
plant
cylindrical
cabinet
drum
Prior art date
Legal status (The legal status is an assumption and is not a legal conclusion. Google has not performed a legal analysis and makes no representation as to the accuracy of the status listed.)
Pending
Application number
JP2004120672A
Other languages
English (en)
Inventor
Kazutaka Miyatake
和孝 宮武
Yuichiro Takai
高井雄一郎
Yasukazu Takashima
保和 高島
Kunimori Miyoshi
國司 三好
Current Assignee (The listed assignees may be inaccurate. Google has not performed a legal analysis and makes no representation or warranty as to the accuracy of the list.)
Osaka Industrial Promotion Organization
Original Assignee
Osaka Industrial Promotion Organization
Priority date (The priority date is an assumption and is not a legal conclusion. Google has not performed a legal analysis and makes no representation as to the accuracy of the date listed.)
Filing date
Publication date
Application filed by Osaka Industrial Promotion Organization filed Critical Osaka Industrial Promotion Organization
Priority to JP2004120672A priority Critical patent/JP2005295955A/ja
Publication of JP2005295955A publication Critical patent/JP2005295955A/ja
Pending legal-status Critical Current

Links

Images

Landscapes

  • Cultivation Of Plants (AREA)

Abstract

【課題】本発明は、狭い空間や人工的な環境、たとえば、八百屋の店先、宇宙空間にある人工衛星内等の空間などにおいて植物を生育させる育成装置の開発を課題としている。
【解決手段】キャビネット内に、円筒状ドラム7に囲われた回動自在な基板3を設け、この基板上に複数枚のセクタープレート4を放射状に立設して該セクタープレートと前記ドラムの内径とに囲われた楔状のクロースチャンバー5を複数個形成し、さらに、筒状体からなりその側面に植生用開口窓6aを複数個開口した育成床6を該クロースチャンバー内に立設し、その植生用開口窓に培養土または連続気泡からなる樹脂発泡体に播種して、前記のドラム側に設けた光源8からこの植生用開口窓6a側を照射して植物を側面方向に生育、成長させる立体的な育成装置として、狭所においても多数の植物を栽培できるものとした。
【選択図】 図1

Description

本発明は、狭い空間や人工的な環境などにおいて、極端な例としては宇宙空間にある人工衛星内において植物を生育させる得る育成装置に関するものである。
従来、植物の育成は自然環境のもとで、乃至は、温室やビニールハウス、水耕栽培により行われ、その育成を促進させるために蛍光灯や高圧ナトリウムランプなどの光線照射装置を設置する方法が知られていた。
また、被照射植物のほぼ全周にわたって連続的にまたは断続的に照射方向を変化させて照明を当てる部分と蔭になる部分とを積極的に調整する光線照射装置を採用するものがあった。
また、キャビネット内の天井面近くに光源として蛍光灯を設置し、植物の生体情報または成長量を測定し、前記光源の光強度を調節するという植物育成装置が開示されている。
さらには、断熱壁で囲まれたキャビネットの上面等に照明窓を設け、ここに制御手段を有するLED照明具を設置すると共に該キャビネット内での植物育成状況を検出するセンサーと育成環境監視手段を付加した植物育成装置が開示されているが、主として植物の育成条件の調査研究用に使用されているようである。
特開平08−228597号公報(図8) 特開2001−251961号公報(図1) 特開2003−79254号公報(図1)
前記の植物育成装置において、植生面は何れも平面的であって多量生産システムではなかった。これに対して本発明は、宇宙ステーションなどのように限定された空間、すなわち小面積、かつ、物質環境の制限された中においても植物の育成を可能にし、さらには、品種および生長速度の異なる植物体の育成を同じ生育装置内で同時に栽培可能とすることを課題とする。
また、通常の植物栽培が重力支配下でなされ得るものであるのに対して、この重力の影響を排除し、植物の成長管理を完全自動化することをも課題とする。
本発明に係る植物育成装置の請求項1の発明においては、キャビネット内に光源を備え、温度、湿度、炭酸ガス等の植物育成状況を計測し、最適な育成条件維持をコンピュータによりコントロールする植物育成装置において、該キャビネット内に円筒状ドラムに囲われた回動自在な基板を設け、この基板上に複数枚のセクタープレートを放射状に立設して該セクタープレートと前記ドラムの内径とに囲われた楔状のクロースチャンバーを複数個形成し、さらに、筒状体からなりその側面に植生用開口窓を複数個開口した育成床を該クロースチャンバー内に立設する構成として、円周方向および上下方向に、それぞれ複数段にわたって植生できるものとした。
請求項2の発明においては、前記放射状に区画されたクロースチャンバーを、さらに、その両側のセクタープレート間に一ないし複数枚の仕切り板を係合することにより上下方向に区画し、個室化された数段の育成室を形成できるものとした。
請求項3の発明においては、キャビネット内を照射する光源が蛍光灯、水銀灯、ナトリウム灯、発光ダイオードまたは白熱灯の一ないしそれらの2以上の組合せであって、前記光源が円筒状ドラムの内側面から該ドラムの中心方向に照射し、かつ、調光可能に装着されている構成とした。
請求項4の発明においては、キャビネット内を照射する光源が蛍光灯、水銀灯、ナトリウム灯、発光ダイオードまたは白熱灯の内の一種または服数種であって、該光源が円筒状ドラムの中心に立設され、透光性材料からなる筒状体に囲障されていることとし、すべてのチャンバーを均等に照射するものとした。
請求項5の発明においては、多数の植生用開口窓を開設した筒状体からなる育成床を、育成室内の基板面からほぼ天井の高さまでを一体として立設し、この筒状体育成床の内径内に、円周面に多数の液体噴出口を開設し、かつ、液体用ポンプを介して貯水タンクに接続された潅水用パイプを装着することを手段として、該筒状育成床の全周面に植生された植物に対応して360度潅水が可能にした。
請求項6の発明においては、前記育成床が、底付き筒状体でその円周面に植生用開口窓と給水口および排水口を開設し、かつ、その筒状体の上端外径が下端の内径に挿通嵌合する構造としたことにより、各植生植物に対する培養土が個別化され、その培養土の自重による固化がなくなる。
請求項7の発明においては、播種し、または発芽した連続気泡からなる発泡体を、前記クロースチャンバー内に立設した筒状育成床の植生用開口窓に嵌合し取付けることを手段として、植物が水平方の光源に向かい生長することを容易にした。
請求項8の発明においては、筒状育成床の内部に装着した潅水用パイプから噴出する水または液肥を溶かした水は、植生用開口窓より上方の該筒状育成床内面に衝突して反射する飛沫とし、かつ、時間的にインターバルをもって植物の根または培地に潅水することとし、過剰潅水による根腐れを防止した。
請求項9の発明においては、前記クロースチャンバーに立設した筒状育成床の内部に、育成植物に最適な栄養分を混合した培養土16を充填した織り布または不織布等からなる袋体(16a)が装填される構成として、培養土の漏出を防止した。
請求項10の発明においては、育成床内部の湿度測定を、植物の根が進入する媒体の電気抵抗を測定することを手段として行い、媒体が乾燥状態時のみに潅水する、いわゆるインターバル潅水を行うものとした。
請求項11の発明においては、キャビネットに換気扇を付設して外気を導入することを可能にし、例えば、宇宙ステーション内での室内空気を本装置に導入することにより炭酸ガスの補給を可能にし、或いは、前記各チャンバーないし個室化した育成室内の温度、湿度を最適にすることにも利用できるものとした。
この発明においては、限定された装置内で適切な光度に調整されたライトが円周方向から中心方向に向かって、或いは、中心から拡散光として植生用開口窓の方向を照射することになり、植物は該光源に向かって成長することになり、したがって、地球の引力の影響を受けない。この植物育成装置はすべての植物、食用キノコ等の栽培に適用することが可能であり、さらに広範囲な特殊的環境、例えば、寒冷化の極地や潜水艦、宇宙ステーション、地中、海中などの隔離された状況においても利用できて常に新鮮な野菜の取得が可能になる。
本発明に係る植物育成装置内のクロースチャンバーを縦横に細分化して個室化したことにより、環境条件を個別に管理し保持することが可能となった。したがって、この装置内では生育条件の異なる数種類の植物が同時に栽培できることになる。
また、一般的な用途としては、野菜販売業者が自ら店頭で野菜を生産して販売することが可能であり、また特殊な細瑾類の育成、その他植物類の生産管理に最適である。また、温度、湿度、雰囲気などの調整のみならず、植物体の育成のために必要な培地の最適条件保持をコンピュータによってコントロールすることが可能で、栽培知識を不要とするものである。
本発明の植物育成装置1は、キャビネット2の内部に円盤状の回転基板3を水平に装着し、その回転基板3上に複数枚のセクタープレート4,4を放射状に立設することによって楔状に仕切られたクロースチャンバー5,5を形成し、かつ、このセクタープレート4,4間すなわちクロースチャンバー5,5内に、多数の植生用開口窓6a、6a(図3)を開設した筒状育成床6を立設し、さらに前記セクタープレート4,4の外周部と共に回転基板3をも囲障する一部開口7aのドラム7を立設する。この各クロースチャンバー5,5内を照射するための電源を伴った光源8が前記ドラム7側に装着され、植物用培地の湿度調整のため水槽10とポンプおよび注水口11、生育環境調整のためのエアーコンデショナー20、温度、湿度の計測器、植物の生育状況計測器等をも備え、これら植物生育に適した環境条件保持のための制御をコンピュータ13に行わせるものとした。
本発明に係る植物育成装置の実施例について図面を参照して説明する。図面は本装置の実施の形態を示したもので図1は本装置本体の中央縦断面図、図2はその横断面図、図3は筒状体になる育成床を示した部分断面図、図4は接続構成の育成床を示した斜視図、図5は実施例二の植物育成装置の中央縦断面図、図6は実施例二の植物育成装置を中央横断面で示し、図7は第二の実施例における筒状育成床の一部を示した断面図、図8は実施例三の植物育成装置を示す中央縦断面図である。
図1は、本発明植物育成装置の一例を中央縦断面図により示したもので、望ましくは断熱性素材からなるキャビネット2を上下に区画して仮に上方を育成室2u、下方を調整機器室2dとする。その上方の育成室2uには正面に植物の出し入れ用窓2aが開設され、その前面に覗き窓9aを有する扉9が開閉自在に軸支されている。
この育成室2uの下端の中心位置に設けた支持軸14に円盤状基板3が回転自在に嵌合されている。この円盤状基板3は手動で回転するものとしてもよく、また、例えば円盤状基板3の裏面側にプーリー12を装着し図示していない駆動装置にベルト12aを介して接続しても良い。この円盤状基板3の上面には複数枚のセクタープレート4,4が放射状に立設されて該空間を楔状に仕切り、内径側が開口状のクロースチャンバー5,5を形成している。さらに、このクロースチャンバー5,5内を上下方向に区切る着脱自在な仕切り板5aが育成植物の背丈または枝葉の拡がりに応じて装着可能にされている。また、各クロースチャンバー5内には温度計、湿度計および照度計が適所に設置されて、制御用コンピュータ13に接続されている。
このセクタープレート4,4が立設された前記の基板3を取り囲むように一部開口7aしたドラム7が前記の育成室2u内に設置され、そのドラム7の内壁面には蛍光灯、水銀灯、ナトリウム灯、発光ダイオードまたは白熱灯などの一種または複数の光源8が多数装着されて図示していない電源に接続され、その照度をコンピュータ13により制御するものとしている。なお、図1,2などには光源8がドラム7外に設置され、ドラム側面の開口部からドラム内を照射している状態を示しているが、光源の位置はそのいずれでも良いことは勿論である。
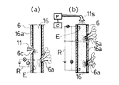
前記の各クロースチャンバー5には図1に示すように、植生用開口窓6aを多数開口し、布製袋体16a内に培養土16を充填した育成床6が各セクター5上に各1本、前記基板3上から植物育成装置1の天井近くに達するように装着されている。この育成床6の給水口6cには給水ノズル11を近接せしめて潅水(図3(a))し、または、該植物育成装置内に設けた噴霧ノズル11sの直下にまで該育成床6を移動(図3(b))させて潅水することを可能にしている。
また、図4に示す育成床61は、図1に植物育成装置1の中心より右側に装着した状態を示したもので、育成床61は下端の大径部6Dの内径と上端外径6dが嵌合し合う筒状体とし、かつ、底板6bを有し、正面に植生用開口窓6aを、裏面に給水口6c、排水口6eを開設した構成で、内径内に培養土16を装填し、前記同様に植生用開口窓6aが光源側に向かうようにして各クロースチャンバー5内に立設される。この場合、ポンプを介して水槽に接続されたホースHが各給水口6cに導入されて必要時に潅水される構造としている。
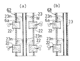
図5に示した植物育成装置1における育成床62は、円周面に植生用開口窓6aを周方向ならびに軸方向に多数開設し、かつ、その育成床62の中心に、多数の液体吐出用細孔23n,23nを開口させた給水管23が立設された構成になるもので、この育成床62を1本のみ、前記の基板3の中心位置に立設し、前記給水管にはポンプを介して水槽および図示しないに液肥タンクに接続され、液体吐出用細孔23nから噴出する水または液肥Wが育成床62の内面に衝突して飛沫として反射し、植物の根の近傍に潅水することになる。なお、上記では育成床62の中心に給水管23を立設し、その育成床62の全周面に植生用開口窓6aを形成するものたしたが、給水管23を育成床6の一方の内壁面に近接して設置し、その対称にのみ、植生用開口窓6aを形成しても良いことは勿論である。
植物生育に必要な湿度をコントロールするために、前記の植生用開口窓6aから該培養土16に電極Eを挿通し、これに接続した電気抵抗測定器R(図3)により培養土の電気抵抗が計測される。この計測値と予め記憶させた基準値との比較をコンピュータ13が行い、抵抗値が大になると水または液肥が与えられる。この計測は、図示していないタイマーを介し,或いは、パルス発信器Pを付設して定期的に信号を送ることにより行なうことにしている。なお、適当なインターバルをもって人為的に潅水することも可能である。前記図3の(a)は電極を植物の根に近接した位置に設置したもの、(b)は育成床6の上端と下端と間隔を広くして設置したものである。
キャビネット2の下方、すなわち調整機器室2dには液肥および水用の水槽10が設置され、ポンプ15を介して育成室2uにまで延伸された注水口11を経て前記植生用開口窓6aに(図3(a))、または、育成床6の上端から噴霧ノズル11sを介して潅水可能としている(図3(b))。この図3(a)の注水口11は、たとえば支持軸14の中心に立設したポール17に昇降自在に取付けて、コンピュータ13制御により給水の必要な植生用開口窓6aの高さにまで移動させ、一方、基板3を回動させて潅水の必要な植生用開口窓6aを該注水口11の直前に誘導することもこも可能であり、また、図3(b)の噴霧ノズル11sはそれぞれの育成床6の上部に1個を設置し、基板3を回転させて育成床6の上端を注水口11sの直下に誘導して液肥等を噴霧する構成としているが、各育成床6の上部に注水口11sを配置しても良い。
植物の生育には光合成が伴うが、これに必要とされるのが炭酸ガスである。キャビネット内に炭酸ガス測定用センサーを設置し、その情報をえて、たとえば調整機器室2d内に装着した膜体内の濃縮炭酸ガス18を放出することによって補給する。また、本発明に係る植物育成装置は使用場所の一つとして宇宙ステーション内を予定しており、この宇宙ステーション内には人間が排出する二酸化炭素があり、キャビネット2の一部に換気扇19を取り付けてその宇宙ステーション内の空気を導入することで補給することを可能にしている。さらに、エアーコンデショナー20も装着されてコンピュータ13の指示によりクロースチャンバー5内の最適温度維持を図っている。
また、植物の生育程度に応じて照度の設定が必要である。これに関しては装置内を直接に、またはCCDカメラ等による撮影映像を目視して判定する。なお、光源8に対して植物の反対側の照度を測定することによって該植物の成長度合いを推測し、或いは、植物の葉の葉緑素による反射光量の差を計測してこれらに数値をコンピュータ13により解析し、前記光源8の照度を調節することも可能である。これによって、植物は、自然条件の下に生育するのと同様の栽培が可能になる。
図5および図6には、本発明植物育成装置の第二の実施例を示したもので、前記図1においては、それぞれのクロースチャンバー5に育成床6を各1本立設したが、この図5,図6では基板の中央にやや太くその円周面に多数の植生用開口窓6aを開設した育成床62で、前記のように内径内に潅水用パイプ23を内装したものである。
前記、図5、図6、図7に示すように、植物培地として連続気泡になる樹脂などの発泡体を用い、これに播種し、または播種後発芽した状態で該発泡体を裁断して、前記の植生用開口窓6aに挿通し保持される。このようにして育成床62の内径内に突出する発泡体には、前記の潅水用のパイプ23の液体噴出孔23nから噴出された水または液肥が育成床6の内面に衝突し、跳ね返った飛沫が植物の根またはその近傍に落下して湿度または栄養分を供給する(図7)ことになる。
図8は本発明植物育成装置の第三の実施例を示したものである。この装置30の説明には前記第一の実施例と重複する部分を省略する。この装置30において、キャビネット2の上方育成室2uには、ドラム7に囲まれた基板3が回動自在に軸支されており、コンピュータ13に制御された駆動装置によって適時に回動させられる子とは前記と同様である。その基板3の上面中心位置にアクリル樹脂などの透光性材料からなる筒状体21で囲障された蛍光灯などの光源22が上下方向に立設されており、その光度はコンピュータ13により調節可能にされている。
この透光性筒状体21の外周から基板3の外周に達する複数枚のセクタープレート4,4が放射状に立設されて該基板上の空間を楔状に仕切りクロースチャンバー5,5が形成されている。このクロースチャンバー5に、筒状体の育成床6がその該植生用開口窓6aを光源側に向けて立設されている。この育成床6の媒体への潅水用注水口11は前記透光性筒状体21の外径近傍に立設したポール17にその基部を螺合させるなどにより上下動自在とし、コンピュータ13によりその上下動を制御する。
このクロースチャンバー5,5内を上下方向に区切る着脱自在な仕切り板5aが植物の背丈または枝葉の拡がりに応じて装着されること、そのクロースチャンバー5内の温度、湿度その他植物生育環境条件の測定、植物の生育媒体の湿度測定と潅水等の装置およびコンピュータ13による制御、換気扇の設置は前記第1の実施例と同様である。
以上の構成になる本発明植物育成装置1において、育成床6に播種し、あるいは、生育した植物の採取などの人工的なアクセスは前記の扉9を開放し、キャビネット2に開口する窓2aからなされる。
植物は、光源の所在方向に伸びるものである。本発明に係る植物育成装置が播種土壌としての育成床6に対して水平方向に光源を設置したことにより、植物は該光源の方向に伸び生育することになる。したがって、狭い面積すなわち、育成床6から外壁としてのドラムまでの距離は生育植物の背丈に見合う程度で育成できることから、設置面積を小さくして上下方向に長い装置にすれば多量の植物が栽培することが可能であり、宇宙ステーション内など、特殊環境下での使用が可能である。
また、設置面積が小さいことから、野菜などを販売する小規模商店においても、その軒先に設置して野菜を育成し、客の要望に応じてこれを採取し、即時に販売することも可能で新鮮さをアピールする商売が成立する。
本発明に係る植物育成装置一例を示した中央縦断面図である。 植物育成装置の横断面図である。 筒状体になる育成床を示した部分断面図で(a)はある。 接続構成になる育成床の斜視図である。 第二の実施例に係る植物育成装置を中央縦断面で示した図である。 第二の実施例に係る植物育成装置を中央横断面で示した図である。 第二の実施例における筒状体育成床の一部を示した断面図で(a)は給水管を育成床の中心に、(b)は偏芯させて立設した例である。 第三の実施例に係る植物育成装置を中央横断面で示した図である。
符号の説明
1 植物育成装置
2 キャビネット
3 円盤状基板
4 セクタープレート
5 クロースチャンバー
6,61,62、63 育成床
7 ドラム
8 光源
9 扉
10 水槽
11 注水口
12 ポンプ
13 コンピュータ
14 支持軸
15 ポンプ
16 培養土
18 濃縮炭酸ガス
19 換気扇
20 エアーコンデショナー
21 透光性筒状体
22 発泡体
23 潅水用パイプ

Claims (11)

  1. キャビネット内に光源を備え、温度、湿度、炭酸ガス等の植物育成状況を計測し、最適な育成条件維持をコンピュータによりコントロールする植物育成装置において、該キャビネット内に円筒状ドラムで囲われた回動自在な基板を設け、この基板上に複数枚のセクタープレートを放射状に立設して該セクタープレートと前記ドラムの内径とに囲われた楔状クロースチャンバーを複数個形成し、さらに、筒状体からなりその側面に植生用開口窓を複数個開口した育成床(6,61)を該クロースチャンバー内または育成床(62)を基板の中心位置に立設したことを特徴とする植物育成装置。
  2. キャビネット内に光源を備え、温度、湿度、炭酸ガス等の植物育成状況を計測し、最適な育成条件維持をコンピュータによりコントロールする植物育成装置において、該キャビネット内に円筒状ドラムに囲われた回動自在な基板を設け、この基板上に複数枚のセクタープレートを放射状に立設して該セクタープレートと前記ドラムの内径とに囲われた楔状クロースチャンバーを複数個形成し、該クロースチャンバー内に筒状体からなり、その側面に植生用開口窓を複数個開口した育成床(6,61、62)を立設し、さらに、前記複数個のクロースチャンバー(5)内を仕切り板(5a)でもって上下方向複数個に区画することを特徴とする請求項1記載の植物育成装置。
  3. キャビネット内を照射する多数の光源(8)が蛍光灯、水銀灯、ナトリウム灯、発光ダイオードまたは白熱灯の内の一種または複数種であって、かつ、キャビネット内の円筒状ドラム側に装着され、該ドラムの中心方向に向かって調光可能に照射することに特徴を有する請求項1または請求項2記載の植物育成装置。
  4. キャビネット内を照射する光源(8)が蛍光灯、水銀灯、ナトリウム灯、発光ダイオードまたは白熱灯の内の一種または服数種であって、かつ、円筒状ドラムの中心に立設され、透光性材料からなる筒状体に囲障されていることを特徴とする請求項1または請求項2記載の植物育成装置。
  5. 多数の植生用開口窓を開設した筒状体の内径内に、液体用ポンプを介して貯水タンクに接続され、かつ、多数の液体噴出口(32a)をその円周面に開設した潅水用パイプ(23)が立設されたことを特徴とする請求項1または請求項2記載の育成床。
  6. 筒状体育成床(61)の下端内径(6D)に上端外径(6d)が嵌合する直径とし、かつ、その円周面に植生用開口窓(6a)と給水口(6c)および排水口(6e)を開設した底(6d)付き筒状体を一ないし複数本接続した構成になることを特徴とする請求項1または請求項2記載の育成床。
  7. 播種し、または発芽した連続気泡からなる発泡体(22)を、前記クロースチャンバー内に立設した筒状育成床(62)の植生用開口窓(6a)に嵌合し取付けたことを特徴とする請求項1または2記載の植物育成装置。
  8. 筒状育成床の内部に装着した潅水用パイプ(23)の液体吐出用細孔(23n)から噴出する水または液肥を溶かした水は、植生用開口窓より上方の該筒状育成床(62,63)内面に衝突して反射する飛沫とし、かつ、時間的にインターバルをもって植物の根または培地に潅水することを特徴とする請求項5記載の筒状育成床。
  9. 前記クロースチャンバーに立設した筒状育成床(6)の内部には、育成植物に最適な栄養分を混合した培養土を充填された織り布または不織布等からなる袋体(16a)が装填されていることを特徴とする請求項1または2記載の筒状育成床。
  10. 育成床内部の湿度測定を、植物の根が進入する媒体の電気抵抗によって行うことを特徴とする請求項5、請求項6記載の筒状育成床。
  11. キャビネットに換気扇(19)を付設したことを特徴とする請求項1記載の植物育成装置。
JP2004120672A 2004-04-15 2004-04-15 植物育成装置 Pending JP2005295955A (ja)

Priority Applications (1)

Application Number Priority Date Filing Date Title
JP2004120672A JP2005295955A (ja) 2004-04-15 2004-04-15 植物育成装置

Applications Claiming Priority (1)

Application Number Priority Date Filing Date Title
JP2004120672A JP2005295955A (ja) 2004-04-15 2004-04-15 植物育成装置

Publications (1)

Publication Number Publication Date
JP2005295955A true JP2005295955A (ja) 2005-10-27

Family

ID=35328249

Family Applications (1)

Application Number Title Priority Date Filing Date
JP2004120672A Pending JP2005295955A (ja) 2004-04-15 2004-04-15 植物育成装置

Country Status (1)

Country Link
JP (1) JP2005295955A (ja)

Cited By (16)

* Cited by examiner, † Cited by third party
Publication number Priority date Publication date Assignee Title
JP2011120557A (ja) * 2009-12-14 2011-06-23 Tokyo Univ Of Agriculture & Technology 植物栽培システム
JP2016021897A (ja) * 2014-07-17 2016-02-08 株式会社大林組 植物栽培装置及び植物栽培方法
JP2016021918A (ja) * 2014-07-18 2016-02-08 株式会社大林組 植物栽培室
TWI561165B (ja) * 2015-09-08 2016-12-11 Yu-Lun Bai
EP2871931A4 (en) * 2012-07-10 2016-12-21 Once Innovations Inc SOURCES OF LIGHT ADAPTED TO THE SPECTRAL SENSITIVITY OF A PLANT
JP2016214194A (ja) * 2015-05-25 2016-12-22 株式会社大林組 植物栽培装置及び植物栽培方法
JP2017513534A (ja) * 2015-03-31 2017-06-01 シャオミ・インコーポレイテッド 植物成長制御システム、方法、プログラム及び記録媒体
US10028448B2 (en) 2012-07-10 2018-07-24 Once Innovations, Inc. Light sources adapted to spectral sensitivity of plants
US10244595B2 (en) 2014-07-21 2019-03-26 Once Innovations, Inc. Photonic engine system for actuating the photosynthetic electron transport chain
KR20190066036A (ko) * 2016-10-07 2019-06-12 스캇 매시 식물 재배 장치 및 방법
CN114391425A (zh) * 2022-01-24 2022-04-26 江苏丰收菇业有限公司 一种带温湿度控制的杏鲍菇培养箱
JP7164910B1 (ja) 2022-03-28 2022-11-02 株式会社デジタルブラスト 栽培システム、及び栽培方法
CN115474505A (zh) * 2022-11-02 2022-12-16 成都农业科技中心 一种人工培育灵芝的装置及方法
KR20230019395A (ko) * 2021-07-30 2023-02-08 박해영 인공 중력 기반 식물 재배 장치 및 이를 포함한 식물 재배 시스템
CN117859630A (zh) * 2024-01-15 2024-04-12 淮北师范大学 用于植物工厂的植物生长培养系统
CN119837027A (zh) * 2025-03-21 2025-04-18 潍坊市农业科学院(山东省农业科学院潍坊市分院) 一种小麦幼苗培育装置及培育方法

Citations (4)

* Cited by examiner, † Cited by third party
Publication number Priority date Publication date Assignee Title
JPS5024528Y2 (ja) * 1971-08-11 1975-07-23
JPS5583978U (ja) * 1978-12-07 1980-06-10
JPH03253080A (ja) * 1990-03-02 1991-11-12 Fujitsu Ltd 量子効果装置
JP2001128571A (ja) * 1999-11-04 2001-05-15 Bio Oriented Technol Res Advancement Inst 植物栽培装置

Patent Citations (4)

* Cited by examiner, † Cited by third party
Publication number Priority date Publication date Assignee Title
JPS5024528Y2 (ja) * 1971-08-11 1975-07-23
JPS5583978U (ja) * 1978-12-07 1980-06-10
JPH03253080A (ja) * 1990-03-02 1991-11-12 Fujitsu Ltd 量子効果装置
JP2001128571A (ja) * 1999-11-04 2001-05-15 Bio Oriented Technol Res Advancement Inst 植物栽培装置

Cited By (31)

* Cited by examiner, † Cited by third party
Publication number Priority date Publication date Assignee Title
JP2011120557A (ja) * 2009-12-14 2011-06-23 Tokyo Univ Of Agriculture & Technology 植物栽培システム
US10973173B2 (en) 2012-07-10 2021-04-13 Signify North America Corporation Light sources adapted to spectral sensitivity of plants
EP2871931A4 (en) * 2012-07-10 2016-12-21 Once Innovations Inc SOURCES OF LIGHT ADAPTED TO THE SPECTRAL SENSITIVITY OF A PLANT
US10028448B2 (en) 2012-07-10 2018-07-24 Once Innovations, Inc. Light sources adapted to spectral sensitivity of plants
US10212892B2 (en) 2012-07-10 2019-02-26 Once Innovatians, Inc. Light sources adapted to spectral sensitivity of plant
US10524426B2 (en) 2012-07-10 2020-01-07 Signify Holding B.V. Light sources adapted to spectral sensitivity of plant
JP2016021897A (ja) * 2014-07-17 2016-02-08 株式会社大林組 植物栽培装置及び植物栽培方法
JP2016021918A (ja) * 2014-07-18 2016-02-08 株式会社大林組 植物栽培室
US10813183B2 (en) 2014-07-21 2020-10-20 Signify North America Corporation Photonic engine system for actuating the photosynthetic electron transport chain
US10244595B2 (en) 2014-07-21 2019-03-26 Once Innovations, Inc. Photonic engine system for actuating the photosynthetic electron transport chain
JP2017513534A (ja) * 2015-03-31 2017-06-01 シャオミ・インコーポレイテッド 植物成長制御システム、方法、プログラム及び記録媒体
JP2016214194A (ja) * 2015-05-25 2016-12-22 株式会社大林組 植物栽培装置及び植物栽培方法
TWI561165B (ja) * 2015-09-08 2016-12-11 Yu-Lun Bai
JP2023159073A (ja) * 2016-10-07 2023-10-31 マッセー、スコット 植物栽培機器及び方法
KR102726844B1 (ko) * 2016-10-07 2024-11-05 스캇 매시 식물 재배 장치 및 방법
KR20190066036A (ko) * 2016-10-07 2019-06-12 스캇 매시 식물 재배 장치 및 방법
JP2025076482A (ja) * 2016-10-07 2025-05-15 マッセー、スコット 植物栽培機器及び方法
US11937564B2 (en) 2016-10-07 2024-03-26 Heliponix, Llc Plant growing apparatus and method
JP7634610B2 (ja) 2016-10-07 2025-02-21 マッセー、スコット 植物栽培機器及び方法
JP2019534701A (ja) * 2016-10-07 2019-12-05 マッセー、スコット 植物栽培機器及び方法
JP7386702B2 (ja) 2016-10-07 2023-11-27 マッセー、スコット 植物栽培機器及び方法
KR20230019395A (ko) * 2021-07-30 2023-02-08 박해영 인공 중력 기반 식물 재배 장치 및 이를 포함한 식물 재배 시스템
KR102852139B1 (ko) * 2021-07-30 2025-09-01 다니엘 박 인공 중력 기반 식물 재배 장치 및 이를 포함한 식물 재배 시스템
CN114391425A (zh) * 2022-01-24 2022-04-26 江苏丰收菇业有限公司 一种带温湿度控制的杏鲍菇培养箱
JP7164910B1 (ja) 2022-03-28 2022-11-02 株式会社デジタルブラスト 栽培システム、及び栽培方法
JP2023144559A (ja) * 2022-03-28 2023-10-11 株式会社デジタルブラスト 栽培システム、及び栽培方法
WO2023188529A1 (ja) * 2022-03-28 2023-10-05 株式会社デジタルブラスト 栽培システム、及び栽培方法
CN115474505A (zh) * 2022-11-02 2022-12-16 成都农业科技中心 一种人工培育灵芝的装置及方法
CN115474505B (zh) * 2022-11-02 2024-06-11 成都农业科技中心 一种人工培育灵芝的装置及方法
CN117859630A (zh) * 2024-01-15 2024-04-12 淮北师范大学 用于植物工厂的植物生长培养系统
CN119837027A (zh) * 2025-03-21 2025-04-18 潍坊市农业科学院(山东省农业科学院潍坊市分院) 一种小麦幼苗培育装置及培育方法

Similar Documents

Publication Publication Date Title
KR200462981Y1 (ko) 컨테이너를 이용한 식물 재배 장치
ES2941045T3 (es) Granja modular con sistema de carrusel
JP2005295955A (ja) 植物育成装置
KR101034513B1 (ko) 수경재배장치
US20180359946A1 (en) Apparatus for growing vegetables, mushrooms, ornamental plants and the like
KR101413135B1 (ko) 실내용 다목적 인삼 수경재배 장치
JP4880082B1 (ja) カプセル型野菜栽培装置
US20020184820A1 (en) Plant growing system
JPWO2004026023A1 (ja) 育苗装置
KR101563563B1 (ko) 작물성장을 위한 최적 환경점 도출을 위한 작물재배장치
JP5945836B2 (ja) 植物栽培槽及び植物栽培装置並びに植物栽培方法
KR200476709Y1 (ko) 수경재배장치
KR101287155B1 (ko) 멀티 수경 재배 장치
US11723318B2 (en) Indoor plant-growing system
KR20220081038A (ko) Ict 기반 회전식 수경재배장치
KR102457286B1 (ko) 식물과 버섯 겸용 재배장치
KR100866578B1 (ko) 식물 재배기
KR101582388B1 (ko) 식물 재배 장치
KR102102289B1 (ko) 식생포트를 이용한 벽면 녹화장치
JP2012147749A (ja) 室内用水耕栽培装置
US20240196822A1 (en) Vertical cultivation system for growing plants and method for growing of plants
KR101869777B1 (ko) 인삼 수경 재배 장치
KR20140135395A (ko) 버섯재배기 및 이를 이용한 버섯재배사
JP2017158437A (ja) 植物栽培装置及び植物栽培システム
RU2787699C1 (ru) Комнатная теплица

Legal Events

Date Code Title Description
A621 Written request for application examination

Effective date: 20070406

Free format text: JAPANESE INTERMEDIATE CODE: A621

A977 Report on retrieval

Free format text: JAPANESE INTERMEDIATE CODE: A971007

Effective date: 20080925

A131 Notification of reasons for refusal

Free format text: JAPANESE INTERMEDIATE CODE: A131

Effective date: 20100421

A521 Written amendment

Effective date: 20100709

Free format text: JAPANESE INTERMEDIATE CODE: A523

A131 Notification of reasons for refusal

Free format text: JAPANESE INTERMEDIATE CODE: A131

Effective date: 20110218

A02 Decision of refusal

Effective date: 20110809

Free format text: JAPANESE INTERMEDIATE CODE: A02