JP2005295876A - 植栽用コンテナー - Google Patents
植栽用コンテナー Download PDFInfo
- Publication number
- JP2005295876A JP2005295876A JP2004116131A JP2004116131A JP2005295876A JP 2005295876 A JP2005295876 A JP 2005295876A JP 2004116131 A JP2004116131 A JP 2004116131A JP 2004116131 A JP2004116131 A JP 2004116131A JP 2005295876 A JP2005295876 A JP 2005295876A
- Authority
- JP
- Japan
- Prior art keywords
- container
- support
- planting
- plant
- soil
- Prior art date
- Legal status (The legal status is an assumption and is not a legal conclusion. Google has not performed a legal analysis and makes no representation as to the accuracy of the status listed.)
- Pending
Links
Images
Classifications
-
- Y—GENERAL TAGGING OF NEW TECHNOLOGICAL DEVELOPMENTS; GENERAL TAGGING OF CROSS-SECTIONAL TECHNOLOGIES SPANNING OVER SEVERAL SECTIONS OF THE IPC; TECHNICAL SUBJECTS COVERED BY FORMER USPC CROSS-REFERENCE ART COLLECTIONS [XRACs] AND DIGESTS
- Y02—TECHNOLOGIES OR APPLICATIONS FOR MITIGATION OR ADAPTATION AGAINST CLIMATE CHANGE
- Y02A—TECHNOLOGIES FOR ADAPTATION TO CLIMATE CHANGE
- Y02A30/00—Adapting or protecting infrastructure or their operation
- Y02A30/24—Structural elements or technologies for improving thermal insulation
- Y02A30/254—Roof garden systems; Roof coverings with high solar reflectance
-
- Y—GENERAL TAGGING OF NEW TECHNOLOGICAL DEVELOPMENTS; GENERAL TAGGING OF CROSS-SECTIONAL TECHNOLOGIES SPANNING OVER SEVERAL SECTIONS OF THE IPC; TECHNICAL SUBJECTS COVERED BY FORMER USPC CROSS-REFERENCE ART COLLECTIONS [XRACs] AND DIGESTS
- Y02—TECHNOLOGIES OR APPLICATIONS FOR MITIGATION OR ADAPTATION AGAINST CLIMATE CHANGE
- Y02B—CLIMATE CHANGE MITIGATION TECHNOLOGIES RELATED TO BUILDINGS, e.g. HOUSING, HOUSE APPLIANCES OR RELATED END-USER APPLICATIONS
- Y02B80/00—Architectural or constructional elements improving the thermal performance of buildings
- Y02B80/32—Roof garden systems
Landscapes
- Cultivation Receptacles Or Flower-Pots, Or Pots For Seedlings (AREA)
- Cultivation Of Plants (AREA)
- Protection Of Plants (AREA)
Abstract
【課題】屋上緑化用植栽コンテナなどにおいて潅水、酸素補給と共に強風、日照、寒暖に対する保護措置を提供する。
【解決手段】コンテナ1の土壌を充填する底部近傍側面の相対する2辺に一対の開口11を設け、該開口に連通する多孔質、若しくは網目構造からなる通気管2を設けて、
該通気管内に潅水用配管3を配置し、固定用フレーム4を挿通して強風などに対する固定構造を構成すると共に容器底部にマット状の不織布性吸水シートを敷設し過剰な水分を吸水させる。これらの外部給水、固定構造は、多数配列したコンテナー列周囲の縁石5によってカバーする。さらに、コンテナー側壁隅部に植物支持用及び/又は植物保護ート支持用の支柱支持孔12を設けて、支柱を立設し、保護シート支持や植物支持に用いる。
【選択図】図4
【解決手段】コンテナ1の土壌を充填する底部近傍側面の相対する2辺に一対の開口11を設け、該開口に連通する多孔質、若しくは網目構造からなる通気管2を設けて、
該通気管内に潅水用配管3を配置し、固定用フレーム4を挿通して強風などに対する固定構造を構成すると共に容器底部にマット状の不織布性吸水シートを敷設し過剰な水分を吸水させる。これらの外部給水、固定構造は、多数配列したコンテナー列周囲の縁石5によってカバーする。さらに、コンテナー側壁隅部に植物支持用及び/又は植物保護ート支持用の支柱支持孔12を設けて、支柱を立設し、保護シート支持や植物支持に用いる。
【選択図】図4
Description
本発明は、園芸植物から山野草木まで、植物を植え込み、栽培して建築物屋上やその他の人工環境などに植生を形成するためのコンテナーに関する。
近年、都市環境のヒートアイランド現象の防止や潤いのある環境を求めて、ビルなどの屋上に植栽環境を形成する屋上緑化や建築物周辺に種々の植物を植え込んだ植栽を形成することが進められるようになってきている。これらの植生を形成しようとする環境は人工的な環境であって、乾燥や風雨の影響を受けやすいため、単純に建築物屋上面に土壌を敷きこんで植物を植え込んだり、植物を植え込んだコンテナー類を配置しても目的とする植物を育成することは困難であり、豊かな植生を形成することはできない。
建築物屋上に直接土壌を敷いて行う場合、最も自然環境に近くできるようであるが、屋上床面の漏水防止、強風や降雨による土壌の飛散・流出などの措置が必要であり、既存の建築物においてこれらに対するいろいろな対策が必要となる。
コンテナーなどの容器に植え込む場合は、既存の建築物構造には格別の措置を施す必要がない利点があるが、限られた容器内でそれぞれ独立に植物の生育条件を維持し、長期間育成させることは困難である。
植物にとって根に対する給水と共に酸素の補給が必要であり、このような容器栽培の場合、植物の根は土の中の酸素を求めて伸び、容器中に充満して所謂ポットバンドと呼ばれる状態を呈する。この現象はビニールポットなどで栽培する場合に良く見られる現象であるが、伸張した根はこのように容器中に充満したポットバンド状態になると、生育が停止して衰退するに到る。
建築物屋上に直接土壌を敷いて行う場合、最も自然環境に近くできるようであるが、屋上床面の漏水防止、強風や降雨による土壌の飛散・流出などの措置が必要であり、既存の建築物においてこれらに対するいろいろな対策が必要となる。
コンテナーなどの容器に植え込む場合は、既存の建築物構造には格別の措置を施す必要がない利点があるが、限られた容器内でそれぞれ独立に植物の生育条件を維持し、長期間育成させることは困難である。
植物にとって根に対する給水と共に酸素の補給が必要であり、このような容器栽培の場合、植物の根は土の中の酸素を求めて伸び、容器中に充満して所謂ポットバンドと呼ばれる状態を呈する。この現象はビニールポットなどで栽培する場合に良く見られる現象であるが、伸張した根はこのように容器中に充満したポットバンド状態になると、生育が停止して衰退するに到る。
このような植物育成用の容器について、水分補給と酸素補給を行うため、容器底部を貯水槽部とし、その上方に器壁に設けた開口に通じる多孔性の通気体を配置した植木鉢が提案されている。
また、このような植栽コンテナを多数敷き詰めて庭園様の植生を形成することもこれまでに種々提案されている。
特開平8−172921号公報
特開2000−262150号公報
特開2001−299115号公報
特開2001−78582号公報 ところで、屋上緑化に際しては、これらの屋上の環境は地上から離れているため乾燥の度合いが著しく、また、ビルの屋上などでは風の影響が大きく、とりわけ強風に煽られて植物や時に植物を植え込んだコンテナーまで吹き飛ばされて落下する危険があり、これらの安全対策が欠かせない。 これに対して、コンテナー外縁部などを取り付け部として構造物に固定する方法などが講じられているが、外観がすこぶる不体裁であるばかりでなく、これらのコンテナーがプラスチック製であると、外縁部などの固定部の強度を十分に確保することが困難であった。 植え込まれた植物に対しても、これらの強風対策として保護手段を講じないと、丈の高い植物や育成途中の苗などは吹き倒され、或いは未だ柔らかい新芽などは傷つくこととなる。 また、このような屋上においては、地盤からの水分補給がないばかりでなく、乾燥も著しく、安定した土壌水分を保持するための潅水手段が不可欠であるが、人手による水遣りは管理維持のためのコストも大きいため、給水用の配管による潅水システムが提案されているが、屋上の限られた空間においては可能な限り景観が保たれることが望まれるのに対して、このような容器を配置すると土中埋設型の潅水システムは適用できない。 更に、建築物の屋上などは日差しや寒暖の変化も大きく、上記したような屋上緑化に用いられる、コンテナなどではこれらの保護を図ることが困難である。
また、このような植栽コンテナを多数敷き詰めて庭園様の植生を形成することもこれまでに種々提案されている。
屋上緑化に限らず、集合住宅のベランダや家屋周辺の空間を利用して、コンテナに植物を植え込んでガーデニングを楽しむことも広く行われているが、これらの植物も丈の低い草花に限らず、百合のように丈が高く、強風などによって傷みやすいものや家庭菜園として楽しむ場合など、丈の高いトマトや或いはキウリなどのつる性の植物を植える場合など、支持支柱が必要な場合も少なくない。
また、強風や霜対策、或いは強い日射に対して保護シートや日よけなどを設けることも必要となる。
このため、植木鉢や植栽用のコンテナー内の土に支柱を立てて、植物を支持したり、保護シートなどを固定することが行われているが、何分容器内の浅く、柔らかい土壌のため十分な支持強度を確保できず、強風に煽られると容易に倒され、機能することができない。
また、強風や霜対策、或いは強い日射に対して保護シートや日よけなどを設けることも必要となる。
このため、植木鉢や植栽用のコンテナー内の土に支柱を立てて、植物を支持したり、保護シートなどを固定することが行われているが、何分容器内の浅く、柔らかい土壌のため十分な支持強度を確保できず、強風に煽られると容易に倒され、機能することができない。
屋上緑化用などに使用する植物を植え込むコンテナーにおいて、ポットバンド現象を防止して水分・酸素補給条件を満たすと共に、強風に対し景観を維持しつつコンテナーと植物の保護・安全手段を確保し、また、ガーデニングなどにおいて同様の植物の保護手段を提供する。
本発明は、土壌を充填する底部近傍側面の相対する2辺に複数対の開口を設け、
該開口に連通する多孔質、若しくは網目構造からなる通気管を設けてなる、
植栽用コンテナーであって、
該通気管内に潅水用配管を配置し、固定用フレームを挿通して固定構造を構成すると共に底部に不織布性吸水性シートを設けてなることを特徴とする、屋上緑化などの植栽用コンテナーであり、コンテナー側壁又は隅部に植物支持用及び/又は植物保護シート支持用の支柱支持孔を形成してなるものである。
また、土壌を充填する底部近傍側面の相対する2辺に一対の開口を設け、
該開口に連通する多孔質、若しくは網目構造からなる通気管を設けてなる、
植栽用コンテナーであって、コンテナー側壁又は隅部に植物支持用及び/又は植物保護シート支持用の支柱支持孔を形成すると共に底部に不織布性吸水性シートを設けてなることを特徴とする、植栽用コンテナーである。
該開口に連通する多孔質、若しくは網目構造からなる通気管を設けてなる、
植栽用コンテナーであって、
該通気管内に潅水用配管を配置し、固定用フレームを挿通して固定構造を構成すると共に底部に不織布性吸水性シートを設けてなることを特徴とする、屋上緑化などの植栽用コンテナーであり、コンテナー側壁又は隅部に植物支持用及び/又は植物保護シート支持用の支柱支持孔を形成してなるものである。
また、土壌を充填する底部近傍側面の相対する2辺に一対の開口を設け、
該開口に連通する多孔質、若しくは網目構造からなる通気管を設けてなる、
植栽用コンテナーであって、コンテナー側壁又は隅部に植物支持用及び/又は植物保護シート支持用の支柱支持孔を形成すると共に底部に不織布性吸水性シートを設けてなることを特徴とする、植栽用コンテナーである。
本発明の植栽用コンテナーは、植物育成に欠かせない酸素を供給するための構造として有効な手段である通気管を潅水パイプ及び固定構造の配置に利用することにより、効果的な潅水ができると共に、固定構造を設けることが困難なプラスチック製コンテナーに対して負荷が集中せず、その構造を損傷することのない固定構造を設けることを可能とする。
これらの構造により屋上緑化用などとして、強風に対して強固な安全措置を施すとともに、潅水、通気などのシステムを緑化環境の景観を損なうことなく設置することが可能であり、コンテナ側壁に形成された支柱支持孔により、気候・天候や植物の生育状況にあわせて植物の生育状況に応じて日除け、防風用保護シート、或いは支持手段など適宜のサポート手段を講じることができる。
また、家屋周辺に用いられる植栽用コンテナーとして、これらの強固なサポート手段を容易に設けることができるため、家庭環境におけるガーデニングにおいても省力効果と植物の保護効果を達成することができる。さらに、これらのコンテナー底部に敷設した不織布性吸水シートは土壌中の過剰な水分を吸収して保水機能を保つと共に潅水後表面に拡散・蒸発して水分が不足すると毛細管作用により給水することによって、土壌のみを充填した場合に起こりがちな底部に滞留した過剰水分による弊害を解消し、通気性と水分補給のバランスを維持して好適な育成環境を提供する。
これらの構造により屋上緑化用などとして、強風に対して強固な安全措置を施すとともに、潅水、通気などのシステムを緑化環境の景観を損なうことなく設置することが可能であり、コンテナ側壁に形成された支柱支持孔により、気候・天候や植物の生育状況にあわせて植物の生育状況に応じて日除け、防風用保護シート、或いは支持手段など適宜のサポート手段を講じることができる。
また、家屋周辺に用いられる植栽用コンテナーとして、これらの強固なサポート手段を容易に設けることができるため、家庭環境におけるガーデニングにおいても省力効果と植物の保護効果を達成することができる。さらに、これらのコンテナー底部に敷設した不織布性吸水シートは土壌中の過剰な水分を吸収して保水機能を保つと共に潅水後表面に拡散・蒸発して水分が不足すると毛細管作用により給水することによって、土壌のみを充填した場合に起こりがちな底部に滞留した過剰水分による弊害を解消し、通気性と水分補給のバランスを維持して好適な育成環境を提供する。
以下、図面を参照して具体的に説明する。
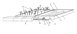
図1は、本発明の植栽用コンテナ本体外観と通気管を示す。本体1は、図の例では600mmW×600mmL×200mmHの長方形のプラスチックス製成形体であって、相対する一対の側壁下方に開口11を適宜の間隔を置いて複数対形成し、該開口の間にわたってメッシュ構造の通気管2を配置して、コンテナ内の土に対して外気が流通して、酸素を供給するようにする。
コンテナーの4隅には一体成形で支持部を形成して支持支柱の挿通孔12を形成する。これらの支持支柱用の挿通孔の位置は、側壁に形成してもよいが強度的にはこのように4隅の位置が好適である。
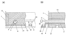
図2(A)、(B)は、それぞれ通気管内に潅水パイプ3と固定フレーム4を組み込んだ構造の詳細を示す断面図であって、(A)の通気管2を垂直に切断した断面図及びこれと垂直方向の断面図(B)に示すとおり、メッシュ構造の通気管内に潅水用の小孔を設けた潅水パイプ3及び固定用フレーム4を挿通し、コンテナー側壁外でそれぞれ外部の給水配管31及び固定枠41などの固定構造に接続固定する。
多数のコンテナーを敷設する場合には、潅水パイプ及び固定フレームは図示しない隣接する他のコンテナの通気管内を連通して配置され、コンテナ列の末端などの開放端となるコンテナ側壁から外部に引き出されて、給水配管31及び固定枠41に接続される。
これらの配管は、屋上に設置された雨水タンクなどの給水源に接続されて、コンテナに植え込まれた植物の生育状態に合わせた制御条件で給水する。給水配管内を送られる水は、通気管内に配置された潅水パイプの小孔から滴下、若しくは注水されて、通気管のメッシュ構造を通過してコンテナ内の土に給水される。過剰に給水された場合には、これらのコンテナ側壁の開口から流出するが、コンテナー内にはその底部に不織布などからなるマット状の吸水性シート21が敷かれており、給水された水分は土中を浸透しながら近接する吸水シートに吸収されて保水層として機能する。この給水シートはマット状の微細な構造からなり、毛細管作用によりこれと接する土から過剰な水分を吸収すると共にマット状の微細構造の間隙に相当量の水分を蓄えることができる。
コンテナーなどの植栽容器に土のみを充填して潅水すると、水分は土粒子間に充満した状態となって滞留・貯留されやすく、植物の根に対する通気性を失う惧れがあるが、吸水性シートを敷くことにより過剰な水分を速やかに、且つ効果的に吸い取って蓄え、潅水後土中の水分が表層に向けて浸透して失われるにつれて徐々に供給することができるため、土のみを充填する場合よりも土壌中の水分を好適な条件に保ち、植物の根に対して水分と通気性の両面で常にバランスのよい条件を保つことができる。
このような土の層に埋め込まれた通気管内から潅水することにより、コンテナーによる植生外観の体裁が良いばかりでなく、潅水に無駄がなく効果的な潅水が可能である。
図1は、本発明の植栽用コンテナ本体外観と通気管を示す。本体1は、図の例では600mmW×600mmL×200mmHの長方形のプラスチックス製成形体であって、相対する一対の側壁下方に開口11を適宜の間隔を置いて複数対形成し、該開口の間にわたってメッシュ構造の通気管2を配置して、コンテナ内の土に対して外気が流通して、酸素を供給するようにする。
コンテナーの4隅には一体成形で支持部を形成して支持支柱の挿通孔12を形成する。これらの支持支柱用の挿通孔の位置は、側壁に形成してもよいが強度的にはこのように4隅の位置が好適である。
図2(A)、(B)は、それぞれ通気管内に潅水パイプ3と固定フレーム4を組み込んだ構造の詳細を示す断面図であって、(A)の通気管2を垂直に切断した断面図及びこれと垂直方向の断面図(B)に示すとおり、メッシュ構造の通気管内に潅水用の小孔を設けた潅水パイプ3及び固定用フレーム4を挿通し、コンテナー側壁外でそれぞれ外部の給水配管31及び固定枠41などの固定構造に接続固定する。
多数のコンテナーを敷設する場合には、潅水パイプ及び固定フレームは図示しない隣接する他のコンテナの通気管内を連通して配置され、コンテナ列の末端などの開放端となるコンテナ側壁から外部に引き出されて、給水配管31及び固定枠41に接続される。
これらの配管は、屋上に設置された雨水タンクなどの給水源に接続されて、コンテナに植え込まれた植物の生育状態に合わせた制御条件で給水する。給水配管内を送られる水は、通気管内に配置された潅水パイプの小孔から滴下、若しくは注水されて、通気管のメッシュ構造を通過してコンテナ内の土に給水される。過剰に給水された場合には、これらのコンテナ側壁の開口から流出するが、コンテナー内にはその底部に不織布などからなるマット状の吸水性シート21が敷かれており、給水された水分は土中を浸透しながら近接する吸水シートに吸収されて保水層として機能する。この給水シートはマット状の微細な構造からなり、毛細管作用によりこれと接する土から過剰な水分を吸収すると共にマット状の微細構造の間隙に相当量の水分を蓄えることができる。
コンテナーなどの植栽容器に土のみを充填して潅水すると、水分は土粒子間に充満した状態となって滞留・貯留されやすく、植物の根に対する通気性を失う惧れがあるが、吸水性シートを敷くことにより過剰な水分を速やかに、且つ効果的に吸い取って蓄え、潅水後土中の水分が表層に向けて浸透して失われるにつれて徐々に供給することができるため、土のみを充填する場合よりも土壌中の水分を好適な条件に保ち、植物の根に対して水分と通気性の両面で常にバランスのよい条件を保つことができる。
このような土の層に埋め込まれた通気管内から潅水することにより、コンテナーによる植生外観の体裁が良いばかりでなく、潅水に無駄がなく効果的な潅水が可能である。
また、固定フレーム4は、通気管からコンテナー列外周に配置された固定枠41などの固定構造にアンカーボルト45などにより固定される。
コンテナーの外縁部などにボルトなどの固定手段を設けて固定するとプラスチックなどの材質は、負荷の集中に耐えられないため破損しやすく、特に屋外の環境にさらされた状態では材質劣化が進むため耐久性が確保できないが、通気管内に挿通した構造によれば、負荷が分散されるために部分的に荷重が掛かることはなく、強固な固定構造とすることができる。
本発明の植栽コンテナーを多数敷設して、屋上緑化などで庭園風の植生を構築する場合には、図4に示すように多数のコンテナを敷設して各隣接するコンテナ間でそれぞれの通気管を通して潅水パイプと固定フレームを配置し、最外列の末端のコンテナから引き出された潅水パイプを全体の給水配管31に接続し、固定フレームも敷設場所に設けた固定用の枠体41にアンカーボルトで固定し、これら全体を縁石5で覆って囲い、庭園としての体裁を整えることができる。
このように複数の植栽コンテナーを多数隣接して敷設する場合、それぞれのコンテナー間の配管及び固定構造を共通として全体を囲う長さとし、これらの潅水パイプ及び固定フレームを各コンテナーを連通して末端のコンテナーにおいて引き出して外部の配管及び固定構造に接続・固定してもよいが、これら長さをコンテナの寸法に合わせて規格化し、隣接するコンテナ間の潅水パイプ同士及び固定フレーム同士を連結する構造とすることにより、各コンテナーをユニット化することができる。
すなわち、これらの隣接するコンテナーは密着して配置することが望まれるため、潅水パイプ及び固定フレーム端部は、各コンテナーの壁面と面一に構成し、それぞれを連結するジョイントを設ける。これらのジョイントについては、種々の構造が知られおり、ワンタッチで接続できるなど便利な構造のものを機能に応じて適宜に採用できるため詳説しないが、パイプ間をそれぞれに相通するパイプで接続するなどより簡単な構造でも実施可能である。また、これらの固定フレームの構造は図のように長方形断面である必要はなく、パイプ構造でもよい。
これらのユニット化したコンテナーを用いれば、敷設する広さに合わせてこれらの個々の潅水パイプ及び固定フレームを調整する必要はなく、現場においてそれぞれのコンテナーを組み合わせて敷設することができる。
いずれの構造においても、この固定構造によれば、コンテナは連通して強固に固定され、また、固定フレームの固定構造についても既存の建築構造にこのような固定構造がなくとも、全体を一括した補強部材としてより自由に構築できるため、施工上有利である。
また、これらの潅水パイプや固定フレームなどはいずれもコンテナ内に配置され、末端部以外には露出しないため、これらの構造によれば屋上緑化において構築された折角の庭園の景観が損なわれることはない。
コンテナーの外縁部などにボルトなどの固定手段を設けて固定するとプラスチックなどの材質は、負荷の集中に耐えられないため破損しやすく、特に屋外の環境にさらされた状態では材質劣化が進むため耐久性が確保できないが、通気管内に挿通した構造によれば、負荷が分散されるために部分的に荷重が掛かることはなく、強固な固定構造とすることができる。
本発明の植栽コンテナーを多数敷設して、屋上緑化などで庭園風の植生を構築する場合には、図4に示すように多数のコンテナを敷設して各隣接するコンテナ間でそれぞれの通気管を通して潅水パイプと固定フレームを配置し、最外列の末端のコンテナから引き出された潅水パイプを全体の給水配管31に接続し、固定フレームも敷設場所に設けた固定用の枠体41にアンカーボルトで固定し、これら全体を縁石5で覆って囲い、庭園としての体裁を整えることができる。
このように複数の植栽コンテナーを多数隣接して敷設する場合、それぞれのコンテナー間の配管及び固定構造を共通として全体を囲う長さとし、これらの潅水パイプ及び固定フレームを各コンテナーを連通して末端のコンテナーにおいて引き出して外部の配管及び固定構造に接続・固定してもよいが、これら長さをコンテナの寸法に合わせて規格化し、隣接するコンテナ間の潅水パイプ同士及び固定フレーム同士を連結する構造とすることにより、各コンテナーをユニット化することができる。
すなわち、これらの隣接するコンテナーは密着して配置することが望まれるため、潅水パイプ及び固定フレーム端部は、各コンテナーの壁面と面一に構成し、それぞれを連結するジョイントを設ける。これらのジョイントについては、種々の構造が知られおり、ワンタッチで接続できるなど便利な構造のものを機能に応じて適宜に採用できるため詳説しないが、パイプ間をそれぞれに相通するパイプで接続するなどより簡単な構造でも実施可能である。また、これらの固定フレームの構造は図のように長方形断面である必要はなく、パイプ構造でもよい。
これらのユニット化したコンテナーを用いれば、敷設する広さに合わせてこれらの個々の潅水パイプ及び固定フレームを調整する必要はなく、現場においてそれぞれのコンテナーを組み合わせて敷設することができる。
いずれの構造においても、この固定構造によれば、コンテナは連通して強固に固定され、また、固定フレームの固定構造についても既存の建築構造にこのような固定構造がなくとも、全体を一括した補強部材としてより自由に構築できるため、施工上有利である。
また、これらの潅水パイプや固定フレームなどはいずれもコンテナ内に配置され、末端部以外には露出しないため、これらの構造によれば屋上緑化において構築された折角の庭園の景観が損なわれることはない。
さらに、本発明のコンテナは、側壁の四隅に支持支柱を挿通して立設するための支持支柱孔12を設けており、この構造を利用して種々の態様で植物の保護手段を講じることができる。
図3(A)〜(C)に示す態様は、繊維強化プラスチック(ファイバーグラス)製などの弾力性・可撓性の棒材を用いて保護枠を形成する例で、図3(A)示すように四隅の支持孔に支持棒6を挿入してアーチ状やかまぼこ状に湾曲した支持枠を形成する。その上から、保護シート61をかぶせて4隅下方で固定する。これらの保護シートの材質は、ビニールシートやメッシュ状のシートなど、霜よけ、日除け防風など、必要に応じて用いることができる。このようにコンテナ側壁の構造に支柱を強固に固定できるため、これら保護シートは強固に固定することができ、強風時にも十分に耐えることができる。
図3(A)〜(C)に示す態様は、繊維強化プラスチック(ファイバーグラス)製などの弾力性・可撓性の棒材を用いて保護枠を形成する例で、図3(A)示すように四隅の支持孔に支持棒6を挿入してアーチ状やかまぼこ状に湾曲した支持枠を形成する。その上から、保護シート61をかぶせて4隅下方で固定する。これらの保護シートの材質は、ビニールシートやメッシュ状のシートなど、霜よけ、日除け防風など、必要に応じて用いることができる。このようにコンテナ側壁の構造に支柱を強固に固定できるため、これら保護シートは強固に固定することができ、強風時にも十分に耐えることができる。
また、同図(C)に示すように適宜の高さとなる屈曲管62を該支持孔に挿通して固定し、その屈曲して水平な管内に支持支柱6を挿入して水平に支柱を配置することにより、適宜の高さに水平な支持支柱を配置することができ、該支柱に直接、或いは垂直な適宜の支柱を該支柱に固定して、丈の高いトマトや菊など、或いはキウリなどのつる性の植物の支持に用いることができる。
以上、屋上緑化用植栽コンテナーとして説明したが、個々のコンテナー単独で使用する場合も同様であって、上記の通気管を挿通する潅水パイプや固定フレームは必ずしも必要としないが、支柱支持孔を形成した構造は、強風や霜対策用保護シート、或いは日除け用寒冷紗などの支持構造となり、幼苗の保護、日射調節など植物の種類や育成状態に応じたきめ細かい調整が可能となり、また、容器底部に不織布性吸水シートを配置した構造は、上記した屋上緑化用とした場合と同じく土壌中の水分と通気性の好適なバランスを維持し、多様な植物について好適な育成環境を整えることができる。
以上、屋上緑化用植栽コンテナーとして説明したが、個々のコンテナー単独で使用する場合も同様であって、上記の通気管を挿通する潅水パイプや固定フレームは必ずしも必要としないが、支柱支持孔を形成した構造は、強風や霜対策用保護シート、或いは日除け用寒冷紗などの支持構造となり、幼苗の保護、日射調節など植物の種類や育成状態に応じたきめ細かい調整が可能となり、また、容器底部に不織布性吸水シートを配置した構造は、上記した屋上緑化用とした場合と同じく土壌中の水分と通気性の好適なバランスを維持し、多様な植物について好適な育成環境を整えることができる。
本発明の植栽用コンテナーは、都市環境の整備に欠かせないものとなった屋上緑化を通じて広く普及が可能であり、また、一般的な家庭環境でもガーデニングにおいて多種多様な植栽条件に応じて花卉類から食用野菜に到るまで種々の植物の育成に好適であり、一般家庭の需要に応えて普及することによって、産業上貢献なしうる。
1 植栽コンテナ
11 開口
12 支柱支持穴
13 土
2 通気管
21 不織布シート
3 潅水パイプ
31 給水配管
4 固定用フレーム
41 固定枠
45 アンカーボルト
5 縁石
6 支柱
61 保護シート
62 屈曲管
7 植物
11 開口
12 支柱支持穴
13 土
2 通気管
21 不織布シート
3 潅水パイプ
31 給水配管
4 固定用フレーム
41 固定枠
45 アンカーボルト
5 縁石
6 支柱
61 保護シート
62 屈曲管
7 植物
Claims (3)
- 土壌を充填する底部近傍側面の相対する2辺に複数対の開口を設け、
該開口に連通する多孔質、若しくは網目構造からなる通気管を設けてなる、植栽用コンテナーであって、
該通気管内に潅水用配管を配置し、固定用フレームを挿通して固定構造を構成すると共に底部に吸水性シートを設けてなることを特徴とする、屋上緑化などの植栽用コンテナー。 - コンテナー側壁又は隅部に植物支持用及び/又は植物保護シート支持用の支柱支持孔を形成してなることを特徴とする、請求項1記載の屋上緑化などの植栽用コンテナー。
- 土壌を充填する底部近傍側面の相対する2辺に一対の開口を設け、
該開口に連通する多孔質、若しくは網目構造からなる通気管を設けてなる、植栽用コンテナーであって、
コンテナー側壁又は隅部に植物支持用及び/又は植物保護シート支持用の支柱支持孔を形成すると共に底部に吸水性シートを設けてなることを特徴とする、植栽用コンテナー。
Priority Applications (1)
| Application Number | Priority Date | Filing Date | Title |
|---|---|---|---|
| JP2004116131A JP2005295876A (ja) | 2004-04-09 | 2004-04-09 | 植栽用コンテナー |
Applications Claiming Priority (1)
| Application Number | Priority Date | Filing Date | Title |
|---|---|---|---|
| JP2004116131A JP2005295876A (ja) | 2004-04-09 | 2004-04-09 | 植栽用コンテナー |
Publications (1)
| Publication Number | Publication Date |
|---|---|
| JP2005295876A true JP2005295876A (ja) | 2005-10-27 |
Family
ID=35328173
Family Applications (1)
| Application Number | Title | Priority Date | Filing Date |
|---|---|---|---|
| JP2004116131A Pending JP2005295876A (ja) | 2004-04-09 | 2004-04-09 | 植栽用コンテナー |
Country Status (1)
| Country | Link |
|---|---|
| JP (1) | JP2005295876A (ja) |
Cited By (7)
| Publication number | Priority date | Publication date | Assignee | Title |
|---|---|---|---|---|
| WO2007063660A1 (ja) * | 2005-12-02 | 2007-06-07 | Kyodo Ky-Tec Corp. | 緑化設備の仕切構造 |
| WO2010089663A1 (en) * | 2009-02-09 | 2010-08-12 | Kwok-Kei Law | Apparatus and system for plant cultivation |
| EP2572570A4 (en) * | 2010-05-19 | 2013-11-06 | Suntory Holdings Ltd | PLANT CONTAINER |
| US8950111B2 (en) | 2008-08-30 | 2015-02-10 | Plus Kaken Innovate Labo Co., Ltd. | Device for fixing biomass-based solar heat and carbon dioxide gas, and house equipped with same fixing device |
| KR101837146B1 (ko) * | 2016-02-02 | 2018-03-09 | 손도재 | 공기공급 가능한 양액 재배 장치 |
| CN109392503A (zh) * | 2018-11-08 | 2019-03-01 | 天津市澍丰农业科技有限公司 | 建筑物顶面绿化建筑结构及施工方法 |
| JP2019033717A (ja) * | 2017-08-21 | 2019-03-07 | 義之 岩城 | 植栽育成ボックス |
-
2004
- 2004-04-09 JP JP2004116131A patent/JP2005295876A/ja active Pending
Cited By (8)
| Publication number | Priority date | Publication date | Assignee | Title |
|---|---|---|---|---|
| WO2007063660A1 (ja) * | 2005-12-02 | 2007-06-07 | Kyodo Ky-Tec Corp. | 緑化設備の仕切構造 |
| JP2007151445A (ja) * | 2005-12-02 | 2007-06-21 | Kyodo Ky Tec Corp | 緑化設備の仕切構造 |
| US8950111B2 (en) | 2008-08-30 | 2015-02-10 | Plus Kaken Innovate Labo Co., Ltd. | Device for fixing biomass-based solar heat and carbon dioxide gas, and house equipped with same fixing device |
| WO2010089663A1 (en) * | 2009-02-09 | 2010-08-12 | Kwok-Kei Law | Apparatus and system for plant cultivation |
| EP2572570A4 (en) * | 2010-05-19 | 2013-11-06 | Suntory Holdings Ltd | PLANT CONTAINER |
| KR101837146B1 (ko) * | 2016-02-02 | 2018-03-09 | 손도재 | 공기공급 가능한 양액 재배 장치 |
| JP2019033717A (ja) * | 2017-08-21 | 2019-03-07 | 義之 岩城 | 植栽育成ボックス |
| CN109392503A (zh) * | 2018-11-08 | 2019-03-01 | 天津市澍丰农业科技有限公司 | 建筑物顶面绿化建筑结构及施工方法 |
Similar Documents
| Publication | Publication Date | Title |
|---|---|---|
| RU2576058C1 (ru) | Конструкция настенного цветника и способ его изготовления | |
| AU2010257913B2 (en) | Environment-friendly automatic percolation irrigation planting device with hermetic liquid | |
| JP4629713B2 (ja) | 屋外用緑化装置及び屋外用緑化システム | |
| JP4112539B2 (ja) | 屋上緑化装置 | |
| KR101331404B1 (ko) | 수직형 식물 재배 장치 | |
| JP4976785B2 (ja) | 屋根の緑化システム | |
| JP2005295876A (ja) | 植栽用コンテナー | |
| JP5058214B2 (ja) | 屋上緑化装置 | |
| KR20210093208A (ko) | 등반매트와 격자가 조합된 덩굴식물류를 이용한 벽면 녹화 프레임 | |
| JP4927038B2 (ja) | 緑化ブロック及びこれを用いた植え込み構造、並びに緑化工法 | |
| KR101314887B1 (ko) | 도심형 옥상 녹화 구조물 | |
| JP2002345342A (ja) | 水位調節装置、水位調節可能な水受け器および水位調節可能なプランター | |
| JP4343048B2 (ja) | 屋上の緑化方法および装置 | |
| JP2008253210A (ja) | 壁面緑化装置 | |
| JP2006304760A (ja) | 雨水貯溜層の貯溜水を毛管現象で基盤層が吸水し緑化基盤、放熱基盤とする軽質炭酸カルシウムを主要基盤材に使用した建築物屋上,壁面のヒートアイランド現象軽減工法 | |
| JPH0829031B2 (ja) | 街路性植栽ボックス及びこれを利用した樹木の固定方法 | |
| JP3609816B2 (ja) | 屋上集合ガーデンプランター | |
| JP2005110515A (ja) | 棚式屋上緑化設備 | |
| JP3109861U (ja) | 支柱網付植生植栽装置 | |
| JP2005323589A (ja) | 緑化設備 | |
| JP3152566U (ja) | グリーンハウス | |
| JP4517222B2 (ja) | 植物育成用のプランター | |
| JP4401128B2 (ja) | 人工緑地 | |
| JP5106799B2 (ja) | 緑陰緑化構造及び緑陰緑化工法 | |
| KR200453742Y1 (ko) | 녹지 조성용 식생상자 구조체 |