JP2005295850A - 耕耘機 - Google Patents
耕耘機 Download PDFInfo
- Publication number
- JP2005295850A JP2005295850A JP2004114505A JP2004114505A JP2005295850A JP 2005295850 A JP2005295850 A JP 2005295850A JP 2004114505 A JP2004114505 A JP 2004114505A JP 2004114505 A JP2004114505 A JP 2004114505A JP 2005295850 A JP2005295850 A JP 2005295850A
- Authority
- JP
- Japan
- Prior art keywords
- engine
- body frame
- bed
- cultivator
- hood
- Prior art date
- Legal status (The legal status is an assumption and is not a legal conclusion. Google has not performed a legal analysis and makes no representation as to the accuracy of the status listed.)
- Pending
Links
Images
Landscapes
- Soil Working Implements (AREA)
Abstract
【課題】 機体の上方にエンジンや変速機などの重量物を配置せざる得ない点を解決することで、重心を低く設定することを可能にするとともに、エンジンへの吸気経路や排気経路が任意にまかされたままにある点を解決することで、吸排気の経路を規制することを可能にする。
【解決手段】 動力伝達装置39の変速機13を、車体フレーム12の下部に配置するとともに、車体フレーム12の前端に隔壁18を設け、この隔壁18の前方にエンジン21を載置するエンジンベッド17を設け、このエンジンベット17にエンジン21を載置し、このエンジン21の前方上部を覆うエンジンフード(カバー)23を設け、これらの隔壁18、エンジンベッド17及びエンジンフード23でエンジン21を覆った。
【選択図】 図8
【解決手段】 動力伝達装置39の変速機13を、車体フレーム12の下部に配置するとともに、車体フレーム12の前端に隔壁18を設け、この隔壁18の前方にエンジン21を載置するエンジンベッド17を設け、このエンジンベット17にエンジン21を載置し、このエンジン21の前方上部を覆うエンジンフード(カバー)23を設け、これらの隔壁18、エンジンベッド17及びエンジンフード23でエンジン21を覆った。
【選択図】 図8
Description
本発明は、機体の後部にロータリ耕耘爪(耕耘装置)を備え、このロータリ耕耘爪で圃場(ほじょう)を耕すなどの耕耘作業ができる耕耘機に関するものである。
耕耘機として、機体にエンジンを搭載し、このエンジンの回転を動力伝達装置を介して走行車輪及びロータリ耕耘爪に伝え、耕耘作業をする耕耘機が実用に供されている。
実用の耕耘機は、エンジンなどの動力源と、この動力源の回転を変速及び伝達する動力伝達装置と、走行のための走行車輪と、耕耘のためのロータリ耕耘爪と、を機体に設けれるようにすれば実用上十分であった。
実用の耕耘機は、エンジンなどの動力源と、この動力源の回転を変速及び伝達する動力伝達装置と、走行のための走行車輪と、耕耘のためのロータリ耕耘爪と、を機体に設けれるようにすれば実用上十分であった。
このような耕耘機として、機体の後部にロータリ耕耘爪(耕耘装置)を備えたものが知られている(例えば、特許文献1参照。)。
特開平6−191309号公報(第8頁、図1)
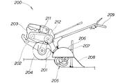
図12は従来の基本構成を説明する図であり、耕耘機200は、車体フレーム201からエンジンベット202を前方に延出し、このエンジンベット202にエンジン203を搭載し、車体フレーム201の下部に走行車輪204,204(一方の204は不図示)を回転自在に取付け、車体フレーム201の後部にロータリ耕耘爪205を回転自在に取付け、このロータリ耕耘爪205を車体フレーム201に取付けた耕耘爪カバー206で覆い、この耕耘爪カバー206の後部に抵抗棒207及び整地板208を取付け、ミッションケース201上部から後方にハンドル209を延ばしたリヤタイン型の耕耘機であり、エンジン203の出力を変速機カバー211で覆ったクラッチ(不図示)及び変速機212を介して走行車輪204,204に伝えるとともに、エンジン203の出力をクラッチ及び変速機212を介してロータリ耕耘爪205に伝え、圃場(ほじょう)を耕すなどの耕耘作業をすることができるものである。
しかし、耕耘機200では、機体の上方にエンジン203や変速機212などの重量物を配置した構造であり、耕耘機200の重心が高く、耕耘機の取り回しが悪いという欠点があった。
また、耕耘機200では、エンジンベッド202のエンジン203をむき出しの状態で取付けたものなので、エンジン203への吸気経路や排気経路が任意にまかされたままにあり、吸排気が風などの影響を受けやく耕耘作業中に排気ガスが気になるという問題があった。
また、耕耘機200では、エンジンベッド202のエンジン203をむき出しの状態で取付けたものなので、エンジン203への吸気経路や排気経路が任意にまかされたままにあり、吸排気が風などの影響を受けやく耕耘作業中に排気ガスが気になるという問題があった。
すなわち、重心を低く設定することができるとともに、吸排気の経路を規制することで、使い勝手のよい耕耘機が望まれる。
本発明は、機体の上方にエンジンや変速機などの重量物を配置せざる得ない点を解決し、重心を低く設定することのできる耕耘機を提供するとともに、エンジンへの吸気経路や排気経路が任意にまかされたままにある点を解決し、吸排気の経路を規制することができる耕耘機を提供することを課題とする。
請求項1に係る発明は、車体フレームの前部にエンジンを設け、車体フレームの後部に耕耘装置を設け、車体フレームの左右に走行車輪を設け、車体フレームから機体後方に操作ハンドルを延ばし、エンジンの回転を変速機を含む動力伝達装置を介して耕耘装置及び走行車輪に伝える形式の耕耘機において、動力伝達装置の変速機を、車体フレームの下部に配置するとともに、車体フレームの前端に隔壁を設け、この隔壁の前方にエンジンを載置するエンジンベッドを設け、このエンジンベットにエンジンを載置し、このエンジンの前方上部を覆うカバーを設け、これらの隔壁、エンジンベッド及びカバーでエンジンを覆ったことを特徴とする。
例えば、機体の下方にエンジンや変速機などの重量物を配置するようにすれば、重心を低く設定することのできるので好ましいことである。
すなわち、動力伝達装置の変速機を、車体フレームの下部に配置することで、耕耘機の低重心化を図る。
車体フレームの前端に隔壁を設け、この隔壁の前方にエンジンを載置するエンジンベッドを設け、このエンジンベットにエンジンを載置し、このエンジンの前方上部を覆うカバーを設け、これらの隔壁、エンジンベッド及びカバーでエンジンを覆うことで、耕耘作業中にエンジンに当たる可能性のある異物からを保護する。
車体フレームの前端に隔壁を設け、この隔壁の前方にエンジンを載置するエンジンベッドを設け、このエンジンベットにエンジンを載置し、このエンジンの前方上部を覆うカバーを設け、これらの隔壁、エンジンベッド及びカバーでエンジンを覆うことで、耕耘作業中にエンジンに当たる可能性のある異物からを保護する。
請求項2に係る発明は、エンジンに、外気を取入れるための吸気ダクトを備えたことを特徴とする。
エンジンに、外気を取入れるための吸気ダクトを備えることで、エンジンへの吸気経路や排気経路を規制することができる。
エンジンに、外気を取入れるための吸気ダクトを備えることで、エンジンへの吸気経路や排気経路を規制することができる。
請求項1に係る発明では、動力伝達装置の変速機を、車体フレームの下部に配置したので、耕耘機の低重心化を図ることができる。この結果、耕耘機の取り回し性(操作性)の向上を図ることができる。
車体フレームの前端に隔壁を設け、この隔壁の前方にエンジンを載置するエンジンベッドを設け、このエンジンベットにエンジンを載置し、このエンジンの前方上部を覆うカバーを設け、これらの隔壁、エンジンベッド及びカバーでエンジンを覆ったので、耕耘作業中にエンジンに当たる可能性のある異物からを保護することができる。この結果、耕耘機に注意を払うことなく耕耘作業ができるので、耕耘機の使い勝手の向上を図ることができるという利点がある。
車体フレームの前端に隔壁を設け、この隔壁の前方にエンジンを載置するエンジンベッドを設け、このエンジンベットにエンジンを載置し、このエンジンの前方上部を覆うカバーを設け、これらの隔壁、エンジンベッド及びカバーでエンジンを覆ったので、耕耘作業中にエンジンに当たる可能性のある異物からを保護することができる。この結果、耕耘機に注意を払うことなく耕耘作業ができるので、耕耘機の使い勝手の向上を図ることができるという利点がある。
請求項2に係る発明では、エンジンに、外気を取入れるための吸気ダクトを備えることで、エンジンへの吸気経路や排気経路を規制することができる。この結果、耕耘作業中に排気ガスを気にすることなく作業ができるので、耕耘機の使い勝手の向上を図ることができるという利点がある。
本発明を実施するための最良の形態を添付図に基づいて以下に説明する。なお、図面は符号の向きに見るものとする。
図1は本発明に係る耕耘機の側面図であり、耕耘機(管理機)10は、機体11の基部を構成する車体フレーム12と、この車体フレーム12の下部に取付けた変速機13と、変速機13の出力軸(車軸)14の左右に取付けた走行車輪15,15(一方の15は不図示)と、変速機13の変速機ケース16から前方に延出したエンジンベット17と、これらのエンジンベット17及び車体フレーム12の前端に渡した隔壁18と、エンジンベット17に搭載したエンジン(動力源)21と、このエンジン21の前方に且つエンジンベッド17に取付けたバランスウエイト(おもり)22と、このエンジン21を覆うためにエンジンベッド17に開閉自在に取付けたカバーとしてのエンジンフード23と、このエンジン21及び変速機13の間に渡した駆動チェーン24と、この駆動チェーン24を覆うチェーンカバー25と、エンジン21に一端を繋ぎ車体フレーム12側に延ばした吸気ダクト26と、この吸気ダクト26の他端を繋ぐために車体フレーム12の上部に取付けたノズル27と、このノズル27の後方に且つ車体フレーム12の上部に取付けることで変速機13を操作するチェンジレバー28と、このチェンジレバー28の後方且つ車体フレーム12の上部から後方に延出した操作ハンドル29と、車体フレーム12の後端に回転自在に取付けるとともに変速機13に耕耘側チェーン32を介して支持した耕耘装置33と、を主要構成とするリヤタイン(rear tine)型の耕耘機である。
図1は本発明に係る耕耘機の側面図であり、耕耘機(管理機)10は、機体11の基部を構成する車体フレーム12と、この車体フレーム12の下部に取付けた変速機13と、変速機13の出力軸(車軸)14の左右に取付けた走行車輪15,15(一方の15は不図示)と、変速機13の変速機ケース16から前方に延出したエンジンベット17と、これらのエンジンベット17及び車体フレーム12の前端に渡した隔壁18と、エンジンベット17に搭載したエンジン(動力源)21と、このエンジン21の前方に且つエンジンベッド17に取付けたバランスウエイト(おもり)22と、このエンジン21を覆うためにエンジンベッド17に開閉自在に取付けたカバーとしてのエンジンフード23と、このエンジン21及び変速機13の間に渡した駆動チェーン24と、この駆動チェーン24を覆うチェーンカバー25と、エンジン21に一端を繋ぎ車体フレーム12側に延ばした吸気ダクト26と、この吸気ダクト26の他端を繋ぐために車体フレーム12の上部に取付けたノズル27と、このノズル27の後方に且つ車体フレーム12の上部に取付けることで変速機13を操作するチェンジレバー28と、このチェンジレバー28の後方且つ車体フレーム12の上部から後方に延出した操作ハンドル29と、車体フレーム12の後端に回転自在に取付けるとともに変速機13に耕耘側チェーン32を介して支持した耕耘装置33と、を主要構成とするリヤタイン(rear tine)型の耕耘機である。
すなわち、耕耘機10は、エンジン21から駆動チェーン24及び変速機13を介して左右の走行車輪15,15(一方の15は不図示)へ動力を伝達するとともに、変速機13から耕耘側チェーン32を介して耕耘装置33に動力を伝達することで、左右の走行車輪15,15及び耕耘装置33を回転させて、圃場(ほじょう)を耕すことができる農業機械である。
図2は本発明に係る耕耘機の平面図であり、耕耘機10は、エンジンフード23、隔壁18及びエンジンベット17でエンジンルーム34を構成し、このエンジンルーム34内にエンジン21を収納し、このエンジン21に外気を供給するために車体フレーム12にノズル27を取付け、エンジン21のエアクリーナ35に臨ませるとともにノズル27に吸気ダクト26の他端を取付け、出力軸(車軸)14を中心として機体11後部及び機体11前部の重量バランスをとるために、機体11の前部にバランスウエイト22を配置したことを示す。なお、36はエンジン21のマフラ、37はエンジン21の回転を変速機13(図1参照)に伝えるためのエンジン側スプロケットを示す。
エンジン21に、360度傾斜対応エンジン(全方位型エンジン)を使用することで、急な傾斜地での使用を可能にすることができる。
エンジン21に、360度傾斜対応エンジン(全方位型エンジン)を使用することで、急な傾斜地での使用を可能にすることができる。
図3は本発明に係る耕耘機の分解斜視図であり、耕耘機10の主な構成部品を示す。
車体フレーム12は、幅狭の(横幅を狭く形成した)フレームであって、略対称形状の左右の縦フレーム41,41と、この左右の縦フレームに渡した上部フレーム42と、からなり、隔壁18を取付けるために前端に設けた隔壁取付け部43と、変速機13を取付けるために下部前部及び下部中央部に設けた変速機支持部44,44,45,45(右側の44,45は不図示)と、耕耘装置33を回転自在に支持するために後端に設けた耕耘装置支持部46,46と、ノズル27を取付けるノズル取付け部47と、を備える。
車体フレーム12は、幅狭の(横幅を狭く形成した)フレームであって、略対称形状の左右の縦フレーム41,41と、この左右の縦フレームに渡した上部フレーム42と、からなり、隔壁18を取付けるために前端に設けた隔壁取付け部43と、変速機13を取付けるために下部前部及び下部中央部に設けた変速機支持部44,44,45,45(右側の44,45は不図示)と、耕耘装置33を回転自在に支持するために後端に設けた耕耘装置支持部46,46と、ノズル27を取付けるノズル取付け部47と、を備える。
変速機13は、エンジン21からの動力を駆動チェーン24を介して受ける入力側スプロケット51と、この動力を変速して左右の走行車輪15,15(図2参照)を回転させるとともに左右の走行車輪15,15を支持する出力軸(車軸)14と、耕耘装置33に耕耘側チェーン32を介して伝達する出力側スプロケット52と、これらのスプロケット51,52及び出力軸14に介在させる変速ギヤ群49(図8参照)と、これらのスプロケット51,52、出力軸14及び変速ギヤ群49を支持するとともに、後述する車体フレーム構造体38の一部を構成する変速機ケース(ミッションケース)16と、を備える。
変速機ケース16は、車体フレーム12の変速機支持部44,44,45,45に係止する係止部91,91,92,92(右側の91,92は不図示)と、エンジンベッド17を支持するベッド支持部93,93,94,94(右側の93,94は不図示)と、を備える。
エンジンフード(カバー)23は、エンジンベッド17に取付けるフード支持部53と、このフード支持部53にヒンジ54を介して開閉自在に取付けたフード本体55と、からなる。
バランスウエイト22は、エンジンフード23に倣った前部形状に形成したおもりである。チェーンカバー25は、エンジン側スプロケット37、駆動チェーン24及び入力側スプロケット51を覆うカバーであり、排気ガスを放出するための排気孔56・・・(・・・は複数個を示す。以下同じ)を備える。
バランスウエイト22は、エンジンフード23に倣った前部形状に形成したおもりである。チェーンカバー25は、エンジン側スプロケット37、駆動チェーン24及び入力側スプロケット51を覆うカバーであり、排気ガスを放出するための排気孔56・・・(・・・は複数個を示す。以下同じ)を備える。
吸気ダクト26は、フレキシブルのチューブであり、ノズル27は、L型のノズルであって、360度全方位に自在に取付けることができるものである。
操作ハンドル29は、エンジン21の出力を調整するスロットルレバー57と、エンジン21を始動若しくは停止させるエンジンスイッチ58と、クラッチ(不図示)の離接操作をするクラッチバー59と、を備える。
操作ハンドル29は、エンジン21の出力を調整するスロットルレバー57と、エンジン21を始動若しくは停止させるエンジンスイッチ58と、クラッチ(不図示)の離接操作をするクラッチバー59と、を備える。
耕耘装置33は、車体フレーム12の後端(耕耘装置支持部46)に回転自在に取付けたロータリ耕耘爪63と、このロータリ耕耘爪63の上部を覆うために車体フレーム12の後部に取付けた耕耘爪カバー64と、この耕耘爪カバー64に昇降自在に取付けることで耕耘深さを調整する抵抗棒65と、耕耘爪カバー64に取付けることで耕耘した土壌の表面をならす整地板66と、からなる。
ロータリ耕耘爪63は、耕耘装置支持部46に回転自在に取付ける耕耘軸67と、この耕耘軸67に取付けた爪体68・・・と、耕耘軸68に取付けることで耕耘側チェーン32に噛み合わせる耕耘軸側スプロケット69と、からなる。
ロータリ耕耘爪63は、耕耘装置支持部46に回転自在に取付ける耕耘軸67と、この耕耘軸67に取付けた爪体68・・・と、耕耘軸68に取付けることで耕耘側チェーン32に噛み合わせる耕耘軸側スプロケット69と、からなる。
なお、車体フレーム構造体38は、先に説明した車体フレーム12、エンジンベッド17及び変速機ケース(ミッションケース)16から構成する構造体であり、動力伝達装置39は、先に説明した駆動チェーン32、クラッチ(不図示)、変速機13及び耕耘側チェーン32から構成する装置である。
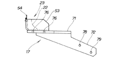
図4は本発明に係る耕耘機のエンジンベッドの平面図であり、図5は本発明に係る耕耘機のエンジンベッドの側面図である。なお、図5及び図6において、エンジンフード23のフード支持部53も併せて図示した。
エンジンベッド17は、エンジン21(図3参照)を載置するベッド本体71と、このベッド本体71を支えるベッドステー72,72と、からなり、車体フレーム構造体38(図1参照)の一部を構成する連結部材でもある。
エンジンベッド17は、エンジン21(図3参照)を載置するベッド本体71と、このベッド本体71を支えるベッドステー72,72と、からなり、車体フレーム構造体38(図1参照)の一部を構成する連結部材でもある。
ベッド本体71は、エンジン21を取付ける取付け孔73・・・と、隔壁18を取付ける取付け孔74,74と、バランスウエイト22を取付ける取付け孔75,75と、フード支持部53を取付ける図5に示す取付け孔76・・・と、チェーンカバー25を逃げるための図4に示す切り欠き77と、を形成したものである。
ベッドステー72は、ベッド本体71に溶接したものであり、変速機ケース16のベッド支持部93,94(図3参照)に取付けるための図5に示す取付け孔78,79を形成したものである。
ベッドステー72は、ベッド本体71に溶接したものであり、変速機ケース16のベッド支持部93,94(図3参照)に取付けるための図5に示す取付け孔78,79を形成したものである。
図6は本発明に係る耕耘機の隔壁の正面図であり、隔壁18は、吸気ダクト26を通すためのダクト貫通部81を形成し、このダクト貫通部81に連続的にチェーンカバー25(図4参照)を逃がすカバー逃げ部82を形成したものである。
また、隔壁18は、車体フレーム12の隔壁取付け部43にボルト83・・・で連結するとともに、ボルト84,84でエンジンベッド17のベッドベッド本体71に連結したものであり、車体フレーム構造体38(図1参照)の一部を構成する連結部材でもある。
また、隔壁18は、車体フレーム12の隔壁取付け部43にボルト83・・・で連結するとともに、ボルト84,84でエンジンベッド17のベッドベッド本体71に連結したものであり、車体フレーム構造体38(図1参照)の一部を構成する連結部材でもある。
図7は本発明に係る耕耘機のエンジンフードの正面図であり、エンジンフード23は、先に説明したように、エンジンベッド17に取付けるフード支持部53と、エンジン21(図3参照)を覆うためにフード支持部53に開閉自在に取付けたフード本体55と、これらのフード本体55及びフード支持部53の間に介在させるヒンジ54とから構成した部材であり、フード本体55は、開閉のために人手を掛けるための手掛かり部87を備えたものである。
また、耕耘機10(図1参照)は、エンジンフード23のヒンジ54を、機体11の前端に設けることで、エンジンフード23を機体11の前方に回転させ開くことができるようにしたものである。
図8は本発明に係る耕耘機の側面断面図であり、耕耘機10は、車体フレーム12の前部にエンジン21を設け、車体フレーム12の後部に耕耘装置33を設け、車体フレーム12の左右に走行車輪15,15(一方の15は不図示)を設け、車体フレーム12から機体11後方に操作ハンドル29を延ばし、エンジン21の回転を変速機13を含む動力伝達装置39を介して耕耘装置33及び走行車輪15,15(右の15は不図示)に伝える形式の耕耘機において、動力伝達装置39の変速機13を、車体フレーム12の下部に配置するとともに、車体フレーム12の前端に隔壁18を設け、この隔壁18の前方にエンジン21を載置するエンジンベッド17を設け、このエンジンベット17にエンジン21を載置し、このエンジン21の前方上部を覆うエンジンフード(カバー)23を設け、これらの隔壁18、エンジンベッド17及びエンジンフード23でエンジン21を覆ったものと言える。
例えば、機体の下方にエンジンや変速機などの重量物を配置するようにすれば、重心を低く設定することのできるので好ましいことである。
すなわち、動力伝達装置39の変速機13を、車体フレーム12の下部に配置することで、耕耘機10の低重心化を図ることができる。この結果、耕耘機10の取り回し性(操作性)の向上を図ることができる。
車体フレーム12の前端に隔壁18を設け、この隔壁18の前方にエンジン17を載置するエンジンベッド17を設け、このエンジンベット17にエンジン21を載置し、このエンジン21の前方上部を覆うエンジンフード(カバー)23を設け、これらの隔壁18、エンジンベッド17及びエンジンフード23でエンジン21を覆うことで、耕耘作業中にエンジン21に当たる可能性のある異物からを保護することができる。この結果、耕耘機10に注意を払うことなく耕耘作業ができるので、耕耘機10の使い勝手の向上を図ることができる。さらに、エンジン21の耐久性の向上を図ることができる。
さらに、エンジン21の取付けレベルをLとするときに、エンジン21の取付けレベルLを、変速機13の変速ギヤ群49の回転中心と略同一に設定した。なお、取付けレベルLは、エンジンベッド17の上面に同一レベルとする。また、変速ギヤ群49に、入力側スプロケット51及び出力側スプロケット52を含むものとする。
すなわち、エンジン21の取付けレベルLを、変速機13の変速ギヤ群49の回転中心と略同一に設定することで、耕耘機10のさらなる低重心化を図ることができる。この結果、耕耘機10の取り回し性(操作性)のさらなる向上を図ることができる。
すなわち、エンジン21の取付けレベルLを、変速機13の変速ギヤ群49の回転中心と略同一に設定することで、耕耘機10のさらなる低重心化を図ることができる。この結果、耕耘機10の取り回し性(操作性)のさらなる向上を図ることができる。
耕耘機10は、車体フレーム12に幅狭の(横幅を狭く形成した)フレームを採用したので、機体11幅を小さく設計することができる。この結果、機体11の扱い性を改善することができる。例えば、トラックなどへの積載を一人で行うことができる。
さらに、車体フレーム12に幅狭のフレームを採用することで、耕耘機10を小型、軽量にすることができる。
さらに、車体フレーム12に幅狭のフレームを採用することで、耕耘機10を小型、軽量にすることができる。
図9は本発明に係る耕耘機の平面断面図であり、耕耘機10は、エンジン21に、外気を取入れるための吸気ダクト26を備えたことを示す。
例えば、エンジンへの吸気経路や排気経路を規制するようにすれば、吸気若しくは排気が風などの影響を受けにくくできるので好ましいことである。
例えば、エンジンへの吸気経路や排気経路を規制するようにすれば、吸気若しくは排気が風などの影響を受けにくくできるので好ましいことである。
そこで、エンジン21に、外気を取入れるための吸気ダクト26を備えることで、エンジン21への吸気経路や排気経路を規制することができる。この結果、耕耘作業中に排気ガスを気にすることなく作業ができるので、耕耘機10の使い勝手の向上を図ることができる。さらに、エンジン21にクリーンな空気を供給することができ、燃料の節約を図ることができる。
図10は本発明に係る耕耘機のエンジンフードの作用を示す説明図であり、耕耘機10は、車体フレーム12の前部にエンジン21を設け、図8に示したように、車体フレーム12の後部に耕耘装置33を設け、車体フレーム12の左右に走行車輪15,15を設け、車体フレーム12から機体11後方に操作ハンドル29を延ばし、エンジン21の回転を動力伝達装置39を介して耕耘装置33及び走行車輪15,15に伝える形式の耕耘機において、車体フレーム12側に、エンジン21を雨水若しくは泥はねから保護するエンジンフード(カバー)23を設けたものである。
例えば、エンジンに泥、雨水若しくは埃が付着することを防止できるとすれば、耕耘機の維持管理を簡易に行うことができるので好ましいことであり、エンジンの騒音の減少を図ることができれば、耕耘機を使用する環境保全を図ることができるので好都合である。
すなわち、車体フレーム12側に、エンジン21を雨水若しくは泥はねから保護するエンジンフード(カバー)23を設けることで、耕耘作業中にはエンジン21に泥が飛び跳ねたり、雨水がかかることを防止できるとともに、耕耘機10の保管中にはエンジン21に埃が溜まることを防止することができる。この結果、耕耘機の維持管理を簡易に行うことができる。
また、エンジン21に雨水若しくは泥はねから保護するエンジンフード23を設けることで、エンジン21の騒音の低減を図ることもできる。例えば、エンジンフード23の内部に吸音材などを貼付けることで、騒音低減効果の向上を望むこともできる。
さらに、車体フレーム12側に、エンジン21を雨水若しくは泥はねから保護するエンジンフード(カバー)23を設けることで、耕耘機10の外観性(意匠性)を向上させることができる。この結果、耕耘機10の商品性を高めることができる。
エンジンフード23は、エンジンベッド17に取付けるフード支持部53と、このフード支持部53にヒンジ54を介して開閉自在に取付けたフード本体55と、から構成したものであり、耕耘機10は、フード本体55を、ヒンジ54を介してフード支持部53に開閉自在に取付けたものであると言える。
エンジンフード23に、開閉のためのヒンジ54を備えることで、エンジン21の点検作業の作業性の向上を図ることができる。この結果、始業点検等の点検作業時間の短縮を図ることができる。
エンジンフード23に、開閉のためのヒンジ54を備えることで、エンジン21の点検作業の作業性の向上を図ることができる。この結果、始業点検等の点検作業時間の短縮を図ることができる。
さらに、ヒンジ54を、機体11の前端に設けることで、エンジンフード23(フード本体55)を機体11の前方に回転させ開けることができる。この結果、機体11の前面にはエンジンフード23(フード本体55)を開くときに耕耘機10の車体フレーム12などの構成部品と干渉することはなく、エンジンフード23の開閉角度を十分にとることができ、点検作業の作業性の向上を図ることができる。
図11(a),(b)は本発明に係る耕耘機の排気ガスの流れの一例を示す説明図であり、(a)は耕耘機10の平面を示し、(b)は耕耘機10の側面を示す。
(a)において、エンジン21への吸気は、矢印に示すように、ノズル27から外気を吸気ダクト26に導入し、この吸気ダクト26から外気を直接的にエアクリーナ35に導き、このエアクリーナ35から外気をエンジン21に供給するようにしたものである。
(a)において、エンジン21への吸気は、矢印に示すように、ノズル27から外気を吸気ダクト26に導入し、この吸気ダクト26から外気を直接的にエアクリーナ35に導き、このエアクリーナ35から外気をエンジン21に供給するようにしたものである。
また、エンジン21からの主な排気は、矢印に示すように、マフラ36からエンジンルーム34内に排出し、このエンジンルーム34内からチェーンカバー25を経由させ、チェーンカバー25の排気孔56・・・(図3参照)から下方に向けて排出するようにしたものである。
すなわち、(b)において、エンジン21に、外気を取入れるための吸気ダクト26を備えることで、エンジン21への吸気経路や排気経路を規制することができる。この結果、耕耘作業中に排気ガスを気にすることなく作業ができるので、耕耘機10の使い勝手の向上を図ることができる。
尚、本発明に係る耕耘機は、図4に示すように、エンジンフード(カバー)23はエンジン21の前面、上面及び側面を覆うフードであったが、これに限るものではなく、前面、上面、側面及び後面を覆うフード(カバー)であってもよい。
本発明に係る耕耘機は、図3に示すように、エンジンフード23でエンジン21を覆ったが、これに限るものではなく、エンジンフードの内部に吸音材などを貼付けたものであってもよい。
本発明に係る耕耘機は、図3に示すように、エンジンフード23でエンジン21を覆ったが、これに限るものではなく、エンジンフードの内部に吸音材などを貼付けたものであってもよい。
本発明に係る耕耘機は、図1に示すように、動力源にエンジン21を用いたが、これに限るものではなく、他の動力源を用いることを妨げるものではない。例えば、充電式のバッテリで駆動する電動モータを用いたものであってもよい。
本発明に係る耕耘機は、図1に示すように、耕耘作業のみをする農業機械であったが、これに限るものではなく、ロータリ耕耘爪の代わりに畝立て等をする畝立て機を取付けることが可能であり、育成や施肥などの作業を行うことが可能な管理機としたものであってもよい。
本発明に係る耕耘機は、図1に示すように、耕耘作業のみをする農業機械であったが、これに限るものではなく、ロータリ耕耘爪の代わりに畝立て等をする畝立て機を取付けることが可能であり、育成や施肥などの作業を行うことが可能な管理機としたものであってもよい。
本発明に係る耕耘機は、図8に示すように、エンジン21の取付けレベルを、変速機13の変速ギヤ群49の回転中心と略同一に設定したが、これに限るものではなく、変速機13の変速ギヤ群49の回転中心よりも下方に設定したものであってもよい。
本発明に係る耕耘機は、耕耘装置(ロータリ耕耘爪)を機体の後部に設けるリヤタイン型(形式)の耕耘機に採用するのに好適である。
10…耕耘機、11…機体、12…車体フレーム、13…変速機、15…走行車輪、17…エンジンベッド、18…隔壁、21…エンジン、23…カバー(エンジンフード)、26…吸気ダクト、29…操作ハンドル、33…耕耘装置、39…動力伝達装置、54…ヒンジ。
Claims (2)
- 車体フレームの前部にエンジンを設け、車体フレームの後部に耕耘装置を設け、車体フレームの左右に走行車輪を設け、車体フレームから機体後方に操作ハンドルを延ばし、エンジンの回転を変速機を含む動力伝達装置を介して耕耘装置及び走行車輪に伝える形式の耕耘機において、
前記動力伝達装置の変速機を、前記車体フレームの下部に配置するとともに、前記車体フレームの前端に隔壁を設け、この隔壁の前方に前記エンジンを載置するエンジンベッドを設け、このエンジンベットにエンジンを載置し、このエンジンの前方上部を覆うカバーを設け、これらの隔壁、エンジンベッド及びカバーで前記エンジンを覆ったことを特徴とする耕耘機。 - 前記エンジンは、外気を取入れるための吸気ダクトを備えたことを特徴とする請求項1記載の耕耘機。
Priority Applications (1)
| Application Number | Priority Date | Filing Date | Title |
|---|---|---|---|
| JP2004114505A JP2005295850A (ja) | 2004-04-08 | 2004-04-08 | 耕耘機 |
Applications Claiming Priority (1)
| Application Number | Priority Date | Filing Date | Title |
|---|---|---|---|
| JP2004114505A JP2005295850A (ja) | 2004-04-08 | 2004-04-08 | 耕耘機 |
Publications (1)
| Publication Number | Publication Date |
|---|---|
| JP2005295850A true JP2005295850A (ja) | 2005-10-27 |
Family
ID=35328148
Family Applications (1)
| Application Number | Title | Priority Date | Filing Date |
|---|---|---|---|
| JP2004114505A Pending JP2005295850A (ja) | 2004-04-08 | 2004-04-08 | 耕耘機 |
Country Status (1)
| Country | Link |
|---|---|
| JP (1) | JP2005295850A (ja) |
Cited By (1)
| Publication number | Priority date | Publication date | Assignee | Title |
|---|---|---|---|---|
| CN105993223A (zh) * | 2016-05-26 | 2016-10-12 | 徐涛 | 一种用于棚室的微耕机传动机构 |
-
2004
- 2004-04-08 JP JP2004114505A patent/JP2005295850A/ja active Pending
Cited By (1)
| Publication number | Priority date | Publication date | Assignee | Title |
|---|---|---|---|---|
| CN105993223A (zh) * | 2016-05-26 | 2016-10-12 | 徐涛 | 一种用于棚室的微耕机传动机构 |
Similar Documents
| Publication | Publication Date | Title |
|---|---|---|
| JP7323349B2 (ja) | 電動作業車 | |
| CN106275110B (zh) | 一种水田履带拖拉机 | |
| CN210444771U (zh) | 履带式微耕机 | |
| JP2015223870A (ja) | 作業機 | |
| JP6242007B2 (ja) | 農作業機 | |
| JP2005295850A (ja) | 耕耘機 | |
| JP2005295849A (ja) | 耕耘機 | |
| JP2003111502A (ja) | 管理機 | |
| JP4360200B2 (ja) | 移動農機の薬剤散布装置 | |
| JP2005295853A (ja) | 耕耘機 | |
| JP2016036264A (ja) | 収穫機 | |
| JP4268566B2 (ja) | 農作業機 | |
| JP3810503B2 (ja) | 電動運搬車 | |
| JPH0445460Y2 (ja) | ||
| JP4347600B2 (ja) | 小型移動農機 | |
| JP4092413B2 (ja) | 支持枠及び耕耘システム | |
| JP5419283B2 (ja) | 農作業機 | |
| JP2010052599A (ja) | 作業車両 | |
| JP5015060B2 (ja) | 農作業機 | |
| JP4031934B2 (ja) | 管理機 | |
| JP4139059B2 (ja) | 歩行型耕耘機 | |
| KR100691361B1 (ko) | 동력중경제초기 | |
| JPH10203374A (ja) | 電動運搬車 | |
| JP5881279B2 (ja) | 農作業機 | |
| JP2008237095A (ja) | 歩行型管理機 |