JP2005295722A - ロータ及び、このロータを備えたモータ - Google Patents
ロータ及び、このロータを備えたモータ Download PDFInfo
- Publication number
- JP2005295722A JP2005295722A JP2004108891A JP2004108891A JP2005295722A JP 2005295722 A JP2005295722 A JP 2005295722A JP 2004108891 A JP2004108891 A JP 2004108891A JP 2004108891 A JP2004108891 A JP 2004108891A JP 2005295722 A JP2005295722 A JP 2005295722A
- Authority
- JP
- Japan
- Prior art keywords
- rotor
- rotor magnet
- pipe
- rotating shaft
- cylindrical member
- Prior art date
- Legal status (The legal status is an assumption and is not a legal conclusion. Google has not performed a legal analysis and makes no representation as to the accuracy of the status listed.)
- Withdrawn
Links
- 239000000463 material Substances 0.000 claims description 4
- 238000004519 manufacturing process Methods 0.000 abstract description 5
- 239000000853 adhesive Substances 0.000 abstract description 4
- 230000001070 adhesive effect Effects 0.000 abstract description 4
- 238000000034 method Methods 0.000 description 8
- 230000007423 decrease Effects 0.000 description 4
- 239000000696 magnetic material Substances 0.000 description 2
- 229910001369 Brass Inorganic materials 0.000 description 1
- 239000010951 brass Substances 0.000 description 1
- 238000012937 correction Methods 0.000 description 1
- 238000012986 modification Methods 0.000 description 1
- 230000004048 modification Effects 0.000 description 1
- 229910001220 stainless steel Inorganic materials 0.000 description 1
- 239000010935 stainless steel Substances 0.000 description 1
- 229920003002 synthetic resin Polymers 0.000 description 1
- 239000000057 synthetic resin Substances 0.000 description 1
- 229910000859 α-Fe Inorganic materials 0.000 description 1
Images
Landscapes
- Permanent Magnet Type Synchronous Machine (AREA)
- Permanent Field Magnets Of Synchronous Machinery (AREA)
Abstract
【課題】 小型化された場合であっても、ロータマグネットの十分な回転トルクを得ることができ、かつ、容易に製造することができるロータ及び、このロータを備えたモータを提供する。
【解決手段】 ロータマグネット13をパイプ14の内部に挿入して、接着剤等でパイプ14の内壁に接合して、ロータマグネット13とパイプ14の中心軸が一致するように固定する。上蓋11及び下蓋12の凸部11b及び12bを、パイプ14の両端にそれぞれ挿入して、フランジ部11c及び12cとパイプ14の両端縁とをそれぞれ当接させて接着剤等で固定する。
【選択図】図2
【解決手段】 ロータマグネット13をパイプ14の内部に挿入して、接着剤等でパイプ14の内壁に接合して、ロータマグネット13とパイプ14の中心軸が一致するように固定する。上蓋11及び下蓋12の凸部11b及び12bを、パイプ14の両端にそれぞれ挿入して、フランジ部11c及び12cとパイプ14の両端縁とをそれぞれ当接させて接着剤等で固定する。
【選択図】図2
Description
本発明は、小径のロータマグネットを有するロータ及び、このロータを備えたモータに関係する。
モータのロータを構成するロータマグネットに回転軸を固定する方法の一つとして、図6に示すように、ロータマグネット101の中心部分に穴を開け、そこに回転軸102をはめ込む方法がある(例えば特許文献1)。
この成形方法以外にも、回転軸を備えた外枠を、ロータマグネットの外側からはめる方法もある。
特開平5−207725号公報
しかし、上述した成形方法は、いずれも特に小径のロータマグネットに回転軸を固定する場合に問題点がある。
ロータマグネットの中心に回転軸をはめ込む方法では、圧縮成形したロータマグネット又は焼結したロータマグネットに、回転軸をはめ込む穴を形成するには、穴の内径を0.8mm以上にするという製造上の制約があるため、ロータが小さくなり、回転軸が固定されるロータマグネットの外径が、例えば2.0mmと小さくなると、全ロータ体積に対するロータマグネット体積の割合が減少し、結果としてロータマグネットの十分な回転トルクを得ることができない場合があるという問題があった。
ロータマグネットの中心に回転軸をはめ込む方法では、圧縮成形したロータマグネット又は焼結したロータマグネットに、回転軸をはめ込む穴を形成するには、穴の内径を0.8mm以上にするという製造上の制約があるため、ロータが小さくなり、回転軸が固定されるロータマグネットの外径が、例えば2.0mmと小さくなると、全ロータ体積に対するロータマグネット体積の割合が減少し、結果としてロータマグネットの十分な回転トルクを得ることができない場合があるという問題があった。
また、この場合、ロータマグネットが径方向に薄肉となり製造の難度が上がり、回転軸をはめ込むとロータマグネットが割れてしまう場合があるという問題点もあった。
一方、ロータマグネットの外側から回転軸を備えた外枠をはめ込む方法では、外枠が0.25mm〜0.3mm程度の厚みを有することにより、ロータが小さくなると、外枠の体積の全ロータに占める割合が上がる。
この場合、ロータマグネットとステータとの隙間であるエアギャップが大きくなり、且つ全ロータ体積に対し、ロータマグネットの体積の割合が低下するので、ロータマグネットの十分な回転トルクを得ることができない場合があるという問題点があった。
この場合、ロータマグネットとステータとの隙間であるエアギャップが大きくなり、且つ全ロータ体積に対し、ロータマグネットの体積の割合が低下するので、ロータマグネットの十分な回転トルクを得ることができない場合があるという問題点があった。
本発明は、上記実情に鑑みてなされたもので、小型化された場合であっても、ロータマグネットの十分な回転トルクを得ることができるロータ及び、このロータを備えたモータを提供することを目的とする。
また、本発明は、小型化された場合であっても、容易に製造することができるロータ及び、このロータを備えたモータを提供することを目的とする。
また、本発明は、小型化された場合であっても、容易に製造することができるロータ及び、このロータを備えたモータを提供することを目的とする。
上記目的を達成するため、本発明の第1の観点に係るロータは、
ロータマグネットと、
前記ロータマグネットが内壁に固定される薄肉の円筒状部材と、
前記円筒状部材の一方の端に取り付けられるとともに、第1の回転軸が形成された第1の蓋部と、
前記円筒状部材の他方の端に取り付けられるとともに、第2の回転軸が形成された第2の蓋部とを備え、
前記第1の回転軸と前記第2の回転軸の軸心とが一致することを特徴とする。
ロータマグネットと、
前記ロータマグネットが内壁に固定される薄肉の円筒状部材と、
前記円筒状部材の一方の端に取り付けられるとともに、第1の回転軸が形成された第1の蓋部と、
前記円筒状部材の他方の端に取り付けられるとともに、第2の回転軸が形成された第2の蓋部とを備え、
前記第1の回転軸と前記第2の回転軸の軸心とが一致することを特徴とする。
前記薄肉の円筒状部材は、非磁性材料により形成するようにしてもよい。
本発明の第2の観点に係るモータは、
ロータマグネットと、前記ロータマグネットが内壁に固定される薄肉の円筒状部材と、前記円筒状部材の一方の端に取り付けられるとともに、第1の回転軸が形成された第1の蓋部と、前記円筒状部材の他方の端に取り付けられるとともに、第2の回転軸が形成された第2の蓋部とを備えたロータと、ステータとがハウジング内に収納され、前記ハウジング内に前記第1の回転軸及び前記第2の回転軸が回動自在に軸支されていることを特徴とする。
ロータマグネットと、前記ロータマグネットが内壁に固定される薄肉の円筒状部材と、前記円筒状部材の一方の端に取り付けられるとともに、第1の回転軸が形成された第1の蓋部と、前記円筒状部材の他方の端に取り付けられるとともに、第2の回転軸が形成された第2の蓋部とを備えたロータと、ステータとがハウジング内に収納され、前記ハウジング内に前記第1の回転軸及び前記第2の回転軸が回動自在に軸支されていることを特徴とする。
本発明の第3の観点に係るロータは、
ロータマグネットと、
前記ロータマグネットが内壁に固定されるとともに、前記ロータマグネットの回転軸となり、両端が回動自在に軸支される薄肉の円筒状部材とを備えたことを特徴とする。
ロータマグネットと、
前記ロータマグネットが内壁に固定されるとともに、前記ロータマグネットの回転軸となり、両端が回動自在に軸支される薄肉の円筒状部材とを備えたことを特徴とする。
前記薄肉の円筒状部材は、非磁性材料により形成するようにしてもよい。
本発明の第4の観点に係るモータは、
ロータマグネットと、前記ロータマグネットが内壁に固定されるとともに、前記ロータマグネットの回転軸となり、両端が回動自在に軸支される薄肉の円筒状部材とを備えたロータと、ステータとがハウジング内に収納され、前記ハウジング内に、前記円筒状部材の両端をそれぞれ軸支する軸受ボスが形成されたことを特徴とする。
ロータマグネットと、前記ロータマグネットが内壁に固定されるとともに、前記ロータマグネットの回転軸となり、両端が回動自在に軸支される薄肉の円筒状部材とを備えたロータと、ステータとがハウジング内に収納され、前記ハウジング内に、前記円筒状部材の両端をそれぞれ軸支する軸受ボスが形成されたことを特徴とする。
本発明によれば、ロータが小型化された場合であっても、ロータマグネットの十分な回転トルクを得ることができるロータ及び、このロータを備えたモータを提供することができる。
また、本発明によれば、ロータが小型化された場合であっても、容易に製造することができるロータ及び、このロータを備えたモータを提供することができる。
また、本発明によれば、ロータが小型化された場合であっても、容易に製造することができるロータ及び、このロータを備えたモータを提供することができる。
本発明に係る実施の形態につき図面を参照して説明する。
(第1の実施の形態)
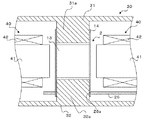
第1の実施の形態に係るモータのロータの構成を図1に示す。
ロータ1は、回転軸11a,12aがそれぞれ形成された上蓋11及び下蓋12と、ロータマグネット13と、パイプ14とを備える。
第1の実施の形態に係るモータのロータの構成を図1に示す。
ロータ1は、回転軸11a,12aがそれぞれ形成された上蓋11及び下蓋12と、ロータマグネット13と、パイプ14とを備える。
上蓋11及び下蓋12は、上側の回転軸11a及び下側の回転軸12aをそれぞれ備える蓋であって、例えばプラスチック等の合成樹脂から形成される。また、上蓋11及び下蓋12には、パイプ14にそれぞれ挿入される凸部11b及び12bと、パイプ14の端縁とそれぞれ当接するフランジ部11c及び12cとが形成されている。なお、上蓋11および下蓋12は、ロータ1が特に小さい場合は、例えばフェライト等の磁性材料から形成されても良い。
パイプ14は、薄肉の円筒状部材からなり、厚さは0.03〜0.05mm程度である。パイプ14は、例えば非磁性ステンレスパイプ又は真鍮等から形成される。パイプ14を薄肉の円筒状部材で形成したり、または、パイプ14に非磁性材料を用いることにより、内部に固定されるロータマグネット13の後述するステータ40の磁力による吸引への影響を軽減している。
ロータマグネット13は、例えば複数の極に着磁された永久磁石からなり、円柱状であり、且つパイプ14の内径とほぼ同じ直径を有する。ロータマグネット13の直径は小さく、例えば、2mm以下である。
ロータマグネット13は、図2に示すように、パイプ14の内部に挿入されて、接着剤等でパイプ14の内壁に接合され固定される。なお、ロータマグネット13はパイプ14と中心軸が一致するように固定される。上蓋11及び下蓋12の凸部11b及び12bは、パイプ14の両端にそれぞれ挿入され、フランジ部11c及び12cとパイプ14の両端縁とがそれぞれ当接される。このように上蓋11及び下蓋12がパイプ14にはめ込まれて接着剤等で固定される。この際、上側の回転軸11a及び下側の回転軸12aの軸心が一致するように固定される。
ロータ1及び複数のステータ40は、図3に示すように、上板31及び下板32により構成されるハウジング30内に収納されている。ロータ1の回転軸11a及び12aは、ハウジング30内に回動自在に軸支されている。ステータ40は、ステータヨーク41と、ステータヨーク41に巻回されたコイル42により構成されている。ステータヨーク41の先端は、ロータマグネット13と対向するようにハウジング30内に固定されている。
図3に示したモータでは、コイル42を励磁してステータヨーク41を磁化すると、ステータヨーク41間に磁力が生じて、この磁力によりロータマグネット13が吸引されて回転トルクが発生する。ロータマグネット13は固定されたパイプ14と共に、回転軸11a及び12aを中心にして回動する。
このように本実施の形態では、ロータマグネット13が内部に接合された薄肉のパイプ14の上下に、回転軸11a、12aがそれぞれ形成された上蓋11及び下蓋12をはめる構成を採るので、ロータマグネット13に直接回転軸をはめる必要がなくなる。また、ロータマグネット13とステータヨーク41との間に存在するのは、薄肉のパイプ14のみである。
従って、ロータ1が小型化されても、ロータ1の全体積に対するロータマグネット13の体積は、ほとんど低下することがなく、エアギャップも大きくならない。
この結果、ロータマグネット13の十分な回転トルクを得ることができる。
また、小さいロータマグネット13の中心に回転軸をはめ込むような難度の高い製造技術を必要としないので、ロータ1が小型化されても容易に製造することができる。
この結果、ロータマグネット13の十分な回転トルクを得ることができる。
また、小さいロータマグネット13の中心に回転軸をはめ込むような難度の高い製造技術を必要としないので、ロータ1が小型化されても容易に製造することができる。
(第2の実施の形態)
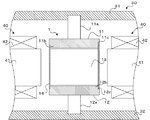
第2の実施の形態に係るロータ及び軸受ボスの構成を図4に示す。
第1の実施の形態と異なる点は、本実施形態のロータ2は、第1の実施の形態における上蓋11及び下蓋12を備えず、パイプ14が回転軸となる点である。以下、第1の実施の形態と異なる点についてのみ説明し、その他については、第1の実施の形態と同一の符号を付しその説明を省略する。
第2の実施の形態に係るロータ及び軸受ボスの構成を図4に示す。
第1の実施の形態と異なる点は、本実施形態のロータ2は、第1の実施の形態における上蓋11及び下蓋12を備えず、パイプ14が回転軸となる点である。以下、第1の実施の形態と異なる点についてのみ説明し、その他については、第1の実施の形態と同一の符号を付しその説明を省略する。
ロータ2は、ロータマグネット13とパイプ14とを備える。回転軸を兼ねたパイプ14の両端は、ハウジング30を構成する上板31及び下板32にそれぞれ形成された軸受ボス31a,32aに挿入され、回動自在に軸支されている。
ロータ2を備えたモータをシャッタ装置に用いる場合は、図5に示すように、パイプ14にシャッタ26を取り付ける。シャッタ26には、回転軸用孔26aが形成されており、この回転軸用孔26aにパイプ14がはめ込まれる。
ステータヨーク41間に生じる磁力によって回動するロータマグネット13と共に回転軸であるパイプ14が回動し、パイプ14に固定されたシャッタ26は往復回動運動を行う。
ステータヨーク41間に生じる磁力によって回動するロータマグネット13と共に回転軸であるパイプ14が回動し、パイプ14に固定されたシャッタ26は往復回動運動を行う。
このように本実施の形態では、ロータマグネット13が内部に接合された薄肉のパイプ14を回転軸となるようにしたので、ロータマグネットに回転軸をはめ込む必要がなくなる。また、ロータマグネット13とステータヨーク41との間に存在するのは、薄肉のパイプ14のみである。
従って、ロータ2が小型化されても、ロータ2の全体積に対するロータマグネット13の体積は、ほとんど低下することがなく、エアギャップも大きくならない。この結果、ロータマグネット13の十分な回転トルクを得ることができる。
また、小さいロータマグネット13の中心に回転軸をはめ込むような難度の高い製造技術を必要としないので、ロータ2が小型化されても容易に製造することができる。
また、小さいロータマグネット13の中心に回転軸をはめ込むような難度の高い製造技術を必要としないので、ロータ2が小型化されても容易に製造することができる。
以上、実施形態を挙げて本発明を説明したが、本発明は上記各実施形態に限定されるものではなく、種々変形、修正、及び応用が可能である。例えば上記第2の実施形態では、軸受ボス31a,32aにパイプ14の両端を挿入することによりパイプ14の内壁面を軸受するようにしたが、パイプ14の外周を軸受する軸受ボスを用いることも可能である。また、玉軸受、ころ軸受等の軸受部材によりパイプ14を軸受するようにしてもよい。
また、本発明は、シャッタ装置に限られず、絞り装置、レンズ駆動装置等に用いることができる。特に本発明によれば、ロータを小さくできるので、携帯機器に用いることが可能である。
1,2 ロータ
11 上蓋
11a 回転軸
12 下蓋
12a 回転軸
13 ロータマグネット
14 パイプ
26 シャッタ
26a 回転軸用孔
30 ハウジング
31 上板
32 下板
31a,32a 軸受ボス
40 ステータ
41 ステータヨーク
42 コイル
11 上蓋
11a 回転軸
12 下蓋
12a 回転軸
13 ロータマグネット
14 パイプ
26 シャッタ
26a 回転軸用孔
30 ハウジング
31 上板
32 下板
31a,32a 軸受ボス
40 ステータ
41 ステータヨーク
42 コイル
Claims (6)
- ロータマグネットと、
前記ロータマグネットが内壁に固定される薄肉の円筒状部材と、
前記円筒状部材の一方の端に取り付けられるとともに、第1の回転軸が形成された第1の蓋部と、
前記円筒状部材の他方の端に取り付けられるとともに、第2の回転軸が形成された第2の蓋部とを備え、
前記第1の回転軸と前記第2の回転軸の軸心とが一致することを特徴とするロータ。 - 前記薄肉の円筒状部材は、非磁性材料により形成されることを特徴とする請求項1に記載のロータ。
- ロータマグネットと、前記ロータマグネットが内壁に固定される薄肉の円筒状部材と、前記円筒状部材の一方の端に取り付けられるとともに、第1の回転軸が形成された第1の蓋部と、前記円筒状部材の他方の端に取り付けられるとともに、第2の回転軸が形成された第2の蓋部とを備えたロータと、ステータとがハウジング内に収納され、前記ハウジング内に前記第1の回転軸及び前記第2の回転軸が回動自在に軸支されていることを特徴とするモータ。
- ロータマグネットと、
前記ロータマグネットが内壁に固定されるとともに、前記ロータマグネットの回転軸となり、両端が回動自在に軸支される薄肉の円筒状部材とを備えることを特徴とするロータ。 - 前記薄肉の円筒状部材は、非磁性材料により形成されることを特徴とする請求項4に記載のロータ。
- ロータマグネットと、前記ロータマグネットが内壁に固定されるとともに、前記ロータマグネットの回転軸となり、両端が回動自在に軸支される薄肉の円筒状部材とを備えたロータと、ステータとがハウジング内に収納され、
前記ハウジング内に、前記円筒状部材の両端をそれぞれ軸支する軸受ボスが形成されることを特徴とするモータ。
Priority Applications (1)
| Application Number | Priority Date | Filing Date | Title |
|---|---|---|---|
| JP2004108891A JP2005295722A (ja) | 2004-04-01 | 2004-04-01 | ロータ及び、このロータを備えたモータ |
Applications Claiming Priority (1)
| Application Number | Priority Date | Filing Date | Title |
|---|---|---|---|
| JP2004108891A JP2005295722A (ja) | 2004-04-01 | 2004-04-01 | ロータ及び、このロータを備えたモータ |
Publications (1)
| Publication Number | Publication Date |
|---|---|
| JP2005295722A true JP2005295722A (ja) | 2005-10-20 |
Family
ID=35328043
Family Applications (1)
| Application Number | Title | Priority Date | Filing Date |
|---|---|---|---|
| JP2004108891A Withdrawn JP2005295722A (ja) | 2004-04-01 | 2004-04-01 | ロータ及び、このロータを備えたモータ |
Country Status (1)
| Country | Link |
|---|---|
| JP (1) | JP2005295722A (ja) |
Cited By (13)
| Publication number | Priority date | Publication date | Assignee | Title |
|---|---|---|---|---|
| CN102306990A (zh) * | 2011-09-13 | 2012-01-04 | 陈强 | 一种适合大转矩起动的永磁电机 |
| CN102306965A (zh) * | 2011-09-13 | 2012-01-04 | 陈强 | 一种永磁电机转子 |
| CN102306964A (zh) * | 2011-09-13 | 2012-01-04 | 陈强 | 一种永磁电机转子 |
| KR101143992B1 (ko) | 2006-03-09 | 2012-05-09 | 주식회사 동서전자 | 모터의 로터 |
| CN102761210A (zh) * | 2011-04-28 | 2012-10-31 | 中国江南航天工业集团林泉电机厂 | 永磁电机的复合式永磁转子及其制作方法 |
| CN102761211A (zh) * | 2011-04-28 | 2012-10-31 | 中国江南航天工业集团林泉电机厂 | 设有不导磁隔离套的永磁转子及其制作方法 |
| CN106655679A (zh) * | 2017-02-14 | 2017-05-10 | 佛山智能装备技术研究院 | 一种混合铁心电机 |
| CN106712343A (zh) * | 2015-08-18 | 2017-05-24 | 珠海格力节能环保制冷技术研究中心有限公司 | 永磁电机及其转子分段斜极 |
| JP2017135893A (ja) * | 2016-01-28 | 2017-08-03 | 新日鐵住金株式会社 | 渦電流式発熱装置 |
| CN108053967A (zh) * | 2017-12-29 | 2018-05-18 | 成都银河磁体股份有限公司 | 一种包磁组件、柱状包磁组件及加工方法 |
| CN109417323A (zh) * | 2016-06-23 | 2019-03-01 | 罗伯特·博世有限公司 | 用于电机的转子,具有转子的电机和用于转子的制造方法 |
| CN112467903A (zh) * | 2020-11-23 | 2021-03-09 | 珠海格力电器股份有限公司 | 电机转子和永磁电机 |
| JP2022131772A (ja) * | 2021-02-26 | 2022-09-07 | 日本電産株式会社 | モータ |
-
2004
- 2004-04-01 JP JP2004108891A patent/JP2005295722A/ja not_active Withdrawn
Cited By (15)
| Publication number | Priority date | Publication date | Assignee | Title |
|---|---|---|---|---|
| KR101143992B1 (ko) | 2006-03-09 | 2012-05-09 | 주식회사 동서전자 | 모터의 로터 |
| CN102761210A (zh) * | 2011-04-28 | 2012-10-31 | 中国江南航天工业集团林泉电机厂 | 永磁电机的复合式永磁转子及其制作方法 |
| CN102761211A (zh) * | 2011-04-28 | 2012-10-31 | 中国江南航天工业集团林泉电机厂 | 设有不导磁隔离套的永磁转子及其制作方法 |
| CN102306965A (zh) * | 2011-09-13 | 2012-01-04 | 陈强 | 一种永磁电机转子 |
| CN102306964A (zh) * | 2011-09-13 | 2012-01-04 | 陈强 | 一种永磁电机转子 |
| CN102306990A (zh) * | 2011-09-13 | 2012-01-04 | 陈强 | 一种适合大转矩起动的永磁电机 |
| CN106712343A (zh) * | 2015-08-18 | 2017-05-24 | 珠海格力节能环保制冷技术研究中心有限公司 | 永磁电机及其转子分段斜极 |
| CN106712343B (zh) * | 2015-08-18 | 2019-08-23 | 珠海格力节能环保制冷技术研究中心有限公司 | 永磁电机及其转子分段斜极 |
| JP2017135893A (ja) * | 2016-01-28 | 2017-08-03 | 新日鐵住金株式会社 | 渦電流式発熱装置 |
| JP2019518412A (ja) * | 2016-06-23 | 2019-06-27 | ロベルト・ボッシュ・ゲゼルシャフト・ミト・ベシュレンクテル・ハフツングRobert Bosch Gmbh | 電気機械のためのロータ、ロータを有する電気機械、およびロータの製造方法 |
| CN109417323A (zh) * | 2016-06-23 | 2019-03-01 | 罗伯特·博世有限公司 | 用于电机的转子,具有转子的电机和用于转子的制造方法 |
| CN106655679A (zh) * | 2017-02-14 | 2017-05-10 | 佛山智能装备技术研究院 | 一种混合铁心电机 |
| CN108053967A (zh) * | 2017-12-29 | 2018-05-18 | 成都银河磁体股份有限公司 | 一种包磁组件、柱状包磁组件及加工方法 |
| CN112467903A (zh) * | 2020-11-23 | 2021-03-09 | 珠海格力电器股份有限公司 | 电机转子和永磁电机 |
| JP2022131772A (ja) * | 2021-02-26 | 2022-09-07 | 日本電産株式会社 | モータ |
Similar Documents
| Publication | Publication Date | Title |
|---|---|---|
| CN101399485B (zh) | 步进电动机 | |
| JP2005295722A (ja) | ロータ及び、このロータを備えたモータ | |
| CN103370860B (zh) | 旋转螺线管 | |
| JP4904251B2 (ja) | ポンプ用dcモータ | |
| CN100454728C (zh) | 电动机 | |
| JP2009239986A (ja) | コイルボビン及びそれを用いた回転機 | |
| JP2003244923A (ja) | 扁平型ステッピングモータ | |
| JP2004147431A (ja) | 扁平型ステッピングモータ | |
| US20060273677A1 (en) | Rotor for motor | |
| JP2007037244A5 (ja) | ||
| US12418214B2 (en) | Electric motor that can be downsized in a rotation axis direction | |
| JP2006280039A (ja) | ステッピングモータ及びその製造方法 | |
| JP2006136108A (ja) | ステッピングモータ | |
| JP4541939B2 (ja) | 電磁アクチュエータおよびこれを備えた駆動装置 | |
| JP2005110376A (ja) | ステッピングモータ | |
| JP4485260B2 (ja) | 電磁アクチュエータおよびこれを備えた携帯機器 | |
| JP2002369482A (ja) | 電磁アクチュエータ | |
| JP2005210806A (ja) | モータ | |
| JP2006174603A (ja) | インナーロータ型電気モータ | |
| JP5846784B2 (ja) | ブラシレス振動モータ | |
| JP2005328633A (ja) | 駆動装置及び光量調節装置 | |
| JP2009131037A (ja) | 電動機及びファン装置 | |
| JP2010011580A (ja) | モータ及びこれを用いたポンプ | |
| JP2005250208A (ja) | 光量調節装置 | |
| JP2007143253A (ja) | ステッピングモータ |
Legal Events
| Date | Code | Title | Description |
|---|---|---|---|
| A621 | Written request for application examination |
Free format text: JAPANESE INTERMEDIATE CODE: A621 Effective date: 20070313 |
|
| A761 | Written withdrawal of application |
Free format text: JAPANESE INTERMEDIATE CODE: A761 Effective date: 20090305 |