JP2005294677A - 半導体装置 - Google Patents

半導体装置 Download PDF

Info

Publication number
JP2005294677A
JP2005294677A JP2004109794A JP2004109794A JP2005294677A JP 2005294677 A JP2005294677 A JP 2005294677A JP 2004109794 A JP2004109794 A JP 2004109794A JP 2004109794 A JP2004109794 A JP 2004109794A JP 2005294677 A JP2005294677 A JP 2005294677A
Authority
JP
Japan
Prior art keywords
interlayer insulating
insulating film
scribe line
line region
semiconductor
Prior art date
Legal status (The legal status is an assumption and is not a legal conclusion. Google has not performed a legal analysis and makes no representation as to the accuracy of the status listed.)
Withdrawn
Application number
JP2004109794A
Other languages
English (en)
Inventor
Takeshi Hamaya
毅 濱谷
Masaji Funakoshi
正司 舩越
Katsuhiko Tsuura
克彦 津浦
Current Assignee (The listed assignees may be inaccurate. Google has not performed a legal analysis and makes no representation or warranty as to the accuracy of the list.)
Panasonic Holdings Corp
Original Assignee
Matsushita Electric Industrial Co Ltd
Priority date (The priority date is an assumption and is not a legal conclusion. Google has not performed a legal analysis and makes no representation as to the accuracy of the date listed.)
Filing date
Publication date
Application filed by Matsushita Electric Industrial Co Ltd filed Critical Matsushita Electric Industrial Co Ltd
Priority to JP2004109794A priority Critical patent/JP2005294677A/ja
Publication of JP2005294677A publication Critical patent/JP2005294677A/ja
Withdrawn legal-status Critical Current

Links

Images

Landscapes

  • Dicing (AREA)

Abstract

【課題】半導体組立プロセスのダイシング工程において、ダイシングの衝撃によるスクライブライン領域の保護膜及び各配線層の層間絶縁膜のチッピング或いは内部剥離、ダメージの防止を実現する半導体装置を提供することを目的とする。
【解決手段】従来、スクライブライン領域2にもチップ領域1と同様に固い層間絶縁膜7と柔らかい層間絶縁膜4とが交互に形成されているが、本発明の半導体装置では、スクライブライン領域2の固い層間絶縁膜7を形成せず、全て除去することによって、ダイシングの際に、固い層間絶縁膜7を切断することなく、柔らかい層間絶縁膜4のみを形成しており、層間絶縁膜4のみを切断するため、スクライブライン領域の保護膜及び各配線層の層間絶縁膜のチッピング或いは内部剥離、ダメージの防止を実現できる。
【選択図】図1

Description

本発明は、半導体組立工程であるダイシングの衝撃によるスクライブライン領域の保護膜及び各配線層の層間絶縁膜のチッピング、内部剥離、あるいはダメージの防止を実現する半導体装置に関するものである。
図3は、従来の半導体装置の断面図であり、半導体チップと半導体チップの間のスクライブライン領域を示している。二つの半導体チップ1の間には、スクライブライン領域2があり、半導体チップ1の周辺には、シールリング3が形成されている。半導体チップ1およびスクライブライン領域2には、層間絶縁膜4と、固い層間絶縁膜5がそれぞれ複数層積層され、最上層には保護膜6が形成されている。
従来、半導体ウェハーのダイシングにおいて、各配線層の層間絶縁膜4、5は固く、また層数も少なく単純なため、チッピングあるいは剥離等は小さく、問題にはならなかった。しかしながら、スクライブライン領域の縮小化や拡散プロセスの微細化技術の進展に伴い、プロセス・コントロール・モジュレーション(以下、PCMと略す)領域が複雑かつ増大し、スクライブライン領域の有効活用のためにPCMをスクライブライン領域に搭載することがおこなわれるようになり、スクライブライン領域のパターンが複雑になってきた。このことは、半導体の回路形成を担う拡散工程が完了した後の半導体素子のパッケージングを担う組立工程、特にダイシング工程で問題となってくる。具体的には、スクライブライン領域に余裕がなくなり、また、スクライブライン領域へPCM搭載によるパターンの複雑化により、半導体ウェハーをダイシングして、半導体チップ個片にする際に、保護膜あるいは層間絶縁膜にチッピングや剥離、ダメージが起こり、信頼性不良の原因となる。
そこで、従来は各半導体チップ領域間のスクライブライン領域の最上層の保護膜に保護膜のない溝を形成することにより、半導体チップ領域へのチッピングを防止する半導体装置を形成している(例えば、特許文献1参照)。
特開平9−306872号公報
しかしながら、さらなる拡散プロセスの微細化に伴い、拡散プロセスにおける平坦化技術が進み、平坦化するための機械的化学研磨により各配線層の層間絶縁膜の薄膜化が進み、これに伴い、工程数及び層間絶縁膜の各層数が増加し複雑になってきた。その上さらに、同じく拡散プロセスの微細化技術により、配線遅延の問題が顕著になってきており、その配線間遅延を小さくするため配線間に挟まれている絶縁膜に誘電率の低い絶縁膜(低誘電率膜)を採用しようとしている。しかし、この低誘電率膜は、従来から採用されていたシリコン酸化膜よりも機械的強度が大きく低下する。そのため、従来のスクライブライン構造では、もはや半導体組立工程であるダイシングの衝撃によるスクライブライン領域の保護膜及び各配線層のチッピングあるいは内部剥離、ダメージを防止することが困難になってきた。
本発明は上記従来の課題を解決するもので、スクライブライン領域の保護膜及び各配線層のチッピング或いは内部剥離、ダメージを防止する半導体装置を提供することを目的とする。
この課題を解決するために本発明は、拡散プロセスの配線工程によって固い層間絶縁膜と柔らかい層間絶縁膜とが交互に形成され、その固い層間絶縁膜をスクライブライン領域において、すべて除去あるいは一部除去することを特徴とするものである。
従来は、スクライブライン領域にもチップ側と同様に固い層間絶縁膜と柔らかい層間絶縁膜とが交互に形成されているが、本発明の半導体装置では、そのスクライブライン領域の固い層間絶縁膜を全て除去することによって、ダイシングの際に、固い層間絶縁膜を切断することなく、柔らかい層間絶縁膜のみを切断するため、スクライブライン領域の保護膜及び各配線層の層間絶縁膜のチッピングあるいは内部剥離、ダメージの防止を実現できる。また、スクライブライン領域において、PCM等固い層間絶縁膜が必要な部分は残して、シールリングのスクライブライン側に固い層間絶縁膜を溝のように1部除去する場合は、ダイシングの際に、固い層間絶縁膜を切断することになるが、固い層間絶縁膜がチップ側で除去されているため、ダイシング時の衝撃はチップ側へ影響しない。従って、スクライブライン領域の固い層間絶縁膜を全て除去した場合と同様の効果があり、スクライブライン領域の保護膜及び各配線層の層間絶縁膜のチッピングあるいは内部剥離、ダメージの防止を実現できる。
以上のように、スクライブライン領域において、固い層間絶縁膜をすべて除去あるいは1部除去することにより、半導体ウェハーのダイシング時の衝撃に対し、チッピング及び内部剥離、ダメージを防止することができる。その結果、半導体の信頼性を向上することが可能となる。
以下、本発明の半導体装置の実施形態について図面に基づき詳細に説明する。
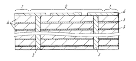
図1は、本発明の第1の実施形態における半導体装置の断面図であり、半導体チップと半導体チップの間のスクライブライン領域を示している。半導体ウェハー上に形成されたそれぞれの半導体チップ1の間には、スクライブライン領域2があり、半導体チップ1の周辺には、シールリング3が形成されている。半導体チップ1の領域では、柔らかい層間絶縁膜4と、固い層間絶縁膜7がそれぞれ複数層積層され、最上層には保護膜6が形成されている。シールリング3のスクライブ側、つまりスクライブライン領域2におけるチッピング及び内部剥離防止部8では、柔らかい層間絶縁膜4のみが複数層積層され、最上層には保護膜6が形成されている。各層間絶縁膜4の間には固い層間絶縁膜7を形成しない。
図1に示すように固い層間絶縁膜7の除去されている部分であるチッピング及び内部剥離防止部8でダイシングのブレードにより半導体ウェハーが切断され、各半導体チップに分離される。従って、固い層間絶縁膜を切断することなく、柔らかい層間絶縁膜4のみを切断することになり、チッピング及び切断面の内部剥離やダメージを防止することができる。固い層間絶縁膜7としては、SiN膜やSiC膜などがあげられる。
次に、図2は本発明の第2の実施形態における半導体装置の断面図であり、半導体チップと半導体チップの間のスクライブライン領域を示している。図1の第1の実施形態と異なる点は、シールリング3のスクライブ側、つまりスクライブライン領域2の一部にチッピング及び内部剥離防止部9を設け、チッピング及び内部剥離防止部9だけは、柔らかい層間絶縁膜4のみが複数層積層されており、各層間絶縁膜4の間には固い層間絶縁膜7を形成しない。それぞれのチッピング及び内部剥離防止部9を除く内側のスクライブライン領域2には、半導体チップ1の領域と同様に柔らかい層間絶縁膜4と、固い層間絶縁膜7がそれぞれ複数層積層され、最上層には保護膜6が形成されている。つまり、スクライブライン領域2においては、半導体チップ1側の一定距離以内の領域、シールリング3のスクライブ側の一部であるチッピング及び内部剥離防止部9の領域のみ、固い層間絶縁膜7が両側溝のように除去されている。
図2に示す半導体装置のダイシングでは、スクライブライン領域2の中間部でダイシングのブレードにより半導体ウェハーが切断され、各半導体チップに分離される。従って、固い層間絶縁膜7を切断することになるが、両側に柔らかい層間絶縁膜4のみの部分、つまりチッピング及び内部剥離防止部9があるために、応力が吸収され、チッピング及び切断面の内部剥離やダメージを防止することができる。
本発明の半導体装置におけるスクライブライン領域の構成は、固い膜と柔らかい膜が積層されているものを細片化する際の切断に有効であり、Si半導体、化合物半導体や半導体以外の電子部品にも同様の構成の場合に利用可能である。
本発明の第1の実施形態における半導体装置の断面図 本発明の第2の実施形態における半導体装置の断面図 従来の半導体装置の断面図
符号の説明
1 半導体チップ
2 スクライブライン領域
3 シールリング
4 層間絶縁膜
6 保護膜
7 層間絶縁膜
8 チッピング及び内部剥離防止部

Claims (3)

  1. 半導体ウェハー上に複数の半導体チップと、前記半導体チップの間にダイシング用のスクライブライン領域を備えた半導体装置において、前記半導体チップの領域では、第1の層間絶縁膜と、前記第1の層間絶縁膜より固い第2の層間絶縁膜がそれぞれ複数層積層され、前記スクライブライン領域では、前記第2の層間絶縁膜を形成せず、前記第1の層間絶縁膜が複数層積層されていることを特徴とする半導体装置。
  2. 半導体ウェハー上に複数の半導体チップと、前記半導体チップの間にダイシング用のスクライブライン領域を備えた半導体装置において、前記半導体チップの領域および前記スクライブライン領域では、第1の層間絶縁膜と、前記第1の層間絶縁膜より固い第2の層間絶縁膜がそれぞれ複数層積層され、前記スクライブライン領域の前記半導体チップ側の一定距離以内の領域では、前記第2の層間絶縁膜を形成せず、前記第1の層間絶縁膜が複数層積層されていることを特徴とする半導体装置。
  3. 第2の層間絶縁膜がSiN膜またはSiC膜であることを特徴とする請求項1または2に記載の半導体装置。
JP2004109794A 2004-04-02 2004-04-02 半導体装置 Withdrawn JP2005294677A (ja)

Priority Applications (1)

Application Number Priority Date Filing Date Title
JP2004109794A JP2005294677A (ja) 2004-04-02 2004-04-02 半導体装置

Applications Claiming Priority (1)

Application Number Priority Date Filing Date Title
JP2004109794A JP2005294677A (ja) 2004-04-02 2004-04-02 半導体装置

Publications (1)

Publication Number Publication Date
JP2005294677A true JP2005294677A (ja) 2005-10-20

Family

ID=35327245

Family Applications (1)

Application Number Title Priority Date Filing Date
JP2004109794A Withdrawn JP2005294677A (ja) 2004-04-02 2004-04-02 半導体装置

Country Status (1)

Country Link
JP (1) JP2005294677A (ja)

Cited By (3)

* Cited by examiner, † Cited by third party
Publication number Priority date Publication date Assignee Title
JP2020031204A (ja) * 2018-08-17 2020-02-27 キオクシア株式会社 半導体基板および半導体装置
US10930602B2 (en) 2018-10-19 2021-02-23 Samsung Electronics Co., Ltd. Semiconductor device and method for fabricating the same
CN114446876A (zh) * 2022-04-12 2022-05-06 湖北三维半导体集成创新中心有限责任公司 晶圆切割方法

Cited By (6)

* Cited by examiner, † Cited by third party
Publication number Priority date Publication date Assignee Title
JP2020031204A (ja) * 2018-08-17 2020-02-27 キオクシア株式会社 半導体基板および半導体装置
JP7288300B2 (ja) 2018-08-17 2023-06-07 キオクシア株式会社 半導体基板および半導体装置
US10930602B2 (en) 2018-10-19 2021-02-23 Samsung Electronics Co., Ltd. Semiconductor device and method for fabricating the same
US11784137B2 (en) 2018-10-19 2023-10-10 Samsung Electronics Co., Ltd. Semiconductor device and method for fabricating the same
CN114446876A (zh) * 2022-04-12 2022-05-06 湖北三维半导体集成创新中心有限责任公司 晶圆切割方法
CN114446876B (zh) * 2022-04-12 2022-07-01 湖北三维半导体集成创新中心有限责任公司 晶圆切割方法

Similar Documents

Publication Publication Date Title
JP5448304B2 (ja) 半導体装置
US7417304B2 (en) Electronic device and method for fabricating the same
CN100385627C (zh) 半导体器件的制造方法、半导体晶片及半导体器件
JP5175066B2 (ja) 半導体装置
JP5235378B2 (ja) 半導体装置
JP2010074106A (ja) 半導体チップ、半導体ウェーハおよびそのダイシング方法
US20070278698A1 (en) Semiconductor device and semiconductor wafer and a method for manufacturing the same
US20050093169A1 (en) Semiconductor device and method of manufacturing semiconductor device
CN102842597B (zh) 半导体芯片和半导体器件
JP2011139103A (ja) 半導体装置
CN102593076A (zh) 半导体装置
US20090224387A1 (en) Semiconductor chip and method for manufacturing the same and semiconductor device
US7777304B2 (en) Semiconductor device
JP2009218504A (ja) 半導体装置
CN100463190C (zh) Soi衬底及其制造方法
JP2005294677A (ja) 半導体装置
JP2012160547A (ja) 半導体装置及びその製造方法
JP2009076782A (ja) 半導体基板、その製造方法、および半導体チップ
JP5726989B2 (ja) 半導体装置
JP2008066545A (ja) 半導体装置の製造方法
JP2008041804A (ja) 半導体装置及びその製造方法
JP4814694B2 (ja) 半導体装置
JP2009218503A (ja) 半導体装置及びその製造方法
JP2006269837A (ja) 半導体素子集合体、半導体素子製造方法、及び半導体素子
JP2007019080A (ja) 半導体装置

Legal Events

Date Code Title Description
A621 Written request for application examination

Free format text: JAPANESE INTERMEDIATE CODE: A621

Effective date: 20070219

RD01 Notification of change of attorney

Free format text: JAPANESE INTERMEDIATE CODE: A7421

Effective date: 20070313

A761 Written withdrawal of application

Free format text: JAPANESE INTERMEDIATE CODE: A761

Effective date: 20070730