JP2005293939A - メタルハライドランプ - Google Patents
メタルハライドランプ Download PDFInfo
- Publication number
- JP2005293939A JP2005293939A JP2004104828A JP2004104828A JP2005293939A JP 2005293939 A JP2005293939 A JP 2005293939A JP 2004104828 A JP2004104828 A JP 2004104828A JP 2004104828 A JP2004104828 A JP 2004104828A JP 2005293939 A JP2005293939 A JP 2005293939A
- Authority
- JP
- Japan
- Prior art keywords
- metal halide
- tube
- electrode
- halide lamp
- ceramic metal
- Prior art date
- Legal status (The legal status is an assumption and is not a legal conclusion. Google has not performed a legal analysis and makes no representation as to the accuracy of the status listed.)
- Granted
Links
Images
Landscapes
- Discharge Lamps And Accessories Thereof (AREA)
- Discharge Lamp (AREA)
Abstract
【解決手段】放電空間を形成する本管部およびその両端部から延出された細管部からなるセラミック製の外囲器、細管部の中空に延在する一対の給電体、細管部の開口端部を密封するシール材、および放電空間内に封入されている発光物質を具備し、一対の給電体は、先端部が放電空間内に配置された電極と、電極の末端部から延長された電極支持体とからなり、本管部の内径φiに対する電極の先端部間距離Leの比で表される管形状パラメータが0.45〜0.65であり、発光物質は、基本成分と副成分とからなり、基本成分は希土類金属のハロゲン化物とナトリウムのハロゲン化物からなり、副成分は水銀のハロゲン化物からなるメタルハライドランプ。
【選択図】図1
Description
発光管300の外囲器は、PCAからなる。外囲器は、本管部301と、その両端部から延出された本管部301より小さい外径を有する細管部302、303からなる。本管部301の内部には、放電空間(放電アーク領域)が形成されている。細管部302、303の中空には、それぞれ電極および電極支持体308、309からなる給電体が延在している。放電空間には、発光物質313が封入されている。
発光管400の外囲器の形状は、図3のそれとは異なり、本管部401と細管部402、403とが一体成形されている。放電空間は、回転楕円形に近い形状を有する。発光物質としては、ヨウ化セリウム(CeI3)、ヨウ化プラセオジウム(PrI3)などの希土類金属のハロゲン化物と、NaIなどの金属のハロゲン化物との組み合わせが用いられている(特許文献3参照)。
本発明のメタルハライドランプは、放電空間を形成する本管部および本管部の両端部から延出された本管部より小さい外径を有する細管部からなるセラミック製の外囲器、細管部の中空に延在する一対の給電体、細管部の開口端部を密封するシール材、および放電空間内に封入されている発光物質を具備する。
△Tc=Tc(H)−Tc(V)
で定義される。
本発明は、特にランプ入力70〜150Wの低ワットタイプのセラミックメタルハライドランプにおいて有効である。
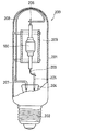
図1は、本発明の発光管100の一例であって、点灯方向自由形の発光管100の内部構造を示す断面図である。また、図2は、図1に示す発光管100を外管ガラスバルブ201内に収容したセラミックメタルハライドランプ200の組立構造の一例を示す側面図である。図1の発光管100を構成する材料には、発光物質を除き、図3の発光管300と同様のものを用いることができる。
2DyI3 → DyI+Dy+5/2I2
NaI → Na+1/2I2
解離反応で生成したDyI分子、Dy原子、Na原子等は、黄もしくは赤色領域の光を放射する。
△Tc=Tc(H)−Tc(V)
で定義される色温度変動幅ΔTcが狭められることを意味する。
セラミックメタルハライドランプ200は、窒素などが封入された外管ガラスバルブ201を有する。発光管100は、外管ガラスバルブ201の内空間に収容されるとともに固定されている。外管ガラスバルブ201の材質には、硬質ガラスなどが用いられる。外管ガラスバルブ201の端部は、窄まった形状を有し、端部には口金202が装着されている。
細管部の外径:2.6 mm
細管部の内径:0.8 mm
細管部の全長:14.5 mm
タングステン電極の外径:0.35mm
タングステン電極の全長:15.0 mm
電極支持体の外径:0.70mm
電極支持体の全長:12.0 mm
シール材の侵入深さ(封止長):3.4mm
本管部の内径φi:6.2 mm
本管部の外径φo:7.4 mm
電極間距離Le:5.0 mm
放電空間の全長Li:10.0 mm
管形状パラメータLe/φi:0.80
管壁負荷we:37W/cm2
定格色温度:4300K
DyI3:10モル%
TmI3:10モル%
HoI3:10モル%
TlI:19モル%
NaI:51モル%
発光物質の総量:2.8mg
水銀量:10.5mg
アルゴン封入圧:約13kPa
本管部の内径φi:8.5 mm
本管部の外径φo:9.7 mm
電極間距離Le:5.0 mm
放電空間の全長Li:10.0 mm
管形状パラメータLe/φi:0.59
管壁負荷we:27W/cm2
比較例1および2のセラミックメタルハライドランプの量産試作を重ね、100本のセラミックメタルハライドランプの点灯方向による発光色変動データを測定し、色温度変動幅ΔTcを集積した。そして、色温度変動幅ΔTcの平均値と、ΔTcが−200K以下になったセラミックメタルハライドランプの数の割合を求めた。表1に結果を示す。
DyI3:10モル%
TmI3:10モル%
HoI3:9.5モル%
TlI:17.5モル%
NaI:48.5モル%
HgI2:4.5モル%
発光物質の総量:3.0mg
実施例1のセラミックメタルハライドランプの量産試作を重ね、上記比較例と同様にして、100本のセラミックメタルハライドランプの色温度変動幅ΔTcの平均値と、ΔTcが−200K以下になったセラミックメタルハライドランプの数の割合を求めた。表1に結果を示す。
101 本管部
102、103 細管部
104、105 電極棒
106、107 タングステン製のコイル
108、109 電極支持体
110 シール材
111、112 モリブデン製のコイル
113 発光物質
114 水銀
201 外管ガラスバルブ
202 口金
203 電極リード
204 ステムガラス
205 ステムリード
206 電極リード
207 ステムリード
208 支持リード
209 石英シールド管
301 本管部
302、303 細管部
304、305 電極棒
306、307 タングステン製のコイル
308、309 電極支持体
310 シール材
311、312 モリブデン製のコイル
313 発光物質
314 水銀
401 本管部
402、403 細管部
404、405 電極棒
406、407 タングステン製のコイル
408、409 電極支持体
410 シール材
411、412 モリブデン製のコイル
Claims (2)
- 放電空間を形成する本管部および前記本管部の両端部から延出された前記本管部より小さい外径を有する細管部からなるセラミック製の外囲器、
前記細管部の中空に延在する一対の給電体、
前記細管部の開口端部を密封するシール材、および
前記放電空間内に封入されている発光物質を具備し、
前記一対の給電体は、先端部が前記放電空間内に配置された電極と、前記電極の末端部から延長された電極支持体とからなり、前記本管部の内径φiに対する前記電極の先端部間距離Leの比:Le/φiで表される管形状パラメータが0.45〜0.65であり、
前記発光物質は、基本成分と、副成分とからなり、
前記基本成分は、ヨウ化ディスプロシウム(DyI3)、ヨウ化ツリウム(TmI3)、ヨウ化ホルミウム(HoI3)、ヨウ化セリウム(CeI3)およびヨウ化プラセオジウム(PrI3)よりなる群から選択される少なくとも1種の希土類金属のハロゲン化物ならびにナトリウムのハロゲン化物からなり、
前記副成分は、ヨウ化水銀(HgI2)および臭化水銀(HgBr2)よりなる群から選択される少なくとも1種の水銀のハロゲン化物からなるメタルハライドランプ。 - 前記希土類金属のハロゲン化物と、前記ナトリウムのハロゲン化物と、前記水銀のハロゲン化物との総量に占める前記水銀のハロゲン化物の含有率が、1〜11モル%である請求項1記載のメタルハライドランプ。
Priority Applications (1)
| Application Number | Priority Date | Filing Date | Title |
|---|---|---|---|
| JP2004104828A JP4331037B2 (ja) | 2004-03-31 | 2004-03-31 | メタルハライドランプ |
Applications Claiming Priority (1)
| Application Number | Priority Date | Filing Date | Title |
|---|---|---|---|
| JP2004104828A JP4331037B2 (ja) | 2004-03-31 | 2004-03-31 | メタルハライドランプ |
Publications (2)
| Publication Number | Publication Date |
|---|---|
| JP2005293939A true JP2005293939A (ja) | 2005-10-20 |
| JP4331037B2 JP4331037B2 (ja) | 2009-09-16 |
Family
ID=35326659
Family Applications (1)
| Application Number | Title | Priority Date | Filing Date |
|---|---|---|---|
| JP2004104828A Expired - Fee Related JP4331037B2 (ja) | 2004-03-31 | 2004-03-31 | メタルハライドランプ |
Country Status (1)
| Country | Link |
|---|---|
| JP (1) | JP4331037B2 (ja) |
Cited By (1)
| Publication number | Priority date | Publication date | Assignee | Title |
|---|---|---|---|---|
| EP2988318A1 (en) | 2014-08-19 | 2016-02-24 | Flowil International Lighting (HOLDING) B.V. | Metal halide lamp with high colour rendering |
Families Citing this family (1)
| Publication number | Priority date | Publication date | Assignee | Title |
|---|---|---|---|---|
| CN103606510A (zh) * | 2013-11-25 | 2014-02-26 | 辽宁爱华照明科技股份有限公司 | 一种70-100w灯具电器通用金属卤化物灯 |
-
2004
- 2004-03-31 JP JP2004104828A patent/JP4331037B2/ja not_active Expired - Fee Related
Cited By (1)
| Publication number | Priority date | Publication date | Assignee | Title |
|---|---|---|---|---|
| EP2988318A1 (en) | 2014-08-19 | 2016-02-24 | Flowil International Lighting (HOLDING) B.V. | Metal halide lamp with high colour rendering |
Also Published As
| Publication number | Publication date |
|---|---|
| JP4331037B2 (ja) | 2009-09-16 |
Similar Documents
| Publication | Publication Date | Title |
|---|---|---|
| JP5534641B2 (ja) | メタルハライドランプ | |
| US8350477B2 (en) | Ceramic metal halide lamp with length to diameter ratio | |
| CN100468607C (zh) | 亮度可变的金属卤化物灯和照明方法 | |
| JP2004288617A (ja) | 高圧放電ランプおよび照明装置 | |
| JP5274830B2 (ja) | 定格ランプ電力が450w以上のセラミックメタルハライドランプ | |
| CN100576423C (zh) | 金属卤化物灯的具有镁和铟的化学成分 | |
| US7423380B2 (en) | Metal halide lamp that has desired color characteristic and is prevented from non-lighting due to leakage of arc tube attributable to crack occurring at thin tube, and lighting apparatus adopting the metal halide lamp | |
| JP2006120599A (ja) | 金属蒸気放電ランプおよび金属蒸気放電ランプ点灯装置 | |
| WO2006046704A1 (ja) | メタルハライドランプおよび照明装置 | |
| JP3925249B2 (ja) | メタルハライドランプ | |
| JP2004349242A (ja) | 高圧放電ランプおよび照明装置 | |
| JP4181949B2 (ja) | 高圧放電ランプおよび照明装置 | |
| JP4331037B2 (ja) | メタルハライドランプ | |
| JP5190582B2 (ja) | メタルハライドランプおよび照明器具 | |
| JP5825130B2 (ja) | セラミックメタルハライドランプ | |
| JP3233355B2 (ja) | メタルハライドランプ | |
| CN103681209A (zh) | 陶瓷金属卤化物灯 | |
| JP2011175830A (ja) | 高圧放電ランプ | |
| US20050082988A1 (en) | Metal-halide lamp | |
| JP2005533346A (ja) | メタルハライドランプ | |
| JP2005285559A (ja) | メタルハライドランプ | |
| JP3723567B2 (ja) | セラミックメタルハライドランプ | |
| JP5391388B2 (ja) | 高圧放電ランプおよび照明装置 | |
| JP5590508B2 (ja) | セラミックメタルハライドランプ | |
| JP2010140826A (ja) | 高圧放電ランプおよび照明装置 |
Legal Events
| Date | Code | Title | Description |
|---|---|---|---|
| A621 | Written request for application examination |
Free format text: JAPANESE INTERMEDIATE CODE: A621 Effective date: 20061218 |
|
| RD04 | Notification of resignation of power of attorney |
Free format text: JAPANESE INTERMEDIATE CODE: A7424 Effective date: 20061226 |
|
| A977 | Report on retrieval |
Free format text: JAPANESE INTERMEDIATE CODE: A971007 Effective date: 20090122 |
|
| A131 | Notification of reasons for refusal |
Free format text: JAPANESE INTERMEDIATE CODE: A131 Effective date: 20090212 |
|
| A521 | Request for written amendment filed |
Free format text: JAPANESE INTERMEDIATE CODE: A523 Effective date: 20090413 |
|
| TRDD | Decision of grant or rejection written | ||
| A01 | Written decision to grant a patent or to grant a registration (utility model) |
Free format text: JAPANESE INTERMEDIATE CODE: A01 Effective date: 20090521 |
|
| A01 | Written decision to grant a patent or to grant a registration (utility model) |
Free format text: JAPANESE INTERMEDIATE CODE: A01 |
|
| A61 | First payment of annual fees (during grant procedure) |
Free format text: JAPANESE INTERMEDIATE CODE: A61 Effective date: 20090617 |
|
| R150 | Certificate of patent or registration of utility model |
Free format text: JAPANESE INTERMEDIATE CODE: R150 |
|
| FPAY | Renewal fee payment (event date is renewal date of database) |
Free format text: PAYMENT UNTIL: 20120626 Year of fee payment: 3 |
|
| FPAY | Renewal fee payment (event date is renewal date of database) |
Free format text: PAYMENT UNTIL: 20120626 Year of fee payment: 3 |
|
| FPAY | Renewal fee payment (event date is renewal date of database) |
Free format text: PAYMENT UNTIL: 20130626 Year of fee payment: 4 |
|
| LAPS | Cancellation because of no payment of annual fees |
