JP2005293807A - 光ディスク記録再生装置及びその信号検出方法 - Google Patents
光ディスク記録再生装置及びその信号検出方法 Download PDFInfo
- Publication number
- JP2005293807A JP2005293807A JP2004111492A JP2004111492A JP2005293807A JP 2005293807 A JP2005293807 A JP 2005293807A JP 2004111492 A JP2004111492 A JP 2004111492A JP 2004111492 A JP2004111492 A JP 2004111492A JP 2005293807 A JP2005293807 A JP 2005293807A
- Authority
- JP
- Japan
- Prior art keywords
- optical disc
- light receiving
- receiving element
- signal
- light
- Prior art date
- Legal status (The legal status is an assumption and is not a legal conclusion. Google has not performed a legal analysis and makes no representation as to the accuracy of the status listed.)
- Pending
Links
Images
Landscapes
- Optical Recording Or Reproduction (AREA)
Abstract
【課題】 複数層の情報記録層を有する光ディスクの記録再生時に差動プッシュプル誤差信号の演算が不正確となる現象を低減し、適正なトラック制御誤差信号の検出を行う。
【解決手段】 トラック制御誤差信号の検出のみに用いられる副ビーム検出用の2分割受光素子274、275の受光面の大きさを、情報信号を再生する主ビームの4分割受光素子273の受光面よりも小さくする。具体的には、正方形の外形を有する各受光素子に対して、4つのコーナを斜めに切り落とした形状の受光素子274、275を用いる。さらに加えて、誤差演算式(10)の係数(k)を単層ディスク、2層ディスクといった光ディスクの層数に応じて切り替えることで、層間迷光による影響をより軽減する。
【選択図】 図1
【解決手段】 トラック制御誤差信号の検出のみに用いられる副ビーム検出用の2分割受光素子274、275の受光面の大きさを、情報信号を再生する主ビームの4分割受光素子273の受光面よりも小さくする。具体的には、正方形の外形を有する各受光素子に対して、4つのコーナを斜めに切り落とした形状の受光素子274、275を用いる。さらに加えて、誤差演算式(10)の係数(k)を単層ディスク、2層ディスクといった光ディスクの層数に応じて切り替えることで、層間迷光による影響をより軽減する。
【選択図】 図1
Description
本発明は、光ディスクに対して主ビームと副ビームを照射し、それらの戻り光を用いて差動プッシュプル法によるトラック制御誤差信号の検出を行う光ディスク記録再生装置及びその信号検出方法に関する。
従来より、この種の光ディスク記録再生装置において、予め光ディスク上にスパイラル状に形成された案内溝(グルーブ)からなる信号トラックに対して光ピックアップからの光ビームの集光スポットを追従させて情報信号の記録や再生を行う必要があり、この追従制御を行うための方法として、一般にプッシュプル誤差信号を検出する方法(いわゆるプッシュプル検出法)が用いられている。
このプッシュプル検出法においては、グルーブ形状によって回折を受けた反射光を、例えば図8に示すような、光ディスクのトラック接線方向及び光ディスク径方向に分割された4つの受光領域を有する4分割受光素子280で検出し、0次回折光(主ビーム)と±1次回折光(副ビーム)の干渉強度分布を検出することで、トラック制御誤差信号を生成する。
このプッシュプル検出法においては、グルーブ形状によって回折を受けた反射光を、例えば図8に示すような、光ディスクのトラック接線方向及び光ディスク径方向に分割された4つの受光領域を有する4分割受光素子280で検出し、0次回折光(主ビーム)と±1次回折光(副ビーム)の干渉強度分布を検出することで、トラック制御誤差信号を生成する。
一方、プッシュプル誤差信号における光量変動、レンズのオフセットやディスクの傾きによる影響を軽減する方法として、差動プッシュプル検出法が提案されている(例えば特許文献1参照)。
この差動プッシュプル検出法においては、例えば図9に示すような3つの分割受光素子が用いられる。すなわち、この分割受光素子は、光ディスクのトラック接線方向及び光ディスク径方向に分割された4つの受光領域によって主ビームの戻り光を検出する4分割受光素子270と、この4分割受光素子270の両側に配置され、トラック接線方向に分割された2つの受光領域によって副ビームの戻り光を検出する2つの2分割受光素子271、272とで構成されている。
そして、具体的には、主ビームより検出されるプッシュプル信号から、2つの副ビームによって検出される各プッシュプル信号の和を係数(k)を乗じて減算することにより、差動プッシュプル誤差信号が検出される(なお、詳細は後述する)。
特開昭61−94246号公報
この差動プッシュプル検出法においては、例えば図9に示すような3つの分割受光素子が用いられる。すなわち、この分割受光素子は、光ディスクのトラック接線方向及び光ディスク径方向に分割された4つの受光領域によって主ビームの戻り光を検出する4分割受光素子270と、この4分割受光素子270の両側に配置され、トラック接線方向に分割された2つの受光領域によって副ビームの戻り光を検出する2つの2分割受光素子271、272とで構成されている。
そして、具体的には、主ビームより検出されるプッシュプル信号から、2つの副ビームによって検出される各プッシュプル信号の和を係数(k)を乗じて減算することにより、差動プッシュプル誤差信号が検出される(なお、詳細は後述する)。
ところで、上述のように主ビームと副ビームを照射する光ディスク記録再生装置においては、一般に主ビームと副ビームの強度比が10:1程度となるように設定することが多い。しかし、この設定で、例えば図10に示すように、2層の情報記録層100、101を有する光ディスク(いわゆる2層ディスク)103からの信号再生を行うために、一方の情報記録層100に集光スポットを照射した場合、もう一方の情報記録層101からの余分な反射光(迷光)を分離することが困難なため、この迷光成分も受光素子によって検出されてしまう。
この現象は層間迷光とも称されるが、差動プッシュプル信号を生成する上では、誤差信号をディスク反射率や、記録時あるいは再生時の照射パワーによって規格化するAGC(Automatic Gain Control)回路において、主ビームの層間迷光が副ビームの受光素子によって検出され、同信号の規格化を不正確なものとしてしまうという問題があった。
そこで本発明は、複数層の情報記録層を有する光ディスクの記録再生時に差動プッシュプル誤差信号の演算が不正確となる現象を低減でき、適正なトラック制御誤差信号の検出を行うことができる光ディスク記録再生装置及びその信号検出方法を提供することを目的とする。
この現象は層間迷光とも称されるが、差動プッシュプル信号を生成する上では、誤差信号をディスク反射率や、記録時あるいは再生時の照射パワーによって規格化するAGC(Automatic Gain Control)回路において、主ビームの層間迷光が副ビームの受光素子によって検出され、同信号の規格化を不正確なものとしてしまうという問題があった。
そこで本発明は、複数層の情報記録層を有する光ディスクの記録再生時に差動プッシュプル誤差信号の演算が不正確となる現象を低減でき、適正なトラック制御誤差信号の検出を行うことができる光ディスク記録再生装置及びその信号検出方法を提供することを目的とする。
上述の目的を達成するため、本発明の光ディスク記録再生装置並びに光ディスク再生装置は、光ディスクに対して信号情報の記録再生動作または再生動作を行う光ピックアップと、前記光ピックアップで光ディスクに照射される光ビームを主ビームと両側の副ビームに分岐させて光ディスクに供給する光学素子と、前記光ディスクからの戻り光を検出する光検出器と、前記光検出器からの検出信号を用いて位相差法及び差動プッシュプル法によるトラック制御誤差信号の検出を行う演算回路とを有し、前記光検出器は、光ディスクの少なくともトラック接線方向及び光ディスク径方向に分割された受光領域によって前記主ビームの戻り光を検出するM分割受光素子と、前記M分割受光素子の両側に配置され、少なくともトラック接線方向に分割された受光領域によって前記副ビームの戻り光を検出する2つのN分割受光素子とを有し、前記M分割受光素子及びN分割受光素子を用いて差動プッシュプル法によるトラック制御誤差信号の検出を行うとともに、前記差動プッシュプル法に基づいて主ビームのプッシュプル信号と副ビームのプッシュプル信号との差動演算を行う際に、副ビームに乗じる係数(k)を、前記M分割受光素子及びN分受光素子における主ビームと副ビームの受光強度比に応じて変化させることを特徴とする。
また本発明の信号検出方法は、光ディスクに対して信号情報の記録再生動作または再生動作を行う光ピックアップと、前記光ピックアップで光ディスクに照射される光ビームを主ビームと両側の副ビームに分岐させて光ディスクに供給する光学素子と、前記光ディスクからの戻り光を検出する光検出器と、前記光検出器からの検出信号を用いて位相差法及び差動プッシュプル法によるトラック制御誤差信号の検出を行う演算回路とを有し、前記光検出器は、光ディスクの少なくともトラック接線方向及び光ディスク径方向に分割された受光領域によって前記主ビームの戻り光を検出するM分割受光素子と、前記M分割受光素子の両側に配置され、少なくともトラック接線方向に分割された受光領域によって前記副ビームの戻り光を検出する2つのN分割受光素子とを有する光ディスク記録再生装置の信号検出方法であって、前記M分割受光素子及びN分割受光素子を用いて差動プッシュプル法によるトラック制御誤差信号の検出を行うとともに、前記差動プッシュプル法に基づいて主ビームのプッシュプル信号と副ビームのプッシュプル信号との差動演算を行う際に、副ビームに乗じる係数(k)を、前記M分割受光素子及びN分受光素子における主ビームと副ビームの受光強度比に応じて変化させることを特徴とする。
本発明の光ディスク記録再生装置及びその信号検出方法によれば、差動プッシュプル法に基づいて主ビームのプッシュプル信号と副ビームのプッシュプル信号との差動演算を行う際に、副ビームに乗じる係数(k)をM分割受光素子及びN分受光素子における主ビームと副ビームの受光強度比に応じて変化させて差動演算を行うことから、複数層の情報記録層を有する光ディスクに対する信号記録時あるいは信号再生時に、層間迷光によって生じる差動プッシュプル方式トラック誤差信号の演算係数(k)の誤差を軽減することが可能となり、多層ディスクから単層ディスクに至る種々の光ディスクに対して差動プッシュプル方式を用いた適正なトラック制御が可能となる効果がある。
本発明の実施の形態による光ディスク記録再生装置及びその信号検出方法は、光ビームを回折格子を通して主ビーム(0次回折光)と副ビーム(±1次回折光)に回折させて光ディスクに照射し、その戻り光を主ビームは4分割受光素子、副ビームは2分割受光素子で受光し、これらの分割受光素子の出力信号を用いて情報信号の再生や、フォーカス及びトラッキングの制御を行う。そして、トラッキング制御には差動プッシュプル方式を用いるとともに、この差動演算において副ビームに乗じる係数(k)を4分割受光素子及び2分受光素子における主ビームと副ビームの受光強度比に応じて変化させて差動演算を行う。これにより、層間迷光によって生じる差動プッシュプル方式トラック誤差信号の演算係数(k)の誤差を軽減する。
図1は本発明の実施例による光ディスク記録再生装置の全体構成例を示すブロック図であり、図2及び図3は図1に示す光ディスク記録再生装置の光ピックアップと信号演算回路の構成例を示すブロック図である。
また、図4は図1に示す光ディスク記録再生装置の対物レンズ駆動部と光ディスクを示す断面図、図5は図1に示す光ディスク記録再生装置の光ディスク再生用光学ピックアップの構成を示す断面図、図6は図1に示す光ディスク記録再生装置に設けられる分割受光素子の構成を示す拡大平面図である。
本実施例の光ディスク記録再生装置は、開口数0.85の2群対物レンズと波長405nmの青紫色半導体レーザ光源を用いた光ディスク(Blu-ray Disc)の記録再生装置で用いられる光学系の例を示している。以下、このような光ディスク記録再生装置で用いるトラック制御誤差信号の検出方法を中心に本実施例を説明する。
また、図4は図1に示す光ディスク記録再生装置の対物レンズ駆動部と光ディスクを示す断面図、図5は図1に示す光ディスク記録再生装置の光ディスク再生用光学ピックアップの構成を示す断面図、図6は図1に示す光ディスク記録再生装置に設けられる分割受光素子の構成を示す拡大平面図である。
本実施例の光ディスク記録再生装置は、開口数0.85の2群対物レンズと波長405nmの青紫色半導体レーザ光源を用いた光ディスク(Blu-ray Disc)の記録再生装置で用いられる光学系の例を示している。以下、このような光ディスク記録再生装置で用いるトラック制御誤差信号の検出方法を中心に本実施例を説明する。
まず、図4を用いて本実施例における光ディスク光学系用2群対物レンズを説明する。
図示のように、本実施例の対物レンズ駆動部には、2群対物レンズを構成する第1のレンズ12及び第2のレンズ14と、レンズホルダ13と、2軸電磁アクチュエータ15等からなり、光ディスク11の信号記録面に近接して対向配置されている。
第2のレンズ14は、光軸方向、及び信号トラック(接線)と直交する方向に可動な構造を持つ2軸電磁アクチュエータ15上に搭載されている。第1のレンズ12は、第2のレンズ14と同一の光軸上に位置するように、レンズホルダ13によって支持され、これら2枚のレンズ12、14は一体となって開口数0.85の2群対物レンズとして機能する。半導体レーザ光源(図4には不図示)からのビームは、これら2枚のレンズを通過することによって光ディスク11上に集光される。
なお、対物レンズの開口数が大きくなることで、一般に光ディスク記録再生装置におけるディスク傾き許容度が減少する。従って、レンズ開口数を0.85まで高めた光ディスク記録再生装置においても、DVD(Digital Versatile Disc)とほぼ同等の傾き許容度を得るため、光透過保護層(カバー層)11aの厚さを0.1mm程度に薄くする手法が提案されている。
図示のように、本実施例の対物レンズ駆動部には、2群対物レンズを構成する第1のレンズ12及び第2のレンズ14と、レンズホルダ13と、2軸電磁アクチュエータ15等からなり、光ディスク11の信号記録面に近接して対向配置されている。
第2のレンズ14は、光軸方向、及び信号トラック(接線)と直交する方向に可動な構造を持つ2軸電磁アクチュエータ15上に搭載されている。第1のレンズ12は、第2のレンズ14と同一の光軸上に位置するように、レンズホルダ13によって支持され、これら2枚のレンズ12、14は一体となって開口数0.85の2群対物レンズとして機能する。半導体レーザ光源(図4には不図示)からのビームは、これら2枚のレンズを通過することによって光ディスク11上に集光される。
なお、対物レンズの開口数が大きくなることで、一般に光ディスク記録再生装置におけるディスク傾き許容度が減少する。従って、レンズ開口数を0.85まで高めた光ディスク記録再生装置においても、DVD(Digital Versatile Disc)とほぼ同等の傾き許容度を得るため、光透過保護層(カバー層)11aの厚さを0.1mm程度に薄くする手法が提案されている。
次に、図5を用いて光ディスク再生用光学ピックアップの構成を説明する。
まず、半導体レーザ16からの出射光は、コリメータレンズ17で平行光とされ、トラック制御誤差信号を生成するために用いられる副ビーム(±1次回折光)生成用の回折格子19を通過した後、2 群対物レンズ12、14によって光ディスク11上に集光される。
そして、出射光の一部は偏光ビームスプリッタ20によって反射した後、集光レンズ21により発光出力検出用の光検出器22へと導かれて、レーザ出力を一定値に制御する目的で用いられる。なお、この光検出器22への入射光量は1/2波長板18を回転することによって調整が可能であり、実際のレーザ出力は、図示しない自動出力制御(APC:Automatic Power Control)回路によって任意の発光出力値に制御される。
また、液晶素子23は、同心状の電極パターンを有し、各電極への印加電圧に応じて、カバー層の厚さ誤差により生じる球面収差の補正を行う役割を果たす。また、2群レンズの手前には、半導体レーザ16の直線偏光を円偏光に変換するための1/4波長板24が配置される。
まず、半導体レーザ16からの出射光は、コリメータレンズ17で平行光とされ、トラック制御誤差信号を生成するために用いられる副ビーム(±1次回折光)生成用の回折格子19を通過した後、2 群対物レンズ12、14によって光ディスク11上に集光される。
そして、出射光の一部は偏光ビームスプリッタ20によって反射した後、集光レンズ21により発光出力検出用の光検出器22へと導かれて、レーザ出力を一定値に制御する目的で用いられる。なお、この光検出器22への入射光量は1/2波長板18を回転することによって調整が可能であり、実際のレーザ出力は、図示しない自動出力制御(APC:Automatic Power Control)回路によって任意の発光出力値に制御される。
また、液晶素子23は、同心状の電極パターンを有し、各電極への印加電圧に応じて、カバー層の厚さ誤差により生じる球面収差の補正を行う役割を果たす。また、2群レンズの手前には、半導体レーザ16の直線偏光を円偏光に変換するための1/4波長板24が配置される。
一方、光ディスク11からの反射光は、ビームスプリッタ20で反射した後、検出光路へと導かれる。本例においては、焦点制御誤差信号として非点収差法を用いるとともに、トラック制御誤差信号として位相差法(例えば特開昭58−150145号参照)、及び差動プッシュプル法(例えば特開昭61−94246号参照)を用いており、集光レンズ25、並びにマルチレンズ26を通った収束光は、サーボ誤差信号及びRF信号検出用の光検出器27へと入射し、光電変換が施される。
光検出器27は、図6に示すように、1つの4分割受光素子273と2つの2分割受光素子274、275から構成されている。なお、図中の円S1、S2、S3は、それぞれ主ビーム及び副ビームのスポットを示している。
4分割受光素子273は、矢印αに示すトラック接線方向、及びその直交方向(光ディスク径方向)に4分割配置された4つの分割受光領域A〜Dを有しており、図示のように、主ビームのスポットS1が入射する。そして、各分割受光領域A〜Dは、それぞれ広帯域特性を有し、受光領域Aと受光領域D、受光領域Bと受光領域Cがトラック接線方向に対して対向する位置関係となる。
光検出器27は、図6に示すように、1つの4分割受光素子273と2つの2分割受光素子274、275から構成されている。なお、図中の円S1、S2、S3は、それぞれ主ビーム及び副ビームのスポットを示している。
4分割受光素子273は、矢印αに示すトラック接線方向、及びその直交方向(光ディスク径方向)に4分割配置された4つの分割受光領域A〜Dを有しており、図示のように、主ビームのスポットS1が入射する。そして、各分割受光領域A〜Dは、それぞれ広帯域特性を有し、受光領域Aと受光領域D、受光領域Bと受光領域Cがトラック接線方向に対して対向する位置関係となる。
また、2分割受光素子274、275は、4分割受光素子273を挟んでトラック接線方向の直交方向の両側に配置され、2分割受光素子274はトラック接線方向の直交方向に2分割配置された2つの分割受光領域E、Fを有しており、図示のように、副ビームのスポットS2が入射する。また、2分割受光素子275もトラック接線方向の直交方向に2分割配置された2つの分割受光領域G、Hを有しており、図示のように、主ビームのスポットS3が入射する。
そして、本実施例の光検出器27では、図9に示す従来例と比較して分かるように、副ビームを受光する2分割受光素子274、275の受光面が主ビームを受光する4分割受光素子273の受光面より小さい面積に形成されている。すなわち、図示の例では、4分割受光素子273の受光面は、その外形全体に形成され、図9に示した従来の素子と共通であるが、2分割受光素子274、275の受光面は、外側の4つのコーナ部が斜めに切り取られており、その分、4分割受光素子273の受光面より小さい面積となっている。なお、各分割受光素子273、274、275をこのような形状に形成した作用効果については後に詳述する。
このような光検出器27に対し、回折格子19によって0次光(主ビーム)及び±1次光(副ビーム)の3つのビームに分割された照明光のうち、0次光の反射光は例えばスポットS1で示すように、4分割受光素子273のAからDまでの受光領域によって受光され、また±1次光の反射光は例えばスポットS2、S3で示すように、2分割受光素子274、275のEからHまでの受光領域によって受光されることとなる。
これらの受光領域A〜Hの出力に基づいて焦点制御誤差信号FE、並びに、トラック制御誤差信号としての差動プッシュプル誤差信号DPP(Differential Push-Pull Detection Method)が演算される。
そして、本実施例の光検出器27では、図9に示す従来例と比較して分かるように、副ビームを受光する2分割受光素子274、275の受光面が主ビームを受光する4分割受光素子273の受光面より小さい面積に形成されている。すなわち、図示の例では、4分割受光素子273の受光面は、その外形全体に形成され、図9に示した従来の素子と共通であるが、2分割受光素子274、275の受光面は、外側の4つのコーナ部が斜めに切り取られており、その分、4分割受光素子273の受光面より小さい面積となっている。なお、各分割受光素子273、274、275をこのような形状に形成した作用効果については後に詳述する。
このような光検出器27に対し、回折格子19によって0次光(主ビーム)及び±1次光(副ビーム)の3つのビームに分割された照明光のうち、0次光の反射光は例えばスポットS1で示すように、4分割受光素子273のAからDまでの受光領域によって受光され、また±1次光の反射光は例えばスポットS2、S3で示すように、2分割受光素子274、275のEからHまでの受光領域によって受光されることとなる。
これらの受光領域A〜Hの出力に基づいて焦点制御誤差信号FE、並びに、トラック制御誤差信号としての差動プッシュプル誤差信号DPP(Differential Push-Pull Detection Method)が演算される。
次に、図2及び図3を用いて本実施例における差動プッシュプル検出法を実行する構成を説明する。
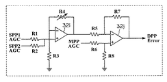
図示のように、本実施例の光ピックアップは、上述した光検出器27の各分割受光領域からの検出信号を増幅するヘッドアンプ31a〜31h、各ヘッドアンプ31a〜31hの出力の差分演算を行うためのオペアンプ32a〜32h、各オペアンプ32a〜32hの演算結果信号のゲインを自動調整するオートゲインコントローラ(AGC:Automatic Gain Control)回路33a〜33c、各AGC回路33a〜33cからのSPP1信号、SPP2信号、及びMPP信号を用いて差動プッシュプル誤差制御信号を演算するオペアンプ32i、32jを有する。
図示のように、本実施例の光ピックアップは、上述した光検出器27の各分割受光領域からの検出信号を増幅するヘッドアンプ31a〜31h、各ヘッドアンプ31a〜31hの出力の差分演算を行うためのオペアンプ32a〜32h、各オペアンプ32a〜32hの演算結果信号のゲインを自動調整するオートゲインコントローラ(AGC:Automatic Gain Control)回路33a〜33c、各AGC回路33a〜33cからのSPP1信号、SPP2信号、及びMPP信号を用いて差動プッシュプル誤差制御信号を演算するオペアンプ32i、32jを有する。
次に、このような演算回路による演算処理について説明する。
図6に示す受光素子により光ディスク11から読み出された再生信号はヘッドアンプ31a〜31hに入力される。各ヘッドアンプ31a〜31hは、光学系からの再生信号(ここでは図6に示した各分割受光領域における受光量)を光電変換し、後段で処理するために必要となる所定のレベルに増幅する。
主ビームに対する受光素子A〜Dのヘッドアンプ31a〜31dの出力に対し、式(1)に示す演算を施すことでプッシュプル信号(MPP)が得られる。
MPP = (A+B)−(C+D) ……(1)
M_SUM = A+B+C+D ……(2)
また、同信号を受光素子A〜Dのヘッドアンプ出力の和(式(2)、M_SUM信号)を用いて規格化することで、主ビームのプッシュプル信号に対してAGCが施される。
MPP_AGC = MPP/M_SUM ……(3)
図6に示す受光素子により光ディスク11から読み出された再生信号はヘッドアンプ31a〜31hに入力される。各ヘッドアンプ31a〜31hは、光学系からの再生信号(ここでは図6に示した各分割受光領域における受光量)を光電変換し、後段で処理するために必要となる所定のレベルに増幅する。
主ビームに対する受光素子A〜Dのヘッドアンプ31a〜31dの出力に対し、式(1)に示す演算を施すことでプッシュプル信号(MPP)が得られる。
MPP = (A+B)−(C+D) ……(1)
M_SUM = A+B+C+D ……(2)
また、同信号を受光素子A〜Dのヘッドアンプ出力の和(式(2)、M_SUM信号)を用いて規格化することで、主ビームのプッシュプル信号に対してAGCが施される。
MPP_AGC = MPP/M_SUM ……(3)
同様に、+1次光、−1次回折光の反射光に対して、式(4)〜式(7)に示す演算を施すことで副ビームのプッシュプル信号(SPP1、SPP2)、並びに和信号が得られ、これらの信号に対しても、式(8)、式(9)による規格化を施すことで、AGC動作が実現される。
SPP1 = E−F ……(4)
SPP2 = G−H ……(5)
S1_SUM = E+F ……(6)
S2_SUM = G+H ……(7)
SPP1_AGC =SPP1/S1_SUM ……(8)
SPP2_AGC = SPP2/S2_SUM ……(9)
最終的には、式(3)、及び式(8)、式(9)の出力信号に対して以下の演算を行い、差動プッシュプル誤差信号(DPP)が演算される。
DPP=MPP_AGC−k ・(SPP1_AGC+SPP2_AGC) ……(10)
なお、式(10)におけるkの値は、例えば図3に示す可変抵抗R4の抵抗値を変化させることで任意の値に設定することが可能である。
図2及び図3に示した回路構成によって得られる差動プッシュプル誤差信号は、光ディスク上に形成された溝(グルーブ)構造、あるいは情報ピット列によって照射スポットが回折反射を受けることで生成される。
SPP1 = E−F ……(4)
SPP2 = G−H ……(5)
S1_SUM = E+F ……(6)
S2_SUM = G+H ……(7)
SPP1_AGC =SPP1/S1_SUM ……(8)
SPP2_AGC = SPP2/S2_SUM ……(9)
最終的には、式(3)、及び式(8)、式(9)の出力信号に対して以下の演算を行い、差動プッシュプル誤差信号(DPP)が演算される。
DPP=MPP_AGC−k ・(SPP1_AGC+SPP2_AGC) ……(10)
なお、式(10)におけるkの値は、例えば図3に示す可変抵抗R4の抵抗値を変化させることで任意の値に設定することが可能である。
図2及び図3に示した回路構成によって得られる差動プッシュプル誤差信号は、光ディスク上に形成された溝(グルーブ)構造、あるいは情報ピット列によって照射スポットが回折反射を受けることで生成される。
また、2層ディスクにおける層間迷光の強度比(η)は、図10に示した2つの情報記録層(L0層とL1層)の反射率が等しい場合、概ね式(11)によって与えられる。
η = S/η/M2・(2d/tanθ)2 ……(11)
式(11)において、Sは受光素子の面積、Mは検出光学系の倍率、dは層間距離、θはディスク媒体内において光軸と集光ビーム最外縁光線との成す角度を表している。なお、開口数0.85の対物レンズと屈折率1.6のカバー層を有する光ディスクの組み合わせでは、θが約32度となり、受光素子を150μm角、光学系の倍率を20倍、層間間隔を25μmと想定すると、η=1.8%と求められる。
従って、主ビーム同士の層間迷光に関する影響は小さいものの、強度比を10:1とした主ビームが副ビームへ与える影響はこの10倍となり、無視できない。また、一方の層のみに信号が記録されている場合には、さらに大きな層間迷光を生じるため、差動プッシュプル信号の演算に大きな影響を及ぼし、トラックへの追従によって生じる対物レンズの視野振りに対して、残留誤差(Detrack)を生じる恐れがある。
η = S/η/M2・(2d/tanθ)2 ……(11)
式(11)において、Sは受光素子の面積、Mは検出光学系の倍率、dは層間距離、θはディスク媒体内において光軸と集光ビーム最外縁光線との成す角度を表している。なお、開口数0.85の対物レンズと屈折率1.6のカバー層を有する光ディスクの組み合わせでは、θが約32度となり、受光素子を150μm角、光学系の倍率を20倍、層間間隔を25μmと想定すると、η=1.8%と求められる。
従って、主ビーム同士の層間迷光に関する影響は小さいものの、強度比を10:1とした主ビームが副ビームへ与える影響はこの10倍となり、無視できない。また、一方の層のみに信号が記録されている場合には、さらに大きな層間迷光を生じるため、差動プッシュプル信号の演算に大きな影響を及ぼし、トラックへの追従によって生じる対物レンズの視野振りに対して、残留誤差(Detrack)を生じる恐れがある。
そこで、この影響を軽減するため、本実施例では、トラック制御誤差信号の検出のみに用いられる副ビーム検出用の2分割受光素子274、275の受光面の大きさを、情報信号を再生する主ビームの4分割受光素子273の受光面よりも小さくする手法が考えられる。
具体的には、図6に示すように、正方形の外形を有する各受光素子に対して、受光ビームの形状は円形スポットに近いため、例えば4つのコーナを斜めに切り落とした形状の受光素子274、275を用いることで、効率よく層間迷光のみを軽減することが可能となる。
一例として、本例により、副ビーム受光素子274、275の受光面積を主ビーム受光素子273に受光面積に対して30%削減した場合、層間迷光による差動プッシュプル信号のバランス誤差を約3dB軽減することが可能となる。
具体的には、図6に示すように、正方形の外形を有する各受光素子に対して、受光ビームの形状は円形スポットに近いため、例えば4つのコーナを斜めに切り落とした形状の受光素子274、275を用いることで、効率よく層間迷光のみを軽減することが可能となる。
一例として、本例により、副ビーム受光素子274、275の受光面積を主ビーム受光素子273に受光面積に対して30%削減した場合、層間迷光による差動プッシュプル信号のバランス誤差を約3dB軽減することが可能となる。
さらに加えて、式(10)における係数(k)を単層ディスク、2層ディスクといった光ディスクの層数に応じて切り替えることで、層間迷光による影響をより軽減することが可能となる。
例えば、光ディスク記録再生装置の制御を行うコントロール部において、装置にセットされた光ディスクの仕様を識別したり、あるいはユーザが設定を行うことにより、使用する光ディスクの層数を認識し、上述した演算式(10)における係数(k)を切り替えるようにする。
例えば、光ディスク記録再生装置の制御を行うコントロール部において、装置にセットされた光ディスクの仕様を識別したり、あるいはユーザが設定を行うことにより、使用する光ディスクの層数を認識し、上述した演算式(10)における係数(k)を切り替えるようにする。
次に、図1を用いて本実施例を適用する光ディスク記録再生装置の全体構成を説明する。なお、図1において、上述した各誤差信号や和信号を検出するための演算回路は、それぞれブロック81、82、83で表している。
そして、式(2)の演算により得られた再生RF信号は、イコライザ・アンプ部(RF EQ)60によって波形等化された後、ブロック81、82、83等で示す信号処理系に供給される。
DSP(Digital Signal Processor)64は、光ディスク記録再生装置全体の動作を制御し、スピンドルモータ71の駆動回路70に対する制御も行うと同時に、光学系の焦点制御、並びにトラック制御に対する主機能も備えている。
また、各演算出力はA/D変換器61、62、63においてディジタル信号に変換され、DSP64において焦点制御、及びトラック制御に関する利得調整と位相補償が施される。DSPの出力はD/A変換器65、66によってアナログ信号に変換された後、増幅部67、68において必要な信号振幅へと増幅され、光学ピックアップ10に搭載された2軸電磁アクチュエータ15を駆動してレンズ位置の制御に用いられる。なお、球面収差補正素子である液晶デバイス23の制御はLC制御部(LC Control)71において行い、その駆動信号は増幅アンプ72を経由して光学ピックアップ10へと伝送される。
そして、式(2)の演算により得られた再生RF信号は、イコライザ・アンプ部(RF EQ)60によって波形等化された後、ブロック81、82、83等で示す信号処理系に供給される。
DSP(Digital Signal Processor)64は、光ディスク記録再生装置全体の動作を制御し、スピンドルモータ71の駆動回路70に対する制御も行うと同時に、光学系の焦点制御、並びにトラック制御に対する主機能も備えている。
また、各演算出力はA/D変換器61、62、63においてディジタル信号に変換され、DSP64において焦点制御、及びトラック制御に関する利得調整と位相補償が施される。DSPの出力はD/A変換器65、66によってアナログ信号に変換された後、増幅部67、68において必要な信号振幅へと増幅され、光学ピックアップ10に搭載された2軸電磁アクチュエータ15を駆動してレンズ位置の制御に用いられる。なお、球面収差補正素子である液晶デバイス23の制御はLC制御部(LC Control)71において行い、その駆動信号は増幅アンプ72を経由して光学ピックアップ10へと伝送される。
以上のような本実施例の方法を採用することにより、多層ディスクに対する信号記録時や信号再生時に、層間迷光によって生じる差動プッシュプル方式のトラック誤差信号の演算係数(k)の誤差を軽減することが可能となり、単層ディスクから多層ディスクに至る様々な光ディスクに対して、差動プッシュプル方式を用いたトラック制御が可能となり、対物レンズの視野振りに対して堅牢なトラック制御が実現できる。
なお、以上の実施例1においては、主ビームを検出する受光素子を4分割受光素子、副ビームを受光する受光素子を2分割受光素子としたが、それ以外の分割数を有する受光素子を用いることも可能である。
また、副ビームの受光素子の受光面積を主ビームの受光素子の受光面積より小さくする方法として、副ビームの受光素子の外縁部を切り取った形成としたが、この代わりに、副ビームの受光素子の形状を保ったまま、一辺の大きさを小さくするようにしてもよく、具体的には、種々の形態が可能であり、特に限定しないものとする。
また、以上の実施例では、本発明をBlu-ray Discの記録再生装置として構成したが、本発明は他の光ディスクの記録再生装置にも適用できるものである。
また、実施例では、高開口数対物レンズの例として2群構成のレンズユニットを用いた場合を説明したが、単レンズによっても同等の開口数を有する光学ヘッドを実現することが可能である。
なお、以上の実施例1においては、主ビームを検出する受光素子を4分割受光素子、副ビームを受光する受光素子を2分割受光素子としたが、それ以外の分割数を有する受光素子を用いることも可能である。
また、副ビームの受光素子の受光面積を主ビームの受光素子の受光面積より小さくする方法として、副ビームの受光素子の外縁部を切り取った形成としたが、この代わりに、副ビームの受光素子の形状を保ったまま、一辺の大きさを小さくするようにしてもよく、具体的には、種々の形態が可能であり、特に限定しないものとする。
また、以上の実施例では、本発明をBlu-ray Discの記録再生装置として構成したが、本発明は他の光ディスクの記録再生装置にも適用できるものである。
また、実施例では、高開口数対物レンズの例として2群構成のレンズユニットを用いた場合を説明したが、単レンズによっても同等の開口数を有する光学ヘッドを実現することが可能である。
本発明の実施例2では、上述した主ビームと副ビームのプッシュプル差動演算を行う際に、演算式(10)で副ビームに乗じる係数(k)を、各受光素子における主ビームと副ビームの受光強度比に応じて変化させるようにしたものである。
すなわち、実施例1においては、演算式(10)の係数(k)を光ディスクの層数に応じて切り替える構成について言及したが、本実施例2では、各受光素子における主ビームと副ビームの受光強度を検出し、その強度比に応じて変化させることにより、層間迷光の影響を軽減するようにしたものである。
なお、差動プッシュプル信号演算時のバランスを調整する手法としては、特開2000−331355号公報や特開2000−331356号公報によって開示されるものが提案されているが、これらは回折格子の分光比率や光学系の調整誤差を回路的な手法で取り除くことに主眼を置いている。
また、特開2002−230805号公報に開示されるものでは、信号記録済み領域と未記録領域との間での係数(k)を調整する手法が提案されている。しかしながら、いずれの手法においても、多層ディスクの信号記録時や信号再生時の層間迷光に対する解決策を与えるものとはならない。
そこで、本実施例2では、多層ディスクへの信号記録時や信号再生時に、層間迷光の影響で差動プッシュプル誤差信号の演算が不正確となるのを軽減する極めて有効な手法を提供する。
すなわち、実施例1においては、演算式(10)の係数(k)を光ディスクの層数に応じて切り替える構成について言及したが、本実施例2では、各受光素子における主ビームと副ビームの受光強度を検出し、その強度比に応じて変化させることにより、層間迷光の影響を軽減するようにしたものである。
なお、差動プッシュプル信号演算時のバランスを調整する手法としては、特開2000−331355号公報や特開2000−331356号公報によって開示されるものが提案されているが、これらは回折格子の分光比率や光学系の調整誤差を回路的な手法で取り除くことに主眼を置いている。
また、特開2002−230805号公報に開示されるものでは、信号記録済み領域と未記録領域との間での係数(k)を調整する手法が提案されている。しかしながら、いずれの手法においても、多層ディスクの信号記録時や信号再生時の層間迷光に対する解決策を与えるものとはならない。
そこで、本実施例2では、多層ディスクへの信号記録時や信号再生時に、層間迷光の影響で差動プッシュプル誤差信号の演算が不正確となるのを軽減する極めて有効な手法を提供する。
図7は本実施例2による光ディスク記録再生装置の光ピックアップと信号演算回路の構成例を示すブロック図である。なお、図2と共通する構成については同一符号を付している。
本実現例2においては、各受光ビーム出力の和信号がオペアンプ32d、32f、32hからDSP64に入力される。DSP64は、例えば光学系の調整時やその後の単層ディスク再生時に設定された単層ディスクでの係数(kSL)を保持するとともに、主ビームと副ビームの受光信号強度比を演算する。
2層ディスクにおいては、主ビームと副ビームの受光信号強度比が単層ディスクにおける値から変化するため、差動プッシュプル信号の演算を行うオペアンプ36の入力のうち、副ビームのプッシュプル信号であるオペアンプ34の出力を可変アンプ(GCA:Gain Control Amplifier)35に通すことで変化させ、上記強度比に相当する比率分だけ増幅する。すなわち、2層ディスクにおいては、式(10)における係数(k)を kSL とは異なる kDL へと調整することで、差動プッシュプル信号の演算が正確に行われるようになる。
なお、本実施例においては、副ビームのプッシュプル信号を加算した後に信号レベルを調整する構成としたが、各副ビーム(SPP1、SPP2)に対して個別に同様の調整を施すことも可能である。また、主ビーム側の信号レベルを調整することでも同様の効果が得られる。加えて、2層を上回る情報記録層を有する光ディスク(例えば4層ディスク)に対しても、同様の手法を用いることで、差動プッシュプル誤差信号検出法の適用が可能となる。
また、上記係数(k)の最適化は、信号再生時のみに行い、信号記録時には、直前の再生状態における係数を保持することが望ましい。これは、信号記録時において、主ビームが照射された媒体領域では、通常、信号の記録過程(記録マーク形成)に伴う反射率変化を伴うため、受光素子によって検出される主ビームと副ビームの強度比に差異が生じるためである。
本実現例2においては、各受光ビーム出力の和信号がオペアンプ32d、32f、32hからDSP64に入力される。DSP64は、例えば光学系の調整時やその後の単層ディスク再生時に設定された単層ディスクでの係数(kSL)を保持するとともに、主ビームと副ビームの受光信号強度比を演算する。
2層ディスクにおいては、主ビームと副ビームの受光信号強度比が単層ディスクにおける値から変化するため、差動プッシュプル信号の演算を行うオペアンプ36の入力のうち、副ビームのプッシュプル信号であるオペアンプ34の出力を可変アンプ(GCA:Gain Control Amplifier)35に通すことで変化させ、上記強度比に相当する比率分だけ増幅する。すなわち、2層ディスクにおいては、式(10)における係数(k)を kSL とは異なる kDL へと調整することで、差動プッシュプル信号の演算が正確に行われるようになる。
なお、本実施例においては、副ビームのプッシュプル信号を加算した後に信号レベルを調整する構成としたが、各副ビーム(SPP1、SPP2)に対して個別に同様の調整を施すことも可能である。また、主ビーム側の信号レベルを調整することでも同様の効果が得られる。加えて、2層を上回る情報記録層を有する光ディスク(例えば4層ディスク)に対しても、同様の手法を用いることで、差動プッシュプル誤差信号検出法の適用が可能となる。
また、上記係数(k)の最適化は、信号再生時のみに行い、信号記録時には、直前の再生状態における係数を保持することが望ましい。これは、信号記録時において、主ビームが照射された媒体領域では、通常、信号の記録過程(記録マーク形成)に伴う反射率変化を伴うため、受光素子によって検出される主ビームと副ビームの強度比に差異が生じるためである。
以上のような本実施例2によれば、差動プッシュプル誤差信号を用いて多層ディスクへのトラック制御を施す際に、その演算係数(k)を補正し、層間迷光によって生じる主ビームと副ビームのAGC後の振幅ずれを軽減することが可能となる。したがって、単層ディスクから2層以上の情報記録層を有する多層ディスクに至る様々な光ディスクに対して、差動プッシュプル方式を用いたトラック制御が可能となり、対物レンズの視野振りに対して堅牢なトラック制御が実現できる。
なお、その他の構成については、実施例1と同等であるので説明は省略する。また、本実施例2においても、主ビームを検出する受光素子を4分割受光素子、副ビームを受光する受光素子を2分割受光素子としたが、それ以外の分割数を有する受光素子を用いることも可能である。
また、本実施例2についても、Blu-ray Discの記録再生装置に限定されず、他の光ディスクの記録再生装置にも適用できるものである。
また、高開口数対物レンズの例として2群構成のレンズユニットを用いた場合を説明したが、単レンズによっても同等の開口数を有する光学ヘッドを実現することが可能である。
さらに、以上の実施例1、2では、光ディスクに対する記録機能と再生機能を兼備した装置について説明したが、本発明は再生専用装置にも適用できるものである。
なお、その他の構成については、実施例1と同等であるので説明は省略する。また、本実施例2においても、主ビームを検出する受光素子を4分割受光素子、副ビームを受光する受光素子を2分割受光素子としたが、それ以外の分割数を有する受光素子を用いることも可能である。
また、本実施例2についても、Blu-ray Discの記録再生装置に限定されず、他の光ディスクの記録再生装置にも適用できるものである。
また、高開口数対物レンズの例として2群構成のレンズユニットを用いた場合を説明したが、単レンズによっても同等の開口数を有する光学ヘッドを実現することが可能である。
さらに、以上の実施例1、2では、光ディスクに対する記録機能と再生機能を兼備した装置について説明したが、本発明は再生専用装置にも適用できるものである。
10……光ピックアップ、11……光ディスク、27……光検出器、31a〜31h……ヘッドアンプ、32a〜32j……オペアンプ、33a〜33c……AGC回路、64……DSP。
Claims (14)
- 光ディスクに対して信号情報の記録再生動作を行う光ピックアップと、
前記光ピックアップで光ディスクに照射される光ビームを主ビームと両側の副ビームに分岐させて光ディスクに供給する光学素子と、
前記光ディスクからの戻り光を検出する光検出器と、
前記光検出器からの検出信号を用いて位相差法及び差動プッシュプル法によるトラック制御誤差信号の検出を行う演算回路とを有し、
前記光検出器は、光ディスクの少なくともトラック接線方向及び光ディスク径方向に分割された受光領域によって前記主ビームの戻り光を検出するM分割受光素子と、前記M分割受光素子の両側に配置され、少なくともトラック接線方向に分割された受光領域によって前記副ビームの戻り光を検出する2つのN分割受光素子とを有し、
前記M分割受光素子及びN分割受光素子を用いて差動プッシュプル法によるトラック制御誤差信号の検出を行うとともに、前記差動プッシュプル法に基づいて主ビームのプッシュプル信号と副ビームのプッシュプル信号との差動演算を行う際に、副ビームに乗じる係数(k)を、前記M分割受光素子及びN分受光素子における主ビームと副ビームの受光強度比に応じて変化させる、
ことを特徴とする光ディスク記録再生装置。 - 前記係数(k)は、単層の情報記録層を有する光ディスクに対する係数(k)の最適値を予め基準値として保持し、前記単層の情報記録層を有する光ディスクにおいては、前記基準値を用いて差動演算を行うとともに、複数層の情報記録層を有する光ディスクにおいては、前記係数(k)を前記基準値から変化させることにより適化して差動演算を行い、層間迷光によって生じる受光強度比変化分の補正を行うことを特徴とする請求項1記載の光ディスク記録再生装置。
- 複数層の情報記録層を有する光ディスクにおける係数(k)の最適化は、信号再生時のみにおこない、信号記録時には、直前の再生状態における係数を保持することを特徴とする請求項1記載の光ディスク記録再生装置。
- 前記M分割受光素子は4分割受光素子であり、前記N分割受光素子は2分割受光素子であることを特徴とする請求項1記載の光ディスク記録再生装置。
- 光ディスクに対して信号情報の記録再生動作を行う光ピックアップと、
前記光ピックアップで光ディスクに照射される光ビームを主ビームと両側の副ビームに分岐させて光ディスクに供給する光学素子と、
前記光ディスクからの戻り光を検出する光検出器と、
前記光検出器からの検出信号を用いて位相差法及び差動プッシュプル法によるトラック制御誤差信号の検出を行う演算回路とを有し、
前記光検出器は、光ディスクの少なくともトラック接線方向及び光ディスク径方向に分割された受光領域によって前記主ビームの戻り光を検出するM分割受光素子と、前記M分割受光素子の両側に配置され、少なくともトラック接線方向に分割された受光領域によって前記副ビームの戻り光を検出する2つのN分割受光素子とを有する光ディスク記録再生装置の信号検出方法であって、
前記M分割受光素子及びN分割受光素子を用いて差動プッシュプル法によるトラック制御誤差信号の検出を行うとともに、前記差動プッシュプル法に基づいて主ビームのプッシュプル信号と副ビームのプッシュプル信号との差動演算を行う際に、副ビームに乗じる係数(k)を、前記M分割受光素子及びN分受光素子における主ビームと副ビームの受光強度比に応じて変化させる、
ことを特徴とする光ディスク記録再生装置の信号検出方法。 - 前記係数(k)は、単層の情報記録層を有する光ディスクに対する係数(k)の最適値を予め基準値として保持し、前記単層の情報記録層を有する光ディスクにおいては、前記基準値を用いて差動演算を行うとともに、複数層の情報記録層を有する光ディスクにおいては、前記係数(k)を前記基準値から変化させることにより適化して差動演算を行い、層間迷光によって生じる受光強度比変化分の補正を行うことを特徴とする請求項5記載の光ディスク記録再生装置の信号検出方法。
- 複数層の情報記録層を有する光ディスクにおける係数(k)の最適化は、信号再生時のみにおこない、信号記録時には、直前の再生状態における係数を保持することを特徴とする請求項5記載の光ディスク記録再生装置の信号検出方法。
- 前記M分割受光素子は4分割受光素子であり、前記N分割受光素子は2分割受光素子であることを特徴とする請求項5記載の光ディスク記録再生装置の信号検出方法。
- 光ディスクに対して信号情報の再生動作を行う光ピックアップと、
前記光ピックアップで光ディスクに照射される光ビームを主ビームと両側の副ビームに分岐させて光ディスクに供給する光学素子と、
前記光ディスクからの戻り光を検出する光検出器と、
前記光検出器からの検出信号を用いて位相差法及び差動プッシュプル法によるトラック制御誤差信号の検出を行う演算回路とを有し、
前記光検出器は、光ディスクの少なくともトラック接線方向及び光ディスク径方向に分割された受光領域によって前記主ビームの戻り光を検出するM分割受光素子と、前記M分割受光素子の両側に配置され、少なくともトラック接線方向に分割された受光領域によって前記副ビームの戻り光を検出する2つのN分割受光素子とを有し、
前記M分割受光素子及びN分割受光素子を用いて差動プッシュプル法によるトラック制御誤差信号の検出を行うとともに、前記差動プッシュプル法に基づいて主ビームのプッシュプル信号と副ビームのプッシュプル信号との差動演算を行う際に、副ビームに乗じる係数(k)を、前記M分割受光素子及びN分受光素子における主ビームと副ビームの受光強度比に応じて変化させる、
ことを特徴とする光ディスク再生装置。 - 前記係数(k)は、単層の情報記録層を有する光ディスクに対する係数(k)の最適値を予め基準値として保持し、前記単層の情報記録層を有する光ディスクにおいては、前記基準値を用いて差動演算を行うとともに、複数層の情報記録層を有する光ディスクにおいては、前記係数(k)を前記基準値から変化させることにより適化して差動演算を行い、層間迷光によって生じる受光強度比変化分の補正を行うことを特徴とする請求項9記載の光ディスク再生装置。
- 前記M分割受光素子は4分割受光素子であり、前記N分割受光素子は2分割受光素子であることを特徴とする請求項9記載の光ディスク再生装置。
- 光ディスクに対して信号情報の再生動作を行う光ピックアップと、
前記光ピックアップで光ディスクに照射される光ビームを主ビームと両側の副ビームに分岐させて光ディスクに供給する光学素子と、
前記光ディスクからの戻り光を検出する光検出器と、
前記光検出器からの検出信号を用いて位相差法及び差動プッシュプル法によるトラック制御誤差信号の検出を行う演算回路とを有し、
前記光検出器は、光ディスクの少なくともトラック接線方向及び光ディスク径方向に分割された受光領域によって前記主ビームの戻り光を検出するM分割受光素子と、前記M分割受光素子の両側に配置され、少なくともトラック接線方向に分割された受光領域によって前記副ビームの戻り光を検出する2つのN分割受光素子とを有する光ディスク再生装置の信号検出方法であって、
前記M分割受光素子及びN分割受光素子を用いて差動プッシュプル法によるトラック制御誤差信号の検出を行うとともに、前記差動プッシュプル法に基づいて主ビームのプッシュプル信号と副ビームのプッシュプル信号との差動演算を行う際に、副ビームに乗じる係数(k)を、前記M分割受光素子及びN分受光素子における主ビームと副ビームの受光強度比に応じて変化させる、
ことを特徴とする光ディスク再生装置の信号検出方法。 - 前記係数(k)は、単層の情報記録層を有する光ディスクに対する係数(k)の最適値を予め基準値として保持し、前記単層の情報記録層を有する光ディスクにおいては、前記基準値を用いて差動演算を行うとともに、複数層の情報記録層を有する光ディスクにおいては、前記係数(k)を前記基準値から変化させることにより適化して差動演算を行い、層間迷光によって生じる受光強度比変化分の補正を行うことを特徴とする請求項12記載の光ディスク再生装置の信号検出方法。
- 前記M分割受光素子は4分割受光素子であり、前記N分割受光素子は2分割受光素子であることを特徴とする請求項12記載の光ディスク再生装置の信号検出方法。
Priority Applications (1)
| Application Number | Priority Date | Filing Date | Title |
|---|---|---|---|
| JP2004111492A JP2005293807A (ja) | 2004-04-05 | 2004-04-05 | 光ディスク記録再生装置及びその信号検出方法 |
Applications Claiming Priority (1)
| Application Number | Priority Date | Filing Date | Title |
|---|---|---|---|
| JP2004111492A JP2005293807A (ja) | 2004-04-05 | 2004-04-05 | 光ディスク記録再生装置及びその信号検出方法 |
Publications (1)
| Publication Number | Publication Date |
|---|---|
| JP2005293807A true JP2005293807A (ja) | 2005-10-20 |
Family
ID=35326547
Family Applications (1)
| Application Number | Title | Priority Date | Filing Date |
|---|---|---|---|
| JP2004111492A Pending JP2005293807A (ja) | 2004-04-05 | 2004-04-05 | 光ディスク記録再生装置及びその信号検出方法 |
Country Status (1)
| Country | Link |
|---|---|
| JP (1) | JP2005293807A (ja) |
Cited By (5)
| Publication number | Priority date | Publication date | Assignee | Title |
|---|---|---|---|---|
| WO2006013879A1 (ja) * | 2004-08-06 | 2006-02-09 | Pioneer Corporation | 光状態認識装置、情報処理装置、および、光状態認識方法 |
| JP2008103043A (ja) * | 2006-10-20 | 2008-05-01 | Victor Co Of Japan Ltd | 光ディスク装置 |
| JP2009266375A (ja) * | 2009-06-22 | 2009-11-12 | Hitachi Media Electoronics Co Ltd | 光ピックアップ、光学的情報記録装置および光学的情報再生装置 |
| JP2010140577A (ja) * | 2008-12-15 | 2010-06-24 | Hitachi Media Electoronics Co Ltd | 光ピックアップ装置およびそれを用いた光ディスク装置 |
| US7894317B2 (en) | 2007-03-28 | 2011-02-22 | Kabushiki Kaisha Toshiba | Optical recording medium recording and reproducing apparatus and tracking control method |
-
2004
- 2004-04-05 JP JP2004111492A patent/JP2005293807A/ja active Pending
Cited By (8)
| Publication number | Priority date | Publication date | Assignee | Title |
|---|---|---|---|---|
| WO2006013879A1 (ja) * | 2004-08-06 | 2006-02-09 | Pioneer Corporation | 光状態認識装置、情報処理装置、および、光状態認識方法 |
| JPWO2006013879A1 (ja) * | 2004-08-06 | 2008-05-01 | パイオニア株式会社 | 光状態認識装置、情報処理装置、および、光状態認識方法 |
| US7680007B2 (en) | 2004-08-06 | 2010-03-16 | Pioneer Corporation | Optical state recognizer, information processor, and optical state recognizing method |
| JP4608496B2 (ja) * | 2004-08-06 | 2011-01-12 | パイオニア株式会社 | 光状態認識装置、情報処理装置、および、光状態認識方法 |
| JP2008103043A (ja) * | 2006-10-20 | 2008-05-01 | Victor Co Of Japan Ltd | 光ディスク装置 |
| US7894317B2 (en) | 2007-03-28 | 2011-02-22 | Kabushiki Kaisha Toshiba | Optical recording medium recording and reproducing apparatus and tracking control method |
| JP2010140577A (ja) * | 2008-12-15 | 2010-06-24 | Hitachi Media Electoronics Co Ltd | 光ピックアップ装置およびそれを用いた光ディスク装置 |
| JP2009266375A (ja) * | 2009-06-22 | 2009-11-12 | Hitachi Media Electoronics Co Ltd | 光ピックアップ、光学的情報記録装置および光学的情報再生装置 |
Similar Documents
| Publication | Publication Date | Title |
|---|---|---|
| CN101667431B (zh) | 光拾取装置及光盘装置 | |
| JP5002445B2 (ja) | 光ピックアップ装置および光ディスク装置 | |
| CN101494064A (zh) | 光拾取器装置及光盘装置 | |
| JP2005032423A (ja) | フォーカスオフセットを低減できる光ピックアップ及びそれを採用した光記録及び/または再生機器 | |
| JP2012053929A (ja) | 光ピックアップ | |
| JP4805292B2 (ja) | 光ピックアップ装置、再生装置、記録装置およびトラッキングエラー信号生成方法 | |
| JP2005293807A (ja) | 光ディスク記録再生装置及びその信号検出方法 | |
| JP3984970B2 (ja) | 光ディスク装置、情報再生方法または記録方法 | |
| JP2005293809A (ja) | 光ディスク記録/または再生装置及びその信号検出方法 | |
| JP2005293637A (ja) | 光ディスク記録再生装置及びその信号検出方法 | |
| JP4729418B2 (ja) | 回折格子、光ピックアップ装置、光ディスク装置 | |
| US20040228235A1 (en) | Servo device and optical disc information recording and reproducing device using the same | |
| JP4724181B2 (ja) | 光ピックアップ装置及び情報記録再生装置 | |
| JP4268971B2 (ja) | 光ピックアップ | |
| JP2006286077A (ja) | 光ディスク装置及び光ディスク再生方法 | |
| JP5386198B2 (ja) | 光ピックアップ装置 | |
| JP2008146690A (ja) | 光ディスク装置 | |
| JP4770915B2 (ja) | 光ピックアップヘッド装置及び光情報装置 | |
| JP2005293636A (ja) | 光ディスク再生装置及びその信号検出方法 | |
| JP2006120211A (ja) | 光ピックアップ、光ディスク装置、光検出装置および光ピックアップの信号生成方法 | |
| JP2008027513A (ja) | 光ディスク装置、トラッキングエラー信号生成回路、トラッキングエラー信号の補正方法、プログラム | |
| JP2011138573A (ja) | 光ピックアップ装置および光ディスク装置 | |
| JP2013037740A (ja) | 光ピックアップ装置 | |
| JP2012094213A (ja) | 光ピックアップおよび光ディスク装置 | |
| JP2011238305A (ja) | 光ピックアップ装置 |