JP2005293450A - メダル受付装置 - Google Patents
メダル受付装置 Download PDFInfo
- Publication number
- JP2005293450A JP2005293450A JP2004110829A JP2004110829A JP2005293450A JP 2005293450 A JP2005293450 A JP 2005293450A JP 2004110829 A JP2004110829 A JP 2004110829A JP 2004110829 A JP2004110829 A JP 2004110829A JP 2005293450 A JP2005293450 A JP 2005293450A
- Authority
- JP
- Japan
- Prior art keywords
- medal
- game
- setting
- value data
- identification information
- Prior art date
- Legal status (The legal status is an assumption and is not a legal conclusion. Google has not performed a legal analysis and makes no representation as to the accuracy of the status listed.)
- Withdrawn
Links
- 238000003780 insertion Methods 0.000 claims description 21
- 230000037431 insertion Effects 0.000 claims description 21
- 238000012790 confirmation Methods 0.000 claims description 18
- 238000001514 detection method Methods 0.000 claims description 16
- 238000013500 data storage Methods 0.000 claims description 11
- 238000000034 method Methods 0.000 description 34
- 230000008569 process Effects 0.000 description 26
- NJPPVKZQTLUDBO-UHFFFAOYSA-N novaluron Chemical compound C1=C(Cl)C(OC(F)(F)C(OC(F)(F)F)F)=CC=C1NC(=O)NC(=O)C1=C(F)C=CC=C1F NJPPVKZQTLUDBO-UHFFFAOYSA-N 0.000 description 14
- 238000000926 separation method Methods 0.000 description 12
- 238000010586 diagram Methods 0.000 description 11
- 230000008859 change Effects 0.000 description 9
- 230000000694 effects Effects 0.000 description 6
- 239000004973 liquid crystal related substance Substances 0.000 description 5
- 238000012545 processing Methods 0.000 description 5
- 230000002093 peripheral effect Effects 0.000 description 4
- 230000004044 response Effects 0.000 description 4
- 230000006870 function Effects 0.000 description 3
- 238000003825 pressing Methods 0.000 description 3
- 239000004065 semiconductor Substances 0.000 description 3
- 239000000956 alloy Substances 0.000 description 2
- 229910045601 alloy Inorganic materials 0.000 description 2
- 230000005540 biological transmission Effects 0.000 description 2
- 230000007423 decrease Effects 0.000 description 2
- 239000000463 material Substances 0.000 description 2
- 239000011347 resin Substances 0.000 description 2
- 229920005989 resin Polymers 0.000 description 2
- 101000729271 Homo sapiens Retinoid isomerohydrolase Proteins 0.000 description 1
- 102100031176 Retinoid isomerohydrolase Human genes 0.000 description 1
- NIXOWILDQLNWCW-UHFFFAOYSA-N acrylic acid group Chemical group C(C=C)(=O)O NIXOWILDQLNWCW-UHFFFAOYSA-N 0.000 description 1
- 238000013461 design Methods 0.000 description 1
- 230000006872 improvement Effects 0.000 description 1
- 238000012423 maintenance Methods 0.000 description 1
- 238000005096 rolling process Methods 0.000 description 1
- 230000009466 transformation Effects 0.000 description 1
- 230000007704 transition Effects 0.000 description 1
Images
Classifications
-
- G—PHYSICS
- G07—CHECKING-DEVICES
- G07F—COIN-FREED OR LIKE APPARATUS
- G07F17/00—Coin-freed apparatus for hiring articles; Coin-freed facilities or services
- G07F17/32—Coin-freed apparatus for hiring articles; Coin-freed facilities or services for games, toys, sports, or amusements
- G07F17/3244—Payment aspects of a gaming system, e.g. payment schemes, setting payout ratio, bonus or consolation prizes
- G07F17/3251—Payment aspects of a gaming system, e.g. payment schemes, setting payout ratio, bonus or consolation prizes involving media of variable value, e.g. programmable cards, programmable tokens
-
- G—PHYSICS
- G07—CHECKING-DEVICES
- G07F—COIN-FREED OR LIKE APPARATUS
- G07F17/00—Coin-freed apparatus for hiring articles; Coin-freed facilities or services
- G07F17/32—Coin-freed apparatus for hiring articles; Coin-freed facilities or services for games, toys, sports, or amusements
Landscapes
- Physics & Mathematics (AREA)
- General Physics & Mathematics (AREA)
- Slot Machines And Peripheral Devices (AREA)
- Pinball Game Machines (AREA)
- Coin-Freed Apparatuses For Hiring Articles (AREA)
- Control Of Vending Devices And Auxiliary Devices For Vending Devices (AREA)
- Iron Core Of Rotating Electric Machines (AREA)
- Eye Examination Apparatus (AREA)
- Management, Administration, Business Operations System, And Electronic Commerce (AREA)
Abstract
【課題】 メダル一枚当たりのメダル価値を設定用のメダルを用いて変更可能とすることにより、遊技店側の任意のタイミングで容易にメダルの価値を変更することが可能なメダル受付装置を提供する。
【解決手段】 設定用ICメダル66をメダル受付装置2に投入し、設定用ICメダル66に内蔵された電子タグ74に記憶された遊技用ICメダル65の価値データ(一枚当たりに追加されるクレジット数)を電子タグリーダ/ライタ105により読み出すとともに(S13)、RAM103に記憶された遊技用ICメダル価値データを読み出した価値データに変更し(S21)、その後に設定用ICメダル66に記憶された価値データを削除する(S23)ように構成する。
【選択図】 図18
【解決手段】 設定用ICメダル66をメダル受付装置2に投入し、設定用ICメダル66に内蔵された電子タグ74に記憶された遊技用ICメダル65の価値データ(一枚当たりに追加されるクレジット数)を電子タグリーダ/ライタ105により読み出すとともに(S13)、RAM103に記憶された遊技用ICメダル価値データを読み出した価値データに変更し(S21)、その後に設定用ICメダル66に記憶された価値データを削除する(S23)ように構成する。
【選択図】 図18
Description
本発明は、スロットマシン、ルーレットゲーム機等の遊技機に設置されるメダル受付装置に関し、特に、遊技メダルの価値を設定メダルを用いて容易に変更可能としたメダル受付装置に関する。
スロットマシン、ルーレットゲーム機、カードゲーム装置等の遊技媒体としてメダルを使用する所謂メダルゲームは、遊技者がメダル貸出機で複数のメダルを購入あるいは借用し、このメダルを遊技機に投入することにより開始することができるゲームであり、遊技者がゲームに勝てば、所定の枚数のメダルが払い出されるものである。従って、多数のメダルを獲得することができた遊技者は、新たにメダルを購入あるいは借用することなく、継続してゲームを楽しむことができる。ここで、そのようなメダルゲームにおいては、メダル貸出機で購入あるいは借用したメダルを遊技機で使用する際のメダル一枚の価値は常に固定となっていた。従って、メダル購入あるいは借用金額当たりに遊技可能な遊技回数、クレジット等は予め遊技店毎によってその値が決められていた。
そこで、特開2000−317128号公報には、払出数記憶テーブルに時間帯ごとの払出数を記憶するようにし、ユーザーによる操作ボタンの押下により、該当する払出数が読み出され、その払出数に応じたメダルを払い出すことが可能なメダル貸し機が記載されている。このようなメダル貸し機によれば、遊技機で使用する際のメダル一枚の価値を変更することはないが、購入金額あたりのメダル払出数を曜日や時間帯に基づいて変更することができるので、メダル購入金額当たりに遊技可能な遊技回数、クレジット等を変化させ、更なる集客効果を期待することが可能となっている。
特開2000−317128号公報(第4頁〜第6頁、図4〜図5)
そこで、特開2000−317128号公報には、払出数記憶テーブルに時間帯ごとの払出数を記憶するようにし、ユーザーによる操作ボタンの押下により、該当する払出数が読み出され、その払出数に応じたメダルを払い出すことが可能なメダル貸し機が記載されている。このようなメダル貸し機によれば、遊技機で使用する際のメダル一枚の価値を変更することはないが、購入金額あたりのメダル払出数を曜日や時間帯に基づいて変更することができるので、メダル購入金額当たりに遊技可能な遊技回数、クレジット等を変化させ、更なる集客効果を期待することが可能となっている。
しかしながら、前記した特許文献1に記載されたメダル貸し機においては、購入金額に対するメダル払出数が記憶された払出数記憶テーブルに従って、常に同じ時間帯、同じ曜日にメダルの払出数を変更させていた。従って、遊技店側が任意のタイミングでメダルの払出数を変化させることはできず、また、払出数記憶テーブル自体を変更する際にも煩雑な操作が必要となり、その変更に使用する装置又はシステムを備えることは遊技店側のコストアップを招く虞もあった。
更に、前記した特許文献1に記載された発明においては所定金額で購入あるいは借用可能なメダル枚数を変更するものであり、メダル一枚当たりの価値を変更させるものではない。従って、払出数が多いときに大量のメダルを購入あるいは借用した際には、購入あるいは借用したメダルの運搬、置き場所の確保が困難となり、遊技者の遊技意欲を減退させる虞があった。また、遊技を行う日時でなく、メダルを購入あるいは借用した日時に基づいてメダル購入あるいは借用金額当たりの遊技可能な遊技回数、クレジット等が変化するので、メダル払出数の多いときにメダルの購入あるいは借用のみ行う遊技者も予想され、集客効果も半減することとなっていた。
更に、前記した特許文献1に記載された発明においては所定金額で購入あるいは借用可能なメダル枚数を変更するものであり、メダル一枚当たりの価値を変更させるものではない。従って、払出数が多いときに大量のメダルを購入あるいは借用した際には、購入あるいは借用したメダルの運搬、置き場所の確保が困難となり、遊技者の遊技意欲を減退させる虞があった。また、遊技を行う日時でなく、メダルを購入あるいは借用した日時に基づいてメダル購入あるいは借用金額当たりの遊技可能な遊技回数、クレジット等が変化するので、メダル払出数の多いときにメダルの購入あるいは借用のみ行う遊技者も予想され、集客効果も半減することとなっていた。
本発明は、前記従来の問題点を解消するためになされたものであり、大掛りな装置、システム等を必要することなく、価値データが記憶された設定メダルを投入することのみによって遊技におけるメダル一枚の価値を変更し、且つ、設定後においては設定メダルの価値データを消去することが可能であるので、遊技者の遊技意欲を増加させ確実な集客効果が期待できるとともに、遊技店側の任意のタイミングで容易にメダル購入あるいは借用金額当たりの遊技可能な遊技回数、クレジット等を変更することが可能なメダル受付装置を提供することを目的とする。
前記目的を達成するため請求項1に係るメダル受付装置は、メダル投入口(例えば、メダル投入口49)から投入された遊技メダル(例えば、遊技用ICメダル65)を検出する遊技メダル検出手段(例えば、メダル検出部104)と、前記遊技メダルに対する価値を示す第1価値データを記憶するデータ記憶手段(例えば、RAM103)とを備えたメダル受付装置(例えば、メダル受付装置2)において、前記遊技メダルに対する価値を示す第1価値データとは異なる第2価値データが記憶された第1記憶媒体を有する設定メダル(例えば、設定用ICメダル66)と、前記メダル投入口より投入された前記設定メダルを検出する設定メダル検出手段(例えば、メダル検出部104)と、前記メダル投入口より投入された前記設定メダルの第2価値データを検出するデータ検出手段(例えば、電子タグリーダ/ライタ105)と、前記データ検出手段により検出された第2価値データに基づいて前記データ記憶手段に記憶された第1価値データを第2価値データに変更するデータ変更手段(例えば、受付装置用CPU101)と、前記第1記憶媒体に記憶された第2価値データを消去するデータ消去手段(例えば、電子タグリーダ/ライタ105)とを有することを特徴とする。
また、請求項2に係るメダル受付装置は、請求項1に記載のメダル受付装置(例えば、メダル受付装置2)において、前記第1記憶媒体(例えば、電子タグ74)にはメダル識別情報(例えば、店舗ID、パスワード)が記憶されるとともに、前記遊技メダル(例えば、遊技用ICメダル65)はメダル識別情報が記憶された第2記憶媒体(例えば、電子タグ67)を備え、前記メダル識別情報を確認する為の確認識別情報(例えば、確認用店舗ID、パスワード)が記憶された確認識別情報記憶手段(例えば、ROM102)と、前記メダル投入口(例えば、メダル投入口49)より投入された前記設定メダルのメダル識別情報又は前記遊技メダルのメダル識別情報を検出する識別情報検出手段(例えば、電子タグリーダ/ライタ105)と、前記識別情報検出手段により検出された前記メダル識別情報を前記確認識別情報と比較する比較手段(例えば、受付装置用CPU101)と、前記比較手段による比較結果に基づいて、前記メダル識別情報の真偽を判別する判別手段(例えば、受付装置用CPU101)とを有することを特徴とする。
また、請求項3に係るメダル受付装置は、請求項2に記載のメダル受付装置(例えば、メダル受付装置2)において、前記第1記憶媒体(例えば、電子タグ74)には、前記メダル識別情報(例えば、店舗ID、パスワード)に加えて前記第2価値データ(例えば、クレジット数)が記憶されていることを特徴とする。
また、請求項4に係るメダル受付装置は、請求項1乃至請求項3のいずれかに記載のメダル受付装置(例えば、メダル受付装置2)において、前記第1価値データ又は第2価値データを表示する表示手段(例えば、メダル価値表示部50)を備えたことを特徴とする。
また、請求項5に係るメダル受付装置は、請求項2乃至請求項4のいずれかに記載のメダル受付装置(例えば、メダル受付装置2)において、前記判別手段(例えば、受付装置用CPU101)によって前記遊技メダル又は設定メダルが偽であると判別された場合に、判別された遊技メダル又は設定メダルを保留するメダル保留手段(例えば、メダル保留部54)を有することを特徴とする。
また、請求項6に係るメダル受付装置は、請求項4又は請求項5に記載のメダル受付装置(例えば、メダル受付装置2)において、前記表示手段(例えば、メダル価値表示部50)は、前記判別手段(例えば、受付装置用CPU101)によって前記遊技メダル又は設定メダルが偽であると判別された際に、警告表示を行うことを特徴とする。
請求項1に係るメダル受付装置では、設定メダルに記憶された遊技メダルの価値を示す第2価値データに基づいて、データ記憶手段に記憶された第1価値データを第2価値データに変更するので、大掛りな装置、システム等を必要することなく、メダルを投入することのみによって遊技に使用する遊技メダル一枚の価値を変更することが可能となる。従って、遊技者側にとっては、多量のメダルを持ち歩く必要もなく、且つ遊技メダルの価値が変動することによって遊技性が多様化するので、遊技意欲が増す。一方、遊技店側は、コストをかけることなく遊技店側の任意のタイミングで容易に遊技メダルの価値を変更することができる。
また、第1記録媒体に記録した第2価値データを消去する消去手段を有するので、使用後の設定メダルを第2価値データを有しない通常の遊技メダルとして扱うことが可能である。従って、メダル貸出機に投入された遊技メダルと設定メダルとを分別する必要がなく、遊技店側の労力を軽減させることができる。
また、第1記録媒体に記録した第2価値データを消去する消去手段を有するので、使用後の設定メダルを第2価値データを有しない通常の遊技メダルとして扱うことが可能である。従って、メダル貸出機に投入された遊技メダルと設定メダルとを分別する必要がなく、遊技店側の労力を軽減させることができる。
また、請求項2に係るメダル受付装置では、設定メダルと遊技メダルとにメダル識別情報が記憶されるとともに、メダル識別情報の真偽を判別する判別手段を有するので、偽造されたメダル、及び他店で購入あるいは借用されたメダル等を確実に判別して排除することが可能である。
また、請求項3に係るメダル受付装置では、第1記憶媒体にはメダル識別情報に加えて第2価値データが記憶されているので、遊技店側は遊技メダルに第2価値データを追加して記録させることによって容易に設定メダルを作成することが可能である。
また、請求項4に係るメダル受付装置では、第1価値データ又は価値データを表示する表示手段を有するので、現在設定されている遊技メダルの価値を遊技者及び遊技店側が容易に知ることが可能である。
また、請求項5に係るメダル受付装置では、投入された遊技メダル、又は設定メダルが偽のメダルと判別された場合に、投入されたメダルを保留するので、偽のメダルを使用した遊技者に対して、それ以後はメダルを受け付けないようにすることが可能である。従って、不正を行った遊技者に対してそれ以上継続して遊技をさせることがない。
更に、請求項6に係るメダル受付装置では、遊技メダル又は設定メダルが偽であると判別された際に、警告の表示を行うので、偽のメダルを使用した遊技者に対して警告を行うとともに、遊技店側に当該事実を知らせることができる。従って、不正を行った遊技者に対してそれ以上継続して遊技をさせることがない。
以下、本発明に係るメダル受付装置について具体化した実施形態に基づき図面を参照しつつ詳細に説明する。ここで、本発明に係るメダル受付装置は、メダルを遊技媒体として使用するスロットマシン、ルーレットゲーム機、カードゲーム装置等の種々のメダルゲーム機に併せて設置され、使用される。従って、本実施形態においてはルーレットゲーム機1に設置されたメダル受付装置2を例にして以下に説明する。尚、ルーレットゲーム機1とは、遊技者がルーレットで決定される数字等を予想し、予想した数字等に所持するメダル等の遊技媒体をベットする(賭ける)。そして、ベットした数字等が当たったとき、遊技者は所定枚数のメダルの払い出しを受けることができる遊技機である。
先ず、本実施形態に係るルーレットゲーム機1の概略構成について図1に基づき説明する。図1は本実施形態に係るルーレットゲーム機の概略構成を示す外観斜視図である。
図1に示すように、ルーレットゲーム機1は、本体部分となる筐体3と、筐体3の上面の略中央部に設けられたルーレット盤4と、ルーレット盤4の周囲にルーレット盤4を取り囲むようにして設置された複数個(本実施形態では10個)のサテライト5とから基本的に構成されている。
ここでサテライト5とは、少なくとも、遊技に使用するメダルを投入するメダル受付装置2と、遊技者により所定の指示が入力される複数のコントロールボタン等からなるコントロール部6と、ゲームに係る画像を表示させる画像表示装置7とを有する遊技領域である。そして、遊技者が画像表示装置7に表示される画像を見ながら、コントロール部6等を操作することにより、展開されるゲームを進行させることができる。
また、各サテライト5が設置された筐体3の側面には、メダル払出口8がそれぞれ設けられている。更に、各サテライト5の画像表示装置7の右上には音楽、効果音等を流すスピーカ9が設けられている。
図1に示すように、ルーレットゲーム機1は、本体部分となる筐体3と、筐体3の上面の略中央部に設けられたルーレット盤4と、ルーレット盤4の周囲にルーレット盤4を取り囲むようにして設置された複数個(本実施形態では10個)のサテライト5とから基本的に構成されている。
ここでサテライト5とは、少なくとも、遊技に使用するメダルを投入するメダル受付装置2と、遊技者により所定の指示が入力される複数のコントロールボタン等からなるコントロール部6と、ゲームに係る画像を表示させる画像表示装置7とを有する遊技領域である。そして、遊技者が画像表示装置7に表示される画像を見ながら、コントロール部6等を操作することにより、展開されるゲームを進行させることができる。
また、各サテライト5が設置された筐体3の側面には、メダル払出口8がそれぞれ設けられている。更に、各サテライト5の画像表示装置7の右上には音楽、効果音等を流すスピーカ9が設けられている。
次に、本実施形態に係るルーレット盤4の構成について図2を用いて説明する。図2は本実施形態に係るルーレット盤の平面図である。
図2に示すように、ルーレット盤4は筐体3に固定される枠体11と、枠体11の内側に回転可能に収納支持された回転円盤12とから基本的に構成されている。そして、回転円盤12上面には凹状のボール収容溝13が多数(本実施形態では38個)形成されている。更に、各ボール収容溝13の外方向における回転円盤12の上面には、各ボール収容溝13と対応するように図形文字としての「0」、「00」、「1」〜「36」の各数字が表示された番号表示板14が形成されている。
そして、前記枠体11内部にはボール投入口15が形成されている。ボール投入口15には図示しないボール投入装置が連結され、ボール投入装置の駆動に伴い、ボール投入孔15から回転円盤12上にボール16が投入されるようになっている。また、ルーレット盤4の上方全体は、半球状の透明アクリル製のカバー部材17により覆われている。
図2に示すように、ルーレット盤4は筐体3に固定される枠体11と、枠体11の内側に回転可能に収納支持された回転円盤12とから基本的に構成されている。そして、回転円盤12上面には凹状のボール収容溝13が多数(本実施形態では38個)形成されている。更に、各ボール収容溝13の外方向における回転円盤12の上面には、各ボール収容溝13と対応するように図形文字としての「0」、「00」、「1」〜「36」の各数字が表示された番号表示板14が形成されている。
そして、前記枠体11内部にはボール投入口15が形成されている。ボール投入口15には図示しないボール投入装置が連結され、ボール投入装置の駆動に伴い、ボール投入孔15から回転円盤12上にボール16が投入されるようになっている。また、ルーレット盤4の上方全体は、半球状の透明アクリル製のカバー部材17により覆われている。
ここで、枠体11は、緩やかに内側に向け傾斜されており、その中間部にはガイド壁18が形成されている。ガイド壁18は、投入されたボール16を遠心力に抗してガイドしてボール16を転動させるものである。そして、ボール16は回転速度が弱まり遠心力を失っていくと、枠体11の斜面を転がり落ちて内側へと向かい、回転する回転円盤12に至る。
そして、回転円盤12に転がって来たボール16は、更に回転する回転円盤12の外側の番号表示板14上を通っていずれかのボール収納溝13に納まり、ボール16が納まったボール収納溝13に対応する番号表示板14に記載された番号が当たり番号となる。
そして、回転円盤12に転がって来たボール16は、更に回転する回転円盤12の外側の番号表示板14上を通っていずれかのボール収納溝13に納まり、ボール16が納まったボール収納溝13に対応する番号表示板14に記載された番号が当たり番号となる。
また、ルーレット盤4の下方には当たり判定装置(図示せず)が設置されている。当たり判定装置はボール16がどの数字のボール収容溝13に収容されたかを判定するための装置である。さらに、回転円盤12の下方には図示しないボール回収装置が設置されている。このボール回収装置はゲーム終了後に回転円盤12上のボール16を回収する装置である。尚、前記ボール投入装置、当たり判定装置、ボール回収装置については既に公知であることから、ここでの詳細な説明は省略する。
次に、本実施形態に係るコントロール部6及び画像表示装置7の構成について説明する。
コントロール部6は、図1に示すように画像表示装置7の側部に設けられ、遊技者により操作される各ボタンが配置されている。具体的には、サテライト5に対向する位置から見て左側からBET確定ボタン22、払い戻し(CASHOUT)ボタン23、ヘルプ(HELP)ボタン24が配置されている。
コントロール部6は、図1に示すように画像表示装置7の側部に設けられ、遊技者により操作される各ボタンが配置されている。具体的には、サテライト5に対向する位置から見て左側からBET確定ボタン22、払い戻し(CASHOUT)ボタン23、ヘルプ(HELP)ボタン24が配置されている。
BET確定ボタン22は、後述する画像表示装置7によるベット操作の後にベットを確定する際に押下されるボタンである。そして、ベットが確定され、且つ、遊技中に前記ルーレット盤4においてボール16が納まったボール収納溝13に対応する番号表示板14に記載された番号にベットしていた場合に当選となる。当選した場合には、ベットしたチップの枚数に応じたクレジットが、遊技者の現在所有するクレジットに加算される。尚、ベット操作については後に詳細に説明する。
払い戻しボタン23は、通常、ゲーム終了時に押下されるボタンであり、払い戻しボタン23が押下されると、ゲーム等によって獲得した現在遊技者が所有するクレジットに応じたメダル(通常は1クレジットに対してメダル1枚)がメダル払出口8から払い戻される。
ヘルプボタン24は、ゲームの操作方法等が不明な場合に押下されるボタンであり、ヘルプボタン24が押下されると、その直後に画像表示装置7上に各種の操作情報を示したヘルプ画面が表示される。
一方、画像表示装置7はタッチパネル28が前面に取り付けられた所謂タッチパネル方式の液晶ディスプレイであり、液晶画面上に表示されたアイコンを指等で押圧することによりその選択が可能となっている。図3は遊技中に画像表示装置に表示される表示画面の一例を示した図である。
図3に示すように、ルーレットゲーム機1の遊技中において画像表示装置7には、テーブル式ベッティングボード30を有するBET画面31が表示される。そして、遊技者はBET画面31を操作することによって、手持ちのクレジットを使用してチップをベットすることができる。
以下に、図3に基づいてBET画面31について説明する。BET画面31に表示されるテーブル式ベッティングボード30には、前記番号表示板14に表示された数字「0」、「00」、「1」〜「36」と同じ数字がマス目状に配列表示されている。また、「奇数の数字」、「偶数の数字」、「番号表示板の色の種類(赤又は黒)」、「一定の数字範囲(例えば「1」〜「12」等)」を指定してチップをベットする為の特殊なBETエリアも同様にマス目状に配列されている。
そして、テーブル式ベッティングボード30の下方には画面左から順に、結果履歴表示部35、単位BETボタン36、払い戻し結果表示部37、クレジット数表示部38が表示されている。
結果履歴表示部35は、前回までのゲーム(ここで、1ゲームは、各サテライト5において遊技者がベットを行い、ボール16がボール収納溝13に落下し、当選番号に基づいてクレジットの払い出しが行われるまでの一連の動作をいう。)における当選番号の結果が一覧に表示される。その際、1ゲームが終了すると、新たな当選番号が上から追加して表示されていき、最大16ゲームの当選番号の履歴を確認することが可能となっている。
また、単位BETボタン36は、遊技者が指定したBETエリア(番号及びのマークのマス目上、若しくはマス目を形成するライン上)にベットする為のボタンである。単位BETボタンは1BETボタン36A、5BETボタン36B、10BETボタン36C、100BETボタン36Dの四種類からなる。
遊技者は、先ず、ベットするBETエリアを指等で画面を直接押すことにより、後述のカーソル40でBETエリアを指定する。その状態で、1BETボタン36Aを押下すると、遊技者はチップを1枚毎(1BETボタン36Aを指等で押す毎に「1」→「2」→「3」→・・・の順にベット枚数が増加)にベットする。一方、10BETボタン36Cを押下すると、チップを10枚単位(10BETボタン36Cを指等で押す毎に「10」→「20」→「30」→・・・の順にベット枚数が増加)でベットすることが可能である。尚、5BETボタン36B、100BETボタン36Dの操作も同様である。従って、多量のチップをベットする際にも、その操作を簡略化することができる。
遊技者は、先ず、ベットするBETエリアを指等で画面を直接押すことにより、後述のカーソル40でBETエリアを指定する。その状態で、1BETボタン36Aを押下すると、遊技者はチップを1枚毎(1BETボタン36Aを指等で押す毎に「1」→「2」→「3」→・・・の順にベット枚数が増加)にベットする。一方、10BETボタン36Cを押下すると、チップを10枚単位(10BETボタン36Cを指等で押す毎に「10」→「20」→「30」→・・・の順にベット枚数が増加)でベットすることが可能である。尚、5BETボタン36B、100BETボタン36Dの操作も同様である。従って、多量のチップをベットする際にも、その操作を簡略化することができる。
また、払い戻し結果表示部37は、前回のゲームにおける遊技者のチップのベット枚数、及び払い戻しのクレジット数が表示される。ここで、払い戻しクレジット数よりベット枚数を引いた数が、前回のゲームにより遊技者が新たに獲得したクレジット数である。
更に、クレジット数表示部38は、現在の遊技者が所有するクレジット数が表示される。このクレジット数は、チップをベットした際にはそのベット枚数(チップ一枚につき1クレジット)に応じて減少する。また、ベットした番号が当選し、クレジットの払い戻しがなされた場合には、払い戻し枚数分のクレジット数が増加する。尚、遊技者が所有するクレジット数が0となった場合には、遊技終了となる。
そして、テーブル式ベッティングボード30の上部には、BETタイマーグラフ39が設けられている。BETタイマーグラフ39は遊技者がベットすることが可能な残り時間を表示するグラフであり、ゲーム開始時より赤いグラフが徐々に右側に延び始める。そして、最も右側まで延びたときに現在のゲームにおけるベット可能な時間が終了する。また、BETタイマーグラフ39が特定位置(例えば2/3の位置)まで達した場合に、前記ルーレット盤4のボール投入装置よりボール16がルーレット盤4内に投入される。
また、テーブル式ベッティングボード30上には、現在遊技者が選択しているBETエリアを示すカーソル40が表示される、また、現時点までにおいてベットしたチップの枚数とBETエリアを示すチップマーク41が表示され、チップマーク41上に表示された数字が、チップのベット枚数を示す。例えば、図3に示すように「18」のマスに置かれた「7」のチップマーク41は、番号「18」に7枚のチップをベットしていることを示している。このように1つ番号のみにベットする方法は「ストレート・アップ」と呼ばれるベット方法である。
また、「5」、「6」、「8」、「9」のマス目の交点に置かれた「1」のチップマーク41は、番号「5」、「6」、「8」、「9」の4つの番号をカバーして1枚のチップをベットしていることを示している。尚、このように4つ番号をカバーしてベットする方法は「コーナー・ベット」と呼ばれるベット方法である。
また、「5」、「6」、「8」、「9」のマス目の交点に置かれた「1」のチップマーク41は、番号「5」、「6」、「8」、「9」の4つの番号をカバーして1枚のチップをベットしていることを示している。尚、このように4つ番号をカバーしてベットする方法は「コーナー・ベット」と呼ばれるベット方法である。
他にベット方法としては、2つの番号の間のライン上に2つの番号をカバーしてベットする「スプリット・ベット」、番号の横一列(図3中、縦方向の一列)の端に3つの番号(例えば、「13」、「14」、「15」)をカバーしてベットする「ストリート・ベット」、番号「00」と「3」の間のライン上に「0」、「00」、「1」、「2」、「3」の5つの番号をカバーしてベットする「ファイブ・ベット」、番号の横二列(図3中、縦方向の二列)の番号の間に6つの番号(例えば、「13」、「14」、「15」、「16」、「17」、「18」)をカバーしてベットする「ライン・ベット」、「2to1」と書かれたマス目上で12個の番号をカバーしてベットする「コラム・ベット」、「1st12」、「2nd12」、「3rd12」と書かれたマス目上でそれぞれ12個の番号をカバーしてベットする「ダズン・ベット」がある。更に、テーブル式ベッティングボード30の最下段に設けられた6つのマス目を用いて、番号表示板の色(「赤」又は「黒」)、番号の奇数偶数、番号が18以下か19以上かによって18個の番号をカバーしてベットする方法がある。
前記のように構成されたBET画面31で遊技者がベットする際には、先ず、ベットを行うBETエリア(番号及びのマークのマス目上、若しくはマス目を形成するライン上)を画面上で指定して直接指により押圧する。その結果、カーソル40が指定したBETエリアに移動する。
その後、単位BETボタン36の各単位ボタン(1BETボタン36A、5BETボタン36B、10BETボタン36C、100BETボタン36D)を押下することにより、その単位数分のチップが指定されたBETエリアにベットされる。例えば、10BETボタン36Cを4回、5BETボタン36Bを1回、1BETボタン36Aを3回押下すれば、合計48枚のチップをベットすることができる。
その後、単位BETボタン36の各単位ボタン(1BETボタン36A、5BETボタン36B、10BETボタン36C、100BETボタン36D)を押下することにより、その単位数分のチップが指定されたBETエリアにベットされる。例えば、10BETボタン36Cを4回、5BETボタン36Bを1回、1BETボタン36Aを3回押下すれば、合計48枚のチップをベットすることができる。
次に、本実施形態に係るメダル受付装置2の構成について図4及び図5を用いて説明する。図4は本実施形態に係るメダル受付装置を示した斜視図、図5は図4の線A−Aでメダル受付装置を切断した矢視断面図である。
図4に示すように、メダル受付装置2は略直方体形状を有し、電子タグが内蔵されたICメダルが投入され、受け付けを行う装置である。尚、ICメダルは遊技者が遊技を行うにあたり使用する遊技用ICメダル65と、遊技用ICメダル65の価値(メダル一枚当たりの追加クレジット数)を変更する設定用ICメダル66とがある。遊技用ICメダル65と設定用ICメダル66とは同一のICメダルを使用しており、電子タグに記憶された情報が異なっている。遊技用ICメダル65及び設定用ICメダル66の詳細については後に説明する。
図4に示すように、メダル受付装置2は略直方体形状を有し、電子タグが内蔵されたICメダルが投入され、受け付けを行う装置である。尚、ICメダルは遊技者が遊技を行うにあたり使用する遊技用ICメダル65と、遊技用ICメダル65の価値(メダル一枚当たりの追加クレジット数)を変更する設定用ICメダル66とがある。遊技用ICメダル65と設定用ICメダル66とは同一のICメダルを使用しており、電子タグに記憶された情報が異なっている。遊技用ICメダル65及び設定用ICメダル66の詳細については後に説明する。
メダル受付装置2は、各キースイッチ、メダル受付装置2の各種制御を行う受付装置制御部100、及びメダルが通過する為の経路等が設けられた胴体部44と、胴体部44を支持する側壁45、46、47と、胴体部44の下方に設けられた台座部48とから基本的に構成されている。
先ず、メダル受付装置2の胴体部44について説明する。胴体部44には、メダルが投入されるメダル投入口49と、現在の遊技用ICメダル65の価値(メダル一枚当たりの追加クレジット数)を表示したメダル価値表示部50と、エラー解除スイッチ51と、分離スイッチ52と、メダルが返却されるメダル返却口53とが設けられている。
ここで、メダル投入口49は、サテライト5で遊技する遊技者が遊技に使用するクレジット数を増加させる際に、遊技用ICメダル65を投入する投入口である。遊技者が遊技用ICメダル65を1枚投入する毎に、その際メダル価値表示部50に表示されているクレジット数だけ手持ちのクレジット数が増加する。尚、遊技者が現在有するクレジット数は、前記BET画面31のクレジット数表示部38に表示される。
メダル価値表示部50は、7セグメントLEDから成り、現在の遊技用ICメダル1枚当たりの価値をクレジット数により表示する。即ち、数字の「50」が表示されている場合には、遊技用ICメダル65をメダル投入口49より投入すると、一枚毎に50クレジットが手持ちのクレジット数に追加されることとなる。同様に、数字の「100」が表示されている場合には、遊技用ICメダル65をメダル投入口49より投入すると、一枚毎に100クレジットが手持ちのクレジット数に追加されることとなる。そして、これらの遊技用ICメダル65の1枚の価値は後述の設定用ICメダル66によって変更することが可能となっている。尚、メダル価値表示部50は、7セグメントLEDに限られることなく、例えば、液晶表示装置であっても良い。また、価値の変更手順については後に詳細に説明する。
また、エラー解除スイッチ51は、専用のキー(図示せず)を差し込んで操作するキースイッチである。本実施形態に係るメダル受付装置2は、後述するように他店のICメダルや偽造したICメダルが投入された際にはそれを検出し、その後のメダルの投入を受け付けない状態(エラー状態)となる。その際に、エラー解除スイッチ51を操作する(キーを差し込んで左へ回す)ことにより、そのエラー状態を解除し、再度メダルを受付可能な状態へと復帰させることができる。
分離スイッチ52は、同様に専用のキー(図示せず)を差し込んで操作するキースイッチである。分離スイッチ52を操作する(キーを差し込んで右へ回す)ことにより胴体部44を固定する固定装置(図示せず)のロック状態が解除されて、胴体部44を側壁45、46、47及び台座部48から分離させることができる。メダル受付装置2は、後述するように他店のICメダルや偽造したICメダルが投入され、エラー状態となった際には、該当するメダルを胴体部内部に設けられたメダル保留部54(図5参照)へと保留し、その後のメダルの投入を受け付けない状態(エラー状態)となる。その際に、胴体部44を分離することにより、メダル保留部54に保留されたメダルを取り出すことができる。また、内部のメンテナンス等も可能となる。
メダル返却口53は、メダル投入口49に投入されたメダルが形式の異なるメダルである場合に投入されたメダルを遊技者に対して返却する。形式の異なるメダルとしては、例えば、サイズ(直径)や重さが異なる100円硬貨、電子タグが含まれていない通常のメダル等がある。
次に、台座部48について説明する。台座部48の内部には投入されたメダルが収容されるメダル収容部55が設置されている。また、台座部48は側壁45、46、47に対して前方(図5、左方向)へスライドさせて移動することが可能であり、それによりメダル収容部55内のメダルの回収を行うことができる。また、台座部48の前面には収容部開閉スイッチ56が設けられている。
収容部開閉スイッチ56は、専用のキー(図示せず)を差し込んで操作するキースイッチである。そして、所定のキーを挿入して所定方向に回すと、台座部48の施錠装置(図示せず)のロック状態が解除されて、メダル受付装置2に対して台座部48をスライドさせて前方へ引き出すことができる。
次に、図5を用いてメダル受付装置2の内部構造について説明する。図5に示すように、メダル受付装置2の胴体部44にはメダル投入口49より投入されたメダルが通過するメダル通路57が形成されている。そして、メダル通路57の略中間地点には、図示しないメダル検出部、電子タグリーダ/ライタ、及びメダル保留装置がそれぞれ設けられたメダル保留部54が設けられている。
メダル通路57は、第1案内通路58、第2案内通路59、第3案内通路60とから構成されている。第1案内通路58は、メダル投入口49から投入されたメダルをメダル保留部54へと案内する通路である。また、第2案内通路59は、第1案内通路58より案内されたメダルがサイズや重さ等の形式の異なるメダル(例えば、100円硬貨、電子タグが含まれていない通常のメダル)である場合に、メダル返却口53へと案内する通路である。第3案内通路60は、メダル保留部54を通過したメダルをメダル収容部55へと案内する通路である。
また、第1案内通路58と第2案内通路59との境界にはメダル返却装置61が設けられている。メダル返却装置61は、メダルが第1案内通路58から第3案内通路60へと通過する際に、サイズや重さの異なるメダルのみを自動的に第2案内通路59へと導く装置である。
一方、メダル保留部54は、メダル検出部、電子タグリーダ/ライタ、及びメダル保留装置を備え、第1案内通路58から導かれた遊技用ICメダル65及び設定用ICメダル66をメダル検出部で検出するとともに、電子タグリーダ/ライタによって遊技用ICメダル65及び設定用ICメダル66の電子タグ67、74(図8、図11参照)内に記録されたデータの読み出しと書き込みを行う。
ここで、電子タグ67、74には後述するように識別情報として店舗IDとパスワード(図9、図12参照)が記憶されており、電子タグリーダ/ライタによって店舗ID、パスワードを読み出して、正規のメダルであるかの判断を行うことが可能である。
ここで、電子タグ67、74には後述するように識別情報として店舗IDとパスワード(図9、図12参照)が記憶されており、電子タグリーダ/ライタによって店舗ID、パスワードを読み出して、正規のメダルであるかの判断を行うことが可能である。
そして、正規のメダルでないと受付装置制御部100によって判断された場合(例えば、他店で購入されたICメダル、偽造されたICメダル等)には、メダル保留装置により投入されたメダルをメダル保留部54に保留させる。それと同時に、メダル価値表示部50にエラー状態を示す「E」の文字を表示し、更に、メダル返却装置を制御して、その後にメダルが投入された場合には全てメダル返却口53へと導くように構成されている。図6は上記エラー状態のメダル価値表示部50を示した模式図である。
このようなエラー状態に移行することによって、正規外のメダルを使用した遊技者に対して、それ以後はメダルを受け付けないようにすることが可能である。更に、遊技者に対して警告を行うとともに、遊技店側に当該事実を知らせることができる。従って、不正を行った遊技者に対してそれ以上継続して遊技を行わせることがない。
尚、メダル保留部54に保留されたメダルは前記分離スイッチ52により胴体部44を分離させることによって、取り除くことが可能である。また、投入されたメダルが全てメダル返却口53へと導かれるエラー状態は前記エラー解除スイッチ51によって解除することができる。また、それら分離スイッチ52、エラー解除スイッチ51の操作は遊技店側のみが行うことができる。
一方、正規のメダルであると受付装置制御部100によって判断された場合で、且つ投入されたメダルが遊技用ICメダル65である場合には、そのままメダル収容部55へと案内する。それに対して、投入されたメダルが設定用ICメダル66である場合には、設定用ICメダル66に記憶されたデータの一部(クレジット数記憶エリア74C)を電子タグリーダ/ライタで消去した後、メダル収容部55へと案内する。尚、電子タグリーダ/ライタでデータの一部が消去された設定用ICメダル66は遊技用ICメダル65と、外観、記録された内容ともに同一となり、遊技用ICメダル65として使用することが可能である。
従って、遊技店側はメダル収容部55に収容されたメダルを分別することなく、設定用ICメダル66であったICメダルにおいても遊技用ICメダル65として再度使用することが可能である。それにより、遊技店側のメダルを分別する労力を軽減することができる。
従って、遊技店側はメダル収容部55に収容されたメダルを分別することなく、設定用ICメダル66であったICメダルにおいても遊技用ICメダル65として再度使用することが可能である。それにより、遊技店側のメダルを分別する労力を軽減することができる。
次に、本実施形態に係るICメダルの構成について図7乃至図12を用いて説明する。ここで、本実施形態に係るICメダルは、記録されている内容より遊技用ICメダル65と設定用ICメダル66との2種類に基本的に分類される。ただし、遊技用ICメダル65と設定用ICメダル66とは記録されている内容が異なるのみで、構造的には同じ構造を有する。
遊技用ICメダル65は、遊技者が遊技を開始するにあたり、別途遊技店内に設置された専用のICメダル貸出機(図示せず)より所定金額(例えば500円)で購入あるいは借用するメダルである。そして、遊技用ICメダル65をメダル投入口49に投入することにより、手持ちのクレジット数が増加し遊技を開始することが可能となる。
一方、設定用ICメダル66は遊技店側のみが所有するメダルであり、遊技用ICメダル65に対して別途設けられたデータ書込装置(図示せず)を用いて特殊なデータを追記したものである。そして、設定用ICメダル66をメダル投入口49に投入することにより、現在設定されている遊技用ICメダルの価値(一枚当たり追加されるクレジット数)を変更することができる。
一方、設定用ICメダル66は遊技店側のみが所有するメダルであり、遊技用ICメダル65に対して別途設けられたデータ書込装置(図示せず)を用いて特殊なデータを追記したものである。そして、設定用ICメダル66をメダル投入口49に投入することにより、現在設定されている遊技用ICメダルの価値(一枚当たり追加されるクレジット数)を変更することができる。
先ず、遊技用ICメダル65について以下に説明する。図7は本実施形態に係る遊技用ICメダルの外観を示す平面図である。図8は図7の線B−Bで遊技用ICメダルを切断した矢視断面図である。
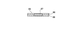
図7及び図8に示すように、遊技用ICメダル65は薄板円形状に成形されており、表面には使用される遊技店毎にデザインした模様が施されている。一方、その内部構造では、内部に非接触式の電子タグ67が内蔵されている。そして、樹脂若しくは合金により成形された2枚の基材68、69を、電子タグ67を被覆するようにして重ね合わせて互いに固定することにより形成される。
図7及び図8に示すように、遊技用ICメダル65は薄板円形状に成形されており、表面には使用される遊技店毎にデザインした模様が施されている。一方、その内部構造では、内部に非接触式の電子タグ67が内蔵されている。そして、樹脂若しくは合金により成形された2枚の基材68、69を、電子タグ67を被覆するようにして重ね合わせて互いに固定することにより形成される。
ここで、電子タグ67は、各種情報が記録されたICチップと、ICチップに電気的に接続されたアンテナコイルとから基本的に構成されている。電子タグ67は非接触式の電子タグであり、メダル受付装置2の内部に設けられた電子タグリーダ/ライタ105(図14参照)との間において情報の送受信が可能となっている。具体的には、電子タグリーダ/ライタ105に設けられたコイル(図示せず)から磁力線が発せられており、メダル投入口49から投入された遊技用ICメダル65内部の電子タグ67のアンテナコイルがその磁力線を通過すると、アンテナコイルに誘導起電力が発生する。そして、この発生した起電力がICチップに電力として供給され、電子タグ67が電子タグリーダ/ライタ105との間でICチップ内のデータの送信が可能となる。
また、電子タグ67は、図9に示すように店舗IDが記憶された店舗ID記憶エリア67Aと、パスワードが記憶されたパスワード記憶エリア67Bを有する。店舗IDは遊技用ICメダル65を発行した遊技店毎に定められたIDであり、パスワードは遊技用ICメダル65の真偽を確認する為に別途付加された文字列である。従って、投入された遊技用ICメダル65の店舗IDとパスワードを電子タグリーダ/ライタ105で読み取るとともに、ROM102に記憶された正規の店舗ID及びパスワードと照合することにより、正規の遊技用ICメダル65であるか否かを確実に判別することが可能である。
次に、設定用ICメダル66について説明する。図10は本実施形態に係る設定用ICメダルの外観を示す平面図である。図11は図10の線C−Cで設定用ICメダルを切断した矢視断面図である。
図10示すように、設定用ICメダル66は記録されたデータの種類より全部で四種類のメダルに分けられる。設定用ICメダル66は前記したようにメダル投入口49に投入されることにより現在の遊技用ICメダルの価値(一枚当たり追加されるクレジット数)を変更することができるものであるが、四種類のメダルは、設定される価値がそれぞれ異なるように構成されている。
図10示すように、設定用ICメダル66は記録されたデータの種類より全部で四種類のメダルに分けられる。設定用ICメダル66は前記したようにメダル投入口49に投入されることにより現在の遊技用ICメダルの価値(一枚当たり追加されるクレジット数)を変更することができるものであるが、四種類のメダルは、設定される価値がそれぞれ異なるように構成されている。
具体的には、遊技用ICメダルを一枚投入する毎に30クレジットが手持ちのクレジット数として追加されるように設定する30クレジット設定用ICメダル70、遊技用ICメダルを一枚投入する毎に50クレジットが手持ちのクレジット数として追加されるように設定する50クレジット設定用ICメダル71、遊技用ICメダルを一枚投入する毎に70クレジットが手持ちのクレジット数として追加されるように設定する70クレジット設定用ICメダル72、遊技用ICメダルを一枚投入する毎に100クレジットが手持ちのクレジット数として追加されるように設定する100クレジット設定用ICメダル73の四種類である。
そして、各メダルの表面には遊技用ICメダル65と同一の模様がそれぞれ施されている。
そして、各メダルの表面には遊技用ICメダル65と同一の模様がそれぞれ施されている。
また、図10及び図11に示すように、30クレジット設定用ICメダル70、50クレジット設定用ICメダル71、70クレジット設定用ICメダル72、100クレジット設定用ICメダル73は、それぞれ薄板円形状に成形されており、一方、その内部構造においては、内部に非接触式の電子タグ74が内蔵されている。そして、樹脂若しくは合金により成形された2枚の基材75、76を、電子タグ74を被覆するようにして重ね合わせて互いに固定することにより形成される。尚、図11では30クレジット設定用ICメダル70の断面図のみを示しているが、50クレジット設定用ICメダル71、70クレジット設定用ICメダル72、100クレジット設定用ICメダル73についてもその断面形状は同一である。従って、30クレジット設定用ICメダル70を例にとって説明することとし、50クレジット設定用ICメダル71、70クレジット設定用ICメダル72、100クレジット設定用ICメダル73についてはその説明を省略する。
電子タグ74は、各種情報が記録されたICチップと、ICチップに電気的に接続されたアンテナコイルとから基本的に構成されている。電子タグ74は非接触式の電子タグであり、メダル受付装置2の内部に設けられた電子タグリーダ/ライタ105(図14参照)との間において情報の送受信が可能となっている。具体的には、電子タグリーダ/ライタ105に設けられたコイル(図示せず)から磁力線が発せられており、メダル投入口49から投入された設定用ICメダル66内部の電子タグ74のアンテナコイルがその磁力線を通過すると、アンテナコイルに誘導起電力が発生する。そして、この発生した起電力がICチップに電力として供給され、電子タグ74が電子タグリーダ/ライタ105との間でICチップ内のデータの送受信が可能となる。
また、電子タグ74は、図12に示すように店舗IDが記憶された店舗ID記憶エリア74Aと、パスワードが記憶されたパスワード記憶エリア74Bと、遊技用ICメダルの価値として設定されるクレジット数が記憶されたクレジット数記憶エリア74Cとを有する。店舗IDは設定用ICメダル66を発行した遊技店毎に定められたIDであり、パスワードは設定用ICメダル66の真偽を確認する為に別途付加された文字列である。従って、投入された設定用ICメダル66の店舗IDとパスワードを電子タグリーダ/ライタ105で読み取るとともに、ROM102に記憶された確認用の店舗ID及びパスワードと照合することにより、正規の遊技用ICメダル65であるか否かを確実に判別することが可能である。尚、店舗ID記憶エリア74Aに記憶された店舗IDと、パスワード記憶エリア74Bに記憶されたパスワードは、前記した遊技用ICメダル65の店舗ID記憶エリア67Aに記憶された店舗IDと、パスワード記憶エリア67Bに記憶されたパスワードと同一のものである。
また、クレジット数記憶エリア74Cに記憶されたクレジット数は、遊技用ICメダル65の一枚当たりの価値を設定する際のクレジット数である。即ち、30クレジット設定用ICメダル70には「30」が記憶されている。50クレジット設定用ICメダル71には「50」が記憶されている。70クレジット設定用ICメダル72には「70」が記憶されている。100クレジット設定用ICメダル73には「100」が記憶されている。そして、投入された設定用ICメダル66のクレジット数を電子タグリーダ/ライタ105で読み取るとともに、読み取ったクレジット数をRAM103の遊技用ICメダル価値データ記憶エリア103A(図16参照)に記憶する。続いて、メダル受付装置2は、変更されたクレジット数にメダル価値表示部50の表示を変更するとともに、変更されたクレジット数に基づいて遊技用ICメダル65の受け付けを行う。
また、クレジット数記憶エリア74Cは遊技店側において別途設けられたデータ書込装置(図示せず)によって書き込まれる。即ち、遊技店側は、任意の遊技用ICメダル65を選択し、データ書込装置(図示せず)によってクレジット数記憶エリア74Cを書き込むことによって、設定用ICメダル66を作成する。
そして、メダル受付装置2に投入された設定用ICメダル66はRAM103のメダル価値を変更した後に、電子タグリーダ/ライタ105によってクレジット数記憶エリア74Cの内容が消去される。ここで、クレジット数記憶エリア74Cの内容が消去された設定用ICメダル66は遊技用ICメダル65と同一の外観、記録内容を有するので、遊技用ICメダル65としてメダル収容部55に保管される。
そして、メダル受付装置2に投入された設定用ICメダル66はRAM103のメダル価値を変更した後に、電子タグリーダ/ライタ105によってクレジット数記憶エリア74Cの内容が消去される。ここで、クレジット数記憶エリア74Cの内容が消去された設定用ICメダル66は遊技用ICメダル65と同一の外観、記録内容を有するので、遊技用ICメダル65としてメダル収容部55に保管される。
次に、ルーレットゲーム機1の制御系に係る構成について図13に基づき説明する。図13はルーレットゲーム機の制御系を模式的に示すブロック図である。
図13に示すように、ルーレットゲーム機1は、メイン制御用CPU80、ROM81、及びRAM82を含むメイン制御部83と、メイン制御部83に接続されたルーレット盤4、及び10台のサテライト5(図1参照)とから構成されている。尚、サテライト5の制御系に関しては後に詳細に説明する。
図13に示すように、ルーレットゲーム機1は、メイン制御用CPU80、ROM81、及びRAM82を含むメイン制御部83と、メイン制御部83に接続されたルーレット盤4、及び10台のサテライト5(図1参照)とから構成されている。尚、サテライト5の制御系に関しては後に詳細に説明する。
メイン制御用CPU80は、各サテライト5から供給される入力信号等、並びに、ROM81、及びRAM82に記憶されたデータやプログラムに基づいて、各種の処理を行い、その結果に基づいてサテライト5に命令信号を送信することにより、各サテライト5を主導的に制御し、遊技を進行させる。更に、ルーレット盤4に設けられた当たり判定装置84、ボール投入装置85、ボール回収装置86を制御し、ルーレット盤4へのボール16の投入、及びルーレット盤4からの回収、並びにボール16が落下したボール収納溝13の当選番号の判定を行う。
ROM81は、例えば、半導体メモリ等により構成され、ルーレットゲーム機1の基本的な機能を実現させるためのプログラムや、ルーレット盤4内の各装置を制御するプログラム、各サテライト5を主導的に制御するためのプログラム等を記憶する。
一方、RAM82は、各サテライト5から供給されるチップのベット情報、当たり判定装置84により判定された当選番号データ、及びメイン制御用CPU80により実行された処理の結果に関するデータ等を一時的に記憶する。
また、メイン制御用CPU80には、ルーレット盤4に設けられた当たり判定装置84、ボール投入装置85、ボール回収装置86が接続されている。そして、各サテライト5において遊技者のベット時間がある時間まで経過した場合、即ち、前記BET画面31のBETタイマーグラフ39が特定位置(例えば2/3の位置)まで達した場合にボール投入装置85を駆動させ、ボール16をルーレット盤4内に投入する。
更に、ボール16の回転速度が徐々に弱まり遠心力を失って枠体11の斜面を転がり落ち、ボール収納溝13に納まると、ボール16が納まったボール収納溝13に対応する番号表示板14に記載された番号を駆動した当たり判定装置84が判定し、その判定結果をメイン制御用CPU80に対して送信する。その後、ボール回収装置86を駆動させ、ボール16をルーレット盤4上から回収する。
更に、ボール16の回転速度が徐々に弱まり遠心力を失って枠体11の斜面を転がり落ち、ボール収納溝13に納まると、ボール16が納まったボール収納溝13に対応する番号表示板14に記載された番号を駆動した当たり判定装置84が判定し、その判定結果をメイン制御用CPU80に対して送信する。その後、ボール回収装置86を駆動させ、ボール16をルーレット盤4上から回収する。
次に、メイン制御部83のメイン制御用CPU80に接続されたサテライト5の制御系に係る構成について図14に基づき説明する。図14は本実施形態に係るサテライトの制御系を模式的に示すブロック図である。尚、10台設けられたサテライト5は基本的に同じ構成を有しており、以下には1台のサテライト5を例にして説明する。
サテライト5は、図14に示すように、画面表示装置7等が設けられた本体部89と、本体部89に取り付けられたメダル受付装置2とから基本的に構成されている。更に本体部89は、サテライト制御部90、及びいくつかの周辺装置機器により構成されている。サテライト制御部90は、サテライト制御用CPU91と、ROM92と、RAM93とからなっている。ROM92は、例えば、半導体メモリ等により構成され、サテライト5の基本的な機能を実現させるためのプログラム、その他サテライト5の制御上必要な各種のプログラム、データテーブル等が格納されている。また、RAM93は、サテライト制御用CPU91で演算された各種データ、遊技者の現在所有するクレジット数、遊技者によるチップのベット状況等を一時的に記憶しておくメモリである。
また、サテライト制御用CPU91には、コントロール部6(図1参照)に設けられたBET確定ボタン22、払い戻しボタン23、ヘルプボタン24がそれぞれ接続されている。そして、サテライト制御用CPU91は各ボタンの押下等により出力される操作信号に基づき、対応する各種の動作を実行すべく制御を行う。具体的には、遊技者の操作が入力されたことを受けてコントロール部6から供給される入力信号、並びに、ROM92、RAM93に記憶されたデータやプログラムに基づいて、各種の処理を実行し、その結果を上述したメイン制御部90のメイン制御用CPU80に送信する。
一方、サテライト制御用CPU91は、メイン制御用CPU80からの命令信号を受信し、サテライト5を構成する周辺機器を制御し、サテライト5においてルーレットゲームを進行させる。また、サテライト制御用CPU91は、処理の内容によっては、遊技者の操作が入力されたことを受けてコントロール部6から供給される入力信号、及び、ROM92とRAM93とに記憶されたデータやプログラムに基づいて、各種の処理を実行し、その結果に基づいて、サテライト5を構成する周辺機器を制御し、サテライト5においてルーレットゲームを進行させる。なお、どちらの方法で処理を行うかについては、その処理の内容に応じて、処理ごとに設定される。例えば、当選番号に対するメダルの払い出し処理は前者であり、遊技者によるBET画面31のベット操作処理は後者の処理に該当する。
一方、サテライト制御用CPU91は、メイン制御用CPU80からの命令信号を受信し、サテライト5を構成する周辺機器を制御し、サテライト5においてルーレットゲームを進行させる。また、サテライト制御用CPU91は、処理の内容によっては、遊技者の操作が入力されたことを受けてコントロール部6から供給される入力信号、及び、ROM92とRAM93とに記憶されたデータやプログラムに基づいて、各種の処理を実行し、その結果に基づいて、サテライト5を構成する周辺機器を制御し、サテライト5においてルーレットゲームを進行させる。なお、どちらの方法で処理を行うかについては、その処理の内容に応じて、処理ごとに設定される。例えば、当選番号に対するメダルの払い出し処理は前者であり、遊技者によるBET画面31のベット操作処理は後者の処理に該当する。
また、サテライト制御用CPU91には、ホッパー94が接続されている。サテライト制御用CPU91からの命令信号により、ホッパー94は、所定枚数のメダルをメダル払出口8(図1参照)から払い出す。
更に、サテライト制御用CPU91には、液晶駆動回路95を介して画像表示装置7が接続されている。この点、液晶駆動回路95は、プログラムROM、画像ROM、画像制御CPU、ワークRAM、VDP(ビデオ・ディスプレイ・プロセッサ)及びビデオRAMなどで構成されている。そして、プログラムROMには、画像表示装置7での表示に関する画像制御用プログラムや各種選択テーブルが格納されている。また、画像ROMには、例えば、画像表示装置7で表示される画像を形成するためのドットデータが格納されている。また、画像制御CPUは、サテライト制御用CPU91で設定されたパラメータに基づき、プログラムROM内に予め記憶された画像制御プログラムに従い、画像ROM内に予め記憶されたドットデータの中から画像表示装置7に表示する画像の決定を行うものである。また、ワークRAMは、前記画像制御プログラムを画像制御CPUで実行するときの一時記憶手段として構成される。また、VDPは、画像制御CPUで決定された表示内容に応じた画像を形成し、画像表示装置7に出力するものである。尚、ビデオRAMは、VDPで画像を形成するときの一時記憶手段として構成される。
更に、サテライト制御用CPU91には、液晶駆動回路95を介して画像表示装置7が接続されている。この点、液晶駆動回路95は、プログラムROM、画像ROM、画像制御CPU、ワークRAM、VDP(ビデオ・ディスプレイ・プロセッサ)及びビデオRAMなどで構成されている。そして、プログラムROMには、画像表示装置7での表示に関する画像制御用プログラムや各種選択テーブルが格納されている。また、画像ROMには、例えば、画像表示装置7で表示される画像を形成するためのドットデータが格納されている。また、画像制御CPUは、サテライト制御用CPU91で設定されたパラメータに基づき、プログラムROM内に予め記憶された画像制御プログラムに従い、画像ROM内に予め記憶されたドットデータの中から画像表示装置7に表示する画像の決定を行うものである。また、ワークRAMは、前記画像制御プログラムを画像制御CPUで実行するときの一時記憶手段として構成される。また、VDPは、画像制御CPUで決定された表示内容に応じた画像を形成し、画像表示装置7に出力するものである。尚、ビデオRAMは、VDPで画像を形成するときの一時記憶手段として構成される。
また、画像表示装置7の前面には、前記したようにタッチパネル28が取り付けられており、タッチパネル28の操作情報はサテライト制御用CPU91に対して送信される。タッチパネル28では、前記BET画面31において遊技者のチップのベット操作が行われる。具体的には、BETエリアの選択、単位ベットボタン36の操作等においてタッチパネル28の操作が行われ、その情報がサテライト制御用CPU91に送信される。そして、その情報に基づいて画面の切り換え等の各種処理を行う。
更に、音出力回路96及びスピーカ9がサテライト制御用CPU91に接続されており、スピーカ9は、音出力回路96からの出力信号に基づき各種演出を行う際に各種の効果音を発生するものである。
また、サテライト制御用CPU91にはデータ受信部97が接続されており、メダル受付装置2から送信されたクレジット信号を受信する。クレジット信号は、後述するように遊技用ICメダル65がメダル受付装置2に投入された際に、メダル受付装置2で取得される現在の遊技用ICメダル65の価値(一枚当たりの追加クレジット数)データに基づいた追加のクレジット数に関する情報である。サテライト制御用CPU91は、送信されたクレジット信号に基づいてRAM93に記憶された遊技者のクレジット数を増加させる。
また、サテライト制御用CPU91にはデータ受信部97が接続されており、メダル受付装置2から送信されたクレジット信号を受信する。クレジット信号は、後述するように遊技用ICメダル65がメダル受付装置2に投入された際に、メダル受付装置2で取得される現在の遊技用ICメダル65の価値(一枚当たりの追加クレジット数)データに基づいた追加のクレジット数に関する情報である。サテライト制御用CPU91は、送信されたクレジット信号に基づいてRAM93に記憶された遊技者のクレジット数を増加させる。
次に、本体部89に取り付けられたメダル受付装置2について説明する。メダル受付装置2は、受付装置制御部100、及びいくつかの周辺装置機器により構成されている。更に、受付装置制御部100は、受付装置用CPU101と、ROM102と、RAM103とからなっている。受付装置用CPU101は、ROM102、及びRAM103に記憶されたデータやプログラムに基づいて、各種の処理を行い、その結果に基づいてサテライト5に後述のクレジット信号を送信する。
ROM102は、例えば、半導体メモリ等により構成され、メダル受付装置2の基本的な機能を実現させるためのプログラム、遊技用ICメダル65及び設定用ICメダル66の確認用店舗IDとパスワード、その他メダル受付装置の制御上必要な各種のプログラム、データテーブル等が格納されている。また、RAM103は、受付装置用CPU101で演算された各種データ、遊技用ICメダルの価値(遊技用ICメダル一枚当たりに追加されるクレジット数)データ等を一時的に記憶しておくメモリである。
ROM102は、例えば、半導体メモリ等により構成され、メダル受付装置2の基本的な機能を実現させるためのプログラム、遊技用ICメダル65及び設定用ICメダル66の確認用店舗IDとパスワード、その他メダル受付装置の制御上必要な各種のプログラム、データテーブル等が格納されている。また、RAM103は、受付装置用CPU101で演算された各種データ、遊技用ICメダルの価値(遊技用ICメダル一枚当たりに追加されるクレジット数)データ等を一時的に記憶しておくメモリである。
また、受付装置用CPU101には、メダル検出部104が接続されている。メダル検出部104はメダル投入口49(図4参照)から投入されたメダルを検出し、受付装置用CPU101はメダル検出部104から出力されるメダル検出信号に基づき投入されたメダルを演算する。
更に、受付装置用CPU101には、電子タグリーダ/ライタ105が接続されている。電子タグリーダ/ライタ105は投入された遊技用ICメダル65に内蔵された電子タグ67の店舗ID記憶エリア67Aと、パスワード記憶エリア67B(図9参照)より、記録された店舗IDとパスワードを読み取る。また、設定用ICメダル66に内蔵された電子タグ74の店舗ID記憶エリア74Aと、パスワード記憶エリア74Bと、クレジット数記憶エリア74C(図12参照)より、記録された店舗IDとパスワードと遊技用ICメダル65の一枚当たりの価値を設定したクレジット数を読み取る。
そして、読み取った各情報を受付装置用CPU101に送信し、受付装置用CPU101は、ROM102の確認用ID・パスワード記憶エリア102Aに記憶された確認用の店舗ID及びパスワードと比較し、正規の遊技用ICメダル65又は設定用ICメダル65であるか否かを判別する。更に、RAM103の遊技用ICメダル価値データ記憶エリア103A(図16参照)に記憶された現在の遊技用ICメダルの価値データを変更する。
そして、読み取った各情報を受付装置用CPU101に送信し、受付装置用CPU101は、ROM102の確認用ID・パスワード記憶エリア102Aに記憶された確認用の店舗ID及びパスワードと比較し、正規の遊技用ICメダル65又は設定用ICメダル65であるか否かを判別する。更に、RAM103の遊技用ICメダル価値データ記憶エリア103A(図16参照)に記憶された現在の遊技用ICメダルの価値データを変更する。
更に、設定用ICメダル66に関しては、遊技用ICメダルの価値データを変更した後にクレジット数記憶エリア74Cのデータ内容を電子タグリーダ/ライタ105によって消去する。
また、受付装置用CPU101にはメダル価値表示部50が接続されている。メダル価値表示部50は、前記RAM103の遊技用ICメダル価値データ記憶エリア103Aに記憶された現在の遊技用ICメダルの価値データに基づいて、遊技用ICメダル65の一枚当たりに追加されるクレジット数を表示するものである。
また、受付装置用CPU101には、エラー解除スイッチ51、分離スイッチ52、収容部開閉スイッチ56、固定装置106、施錠装置107、メダル返却装置108、メダル保留装置109がそれぞれ接続されている。そして、受付装置用CPU101は各スイッチの操作等により出力される操作信号に基づき、対応する各種の動作を実行すべく制御を行う。
具体的には、エラー解除スイッチ51が操作されると、メダル受付装置2のエラー状態が解除される。エラー状態とは前記したように他店メダル等の正規のメダル以外のICメダルが投入された場合に発生し、メダル保留装置109を制御することによってメダルをメダル保留部54に保留する。また、メダル価値表示部50にエラー状態を示す「E」の文字を表示する(図6参照)とともに、メダル返却装置108を制御し、その後に投入された全てのメダルをメダル返却口53へと返却する。
また、分離スイッチ52が操作されると、胴体部44を固定する固定装置106のロック状態のロック及び解除が可能である。ロック状態を解除すると、胴体部44を側壁45、46、47及び台座部48から分離させることができる(図4参照)。
また、収容部開閉スイッチ56が操作されると、台座部48を固定する施錠装置107のロック状態のロック及び解除が可能である。ロック状態を解除すると、メダル受付装置2に対して台座部48をスライドさせて引き出すことができる(図4参照)。
具体的には、エラー解除スイッチ51が操作されると、メダル受付装置2のエラー状態が解除される。エラー状態とは前記したように他店メダル等の正規のメダル以外のICメダルが投入された場合に発生し、メダル保留装置109を制御することによってメダルをメダル保留部54に保留する。また、メダル価値表示部50にエラー状態を示す「E」の文字を表示する(図6参照)とともに、メダル返却装置108を制御し、その後に投入された全てのメダルをメダル返却口53へと返却する。
また、分離スイッチ52が操作されると、胴体部44を固定する固定装置106のロック状態のロック及び解除が可能である。ロック状態を解除すると、胴体部44を側壁45、46、47及び台座部48から分離させることができる(図4参照)。
また、収容部開閉スイッチ56が操作されると、台座部48を固定する施錠装置107のロック状態のロック及び解除が可能である。ロック状態を解除すると、メダル受付装置2に対して台座部48をスライドさせて引き出すことができる(図4参照)。
更に、受付装置用CPU101にはデータ送信部110が接続されており、本体部89に対してクレジット信号を送信する。クレジット信号は、前記したように遊技用ICメダル65がメダル受付装置2に投入された際に、受付装置用CPU101がRAM103に記憶された現在の遊技用ICメダル65の価値データに基づいて取得した追加クレジットに関する情報である。そして、サテライト制御用CPU91は、送信されたクレジット信号に基づいてRAM93に記憶された遊技者のクレジット数を増加させる。
また、図15に示すように、ROM102には、投入されたメダルが正規のICメダルであるかを確認する為の確認用IDとパスワードが記憶された確認用ID・パスワード記憶エリア102Aが設けられている。
また、図16に示すように、RAM103には、現時点での遊技用ICメダル65の価値(1枚あたりの追加クレジット数)を示す価値データが記憶された遊技用ICメダル価値データ記憶エリア103Aが設けられている。
また、図16に示すように、RAM103には、現時点での遊技用ICメダル65の価値(1枚あたりの追加クレジット数)を示す価値データが記憶された遊技用ICメダル価値データ記憶エリア103Aが設けられている。
続いて、メダル受付装置2で行われるメイン処理プログラムについて図17に基づき説明する。図17はメダル受付装置のメイン処理プログラムのフローチャートである。これら図17にフローチャートで示される各プログラムはメダル受付装置2が備えているROM102やRAM103に記憶されており、受付装置用CPU101により実行される。
先ず、ステップ(以下、Sと略記する)1において、エラー解除スイッチ51が操作されたか否かが判断される。エラー解除スイッチ51は受付装置用CPU101に接続されており、受付装置用CPU101はエラー解除スイッチ51の操作により出力される操作信号に基づき判断する。
エラー解除スイッチ51が操作された場合(S1:YES)には、現在のメダル受付装置2のエラー状態が解除される(S2)。ここで、エラー状態とは、正規のメダル以外のメダルが投入された際に移行するものであり(図18のS14〜S16参照)、メダル価値表示部50にエラー状態を示す「E」の文字を表示する(図6参照)とともに、メダル返却装置108によって、その後に投入された全てのメダルをメダル返却口53へと返却する状態のことである。一方、エラー解除スイッチ51が操作されない場合(S1:NO)には、S3へと移行する。
次に、S3において、分離スイッチ52が操作されたか否かが判断される。分離スイッチ52は受付装置用CPU101に接続されており、受付装置用CPU101は分離スイッチ52の操作により出力される操作信号に基づき判断する。
分離スイッチ52が操作された場合(S3:YES)には、受付装置用CPU101は固定装置106のロック状態をロック又は解除する(S4)。ロック状態が解除されることにより、胴体部44を、台座部48及び側壁45、46、47に対して分離することが可能となり、メダル保留部54に保留された正規外のメダル(図18のS15参照)を取り出すことができる。また、ロックすることにより胴体部44を台座部48及び側壁45、46、47に対して固定することができる。一方、分離スイッチ52が操作されない場合(S3:NO)には、S5へと移行する。
S5においては、収容部開閉スイッチ56が操作されたか否かが判断される。収容部開閉スイッチ56は受付装置用CPU101に接続されており、受付装置用CPU101は収容部開閉スイッチ56の操作により出力される操作信号に基づき判断する。
収容部開閉スイッチ56が操作された場合(S5:YES)には、受付装置用CPU101は施錠装置107のロック状態をロック又は解除する(S6)。ロック状態が解除されることにより、台座部48を、側壁45、46、47に対してスライドして移動させることが可能となり、メダル収容部55に収容されたメダルを取り出すことができる。また、ロックすることにより台座部48を側壁45、46、47に対して固定することができる。一方、収容部開閉スイッチ56についても操作されない場合(S5:NO)には、S7へと移行する。
そして、S7においては、メダル投入口よりメダルが投入されたか否かが判断される。メダルは遊技者、若しくは遊技店により投入され、メダルが投入された場合(S7:YES)には、所定のメダルの受付処理を行う(S8)。一方、メダルが投入されなかった場合(S7:NO)には戻って処理を継続して行う。尚、メダル受付処理(S7)については後に詳細に説明する。
次に、前記S8においてメダル受付装置2で行われるメダル受付処理プログラムについて図18に基づき説明する。図18はメダル受付装置で行われるメダル受付処理プログラムのフローチャートである。これら図18にフローチャートで示される各プログラムはメダル受付装置2が備えているROM102やRAM103に記憶されており、受付装置用CPU101により実行される。
先ず、S11おいて、現在メダル受付装置2がエラー状態であるか否かが判断される。そして、エラー状態である場合(S11:YES)にはメダル返却装置61によって投入されたメダル(遊技用ICメダル65、設定用ICメダル66を含む)はすべてメダル返却口53より返却される(S21)。尚、エラー状態はエラー解除スイッチ51によって解除される(S2)まで継続する。
そして、エラー状態でない場合(S11:NO)には、メダル検出部104によりメダルの検出がなされたか否かが判断される(S12)。メダルが検出されない場合(S12:NO)には、メダルが検出されるまで待機する一方、メダルが検出された場合(S12:YES)には、S13へ移行する。
続くS13においては、ICメダルに内蔵された電子タグ67、74(図8、図11参照)に記憶された各種データを電子タグリーダ/ライタ105によって読み出す。読み出されるデータとしては、店舗ID、パスワード、クレジット数(図9、図12参照)がある。その後、S14へと移行する。
S14においては、前記S13において読み出されたデータに基づいて、投入されたメダルが正規のICメダルか否かが判断される。正規のICメダルであるかの判断は、受付装置用CPU101が電子タグ67、74より読み出した店舗ID及びパスワードを、ROM102の確認用ID・パスワード記憶エリア102Aに記憶された確認用の店舗ID及びパスワードと照合し、判断する。そして、正規のICメダルであると判断された場合(S14:YES)にはS17へ移行するとともに、投入されたICメダルをメダル収容部55に収容する。一方、正規のICメダルでないと判断された場合(S14:NO)にはS15へ移行する。
S15においては、メダル保留装置109を制御して、投入された正規外のメダル(例えば、他店で購入されたメダル、偽造されたメダル)をメダル保留部54に保留する(S15)。保留されたメダルは、胴体部44を分離することによって(S4)のみ取り出すことが可能である。
続いて、S16においては、正規外のメダルがメダル保留部54に保留されたことを受けて、エラー状態へと移行する。エラー状態では、メダル価値表示部50にエラー状態を示す「E」の文字を表示する(図6参照)とともに、メダル返却装置108によって、その後に投入された全てのメダルをメダル返却口53へと返却する。尚、エラー状態はエラー解除スイッチ51によって解除される(S2)まで継続する。
また、S17においては、投入されたメダルが遊技用ICメダル65であるか否かが判断される。遊技用ICメダル65であるか否かの判断は、受付装置用CPU101が前記S13で電子タグ67、74より読み出したデータの種類により判断する。そして、遊技用ICメダル65であると判断された場合(S17:YES)にはS18へ移行する一方、遊技用ICメダル65でないと判断された場合(S17:NO)にはS20へ移行する。
そして、S18では、受付装置用CPU101がRAM103の遊技用ICメダル価値データ記憶エリア103Aに記憶された現在の遊技用ICメダル65の価値(メダル一枚当たりの追加クレジット数)データを取得する。
続いて、S19において、前記S18で取得された遊技用ICメダル65の価値データに基づいて、遊技者の手持ちのクレジットとして追加されるクレジット数をデータ送信部110を介してサテライト本体部89に対して送信する。そして、サテライト制御用CPU91は、送信されたクレジット数に基づいてRAM93に記憶された遊技者のクレジット数を増加させる。その後、戻って処理を継続して行う。
一方、遊技用ICメダル65でないと判断された場合(S17:NO)には、S20において、投入されたメダルが設定用ICメダル66であるか否かが判断される。ここで、設定用ICメダル66であるか否かの判断は、受付装置用CPU101が前記S13で電子タグ67、74より読み出したデータの種類により判断する。尚、本実施形態においては、設定用ICメダル66は、価値データを30クレジットに設定する30クレジット設定用ICメダル70、価値データを50クレジットに設定する50クレジット設定用ICメダル71、価値データを70クレジットに設定する70クレジット設定用ICメダル72、価値データを100クレジットに設定する100クレジット設定用ICメダル73の四種類がある。前記S20においては上記設定用ICメダル66の種類についても判断される。
そして、設定用ICメダル66であると判断された場合(S20:YES)には、S21において、受付装置用CPU101がRAM103の遊技用ICメダル価値データ記憶エリア103Aに記憶された現在の遊技用ICメダル価値データを、設定用ICメダル66のクレジット数記憶エリア74Cから読み出した価値データに変更する。具体的には、30クレジット設定用ICメダル70である場合には30クレジットに変更され、50クレジット設定用ICメダル71である場合には50クレジットに変更され、70クレジット設定用ICメダル72である場合には70クレジットに変更され、100クレジット設定用ICメダル73である場合には100クレジットに変更される。
続いて、S22により、前記S21で変更されたクレジット数に基づいて、メダル価値表示部50の表示を変更する。従って、メダル価値表示部50に表示されたクレジット数により、現在遊技用ICメダル65を一枚投入する毎に追加されるクレジット数を遊技者及び遊技店側がが容易に知ることが可能である。その後、S23へと移行する。
S23では、電子タグリーダ/ライタ105によって、設定用ICメダル74のクレジット数記憶エリア74Cのデータを消去する。そして、データが消去された設定用ICメダル66は遊技用ICメダル65とともにメダル収容部55に収容される。ここで、クレジット数記憶エリア74Cの内容が消去された設定用ICメダル66は遊技用ICメダル65と同一の外観、記録内容を有するので、遊技用ICメダル65としてその後使用することが可能となる。
一方、設定用ICメダル66でもないと判断された場合(S20:NO)には、投入されたメダルをメダル返却口53より返却した後(S21)、戻る。
以上説明した通り本実施形態に係るメダル受付装置2では、設定用ICメダル66をメダル受付装置2に投入し、設定用ICメダル66に内蔵された電子タグ74に記憶された遊技用ICメダル65の価値データ(一枚当たりに追加されるクレジット数)を電子タグリーダ/ライタ105により読み出すとともに(S13)、RAM103に記憶された遊技用ICメダルの価値データを読み出した価値データ(指定クレジット数「30」、「50」、「70」、「100」)に変更する(S21)ので、大掛りな装置、システム等を必要することなく、メダルを投入することのみによって遊技に使用する遊技用ICメダル65一枚の価値を変更することが可能となる。従って、遊技者側にとっては、多量のメダルを持ち歩く必要もなく、且つメダルの価値が変動することによって遊技性が多様化するので、遊技意欲が増す。一方、遊技店側は、コストをかけることなく遊技店側の任意のタイミングで容易にメダル価値を変更することができる。
また、設定用ICメダル66が投入された場合には、設定用ICメダル66のクレジット数記憶エリア74Cのデータ内容を消去する(S23)ので、投入後の設定用ICメダル66を遊技用ICメダル65としてメダル収容部55に収容することができる。従って、収容されたメダルを設定用ICメダル66と遊技用ICメダル65とに分別する必要がなく、どちらのメダルにおいても遊技用ICメダル65として再使用することが可能である。また、遊技店は別途データ書込装置(図示せず)によって遊技用ICメダル65にクレジット数記憶エリア74Cの情報を追記することで、容易に新たな設定用ICメダル66を作成することが可能である。
また、遊技用ICメダル65及び設定用ICメダル66にはそれぞれ店舗ID及びパスワードが記憶され、ROM102に記憶された確認用の店舗ID及びパスワードと照合することにより、正規のICメダルか否かの判断を行う(S14)ので、偽造されたメダル、及び他店で購入あるいは借用されたメダル等を確実に判別して排除する(S15)ことが可能である。
また、正規のメダルでないと判断された場合(S14:NO)には、投入されたメダルを保留する(S15)とともに、メダル価値表示部50に警告表示をしてその後に投入されたメダルを全てメダル払い出し口53より払い出す(S16、S21)ので、正規外のメダルを使用した遊技者に対して、それ以後はメダルを受け付けないようにすることが可能である。更に、遊技者に対して警告を行うとともに、遊技店側に当該事実を知らせることができる。従って、不正を行った遊技者に対してそれ以上継続して遊技を行わせることがない。
更に、メダル価値表示部50は、現在のRAM103に記憶された遊技用ICメダル価値データに基づいて遊技用ICメダル65の価値(一枚投入する毎に追加されるクレジット数)を表示する(S22)ので、現在遊技用ICメダル65を一枚投入する毎に追加されるクレジット数を遊技者及び遊技店側が容易に知ることが可能となる。
また、設定用ICメダル66が投入された場合には、設定用ICメダル66のクレジット数記憶エリア74Cのデータ内容を消去する(S23)ので、投入後の設定用ICメダル66を遊技用ICメダル65としてメダル収容部55に収容することができる。従って、収容されたメダルを設定用ICメダル66と遊技用ICメダル65とに分別する必要がなく、どちらのメダルにおいても遊技用ICメダル65として再使用することが可能である。また、遊技店は別途データ書込装置(図示せず)によって遊技用ICメダル65にクレジット数記憶エリア74Cの情報を追記することで、容易に新たな設定用ICメダル66を作成することが可能である。
また、遊技用ICメダル65及び設定用ICメダル66にはそれぞれ店舗ID及びパスワードが記憶され、ROM102に記憶された確認用の店舗ID及びパスワードと照合することにより、正規のICメダルか否かの判断を行う(S14)ので、偽造されたメダル、及び他店で購入あるいは借用されたメダル等を確実に判別して排除する(S15)ことが可能である。
また、正規のメダルでないと判断された場合(S14:NO)には、投入されたメダルを保留する(S15)とともに、メダル価値表示部50に警告表示をしてその後に投入されたメダルを全てメダル払い出し口53より払い出す(S16、S21)ので、正規外のメダルを使用した遊技者に対して、それ以後はメダルを受け付けないようにすることが可能である。更に、遊技者に対して警告を行うとともに、遊技店側に当該事実を知らせることができる。従って、不正を行った遊技者に対してそれ以上継続して遊技を行わせることがない。
更に、メダル価値表示部50は、現在のRAM103に記憶された遊技用ICメダル価値データに基づいて遊技用ICメダル65の価値(一枚投入する毎に追加されるクレジット数)を表示する(S22)ので、現在遊技用ICメダル65を一枚投入する毎に追加されるクレジット数を遊技者及び遊技店側が容易に知ることが可能となる。
尚、本発明は前記実施例に限定されるものではなく、本発明の要旨を逸脱しない範囲内で種々の改良、変形が可能であることは勿論である。
例えば、本実施形態においては、サテライト5の一台につき1つのメダル受付装置2が設けられているが、複数台のサテライト5で1つのメダル受付装置2を共有して使用するように構成しても良い。
例えば、本実施形態においては、サテライト5の一台につき1つのメダル受付装置2が設けられているが、複数台のサテライト5で1つのメダル受付装置2を共有して使用するように構成しても良い。
また、本実施形態においては、電子タグ67、74として非接触型の電子タグを使用しているが、接触型の電子タグを使用してもよい。
また、本実施形態においては、エラー状態となった際には、その後に投入されたメダルを全てメダル返却口53より返却することとしているが、メダル投入口49にシャッターを設け、エラー状態となった際にはシャッターを閉じて、その後にメダル投入口49にメダルが投入できなくなるようにしてもよい。
1 ルーレットゲーム機
2 メダル受付装置
49 メダル投入口
50 メダル価値表示部
54 メダル保留部
65 遊技用ICメダル
66 設定用ICメダル
67、74 電子タグ
100 受付装置制御部
101 受付装置用CPU
102 受付装置ROM
103 受付装置RAM
104 メダル検出部
105 電子タグリーダ/ライタ
2 メダル受付装置
49 メダル投入口
50 メダル価値表示部
54 メダル保留部
65 遊技用ICメダル
66 設定用ICメダル
67、74 電子タグ
100 受付装置制御部
101 受付装置用CPU
102 受付装置ROM
103 受付装置RAM
104 メダル検出部
105 電子タグリーダ/ライタ
Claims (6)
- メダル投入口から投入された遊技メダルを検出する遊技メダル検出手段と、前記遊技メダルに対する価値を示す第1価値データを記憶するデータ記憶手段とを備えたメダル受付装置において、
前記遊技メダルに対する価値を示す第1価値データとは異なる第2価値データが記憶された第1記憶媒体を有する設定メダルと、
前記メダル投入口より投入された前記設定メダルを検出する設定メダル検出手段と、
前記メダル投入口より投入された前記設定メダルの第2価値データを検出するデータ検出手段と、
前記データ検出手段により検出された第2価値データに基づいて前記データ記憶手段に記憶された第1価値データを第2価値データに変更するデータ変更手段と、
前記第1記憶媒体に記憶された第2価値データを消去するデータ消去手段とを有することを特徴とするメダル受付装置。 - 前記第1記憶媒体にはメダル識別情報が記憶されるとともに、前記遊技メダルはメダル識別情報が記憶された第2記憶媒体を備え、
前記メダル識別情報を確認する為の確認識別情報が記憶された確認識別情報記憶手段と、
前記メダル投入口より投入された前記設定メダルのメダル識別情報又は前記遊技メダルのメダル識別情報を検出する識別情報検出手段と、
前記識別情報検出手段により検出された前記メダル識別情報を前記確認識別情報と比較する比較手段と、
前記比較手段による比較結果に基づいて、前記メダル識別情報の真偽を判別する判別手段とを有することを特徴とする請求項1に記載のメダル受付装置。 - 前記第1記憶媒体には、前記メダル識別情報に加えて前記第2価値データが記憶されていることを特徴とする請求項2に記載のメダル受付装置。
- 前記第1価値データ又は第2価値データを表示する表示手段を備えたことを特徴とする請求項1乃至請求項3のいずれかに記載のメダル受付装置。
- 前記判別手段によって前記遊技メダル又は設定メダルが偽であると判別された場合に、判別された遊技メダル又は設定メダルを保留するメダル保留手段を有することを特徴とする請求項2乃至請求項4のいずれかに記載のメダル受付装置。
- 前記表示手段は、前記判別手段によって前記遊技メダル又は設定メダルが偽であると判別された際に、警告表示を行うことを特徴とする請求項4又は請求項5に記載のメダル受付装置。
Priority Applications (9)
| Application Number | Priority Date | Filing Date | Title |
|---|---|---|---|
| JP2004110829A JP2005293450A (ja) | 2004-04-05 | 2004-04-05 | メダル受付装置 |
| AU2005201408A AU2005201408A1 (en) | 2004-04-05 | 2005-04-04 | Gaming media acceptance device |
| US11/097,384 US20050221888A1 (en) | 2004-04-05 | 2005-04-04 | Medal acceptance device |
| AT05007293T ATE412227T1 (de) | 2004-04-05 | 2005-04-04 | Geldspielautomat |
| ZA2005/02710A ZA200502710B (en) | 2004-04-05 | 2005-04-04 | Gaming media acceptance device |
| EP05007293A EP1585074B1 (en) | 2004-04-05 | 2005-04-04 | Gaming machine |
| EA200500446A EA008543B1 (ru) | 2004-04-05 | 2005-04-04 | Устройство приема средства для игры |
| DE602005010501T DE602005010501D1 (de) | 2004-04-05 | 2005-04-04 | Geldspielautomat |
| CNB2005100651323A CN100346362C (zh) | 2004-04-05 | 2005-04-05 | 游戏介质接受装置 |
Applications Claiming Priority (1)
| Application Number | Priority Date | Filing Date | Title |
|---|---|---|---|
| JP2004110829A JP2005293450A (ja) | 2004-04-05 | 2004-04-05 | メダル受付装置 |
Publications (1)
| Publication Number | Publication Date |
|---|---|
| JP2005293450A true JP2005293450A (ja) | 2005-10-20 |
Family
ID=34909465
Family Applications (1)
| Application Number | Title | Priority Date | Filing Date |
|---|---|---|---|
| JP2004110829A Withdrawn JP2005293450A (ja) | 2004-04-05 | 2004-04-05 | メダル受付装置 |
Country Status (9)
| Country | Link |
|---|---|
| US (1) | US20050221888A1 (ja) |
| EP (1) | EP1585074B1 (ja) |
| JP (1) | JP2005293450A (ja) |
| CN (1) | CN100346362C (ja) |
| AT (1) | ATE412227T1 (ja) |
| AU (1) | AU2005201408A1 (ja) |
| DE (1) | DE602005010501D1 (ja) |
| EA (1) | EA008543B1 (ja) |
| ZA (1) | ZA200502710B (ja) |
Cited By (1)
| Publication number | Priority date | Publication date | Assignee | Title |
|---|---|---|---|---|
| JP2015517381A (ja) * | 2012-05-23 | 2015-06-22 | コナミゲーミング インコーポレーテッド | ゲームマシン、それに用いる制御方法及び、コンピュータプログラム |
Families Citing this family (5)
| Publication number | Priority date | Publication date | Assignee | Title |
|---|---|---|---|---|
| USRE46738E1 (en) * | 2008-09-10 | 2018-02-27 | Aruze Gaming America, Inc. | Gaming machine with dice shaking unit performing dice shaking motions with varying amplitudes |
| TW201308257A (zh) * | 2011-08-05 | 2013-02-16 | yun-lan Zheng | 電子感應投幣器 |
| CN103100217B (zh) * | 2011-11-11 | 2016-01-20 | 京乐产业.株式会社 | 游戏机 |
| CN102831723B (zh) * | 2012-08-30 | 2016-03-30 | 涂名超 | 一种平衡滚球游艺礼品机 |
| JP5624248B1 (ja) * | 2014-05-26 | 2014-11-12 | グリー株式会社 | 制御方法、情報処理装置、プログラム、サーバ装置及び情報処理システム |
Family Cites Families (13)
| Publication number | Priority date | Publication date | Assignee | Title |
|---|---|---|---|---|
| JP2732105B2 (ja) * | 1988-12-27 | 1998-03-25 | 株式会社三共 | 遊技用管理設備装置 |
| DE4039317A1 (de) * | 1990-12-10 | 1992-06-11 | Nsm Ag | Muenzbetaetigter unterhaltungsautomat |
| US5770533A (en) * | 1994-05-02 | 1998-06-23 | Franchi; John Franco | Open architecture casino operating system |
| FR2724036B1 (fr) * | 1994-08-31 | 1997-01-03 | Gemplus Card Int | Lecteur de carte pour machine de jeux. |
| EP0815504A2 (de) * | 1996-01-23 | 1998-01-07 | Kaba Schliesssysteme AG | Spieljeton mit integriertem elektronischen datenträger |
| NL1006866C2 (nl) * | 1997-08-27 | 1999-03-02 | Pro Intro B V | Speeltafel-layout en werkwijze voor het spelen van een hoog-laag spel. |
| GB9801473D0 (en) * | 1998-01-23 | 1998-03-18 | Lall Sardool S | System for regulating the price levels of pay per use vending or arcade machines |
| US5997395A (en) * | 1998-03-17 | 1999-12-07 | Cummins-Allison Corp. | High speed coin sorter having a reduced size |
| IT1306301B1 (it) * | 1998-06-19 | 2001-06-04 | O T R Srl | Dispositivo per il riconoscimento di prefissate monete e/o transponder |
| US7267614B1 (en) * | 2000-05-10 | 2007-09-11 | Walker Digital, Llc | Gaming token having a variable value |
| US6629591B1 (en) * | 2001-01-12 | 2003-10-07 | Igt | Smart token |
| JP3830861B2 (ja) * | 2002-05-29 | 2006-10-11 | アルゼ株式会社 | メダルゲーム機 |
| US7909699B2 (en) * | 2002-06-27 | 2011-03-22 | Igt | Scan based configuration control in a gaming environment |
-
2004
- 2004-04-05 JP JP2004110829A patent/JP2005293450A/ja not_active Withdrawn
-
2005
- 2005-04-04 AU AU2005201408A patent/AU2005201408A1/en not_active Abandoned
- 2005-04-04 EA EA200500446A patent/EA008543B1/ru not_active IP Right Cessation
- 2005-04-04 EP EP05007293A patent/EP1585074B1/en not_active Expired - Lifetime
- 2005-04-04 DE DE602005010501T patent/DE602005010501D1/de not_active Expired - Fee Related
- 2005-04-04 US US11/097,384 patent/US20050221888A1/en not_active Abandoned
- 2005-04-04 ZA ZA2005/02710A patent/ZA200502710B/en unknown
- 2005-04-04 AT AT05007293T patent/ATE412227T1/de not_active IP Right Cessation
- 2005-04-05 CN CNB2005100651323A patent/CN100346362C/zh not_active Expired - Fee Related
Cited By (2)
| Publication number | Priority date | Publication date | Assignee | Title |
|---|---|---|---|---|
| JP2015517381A (ja) * | 2012-05-23 | 2015-06-22 | コナミゲーミング インコーポレーテッド | ゲームマシン、それに用いる制御方法及び、コンピュータプログラム |
| US9619971B2 (en) | 2012-05-23 | 2017-04-11 | Konami Gaming, Inc. | Game machine, control method of controlling computer used in game machine, and computer program |
Also Published As
| Publication number | Publication date |
|---|---|
| EP1585074A2 (en) | 2005-10-12 |
| DE602005010501D1 (de) | 2008-12-04 |
| EA200500446A3 (ru) | 2006-02-24 |
| CN100346362C (zh) | 2007-10-31 |
| ZA200502710B (en) | 2005-12-28 |
| EP1585074B1 (en) | 2008-10-22 |
| EA008543B1 (ru) | 2007-06-29 |
| ATE412227T1 (de) | 2008-11-15 |
| AU2005201408A1 (en) | 2005-10-20 |
| EP1585074A3 (en) | 2006-04-12 |
| CN1680980A (zh) | 2005-10-12 |
| US20050221888A1 (en) | 2005-10-06 |
| EA200500446A2 (ru) | 2005-10-27 |
Similar Documents
| Publication | Publication Date | Title |
|---|---|---|
| US8454433B2 (en) | Read/write device for information data storage medium | |
| KR20060125528A (ko) | 플레이어 인증 장치, 플레이어 관리 서버, 게임기 및개재식 장치 | |
| JP2004201791A (ja) | ゲーム装置及び遊技システム | |
| JP5714969B2 (ja) | スロットマシン | |
| US20070238518A1 (en) | Gaming machine | |
| EP1585074B1 (en) | Gaming machine | |
| US20090117975A1 (en) | Gaming machine with symbol changed according to predetermined conditions after rearrangement and playing method thereof | |
| JP4515272B2 (ja) | 遊技用チップシステム及び、設定メダル、遊技メダル、メダル受付装置、メダル書込装置 | |
| US20090227328A1 (en) | Slot Machine | |
| JP2006122475A (ja) | 遊技用メダルシステム及び、遊技メダル、貸出装置、受付装置、サーバ | |
| CN100435895C (zh) | 币接受装置 | |
| JP2006122444A (ja) | 遊技用メダルシステム及び、遊技メダル、メダル貸出装置、メダル受付装置 | |
| JP2008036164A (ja) | 複数の立体物の正面に付されたシンボルとして再配置されたシンボルが再スピン後に構成するコンビネーションに基づいて賞が与えられるスロットマシンゲーム | |
| JP2005261765A (ja) | メダル受付装置 | |
| JP2008043656A (ja) | 複数の立体物の正面に付されたシンボルとして再配置されるシンボルが最終的に停止した後に構成するコンビネーションに基づいて賞が与えられるスロットマシンゲーム | |
| JP2008036162A (ja) | 複数の立体物の正面に付されたシンボルとして再配置されたシンボルで構成するコンビネーションに基づいて賞が与えられるスロットマシンゲーム | |
| JP2002017960A (ja) | 遊技機及び遊技メダルの循環システム | |
| JP2006110391A (ja) | 遊技用チップシステム及び、遊技メダル、メダル受付装置、メダル書込装置 | |
| JP2008148769A (ja) | シンボルが表示される領域を、入賞判定が行われる領域として指定する操作が可能な遊技機 | |
| JP2005261767A (ja) | メダル受付装置 | |
| JP2747549B2 (ja) | 台間玉貸機 | |
| JP2008148770A (ja) | ボーナスゲームを搭載した遊技機およびボーナスゲームの遊技方法 | |
| JP2025079825A (ja) | ゲームシステム、プログラム、およびゲームシステムの制御方法 | |
| NL2000824C2 (nl) | Speelautomaat en systeem voor het spelen van kansspelen. | |
| JP2590402B2 (ja) | 料金後払いで遊技が行なえる遊技場システム |
Legal Events
| Date | Code | Title | Description |
|---|---|---|---|
| A621 | Written request for application examination |
Free format text: JAPANESE INTERMEDIATE CODE: A621 Effective date: 20061115 |
|
| A761 | Written withdrawal of application |
Free format text: JAPANESE INTERMEDIATE CODE: A761 Effective date: 20081110 |