JP2005293352A - 制御装置、制御方法及び制御プログラム - Google Patents

制御装置、制御方法及び制御プログラム Download PDF

Info

Publication number
JP2005293352A
JP2005293352A JP2004109052A JP2004109052A JP2005293352A JP 2005293352 A JP2005293352 A JP 2005293352A JP 2004109052 A JP2004109052 A JP 2004109052A JP 2004109052 A JP2004109052 A JP 2004109052A JP 2005293352 A JP2005293352 A JP 2005293352A
Authority
JP
Japan
Prior art keywords
control
screen
control screen
service
screen component
Prior art date
Legal status (The legal status is an assumption and is not a legal conclusion. Google has not performed a legal analysis and makes no representation as to the accuracy of the status listed.)
Pending
Application number
JP2004109052A
Other languages
English (en)
Inventor
Tsukasa Kubota
司 久保田
Current Assignee (The listed assignees may be inaccurate. Google has not performed a legal analysis and makes no representation or warranty as to the accuracy of the list.)
Seiko Epson Corp
Original Assignee
Seiko Epson Corp
Priority date (The priority date is an assumption and is not a legal conclusion. Google has not performed a legal analysis and makes no representation as to the accuracy of the date listed.)
Filing date
Publication date
Application filed by Seiko Epson Corp filed Critical Seiko Epson Corp
Priority to JP2004109052A priority Critical patent/JP2005293352A/ja
Priority to US11/097,872 priority patent/US20050232583A1/en
Publication of JP2005293352A publication Critical patent/JP2005293352A/ja
Pending legal-status Critical Current

Links

Images

Classifications

    • HELECTRICITY
    • H04ELECTRIC COMMUNICATION TECHNIQUE
    • H04NPICTORIAL COMMUNICATION, e.g. TELEVISION
    • H04N5/00Details of television systems
    • H04N5/76Television signal recording
    • H04N5/765Interface circuits between an apparatus for recording and another apparatus
    • HELECTRICITY
    • H04ELECTRIC COMMUNICATION TECHNIQUE
    • H04LTRANSMISSION OF DIGITAL INFORMATION, e.g. TELEGRAPHIC COMMUNICATION
    • H04L41/00Arrangements for maintenance, administration or management of data switching networks, e.g. of packet switching networks
    • H04L41/12Discovery or management of network topologies
    • HELECTRICITY
    • H04ELECTRIC COMMUNICATION TECHNIQUE
    • H04LTRANSMISSION OF DIGITAL INFORMATION, e.g. TELEGRAPHIC COMMUNICATION
    • H04L67/00Network arrangements or protocols for supporting network services or applications
    • H04L67/01Protocols
    • H04L67/12Protocols specially adapted for proprietary or special-purpose networking environments, e.g. medical networks, sensor networks, networks in vehicles or remote metering networks
    • H04L67/125Protocols specially adapted for proprietary or special-purpose networking environments, e.g. medical networks, sensor networks, networks in vehicles or remote metering networks involving control of end-device applications over a network
    • HELECTRICITY
    • H04ELECTRIC COMMUNICATION TECHNIQUE
    • H04LTRANSMISSION OF DIGITAL INFORMATION, e.g. TELEGRAPHIC COMMUNICATION
    • H04L67/00Network arrangements or protocols for supporting network services or applications
    • H04L67/50Network services
    • H04L67/75Indicating network or usage conditions on the user display
    • HELECTRICITY
    • H04ELECTRIC COMMUNICATION TECHNIQUE
    • H04NPICTORIAL COMMUNICATION, e.g. TELEVISION
    • H04N5/00Details of television systems
    • H04N5/76Television signal recording
    • H04N5/765Interface circuits between an apparatus for recording and another apparatus
    • H04N5/775Interface circuits between an apparatus for recording and another apparatus between a recording apparatus and a television receiver

Landscapes

  • Engineering & Computer Science (AREA)
  • Signal Processing (AREA)
  • Computer Networks & Wireless Communication (AREA)
  • Health & Medical Sciences (AREA)
  • Computing Systems (AREA)
  • General Health & Medical Sciences (AREA)
  • Medical Informatics (AREA)
  • Multimedia (AREA)
  • User Interface Of Digital Computer (AREA)
  • Computer And Data Communications (AREA)
  • Stored Programmes (AREA)

Abstract

【課題】 ネットワークに接続される種々のデバイスの操作を容易にする制御装置、制御方法及び制御プログラムを提供する。
【解決手段】 制御画面部品が格納されたメモリと、ネットワークに接続されているデバイスが提供するサービスを検出する検出手段と、検出された前記サービスに関連付けられた前記制御画面部品を選択可能に画面表示する制御画面表示手段と、画面表示された前記制御画面部品の選択を受け付ける制御選択手段と、選択された前記制御画面部品に関連付けられた前記サービスを前記デバイスに提供させる制御手段と、を備えることを特徴とする制御装置。
【選択図】 図1

Description

本発明は、制御装置、制御方法及び制御プログラムに関し、特にネットワークで接続された種々のデバイスを統合的に制御する装置のHMI(Human Machine Interface)に関する。
一般に、コンピュータに周辺機器をセットアップして利用可能な状態にするためには、エンドユーザ自身が複雑な設定を行うことが要求されるため、コンピュータに関する基本的な知識が必要になる。こうした問題を解決する手段の1つとしてUPnP(Universal Plug and Play)が注目されている。多数のUPnPデバイスで1つのネットワークが構成されるようになると、例えばネットワークに接続されたテレビは、テレビ放送の表示以外に、ファイルサーバに格納されている画像データの表示等のさまざまな用途に利用できるようになる。またネットワーク内では、デスクトップPC(Personal Computer)、テレビのリモートコントローラ等で構成されるコントロールポイントによってあらゆるデバイスを制御できるようになるほか、コントロールポイントで複数のデバイスを連携させるようなプログラムを実行することによって単独のデバイスでは実現できない機能を実現することも可能になる。
本発明は、ネットワークに接続される種々のデバイスの操作を容易にする制御装置、制御方法及び制御プログラムを提供することを目的とする。
上記目的を達成するための制御装置は、制御画面部品が格納されたメモリと、ネットワークに接続されているデバイスが提供するサービスを検出する検出手段と、検出された前記サービスに関連付けられた前記制御画面部品を選択可能に画面表示する制御画面表示手段と、画面表示された前記制御画面部品の選択を受け付ける制御選択手段と、選択された前記制御画面部品に関連付けられた前記サービスを前記デバイスに提供させる制御手段と、を備える。制御装置が画面表示した制御画面部品をユーザが選択した場合に、選択された制御画面部品に関連付けられたサービスを、そのサービスをネットワーク内で提供するデバイスに制御装置の制御下で提供させることにより、ユーザは制御装置を介して種々のデバイスが提供するサービスを受けることができる。ネットワークに接続されているデバイスが提供するサービスを制御装置が検出し、制御装置に予め記憶されている制御画面部品のうち検出したサービスに関連するものを制御装置が選択可能に画面表示することにより、ネットワークに新たにデバイスを接続するときにそのデバイスを制御するための制御画面部品を制御装置に入力する必要が無くなる。ネットワークに新たにデバイスを接続するときにそのデバイスを制御するための制御画面部品を制御装置に入力する必要が無くなると、ネットワークに接続される種々のデバイスの操作が容易になる。
前記メモリには、デバイス制御プロトコルで規定された複数の前記サービスと複数の前記制御画面部品が互いに関連付けられて記憶され、前記検出手段は、前記ネットワークに接続されている前記デバイスから当該デバイスを制御するための制御情報を取得し、前記制御手段は、取得した前記制御情報に基づいて前記デバイスを制御し、前記デバイスに前記サービスを提供させることが望ましい。デバイス制御プロトコルで規定されたサービス毎に制御画面部品を予め用意しておくことにより、制御装置の汎用性を向上させることができる。また、デバイスにサービスを提供させるための情報(制御情報)を制御装置がデバイスから取得することにより、そのような情報をユーザが制御装置に入力する必要が無くなる。
前記制御画面表示手段は、複数の前記デバイスが提供する互いに異なるサービスの組み合わせで実現される機能に関連付けられた前記制御画面部品を選択可能に画面表示し、前記制御手段は、選択された前記制御画面部品に関連付けられた前記機能を実現する複数の前記サービスを複数の前記デバイスに提供させることが望ましい。複数のデバイスが提供する互いに異なるサービスを組み合わせることによって実現される機能に応じて制御装置に制御画面部品を予め記憶しておき、選択された制御画面部品に応じて制御装置が複数のデバイスにそれぞれサービスを提供させることにより、個々のデバイス単独では実現不可能な機能をユーザは制御装置を介して容易に利用できるようになる。
前記メモリには、デバイス制御プロトコルで規定された複数の前記サービスに前記機能が関連付けて記憶されていることが望ましい。デバイス制御プロトコルで規定されたサービスに応じた機能を予め用意しておくことにより、制御装置の汎用性を向上させることができる。
目的を選択可能に画面表示する目的選択画面表示手段と、画面表示された前記目的の選択を受け付ける目的選択手段とをさらに備え、前記制御画面表示手段は、複数の前記制御画面部品のうち選択された前記目的に関連付けられた前記制御画面部品を選択可能に画面表示することが望ましい。ユーザに目的を選択させ、選択された目的に応じた制御画面表示部品を制御装置が選択的に画面表示することにより、ネットワークに接続されるデバイスの数が多くなっても、ユーザの目的に適合していない制御画面部品が画面表示されることによって制御装置の操作性が悪化することを防止できる。
前記メモリには、デバイス制御プロトコルで規定された複数の前記サービスに前記目的が関連付けて記憶されていることが望ましい。デバイス制御プロトコルで規定されたサービスに応じて達成可能な目的を予め用意しておくことにより、制御装置の汎用性を向上させることができる。
上記目的を達成するための制御方法は、ネットワークに接続されているデバイスが提供するサービスを検出するステップと、予め記憶されている制御画面部品のうち、検出された前記サービスに関連付けられた前記制御画面部品を選択可能に画面表示するステップと、画面表示された前記制御画面部品の選択を受け付けるステップと、選択された前記制御画面部品に関連付けられた前記サービスを前記デバイスに提供させるステップと、を含む。
上記目的を達成するための制御プログラムは、ネットワークに接続されているデバイスが提供するサービスを検出する検出手段と、予め記憶されている制御画面部品のうち、検出された前記サービスに関連付けられた前記制御画面部品を選択可能に画面表示する制御画面表示手段と、画面表示された前記制御画面部品の選択を受け付ける制御選択手段と、選択された前記制御画面部品に関連付けられた前記サービスを前記デバイスに提供させる制御手段と、としてコンピュータを機能させる。
上記目的を達成するための記録媒体には、ネットワークに接続されているデバイスが提供するサービスを検出する検出手段と、予め記憶されている制御画面部品のうち、検出された前記サービスに関連付けられた前記制御画面部品を選択可能に画面表示する制御画面表示手段と、画面表示された前記制御画面部品の選択を受け付ける制御選択手段と、選択された前記制御画面部品に関連付けられた前記サービスを前記デバイスに提供させる制御手段と、としてコンピュータを機能させる制御プログラムが記録される。
尚、本発明に備わる複数の手段の各機能は、構成自体で機能が特定されるハードウェア資源、プログラムにより機能が特定されるハードウェア資源、又はそれらの組み合わせにより実現される。また、これら複数の手段の各機能は、各々が物理的に互いに独立したハードウェア資源で実現されるものに限定されない。
以下、本発明の制御装置、制御方法及び制御プログラムについて、発明を実施するための最良の形態を図面に基づいて説明する。
本発明の実施例による制御装置は、図2に示すPC(パーソナルコンピュータ)1等で構成されるUPnPコントロールポイントである。本実施例では、PC1を例にして説明するが、本発明の制御装置はワイヤレスハンドヘルドPC2、図示しない携帯電話等で構成することもできる。本実施例の制御プログラムは、PC1等のUPnPコントロールポイントで実行される。UPnPネットワーク11に接続されるUPnPデバイスとしては、スキャナ3、プリンタ4、ファイルサーバ5、オーディオプレーヤ6、プロジェクタ7、ルータ8、ディジタルカメラ9、TV(Television)モニタ10等がある。
図3は、制御装置としてのPC1のハードウェアを示すブロック図である。PC1は、CPU20、RAM21、ハードディスク装置(HDD)22、外部インターフェイス23、ROM24、表示部25及び操作部26を備える。CPU20は、制御プログラムを実行し、UPnPデバイス及びUPnPデバイスにサービスを提供させるための制御情報を検出する検出処理、検出されたサービスに関連付けられた制御画面部品を選択可能に画面表示する制御画面表示処理、画面表示された制御画面部品の選択を受け付ける制御選択処理、選択された制御画面部品に応じたサービスをUPnPデバイスに提供させる制御処理、複数のデバイスにより実現される目的を選択可能に画面表示する目的選択画面表示処理等を行い、UPnPデバイスの制御を行う。制御画面部品とは、マウスなどのポインティングデバイスにより操作され、所定のプログラムを呼び出したり、パラメータを変更したりする操作を対話的に受け付けるための画面構成要素であり、例えば、ボタン、ドロップダウンリストボックス等である。
ROM24は、CPU20が初期動作するためのプログラムを記憶したメモリである。RAM21は、制御プログラムと制御プログラムがアクセスするデータを一時的に記憶するメモリである。請求項に記載のメモリとしてのHDD22は、制御プログラム、制御プログラムがアクセスする各種のデータなどを記憶する外部記憶装置である。尚、制御プログラムはフラッシュメモリ等の半導体メモリに記憶しておいてもよい。
外部インターフェイス23は、PC1と外部機器を接続するインターフェイスであって、具体的には例えばLANカード等で構成される。表示部25は、CRT、LCD、ディスプレイコントローラ等により構成され、制御画面部品等の画面構成部品で構成されるGUI(Graphical User Interface)画面を表示する。制御選択手段及び目的選択手段としての操作部26は、キーボード、ポインティングデバイス(マウス、タブット等)により構成される。
図4は、コントロールポイントとして作動するPC1によってUPnPデバイスを制御する処理の流れを説明するフローチャートである。図4に示す処理はPC1が制御プログラムを実行することによって行われる。
UPnPデバイスは、ネットワークに接続されると、ネットワーク上で定期的にSSDP(Simple Service Discovery Protocol)を使って自己の存在を他のUPnPデバイスに告知する。SSDPは、HTTP(Hypertext Transfer Protocol)ヘッダを拡張したマルチキャスト・ディスカバリ・プロトコルで、ディスカバリ・パケットには、XML(eXtensible Markup Language)形式で記述されたDDD(Device Description Document)へのリンクが含まれている。DDDには、デバイスタイプ、メーカ名、モデル名等の他に、UPnPにより定義されたSDD(Service Description Document)を参照するためのURLが記述されている。PC1はSSDPによりUPnPデバイスを検出し、検出したデバイスのDDDを取得する(S100)。PC1はSSDPにより他のUPnPデバイスの接続状態を問い合わせてUPnPデバイスを主体的に検出することもできる。
次にPC1はDDDに記述されたURLを参照し、デバイスが提供するサービスをXML形式で詳しく記述したSDDを取得する(S102)。PC1はSDDを取得することにより、UPnPネットワーク11に接続されたデバイスが提供するサービスを判別し、デバイスにサービスを提供させるための制御情報としてのアクション及び状態変数に関する情報を取得することができる。
次にPC1はSDDに基づいて図5に示すサービス管理テーブルを更新する(S104)。サービス管理テーブルは、DCP(Device Control Protocol)で規定されている全サービスについて、UPnPネットワーク11に実際に接続されているUPnPデバイスの提供状態を管理するためのデータである。サービス管理テーブルには、DCPで規定されているサービスのアクション及び状態変数についてそれぞれ利用の可否と、各サービスを利用するにあたって最低限必要となる情報(メッセージのあて先等)が記述される。
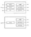
次にPC1はサービス管理テーブル及び画面管理テーブルを参照し、UPnPネットワーク11に接続されているデバイスが提供するサービスに応じた制御画面部品を選択可能に表示部25の画面に例えば図1に示すように表示する(S106)。各ボタン107、102、103、104、105、106は、デバイスの接続状態に応じて選択可能なもののみを表示しても良く、又、対応するデバイスが接続されていないために選択できないボタンについては、グレー表示をし、ポインティングデバイスによる選択ができないように表示しても良い。図1(A)はUPnPネットワーク11が図2に示す状態にあるときに表示部25に表示される制御画面を例示し、図1(B)はUPnPネットワーク11が図2に示すスキャナ3が取り外された状態にあるときに表示部25に表示される制御画面を例示している。
図6は、画面管理テーブルを示す模式図である。画面管理テーブルは、DCPで規定されているアクション及び状態変数を利用することによって制御可能なサービスの利用要求等をユーザから受け付けるための制御画面部品を管理するテーブルであって、制御プログラムの一部としてHDD22にあらかじめ記憶されている。画面管理テーブルの各レコードは、各制御画面部品について、制御画面部品のリソースデータにアクセスするための識別子(ラベル、ポインタ等)と、画面上の表示位置と、選択されたときに起動するモジュールを呼び出すための情報(ラベル、プログラムポインタ等)と、選択されたときに起動するプログラムが利用するアクション及び状態変数とを関連付けている。PC1は起動モジュールが利用する全てのアクション及び状態変数がサービス管理テーブルで「利用可」になっている制御画面部品を特定し、特定した制御画面部品を表示部25の画面に選択可能に表示する。尚、制御画面部品は画面管理テーブル及びサービス管理テーブルを介してUPnPデバイスが提供するサービスに関連付けられている。
次に、PC1は、制御画面部品がマウスによるクリック等によって選択されると、選択された制御画面部品に関連付けられたモジュールを、画面管理テーブルを参照して呼び出す。例えば、図1に示すスキャンボタン107が選択されると、制御プログラムのメインモジュールは、画面管理テーブルに記述されたラベルを用いて、スキャナ3のスキャンサービスを制御するためのスキャン制御モジュールを呼び出す。スキャン制御モジュールは、アクション及び状態変数を含むメッセージを所定のシーケンスでスキャナ3に送信し、UPnPスキャナ3をPC1の制御下で作動させる。アクション及び状態変数を含むメッセージはS102で取得したSDDに記述されたあて先に送信される。また例えば、プリントボタン102が選択されると、制御プログラムのメインモジュールは、画面管理テーブルに記述されたラベルを用いて、プリンタ4を制御するためのプリント制御モジュールを呼び出す。プリント制御モジュールは、アクション及び状態変数を含むメッセージを所定のシーケンスでプリンタ4に送信し、プリンタ4をPC1の制御下で作動させる。尚、スキャン要求、プリント要求等の各種のメッセージは、1回で送信してもよいし、複数回に分けて送信してもよい。例えばメッセージとDCPで規定されるアクションとを一対一に対応させてPC1と制御対象デバイスとの間で送受信を繰り返し、1つのサービスを制御することができる。
同一のサービスを提供する複数のUPnPデバイスがPC1に接続されている場合、PC1はそれらのUPnPデバイスの1つを選択するための画面を表示部25の画面に表示してもよい。具体的には例えば、図7に示す画面200、図8に示す画面300を表示し、ドロップダウンリストボックス201、301、302の操作によって選択されたデバイスをボタン107、103が選択された場合に実行されるモジュールが通信する対象デバイスとして特定する。より具体的には例えば、特定された対象デバイスのSDDに記述されている、あるサービスに属するアクションを呼び出すためのURLを、当該アクションを呼び出すメッセージを送信するあて先として設定する。尚、アクション及び状態変数を指定するメッセージを制御対象デバイスに送信するためのあて先は請求項に記載の制御情報に相当する。
また、PC1は制御画面部品で構成されるメニュー画面を階層的に表示しても良い。具体的には例えば、PC1は図7及び図8に示す画面210、画面310を表示し、制御対象デバイスの操作を対話的に受け付けても良い。画面210、310で表示される制御画面部品211、212、213、312、313、314、317は状態変数の変更操作に用いられるドロップダウンリストボックスである。制御画面部品315は状態変数の変更操作に用いられるラジオボタンである。画面210、310で表示される制御画面部品214、215、216、318、319、320はアクションの呼び出し操作に用いられるボタンである。
図9は、スキャナ3をPC1の制御下で作動させる処理を具体的に説明するための模式図である。図1(A)に示す制御画面でスキャンボタン107がクリックによって選択されると、制御プログラム101のメインモジュールは、画面管理テーブルに記述された起動モジュールのラベルを用いて、スキャナ3が提供するスキャンサービスを制御するためのスキャン制御モジュールを呼び出す。呼び出されたスキャン制御モジュールは、UPnPコア33、HTTP34、TCP/IP35及びEthernet37(Ethernetは登録商標である。)を介してスキャン要求をUPnPスキャナドライバ32に送信する(S171)。スキャン要求では、スキャンしたデータの出力先となるスキャンボックスのURL、解像度等の各種パラメータが指定される。次に、UPnPスキャナドライバ32によりスキャン要求が受信されると、スキャン要求に基づいてUPnPスキャナドライバ32によってスキャナ3のハードウェア31が制御される(S172)。UPnPスキャナドライバ32は原稿を読み取って得られるスキャンデータを取得すると(S173)、スキャンデータをJpeg画像データに変換する。次に、UPnPスキャナドライバ32は、スキャン要求で指定されたURLにUPnPコア33、HTTP34、TCP/IP35及びEthernet37を介してJpeg画像データを送信する(S174)。図9では、ファイルサーバ5にJpeg画像データがポストされる例を示している。
次に、複数のデバイスが提供する互いに異なるサービスの組み合わせで実現される機能について説明する。このような機能としては、スキャナ3が読み取った画像をプリンタ4が印刷するコピー機能、ファイルサーバ5又はディジタルカメラ9に一定時間間隔で連続的に出力させる画像をTVモニタ10、プロジェクタ7、ディジタルピクチャフレーム等で表示するスライドショー機能、ファイルサーバ5からランダムな順序で出力させる音楽データをオーディオプレーヤ6で再生させる音楽再生機能等がある。
図10は、制御装置としてのPC1が、スキャナ3に読み取らせた画像をプリンタ4で印刷させるコピー機能を具体的に説明するための模式図である。
図1(A)に示す制御画面でコピーボタン103がクリックによって選択されると、制御プログラム101のメインモジュールは、画面管理テーブルに記述された起動モジュールのラベルを用いて、スキャナ3のスキャンサービス及びプリンタ4のプリントサービスを制御するためのコピー制御モジュールを呼び出す。呼び出されたコピー制御モジュールは、UPnPコア33、HTTP34、TCP/IP35及びEthernet37を介してコピー要求をプリンタ4のUPnPプリンタドライバ42に送信する(S161)。コピー要求を受信したUPnPプリンタドライバ42は、読み取った画像データのポスト先としてのスキャンボックスのURLをUPnPコア33、HTTP34、TCP/IP35及びEthernet37を介してPC1の制御プログラム101に送信する(S162)。次に、制御プログラム101は、UPnPプリンタドライバ42から指定されたスキャンボックスのURLを指定したスキャン要求を、UPnPコア33、HTTP34、TCP/IP35及びEthernet37を介してスキャナ3のUPnPスキャナ3に送信する(S163)。UPnPスキャナドライバ32によりスキャン要求が受信されると、スキャン要求に基づいてUPnPスキャナドライバ32によってスキャナ3のハードウェアが制御される(S164)。UPnPスキャナドライバ32はスキャンデータを取得すると(S165)、スキャンデータをJpeg画像データに変換する。次に、UPnPスキャナドライバ32は、スキャン要求で指定されたURLのスキャンボックスにUPnPコア33、HTTP34、TCP/IP35及びEthernet37を介してJpeg画像データを送信する(S166)。図10では、プリンタ4自体がスキャンボックスとして指定されている例を示している。尚、PC1、ファイルサーバ5等の他のデバイスをスキャンボックスとして指定してもよい。この場合、ファイルサーバ等のデバイスが提供するデータストアサービスもコピーに利用されることになる。次に、Jpeg画像データを取得したUPnPプリンタドライバ42は、Jpeg画像データを復号し、復号した画像データを印刷データに変換し、印刷データに基づいてプリンタ4のハードウェア41を制御する(S167)。この結果、スキャナ3で読み取った画像がプリンタ4で印刷される。すなわち、スキャナ3及びプリンタ4が提供する複数のサービスの組合せによってコピー機能が実現される。
図11は、ユーザに目的を選択させる目的選択画面500を示す図である。ネットワークに接続されるデバイスが多くなると、制御装置のメニュー画面で全てのデバイスのサービスを利用できるようにすると視認性を損なう場合がある。そこで、上位階層のメニュー画面ではUPnPネットワークを用いる目的をユーザに選択させ、下位階層のメニュー画面では上位メニューで選択された目的に応じたデバイスが提供するサービスのみにアクセスできるようにしてもよい。このような目的の設定方法としては、例えば、画像、音楽、文書というようにデータの種類で分類される目的を設定する方法、画像を見る、音楽を聞くというようにユーザの行為で分類される目的を設定する方法、よく使う機能、最近使った機能というように利用頻度で分類される目的を設定する方法等がある。
以下、図12及び図13に基づいて具体的に説明する。はじめに、制御装置としてのPC1は図13に例示する目的管理テーブルに基づいて目的選択画面500を表示部25に表示する(S200)。目的管理テーブルは、制御プログラムの一部としてHDD22にあらかじめ記憶されている。目的とデバイスのサービスとは、目的管理テーブルとサービス管理テーブルとによって関連付けられている。目的管理テーブルの各レコードは、各目的について、目的選択ボタン501、502のリソースデータにアクセスするための識別子(ラベル、ポインタ等)と、目的選択ボタン501、502の画面上の表示位置と、目的が選択されたときにアクセス対象となるデバイスの種類(デバイスタイプ)とを関連付けている。
次に、目的選択ボタン501、502がマウスによるクリック等によって選択されると(S202)、PC1は選択されたボタンに関連付けられたデバイスタイプを特定し(S204)、特定したデバイスタイプに属するデバイスが提供するサービスを検出し(S206)、検出したサービスにアクセスするための制御画面部品を表示する(S208)。具体的には例えば「画像を見る」ボタン501が選択された場合、図1(A)に示す制御画面を表示部に表示する。
尚、同一のデバイスタイプに属する異なるデバイスがネットワーク11に接続されている場合、ある目的が選択された場合に、その目的の達成に最もよく適合するデバイスが提供するサービスにのみアクセスする制御画面を表示するようにしてもよい。具体的には例えば、TVモニタとディジタルピクチャフレームがネットワーク11に接続されている状態で「画像を楽しむ」という目的が選択された場合、画面サイズがより大きい方のデバイスが提供するサービスにのみアクセスする制御画面を表示するようにしてもよい。目的に適合するデバイスの選択は各デバイスのSDDを比較することによって可能になる。
以上説明した本発明の実施例によると、制御装置としてのPC1が画面表示した制御画面部品をユーザが選択した場合に、選択された制御画面部品にアクション及び状態変数を介して関連付けられているサービスを、PC1の制御下でデバイスに提供させることにより、ユーザは制御装置としての1台のPC1によって種々のデバイスを操作できるようになる。
また、制御装置としてのPC1は、DCPに応じて予めリソースデータが記憶された制御画面部品をデバイスの接続状態に応じて表示し、デバイスを制御するための情報(制御情報)をデバイスから自律的に取得するため、制御画面部品のリソースデータや制御情報をネットワーク11にデバイスを接続するたびにユーザが制御装置としてのPC1に入力する必要が無くなる。そのため、ネットワークに接続して利用される種々のデバイスの操作が容易になる。
また、制御装置としてのPC1が複数のデバイスが提供するサービスに連続してアクセスするための制御画面部品を表示することにより、ユーザはPC1に表示される制御画面を操作することによって複数のデバイスを協働させることができる。その結果、個々のデバイス単独では実現不可能な機能をユーザはPC1を介して容易に利用できるようになる。
尚、上記実施例においては、UPnPネットワークに本発明を適用した例を説明したが、特定の制御装置の制御下で能動的に複数のネットワークデバイスを作動させるプロトコルを用いて構成されたネットワークであれば本発明を適用することができる。
本発明の一実施例に係る画面を示す模式図。 本発明の一実施例に係るネットワークを示す模式図。 本発明の一実施例に係る制御装置のハードウェアを示すブロック図。 本発明の一実施例に係る制御装置の処理の流れを示すフローチャート。 本発明の一実施例に係る制御装置のサービス管理テーブルを示す模式図。 本発明に一実施例に係る制御装置の画面管理テーブルを示す模式図。 本発明の一実施例に係る制御装置の画面の遷移を示す模式図。 本発明の一実施例に係る制御装置の画面の遷移を示す模式図。 本発明の一実施例に係る制御装置の処理の流れを示す模式図。 本発明の一実施例に係る制御装置の処理の流れを示す模式図。 本発明の一実施例に係る制御装置の画面を示す模式図。 本発明の一実施例に係る制御装置の処理の流れを示すフローチャート。 本発明の一実施例に係る目的管理テーブルを示す模式図。
符号の説明
1 PC(制御装置)、2 ワイヤレスハンドヘルドPC(制御装置)、3 スキャナ(デバイス)、4 プリンタ(デバイス)、5 ファイルサーバ(デバイス)、6 オーディオプレーヤ(デバイス)、7 プロジェクタ(デバイス)、8 ルータ(デバイス)、9 ディジタルカメラ(デバイス)、10 TVモニタ(デバイス)、22 HDD(メモリ)、102、103、104、105、106、107、214、215、216、318、319、320、211、212、213、312、313、314、317、315 制御画面部品

Claims (9)

  1. 制御画面部品が格納されたメモリと、
    ネットワークに接続されているデバイスが提供するサービスを検出する検出手段と、
    検出された前記サービスに関連付けられた前記制御画面部品を選択可能に画面表示する制御画面表示手段と、
    画面表示された前記制御画面部品の選択を受け付ける制御選択手段と、
    選択された前記制御画面部品に関連付けられた前記サービスを前記デバイスに提供させる制御手段と、
    を備えることを特徴とする制御装置。
  2. 前記メモリには、デバイス制御プロトコルで規定された複数の前記サービスと複数の前記制御画面部品が互いに関連付けられて記憶され、
    前記検出手段は、前記ネットワークに接続されている前記デバイスから当該デバイスを制御するための制御情報を取得し、
    前記制御手段は、取得した前記制御情報に基づいて前記デバイスを制御し、前記デバイスに前記サービスを提供させることを特徴とする請求項1に記載の制御装置。
  3. 前記制御画面表示手段は、複数の前記デバイスが提供する互いに異なるサービスの組み合わせで実現される機能に関連付けられた前記制御画面部品を選択可能に画面表示し、
    前記制御手段は、選択された前記制御画面部品に関連付けられた前記機能を実現する複数の前記サービスを前記デバイスに提供させることを特徴とする請求項1に記載の制御装置。
  4. 前記メモリには、デバイス制御プロトコルで規定された複数の前記サービスに前記機能が関連付けて記憶されていることを特徴とする請求項3に記載の制御装置。
  5. 目的を選択可能に画面表示する目的選択画面表示手段と、
    画面表示された前記目的の選択を受け付ける目的選択手段とをさらに備え、
    前記制御画面表示手段は、複数の前記制御画面のうち選択された前記目的に関連付けられた前記制御画面部品を選択可能に画面表示することを特徴とする請求項1又は3に記載の制御装置。
  6. 前記メモリには、デバイス制御プロトコルで規定された複数の前記サービスに前記目的が関連付けて記憶されていることを特徴とする請求項5に記載の制御装置。
  7. ネットワークに接続されているデバイスが提供するサービスを検出するステップと、
    予め記憶されている制御画面部品のうち、検出された前記サービスに関連付けられた前記制御画面部品を選択可能に画面表示するステップと、
    画面表示された前記制御画面部品の選択を受け付けるステップと、
    選択された前記制御画面部品に関連付けられた前記サービスを前記デバイスに提供させるステップと、
    を含むことを特徴とする制御方法。
  8. ネットワークに接続されているデバイスが提供するサービスを検出する検出手段と、
    予め記憶されている制御画面部品のうち、検出された前記サービスに関連付けられた前記制御画面部品を選択可能に画面表示する制御画面表示手段と、
    画面表示された前記制御画面部品の選択を受け付ける制御選択手段と、
    選択された前記制御画面部品に関連付けられた前記サービスを前記デバイスに提供させる制御手段と、
    としてコンピュータを機能させる制御プログラム。
  9. ネットワークに接続されているデバイスが提供するサービスを検出する検出手段と、
    予め記憶されている制御画面部品のうち、検出された前記サービスに関連付けられた前記制御画面部品を選択可能に画面表示する制御画面表示手段と、
    画面表示された前記制御画面部品の選択を受け付ける制御選択手段と、
    選択された前記制御画面部品に関連付けられた前記サービスを前記デバイスに提供させる制御手段と、
    としてコンピュータを機能させる制御プログラムが記録された記録媒体。




JP2004109052A 2004-04-01 2004-04-01 制御装置、制御方法及び制御プログラム Pending JP2005293352A (ja)

Priority Applications (2)

Application Number Priority Date Filing Date Title
JP2004109052A JP2005293352A (ja) 2004-04-01 2004-04-01 制御装置、制御方法及び制御プログラム
US11/097,872 US20050232583A1 (en) 2004-04-01 2005-03-31 Control apparatus, control method, and control program product

Applications Claiming Priority (1)

Application Number Priority Date Filing Date Title
JP2004109052A JP2005293352A (ja) 2004-04-01 2004-04-01 制御装置、制御方法及び制御プログラム

Publications (1)

Publication Number Publication Date
JP2005293352A true JP2005293352A (ja) 2005-10-20

Family

ID=35096367

Family Applications (1)

Application Number Title Priority Date Filing Date
JP2004109052A Pending JP2005293352A (ja) 2004-04-01 2004-04-01 制御装置、制御方法及び制御プログラム

Country Status (2)

Country Link
US (1) US20050232583A1 (ja)
JP (1) JP2005293352A (ja)

Cited By (4)

* Cited by examiner, † Cited by third party
Publication number Priority date Publication date Assignee Title
JP2010108212A (ja) * 2008-10-30 2010-05-13 Kyocera Corp コンテンツ処理システム、端末装置及びコンテンツ処理方法
JP2011141788A (ja) * 2010-01-08 2011-07-21 Onkyo Corp 機器操作対応コンピュータ装置
US8150978B2 (en) 2005-11-17 2012-04-03 Samsung Electronics Co., Ltd. Apparatus and method for managing user interface
CN103856349A (zh) * 2012-12-07 2014-06-11 华为技术有限公司 多核路由器的版本升级处理方法及多核路由器

Families Citing this family (20)

* Cited by examiner, † Cited by third party
Publication number Priority date Publication date Assignee Title
DE102004047876A1 (de) * 2004-10-01 2006-04-06 Degussa Ag Pulver mit verbesserten Recyclingeigenschaften, Verfahren zu dessen Herstellung und Verwendung des Pulvers in einem Verfahren zur Herstellung dreidimensionaler Objekte
US7966083B2 (en) 2006-03-16 2011-06-21 Exceptional Innovation Llc Automation control system having device scripting
WO2007109556A2 (en) * 2006-03-16 2007-09-27 Exceptional Innovation, Llc Automation control system having digital logging
US8209398B2 (en) * 2006-03-16 2012-06-26 Exceptional Innovation Llc Internet protocol based media streaming solution
US7587464B2 (en) 2006-03-16 2009-09-08 Exceptional Innovation, Llc Device automation using networked device control having a web services for devices stack
US7509402B2 (en) * 2006-03-16 2009-03-24 Exceptional Innovation, Llc Automation control system having a configuration tool and two-way ethernet communication for web service messaging, discovery, description, and eventing that is controllable with a touch-screen display
US7496627B2 (en) * 2006-03-16 2009-02-24 Exceptional Innovation, Llc Automation control system having digital logging
US8725845B2 (en) * 2006-03-16 2014-05-13 Exceptional Innovation Llc Automation control system having a configuration tool
US8001219B2 (en) * 2006-03-16 2011-08-16 Exceptional Innovation, Llc User control interface for convergence and automation system
US8155142B2 (en) * 2006-03-16 2012-04-10 Exceptional Innovation Llc Network based digital access point device
US7590703B2 (en) 2006-03-27 2009-09-15 Exceptional Innovation, Llc Set top box for convergence and automation system
WO2007124453A2 (en) 2006-04-20 2007-11-01 Exceptional Innovation Llc Touch screen for convergence and automation system
US7667968B2 (en) 2006-05-19 2010-02-23 Exceptional Innovation, Llc Air-cooling system configuration for touch screen
KR101264318B1 (ko) * 2006-07-07 2013-05-22 삼성전자주식회사 네트워크 환경에서의 서비스 메뉴 및 서비스 제공방법 및그 서비스 제공장치
WO2008073658A2 (en) 2006-11-09 2008-06-19 Exceptional Innovation, Llc. Portable device for convergence and automation solution
WO2008143881A1 (en) * 2007-05-14 2008-11-27 Exceptional Innovation, Llc Customizable media device
US8686890B2 (en) 2007-05-25 2014-04-01 Exceptional Innovation, Llc Customizable remote control device
US8032661B2 (en) * 2008-02-28 2011-10-04 Microsoft Corporation Automatic peripheral device sharing
US8516071B2 (en) * 2009-06-03 2013-08-20 Qualcomm Incorporated Systems and methods for creating virtual universal plug-and-play systems
US10331312B2 (en) 2015-09-08 2019-06-25 Apple Inc. Intelligent automated assistant in a media environment

Citations (5)

* Cited by examiner, † Cited by third party
Publication number Priority date Publication date Assignee Title
JPH0744474A (ja) * 1993-07-30 1995-02-14 Canon Inc システム制御方式及び装置
JPH09128181A (ja) * 1995-10-10 1997-05-16 Xerox Corp ユーザディスプレイに対してインタフェース制御を検索する方法
JP2002300332A (ja) * 2001-03-30 2002-10-11 Minolta Co Ltd 管理装置、画像処理装置、管理方法、管理プログラムおよび記録媒体
JP2002373128A (ja) * 2001-06-13 2002-12-26 Konica Corp サービスシステム及び該システムを用いたサービスの提供方法並びにプログラム
JP2003345685A (ja) * 2002-05-22 2003-12-05 Seiko Epson Corp デバイス共有システム、デバイス管理端末、ゲートウェイ端末、デバイス、端末用プログラム及びデバイス用プログラム、並びに、デバイス共有サービス提供方法

Family Cites Families (6)

* Cited by examiner, † Cited by third party
Publication number Priority date Publication date Assignee Title
ID24894A (id) * 1997-06-25 2000-08-31 Samsung Electronics Co Ltd Cs Metode dan apparatus untuk pembangun tiga-oto suatu jaringan rumah
IL139411A0 (en) * 1998-05-07 2001-11-25 Samsung Electronics Co Ltd Method and system for device to device command and control in network
JP4424711B2 (ja) * 2000-06-30 2010-03-03 キヤノン株式会社 ネットワークデバイス、ディレクトリサーバおよびネットワークシステム
US6930730B2 (en) * 2001-05-03 2005-08-16 Mitsubishi Digital Electronics America, Inc. Control system and user interface for network of input devices
US7337402B2 (en) * 2001-11-09 2008-02-26 Microsoft Corporation Tunable information presentation appliance using an extensible markup language
US7234115B1 (en) * 2002-09-26 2007-06-19 Home Director, Inc. Home entertainment system and method

Patent Citations (5)

* Cited by examiner, † Cited by third party
Publication number Priority date Publication date Assignee Title
JPH0744474A (ja) * 1993-07-30 1995-02-14 Canon Inc システム制御方式及び装置
JPH09128181A (ja) * 1995-10-10 1997-05-16 Xerox Corp ユーザディスプレイに対してインタフェース制御を検索する方法
JP2002300332A (ja) * 2001-03-30 2002-10-11 Minolta Co Ltd 管理装置、画像処理装置、管理方法、管理プログラムおよび記録媒体
JP2002373128A (ja) * 2001-06-13 2002-12-26 Konica Corp サービスシステム及び該システムを用いたサービスの提供方法並びにプログラム
JP2003345685A (ja) * 2002-05-22 2003-12-05 Seiko Epson Corp デバイス共有システム、デバイス管理端末、ゲートウェイ端末、デバイス、端末用プログラム及びデバイス用プログラム、並びに、デバイス共有サービス提供方法

Cited By (6)

* Cited by examiner, † Cited by third party
Publication number Priority date Publication date Assignee Title
US8150978B2 (en) 2005-11-17 2012-04-03 Samsung Electronics Co., Ltd. Apparatus and method for managing user interface
JP2013041611A (ja) * 2005-11-17 2013-02-28 Samsung Electronics Co Ltd ユーザインターフェースを管理する装置、表示する装置、管理する方法、及び表示する方法
US8521814B2 (en) 2005-11-17 2013-08-27 Samsung Electronics Co., Ltd. Apparatus and method for managing user interface
JP2010108212A (ja) * 2008-10-30 2010-05-13 Kyocera Corp コンテンツ処理システム、端末装置及びコンテンツ処理方法
JP2011141788A (ja) * 2010-01-08 2011-07-21 Onkyo Corp 機器操作対応コンピュータ装置
CN103856349A (zh) * 2012-12-07 2014-06-11 华为技术有限公司 多核路由器的版本升级处理方法及多核路由器

Also Published As

Publication number Publication date
US20050232583A1 (en) 2005-10-20

Similar Documents

Publication Publication Date Title
JP2005293352A (ja) 制御装置、制御方法及び制御プログラム
US7962097B2 (en) Method and system for identifying device on universal plug and play network and playing content using the device
JP4309087B2 (ja) ネットワーク接続機器およびこれを用いたネットワークシステム
US20030140343A1 (en) Remote wireless device with EPG display, intercom and emulated control buttons
JP2005292903A (ja) 制御システム、制御プログラム、制御方法及び制御装置
JP4687746B2 (ja) 会議システム、データ処理装置、画像送信方法および画像送信プログラム
JP2009146146A (ja) 情報処理装置およびホームネットワークシステム
JP4540377B2 (ja) Ui表示装置及びui表示方法
EP2472774A2 (en) Remote control method and system using control user interface
JP2010055275A (ja) 情報処理装置及び機能拡張方法
KR101683079B1 (ko) 정보 처리 장치, 정보 처리 방법, 정보 처리 시스템 및 기록 매체
US20120280801A1 (en) Controlled device, device control system, device control program and device control method
EP1876762B1 (en) Method for providing a service menu in a network environment
JP4774473B2 (ja) 機器登録方法及びサーバ装置
CN101166131B (zh) 基于通用即插即用网络系统及其控制方法
JP2010026780A (ja) 情報処理装置、情報処理方法および情報処理プログラム
CN116248915A (zh) 一种截屏方法及终端设备
US11842518B2 (en) Camera apparatus, control method for camera apparatus, and storage medium
CN112347275B (zh) 媒体文件推送方法、装置、设备及计算机可读存储介质
JP2005064755A (ja) リモート制御システム、リモート制御装置、リモート制御端末、被制御装置、リモート制御方法及びプログラム
JP5797674B2 (ja) オペレーション補佐端末、オペレータサーバ、オペレーション補佐方法、及び、オペレーション補佐プログラム
US9184931B2 (en) Universal plug and play based network system and method of controlling the same
JP2007318542A (ja) 制御装置及びその制御方法
CN120653336A (zh) 一种显示设备、终端设备及文件显示方法
JP2010093420A (ja) マクロ管理装置、マクロ管理方法およびマクロ管理システム

Legal Events

Date Code Title Description
RD04 Notification of resignation of power of attorney

Free format text: JAPANESE INTERMEDIATE CODE: A7424

Effective date: 20060818

RD04 Notification of resignation of power of attorney

Free format text: JAPANESE INTERMEDIATE CODE: A7424

Effective date: 20061222

RD03 Notification of appointment of power of attorney

Free format text: JAPANESE INTERMEDIATE CODE: A7423

Effective date: 20061226

A621 Written request for application examination

Free format text: JAPANESE INTERMEDIATE CODE: A621

Effective date: 20070314

RD04 Notification of resignation of power of attorney

Free format text: JAPANESE INTERMEDIATE CODE: A7424

Effective date: 20070403

A977 Report on retrieval

Free format text: JAPANESE INTERMEDIATE CODE: A971007

Effective date: 20091201

A131 Notification of reasons for refusal

Free format text: JAPANESE INTERMEDIATE CODE: A131

Effective date: 20100330

A521 Request for written amendment filed

Free format text: JAPANESE INTERMEDIATE CODE: A523

Effective date: 20100524

A131 Notification of reasons for refusal

Free format text: JAPANESE INTERMEDIATE CODE: A131

Effective date: 20110208

A521 Request for written amendment filed

Free format text: JAPANESE INTERMEDIATE CODE: A523

Effective date: 20110407

A02 Decision of refusal

Free format text: JAPANESE INTERMEDIATE CODE: A02

Effective date: 20110712