JP2005292718A - 光導波路、光導波路モジュールおよび光導波路の作成方法 - Google Patents
光導波路、光導波路モジュールおよび光導波路の作成方法 Download PDFInfo
- Publication number
- JP2005292718A JP2005292718A JP2004111211A JP2004111211A JP2005292718A JP 2005292718 A JP2005292718 A JP 2005292718A JP 2004111211 A JP2004111211 A JP 2004111211A JP 2004111211 A JP2004111211 A JP 2004111211A JP 2005292718 A JP2005292718 A JP 2005292718A
- Authority
- JP
- Japan
- Prior art keywords
- optical waveguide
- optical
- state
- refractive index
- module
- Prior art date
- Legal status (The legal status is an assumption and is not a legal conclusion. Google has not performed a legal analysis and makes no representation as to the accuracy of the status listed.)
- Pending
Links
Images
Classifications
-
- G—PHYSICS
- G02—OPTICS
- G02B—OPTICAL ELEMENTS, SYSTEMS OR APPARATUS
- G02B6/00—Light guides; Structural details of arrangements comprising light guides and other optical elements, e.g. couplings
- G02B6/24—Coupling light guides
- G02B6/255—Splicing of light guides, e.g. by fusion or bonding
- G02B6/2552—Splicing of light guides, e.g. by fusion or bonding reshaping or reforming of light guides for coupling using thermal heating, e.g. tapering, forming of a lens on light guide ends
Landscapes
- Physics & Mathematics (AREA)
- Engineering & Computer Science (AREA)
- Plasma & Fusion (AREA)
- General Physics & Mathematics (AREA)
- Optics & Photonics (AREA)
- Optical Integrated Circuits (AREA)
- Optical Couplings Of Light Guides (AREA)
- Mechanical Coupling Of Light Guides (AREA)
- Light Guides In General And Applications Therefor (AREA)
- Optical Fibers, Optical Fiber Cores, And Optical Fiber Bundles (AREA)
Abstract
【課題】非常に小さな部分で光の導波方向を変換し、外部環境変動に鈍感で気密封止などの特別な保護機構を必要としない光導波路、それらを備えた光導波路モジュール及び光導波方向の変換方法を提供する。
【解決手段】光導波路の所望部分を加熱して、加工歪開放状態に移行する。その状態で加熱した部分を所定の曲げ半径で曲線状に曲げて、加工歪状態に移行する光導波路をもって本課題を解決する。また、当該光導波路を備えた光導波路モジュールを提供することで、本課題を解決する。
【選択図】図1
【解決手段】光導波路の所望部分を加熱して、加工歪開放状態に移行する。その状態で加熱した部分を所定の曲げ半径で曲線状に曲げて、加工歪状態に移行する光導波路をもって本課題を解決する。また、当該光導波路を備えた光導波路モジュールを提供することで、本課題を解決する。
【選択図】図1
Description
本発明は光部品の小型化に関し、特に光導波の方向を微小な大きさで変更できる光導波路、光導波路モジュール、および光導波方向の変換方法に関するものである。
現在、電気回路の動作速度は光伝送回路の動作速度に近づきつつある。しかし、電気回路の動作速度を更に高速化するのは、光伝送回路の動作速度を向上するよりも原理的な障壁が高い。これは、電気回路に付随する静電容量による時定数が、高速動作で増大する為である。そこで、電気回路の高速動作を一部光伝送路で補う為、電気回路と光回路を融合させる研究開発が活発に行われている。
具体的にはVCSEL(垂直共振器型表面発光レーザー)を電気回路基盤に実装し、そこから出射された光信号を光ファイバや光導波路に入射して伝播させ、電気基板に実装されたPD(フォトダイオード)で受光して信号伝送を行うものである。この光ファイバや光導波路を電気回路基板自体に埋め込む方式や、複数の電気回路基板間に現状の電気コードの代わりとして光ファイバや光導波路を使用する方式が検討されている。また、前記のような用途に使用する光ファイバや光導波路として、例えば有機導波路シート(代表的な導波路シートとしては、ポリイミドの導波路シートがある。)や、光ファイバシートが提案されている。
VCSELは表面発行レーザーであり、そのレーザー光の出射方向は実装された電気回路基板に対して垂直方向である。レーザーの実装方向を電気回路基板に対して垂直にすれば、レーザー光出射方向は電気回路基板に対して平行方向になるが、このようなレーザーの実装はVCSELの高密度多重実装の利点を全く台無しにするものであり、通常利用されない。
また、電気回路基板に埋め込まれた光導波路や光ファイバは電気回路基板と平行方向に光を導波するので、VCSELから出射されたレーザー光を、これらの光導波路や光ファイバに結合される為には、90度の光導波方向の変換が必要となる。
このような、90度の光導波方向の変換方法として、光ファイバや導波路の端面を45度に研磨し、研磨面に金属蒸着などを施してミラーとし、90度の変換を行う方法や、45度の角度を持ったミラーで変換を行う方法が検討されている。
また、前述のような90度の光導波方向の変換の必要性とは適用領域が異なるが、例えばFTTHではユーザー宅内に光ファイバを配線するが、一般の光ファイバでは機械的特性及び光学的特性の問題から、数cm以下でファイバを曲げることができない為、部屋の角部分や屋外から屋内に光ファイバを取り込んだ穴部分で光ファイバを緩やかに曲げる空間を確保する必要があり、家具の配置や屋内の景観を損ねることになっている。これに対して、近年最小曲げ半径が15mmでも機械的、光学的に曲げることが可能な光ファイバが開発されている。
更に、超小型で光導波方向を変換する応用として、光ファイバの所望部分を非常に微細な径に細くして、曲げる方法が提案され商品化されている。この方法では細くされた部分の光ファイバ径は数μm〜10μm程度で、この細さでは光ファイバを例えば曲げ半径1mmで曲げたとしても、その曲げによる曲げ歪は1%以下となり機械的に十分曲げることが可能になる。また、光学的にはこの細い部分のファイバだけで光を閉じ込める構造とはならないが、この細い光ファイバ部分とその外側の環境、すなわち空気との組み合わせにより、コアが光ファイバ、クラッドが環境(空気)という関係になり、等価的に数十%もの超高等価屈折率差の導波路として機能し、微小な曲げ半径でも光の損失無く曲げることが可能となる。
PatNo.US2003/0165291A1
PatNo.5138676
特開2000−329950号公報
大木、他 「60bps級並列光インタコネクトモジュール(ParaBIT−1F)の開発」 2000年電子情報通信学会技術研究報告EMD2000−7
清水、他 「光I/O内臓システムLSIモジュール(3)光結合系の設計」 2003年電子情報通信学会エレクトロニクスソサエティ大会C−3−125
佐々木、他 「光I/O内臓システムLSIモジュール(5)基板実装型コネクタの開発」 2003年電子情報通信学会エレクトロニクスソサエティ大会C−3−127
まず、上述した光ファイバや導波路の端面を45度に研磨し、研磨面に金属蒸着などを施してミラーとし、90度の変換を行う方法では、光ファイバや導波路を制度良く45度に研磨する作業が容易でなく、更に金属蒸着などの更なる工程も大掛かりな製造設備を必要とする。実装時にも45度面を回路基板に対して真上または真下方向に捩れることなく実装する必要があるが、このような実装は容易とは言い難い。また、この方式では光ファイバのコアや導波路のコアから90度方向に変換された後は、導波構造ではない媒体中を光が導波する為、ビーム径が広がり良好な結合を得ることは難しい。
また、45度の角度を持ったミラーで変換を行う方法では、小型化のために微小なミラーが必要となり、この微小なミラーとの位置合わせや、ミラー部分までに空間中を光ビームが伝播することによるビーム広がりを抑えるためには、レンズ部品などが追加されなければならず、部品点数が増え、それらの位置合わせは容易ではない。
更に、空間伝播を伴う系では導波路や光ファイバからの空間への光出射端面は反射減衰量を大きく取る為、無反射コーティングや、斜め研磨が必要となるが、無反射コーティングは大掛かりな装置を必要とし、斜め研磨は光ビームの放射方向が導波路中または光ファイバ中での光軸からずれるので、45度ミラーとの位置合わせが更に難しくなる場合がある。
次に、最小曲げ半径が15mmでも、機械的、光学的に曲げることが可能な光ファイバは屋外では有効であるが、屋内や狭い空間では許容される曲げ半径は小さい方がより良い。半径15mmの曲げ半径よりも小さくしたい場合には使用できない。
光ファイバの所望部分を非常に微細な径に細くして、曲げる方法では、数μm程度の外径という非常に細い径とする為、取り扱い時に折れてしまうなどの問題がある。また、この方式では曲げの部分の光損失低減は、外部環境がクラッドとして働くことが基本であり、外部環境変化に敏感である。すなわち、環境湿度や温度変動によりこの微小径部分に水分の結露が起こると、擬似的な超高Δによる微小曲げ部分での光閉じ込めは機能しなくなる。
微小曲げ部分での光閉じ込めの機能を維持する為には、この微小径部分は空気などの気体中に曝された状態で、気密封止を行う必要がある。すなわち、空洞内に微小径部分を配置しての気密封止が必要となるが、これは容易ではない。また、微小径部分が小さくても、それを気密封止し、保護する構造部分は微小径部分よりも非常に大きな構造とならざるを得ない。
しかも、前記の光ファイバや光導波路として、有機導波路シートや光ファイバシートが提案されているが、まず、有機導波路シートの現状の技術レベルでの光損失は約0.2dB/cmと非常に大きく、長さ15cm伝送しただけで光パワーが3dB損失、すなわち半分以下となってしまう。光電気融合基板からバックプレーン、更に別の光電気融合基板へ光信号を伝送する場合を考えると、光信号は数十cmから1m程度の距離を伝送すると考えられ、この場合には、コネクタ部分の接続損失などを無視して、導波路の伝送損失だけでも、最大20dB程度の光損失が発生することになる。結局、現状の技術レベルで有機導波路を用いて光伝送を行う場合には、短距離の伝送に限定されてしまうことになる。また、有機導波路は温度によって特性が変動しやすく、また、電気回路のような高温多湿状態での長期信頼性も、光ファイバに比べて低い。
一方、光ファイバシートは、2枚の可撓性プラスチックフィルム間に複数本の光ファイバを配線したものであり、特性は光ファイバで決定される。光ファイバの伝送損失は有機導波路が0.2dB/cmであるのに比較して、石英系光ファイバで約0.2dB/kmとcmとkmという遥かな小ささであり、光電気回路融合基板内での伝送といった、最大でも数mという距離では伝送損失は無視できる小ささである。プラスチック系の光ファイバの場合には、数dB〜数十dB/kmという伝送損失増加があるが、例えば500dB/kmの損失でも、0.5dB/m程度と有機導波路に比べれば1/40程度の低損失であり、最大でも数mという距離ではやはり伝送損失は小さく、実用上問題となることはない。
しかし、この光ファイバシートは、複数本の光ファイバを所望の場所に光を配線するため、配線した光ファイバが交差するが、この交差の程度によって光損失が発生する。この交差による光損失を回避するには、配線形状を工夫する、交差部分に緩衝材を入れるなどが考えられるが、このような方策は歩留まりを悪くし、さらにコストアップに繋がる。また、シート上での配線には光ファイバの光学的および機械的強度から曲げ半径を小さくすることが出来ないという問題がある。
一般には、石英系光ファイバは曲げ半径15mm以下では光損失増大、機械的破壊が懸念されるので、それ以上の半径で配線する必要があり、光ファイバシートを小さくすることが困難であり、配線形状も制限されてしまう。
石英系光ファイバを用いた光ファイバシートの機械的な強度については、例えば特開2000−329950号公報では、光ファイバの表面にカーボンをコーティングしたカーボンコートファイバを使用することが提案されているが、カーボンコートされた光ファイバは表面が黒く、このファイバに被覆を施し着色しても、色の違いが判別できないという問題点があった。
石英系光ファイバを用いた光ファイバシートの機械的な強度については、例えば特開2000−329950号公報では、光ファイバの表面にカーボンをコーティングしたカーボンコートファイバを使用することが提案されているが、カーボンコートされた光ファイバは表面が黒く、このファイバに被覆を施し着色しても、色の違いが判別できないという問題点があった。
また、光ファイバシートを電気回路基板内に埋め込んで光電気融合基板を作製しようとする場合には、電気回路基板表面の凹凸によって、光ファイバがマイクロベンドロスを発生する。これは、小さな凹凸が光ファイバの側面に当って側圧を生じ、光ファイバの長手方向に細かな曲げが連続的に生じている状況として考えると分かりやすい。このようなマイクロベンドロスは、光ファイバシート単体を低温にした場合にも発生する場合がある。これは、シートを形成する可撓性プラスチックフィルムが低温時に収縮し、光ファイバはガラスなので収縮が小さく、収縮長の差によって光ファイバが細かくうねることで発生するものである。
本発明は、上述の課題を解決するために成されたものである。その目的は、部品点数が少なく、位置合わせ不要で、非常に小さな部分で光の導波方向を変換し、外部環境変動に鈍感で気密封止などの特別な保護機構を必要としない、光導波路、光導波路モジュールおよび光導波方向の変換方法を提供することにある。
従来の問題点を解決するために発明者は鋭意研究を重ねた。その結果、光導波路の所望部分を所定の温度に加熱すると光導波路の部分が加工歪開放状態になり、その状態で所定の曲げ半径で曲げ加工を施すと、歪の無い状態で曲げることが判明した。
本発明は上述した研究成果に基づいてなされたものであって、この発明の光導波路の第1の態様は、コアとクラッドを有する光導波路であって、所望部分が加熱されて、加工歪開放状態に移行する。そして、当該加工歪開放状態に移行した前記部分を所定の曲げ半径で曲線状に曲げられて、加工歪状態に移行している光導波路である。
本発明は上述した研究成果に基づいてなされたものであって、この発明の光導波路の第1の態様は、コアとクラッドを有する光導波路であって、所望部分が加熱されて、加工歪開放状態に移行する。そして、当該加工歪開放状態に移行した前記部分を所定の曲げ半径で曲線状に曲げられて、加工歪状態に移行している光導波路である。
この発明の光導波路の第2の態様は、使用する光導波路の前記部分を屈曲点以上軟化点以下の範囲内の温度に加熱して、加工歪状態に移行している光導波路である。
この発明の光導波路の第3の態様は、使用する光導波路の外径が50μm以上 μm以下の範囲内の光ファイバである光導波路である。なお、光ファイバの材料は石英系、全プラスチック、プラスチッククラッドなどがある。
この発明の光導波路の第4の態様は、使用する光導波路の外径がモードフィールド径の10倍以上である光導波路である。
この発明の光導波路の第5の態様は、使用する光導波路の曲げ半径が5.0mm以下である光導波路である。
この発明の光導波路の第6の態様は、使用する光導波路のコアとクラッドの等価屈折率差Δ1が0.8%以上3.5%以下の範囲内、好ましくはΔ1が1.0%以上3.0%以下の範囲内である光導波路である。なお、等価屈折率差とは、コアとなる部分の最大屈折率と、実効的にクラッドとなる部分の屈折率との屈折率差のことをいう。また、光ファイバの屈折率プロファイルは、単峰型プロファイル、W型プロファイル等、特に限定されれるものではない。
この発明の光導波路モジュールの第1の態様は、上述した何れか1つの光導波路が複数本からなっており、それらの光導波路がアレイ状に並べられて、少なくとも一部の光導波路が位置決め機構を備えた部材に固定されている光導波路モジュールである。
この発明の光導波路モジュールの第2の態様は、上述した何れか1つの光導波路の少なくとも片端に、コアとクラッドの等価屈折率差Δ2が0.2%以上である光導波路を融着接続し、その部分を加熱して等価屈折率差Δのミスマッチとモードフィールド径のミスマッチを低減したモジュールである。
この発明の光導波路モジュールの第3の態様は、上述した何れか1つの光導波路が、1枚のシート上に配線された状態で固定されている光導波路モジュールである。
この発明の光導波路モジュールの第4の態様は、上述した何れか1つの光導波路が、少なくとも2枚のシート間に配線された状態で固定されている光導波路モジュールである。
この発明の光導波路モジュールの第5の態様は、使用する光導波路が複数本からなって
おり、配線された状態で固定されている
光導波路
モジュールである。
おり、配線された状態で固定されている
光導波路
モジュールである。
この発明の光導波路モジュールの第6の態様は、使用するシートの材質が可撓性を有す
る材質である光導波路モジュールである。この材質としては、ポリイミド、ポリエチレン
テレフタラート、低密度または高密度ポリエチレン、ポリプロピレン、ポリエステル、ナ
イロン6、ナイロン66、エチレン−テトラフルオルエチレン共重合体、ポリ4−メチル
ペンテン、ポリ塩化ビニリデン、可塑化ポリ塩化ビニル、ポリエーテルエステル共重合体、エチレン−酢酸ビニル共重合体、軟質ポリウレタンなどのフィルムが用いられる。
る材質である光導波路モジュールである。この材質としては、ポリイミド、ポリエチレン
テレフタラート、低密度または高密度ポリエチレン、ポリプロピレン、ポリエステル、ナ
イロン6、ナイロン66、エチレン−テトラフルオルエチレン共重合体、ポリ4−メチル
ペンテン、ポリ塩化ビニリデン、可塑化ポリ塩化ビニル、ポリエーテルエステル共重合体、エチレン−酢酸ビニル共重合体、軟質ポリウレタンなどのフィルムが用いられる。
この発明の光導波路の作成方法の第1の態様は、光導波路の所望部分を加熱し、当該部
分を加工歪開放状態に移行する。そして、加工歪状態に移行した光導波路の当該部分を所
定の曲げ半径に曲げ、その状態で加工歪状態に移行する光導波路の作成方法である。なお、ここで使用する光導波路を光ファイバとし、その材料を全プラスチックまたはプラスチッククラッドにすることで、曲げ損失なしで小さく曲げることができる。しかも、石英系の光ファイバの場合のような高温での作業が不要になる。
分を加工歪開放状態に移行する。そして、加工歪状態に移行した光導波路の当該部分を所
定の曲げ半径に曲げ、その状態で加工歪状態に移行する光導波路の作成方法である。なお、ここで使用する光導波路を光ファイバとし、その材料を全プラスチックまたはプラスチッククラッドにすることで、曲げ損失なしで小さく曲げることができる。しかも、石英系の光ファイバの場合のような高温での作業が不要になる。
本発明の光導波路により、融着接続による接続損失を低減させながら、所望部分を所望の半径で曲げて、所定の角度に光導波方向を変換することができる。さらに、それらを用いて光導波路モジュールの小型化が可能となる。
以下に、本発明の実施形態を、図面を参照しながら詳細に説明する。
(実施形態1)
(実施形態1)
図1は、この発明の光導波路の第1の態様の概略を示す図である。すなわち、光導波路の所望部分をアーク放電により高温(屈曲店以上軟化点以下)にした状態で、光導波路を所定の半径で曲げる。この光導波路は曲げ部分は高温状態で曲げられ、曲げられた後に常温環境に持っていかれるので、曲げることによる歪はない。すなわち、曲げた状態が初期状態となるように加工したものである。光導波路は加工後に加工された状態から変形すると歪が発生して、破断するが、加工された状態を曲げ状態とすることで、歪が発生せず破断しないのである。但し、この曲げ部分を、直線状に戻す場合には歪が発生し、破断に至る。結局は、初期の歪開放状態が直線状態であるか、曲げ状態であるかを選択することで、所望の形を作成する場合の歪による破断を回避することが出来るのである。この発明では、微小な空間で光導波方向を変換することが目的であるので、変換する為の状態を初期の歪開放状態となるように加工することで、破断を回避している。
この加工を行う際に、光導波路の所望部分を加熱する方法はアーク放電による加熱、バーナーによる加熱、炉による加熱等どんな手段であっても構わず、趣旨は加熱と同時に曲げることで加工歪を開放しながら加工することである。
(実施形態2)
この加工を行う際に、光導波路の所望部分を加熱する方法はアーク放電による加熱、バーナーによる加熱、炉による加熱等どんな手段であっても構わず、趣旨は加熱と同時に曲げることで加工歪を開放しながら加工することである。
(実施形態2)
図2は、この発明の光導波路の第3及び5の態様の概略を示す図である。この態様においては、微小な空間で光導波方向を変換するが、使用する光導波路の物理的大きさから現実的に使用できる大きさが規定されている。この態様では、光導波路の外径aが50μm以上である。曲げ半径Rは、5.0mm以下である。すなわち、外径aが50μmの光導波路に対し、曲げ半径Rを50μmで曲げることは物理的に不可能である。また、外径aが50μm未満の光導波路を取り扱うのも容易ではないことから、最小外径aを50μmの光導波路を規定することで取り扱いやすさを確保し、曲げ半径として使用する光導波路の最小外径の10倍とすることで物理的に曲げを実現させる構造としている。また、外径aが125μm外径の光導波路は、現在一般に使用されている代表的な光導波路と互換な外径であるので、この外径を用いることで、本発明の適用範囲を大幅に広げられる。更に曲げ半径Rを5.0mm以下とすることで、本発明の方法を採用する利点が生かされる。すなわち、曲げ半径Rが5.0mm超では細径の光ファイバを用いた場合に、曲げ半径によっては破断歪に至らず、本発明の歪開放加工を必要としない場合があるが、曲げ半径Rを5.0mm以下とすると、取り扱いが困難とならない最小外径aを50μmとした光導波路でも、本発明の歪開放加工が必要となるのである。
この実施例では外径aが80μmである光ファイバを、曲げ半径Rを1mmにして90度に曲げている。
(実施形態3)
この実施例では外径aが80μmである光ファイバを、曲げ半径Rを1mmにして90度に曲げている。
(実施形態3)
図3は、この発明の光導波路の第6の態様の概略を示す図である。実施形態2による微小な空間で光導波方向においては、機械的な破断を回避する方法に重点が置かれていたが、この態様では光学的な特性を良好に維持したまま微小な空間で光導波方向を変換することを可能にしている。光導波路のコアとクラッドの等価屈折率差Δ1が0.8%以上3.5%以下の範囲内、好ましくはΔ1が1.0%以上3.0%以下の範囲内である。すなわち、一般に使用される光導波路では、そのコアとクラッドの等価屈折率差Δ1は0.3%前後が普通である。しかし、0.3%前後の等価屈折率差Δ1の光導波路を、曲げ半径Rを5.0mm以下にして曲げると、コアに閉じ込められた光は、もはや閉じ込められなくなり、クラッドヘと放射してしまい、曲がり部分での光損失が激増する。しかし、等価屈折率差Δ1が0.8%以上3.5%以下の範囲内、好ましくはΔ1が1.0%以上3.0%以下の範囲内で、曲げ半径Rが0.5mmであっても、その曲げ部分での光損失は0.5dB以下に抑えることが可能である。3.5%超となる高い等価屈折率差Δ1にすれば、曲げ半径を0.5mm以下にしても曲げ損失をより小さく出来るが、この場合、単一モード動作を維持する為には、モードフィールド径を極端に小さくする必要が生じ、外部との接続が困難になるので、等価屈折率差Δ1は1.5%以上3.5%以下の範囲内にすることが望ましい。
この実施例では、外径aを80μm、曲げ半径Rを1mmとして90度曲げるのに、等価屈折率差Δ1を2.5%とした光ファイバを用いている。使用波長は1.3μmである。
(実施形態4)
この実施例では、外径aを80μm、曲げ半径Rを1mmとして90度曲げるのに、等価屈折率差Δ1を2.5%とした光ファイバを用いている。使用波長は1.3μmである。
(実施形態4)
図4は、この発明の光導波路モジュールの第1の態様の概略を示す図である。この態様の光導波路モジュールは、本発明の光導波路をアレイ化したものであり、多数チャンネルを一括して光導波方向変換が行える。また、本発明のモジュールの入出力部分が、一般の光導波路と特性が互換の光導波路となっていることで、外部機器との特性の良い接続が可能となる。
この実施例では、外径aが80μm、等価屈折率差Δ1が2.5%の光ファイバを位置決め機構を備えた部材に固定している。また、入力から出力へは90度の光導波方向変換が行われ、研磨端面は入力と出力両方とも、90度面に対し4度ずつ傾けて研磨されている。本数は横一直線に12本が125μm間隔で並んだものである。
(実施形態5)
この実施例では、外径aが80μm、等価屈折率差Δ1が2.5%の光ファイバを位置決め機構を備えた部材に固定している。また、入力から出力へは90度の光導波方向変換が行われ、研磨端面は入力と出力両方とも、90度面に対し4度ずつ傾けて研磨されている。本数は横一直線に12本が125μm間隔で並んだものである。
(実施形態5)
図5は、この発明の光導波路モジュールの第2の態様の概略を示す図である。この態様の光導波路モジュールは、コアとクラッドの等価屈折率差Δ1が0.8%以上3.5%以下の範囲内、好ましくはΔ1が1.0%以上3.0%以下の範囲内である第1の光導波路と、コアとクラッドの等価屈折率差Δ2が0.2%以上である第2の光導波路とを融着接続し、融着接続部分を加熱して前記コアとクラッドの等価屈折率差Δのミスマッチと、モードフィールド径のミスマッチを低減し、光導波路の所望部分を加熱して曲げる光導波路モジュールである。
すなわち、第2の態様による光導波路モジュールでは、高い等価屈折率差の光導波路を使用するため、そのコアやクラッドの等価屈折率は一般の光導波路のコアやクラッドの等価屈折率とは異なる。また、等価屈折率差Δも異なる為、一般の光導波路のモードフィールド径と、本発明の光導波方向変換部に使用する光導波路のモードフィールド径との間に差がある。屈折率の異なるもの同士を接触させて、その部分に光信号を通過させると、屈折率の境界部分で光が反射される。これは、光通信においては避けなければならない現象である。一般にこの反射減衰量として50dB以上が要求される。
また、モードフィールド径が異なるもの同士を接続した場合、接続部分では径差による接続損失が発生する。一般の光導波路のモードフィールド径は使用波長によっても異なるが、約10μm程度であり、本発明の光導波方向変換部に使用する光導波路のモードフィールド径は約3μmである。この径差でそのまま接続すると、接続損失は5dB以上となる。また、外部の機器やレーザーとの接続を容易にする為には、一般の光ファイバと外部機器を接続し、その後、本発明の光導波方向変換部に接続することが、有効である。そこで、第2の態様では、これらの反射、接続損失を低減する為、コアとクラッドの等価屈折率差Δ1が0.8%以上3.5%以下の範囲内、好ましくは1.0%以上3.0%以下の範囲内である第1の光導波路と、コアとクラッドの等価屈折率差Δ2が0.2%以上である第2の光導波路とを融着接続し、融着接続部分を加熱してコアとクラッドの等価屈折率差Δのミスマッチとモードフィールド径のミスマッチを低減させることで、反射減衰量を大きくし、接続損失を抑制している。この方法によって、反射減衰量は50dB以上となり、接続損失は約0.2dBとなった。
この実施例では、外径aが80μm、曲げ半径Rが1mmで90度曲げるのに、等価屈折率差Δ1を2.5%で、使用波長による光導波モードが単一モードとなる光ファイバを用いて、その片側に外径aが80μm、等価屈折率差Δ20.35%で、使用波長による光導波モードが単一モードとなる光ファイバとを融着接続し、融着接続部分をガスバーナーで加熱して等価屈折率差Δのミスマッチとモードフィールド径のミスマッチを低滅させた。使用波長は1.3μmである。測定結果では反射減衰量が50dB以上、接続損失は0.2dBであった。
(実施形態6)
(実施形態6)
図6も、この発明の光導波路モジュールの第2の態様の概略を示す図である。この態様の光導波路モジュールは、コアとクラッドの等価屈折率差Δ1が0.8%以上3.5%以下の範囲内、好ましくは1.0%以上3.0%以下の範囲内である第1の光導波路の両端に、コアとクラッドの等価屈折率差Δ2が0.2%以上である第2の光導波路とを融着接続し、融着接続部分を加熱して前記コアとクラッドの等価屈折率差Δのミスマッチと、モードフィールド径のミスマッチを低減し、光導波路の所望部分を加熱して曲げる光導波路モジュールである。これは実施形態5において、光導波方向変換部の片側にだけ一般の光導波路の特性と互換な光導波路を融着接続して、接続部を加熱することで等価屈折率差Δのミスマッチとモードフィールド径のミスマッチを低減させたが、実施形態6では光導波方向変換部の両側に一般の光導波路の特性と互換な光導波路を融着接続して、接続部を加熱することで等価屈折率差Δのミスマッチとモードフィールド径のミスマッチを低減させる。これにより、光導波方向変換部のどちら側も、外部機器との接続が容易となる。
この実施例では外径aが80μm、曲げ半径Rが1mmで90度曲げるのに、等価屈折率差Δ1を2.5%、使用波長による光導波モードが単一モードとなる光ファイバを用いて、その両側に外径aが80μm、等価屈折率差Δ2が0.35%、使用波長による光導波モードが単一モードとなる光ファイバを融着接続し、融着接続部分をガスバーナーで加熱して、等価屈折率差Δのミスマッチとモードフィールド径のミスマッチを低減させた。使用波長は1.3μmである。測定結果では反射減衰量が50dB以上、接続損失は0.4dB程度であった。
(実施形態7)
(実施形態7)
図7は、この発明の光導波路モジュールの第4から6の態様の概略を示す図である。この発明により、光導波路モジュールを作製するに際し、シートに内蔵される光導波路のコアとクラッドの等価屈折率差Δ1を0.8%以上3.5%以下の範囲内とした。
この実施例では、ガラス部分の外径125μm、被覆外径250μmの一般的な外径の光ファイバを使用しているが、コアとクラッドの等価屈折率差Δ1は2.5%と一般的な単一モード光ファイバの等価屈折率差Δ1である0.3%程度とは異なる、非常に大きな等価屈折率差Δ1の光導波路を使用している。
この実施例では、ガラス部分の外径125μm、被覆外径250μmの一般的な外径の光ファイバを使用しているが、コアとクラッドの等価屈折率差Δ1は2.5%と一般的な単一モード光ファイバの等価屈折率差Δ1である0.3%程度とは異なる、非常に大きな等価屈折率差Δ1の光導波路を使用している。
このような、一般的な単一モード光ファイバの等価屈折率差Δ1と比較して大きな等価屈折率差Δ1を持った光ファイバを用いて光導波路モジュールを作製すると、光導波路モジュールにうねりや曲げが加わっても、それによるロスが低減される。具体的には、一般の光ファイバを用いた光導波路モジュールを、2枚のサンドペーパーで挟み込んで押し付け、その状態のまま−40℃〜+80℃の温度サイクルによる損失変動試験を行った結果では、−40℃の低温時に損失が最大約20dBという、非常に悪い結果であったのに対し、等価屈折率差Δ1が2.5%であること以外は全く条件が同じ光導波路モジュールで、全く同様の試験を行った結果では、−40℃〜+80℃の温度サイクルによる損失変動最大値は約0.1dBであり、殆ど損失変動が現れない。
等価屈折率差Δ1を1.5%まで低くしても、上記試験での損失変動はやはり約0.1dB程度であった。しかし、それ以下の等価屈折率差Δ1では、段々と損失変動が大きくなり、等価屈折率差Δ1が1%になると、前記試験での損失変動は最大で0.5dB程度となった。0.5dBでも実用上の問題は無いが、本発明の光導波路モジュールは前発明の光導波方向変換素子と接続して使用することで、良好な光伝送特性と接続特性を有する電気光融合回路基板を実現させることが可能であるので、前発明の光導波方向変換素子との接続性を考慮して、前発明の光導波方向変換素子で用いた等価屈折率差Δ1の最低値である1.5%以上と規定した。
また、等価屈折率差Δ1が大きくなれば損失変動は小さくなるが、等価屈折率差Δ1を大きくしすぎると、光ファイバ中のモードフィールド径が小さくなり、接続時の高精度な位置精度が求められるようになることと、前発明の光導波方向変換素子との接続性を考慮してΔ1は3.5%以下とした。
機械的に小さく曲げられるようにするには、ガラス部分の外径aをもっと小さくすれば良いが、外径を小さくしすぎると、コアに閉じ込められた光がクラッドが薄すぎるため逃げ出してしまい、伝送損失を発生する。そこで、クラッド径すなわち光ファイバ外径はモードフィールド径の少なくとも10倍以上とすることで、この伝送損失を抑えることが可能となる。
また、細くすることで、本形態で行ったような−40℃〜+80℃の温度サイクルによる損失変動試験には弱くなってしまうが、等価屈折率差Δ1が1.5%以上では光ファイバの外径aを50μmとした、モードフィールド径が5μmのファイバでは、最大損失変動は0.1dB程度と、非常に良好な特性を維持していることが確認された。
(実施形態8)
(実施形態8)
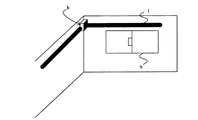
図8は、この発明の光導波路モジュールを宅内での角配線に適用した概念図である。このように、宅内の部屋の角などでの光導波路の配線は、従来光導波路の最小曲げ半径である数cmを確保する必要があったが、本発明の光導波路モジュールを用いることで、モジュールサイズとしても1cm以下の大きさで角配線が可能となった。なお、図8のbは90度で曲げることが可能となったことを示している。
(実施形態9)
(実施形態9)
図9は、本発明の光導波路モジュールを電気光回路融合基板に適用した概略を示す図である。電気光融合基板は2枚の電気回路基板に光導波路モジュールがサンドイッチされた構造となっており、光導波路モジュールの電気回路基板面への90度方向光導波方向変換部端部にこの発明の光導波路モジュールが取り付けられている。
本発明の光導波路により、融着接続による接続損失を低減させながら、所望部分を所望の半径で曲げて、所定の角度に光導波方向を変換することができる。さらに、それらを用いて光導波路モジュールの小型化が可能となり、産業上の利用価値が高い。
1 光ファイバ
2 アーク放電
3 電極
4 所望部分
5 位置決め機構
6 部材
7 融着接続部
8 シート
9 窓
10 光導波路モジュール
11 電気光回路融合基板
2 アーク放電
3 電極
4 所望部分
5 位置決め機構
6 部材
7 融着接続部
8 シート
9 窓
10 光導波路モジュール
11 電気光回路融合基板
Claims (13)
- コアとクラッドを有する光導波路であって、所望部分が加熱されて、加工歪開放状態に移行し、
当該加工歪開放状態に移行した前記部分を所定の曲げ半径で曲線状に曲げられて、加工歪状態に移行していることを特徴とする光導波路。 - 前記光導波路の前記部分を屈曲点以上軟化点以下の範囲内の温度に加熱して、加工歪状態に移行していることを特徴とする、請求項1記載の光導波路。
- 前記光導波路は、外径が50μm以上の光ファイバであることを特徴とする、請求項1または2に記載の光導波路。
- 前記光導波路は、外径が前記光導波路のモードフィールド径の10倍以上であることを特徴とする、請求項1または2に記載の光導波路。
- 前記光導波路は、前記曲げ半径が5.0mm以下であることを特徴とする、請求項1から4の何れか1項に記載の光導波路。
- 前記光導波路のコアとクラッドの等価屈折率差Δ1が0.8%以上3.5%以下の範囲内であることを特徴とする、請求項1から5の何れか1項に記載の光導波路。
- 請求項1から6の何れか1項に記載の光導波路が複数本の光導波路からなっており、前記複数本の光導波路がアレイ状に並べられて、前記光導波路の少なくとも一部が位置決め機構を備えた部材に固定されていることを特徴とする光導波路モジュール。
- 請求項1から6の何れか1項に記載の光導波路の少なくとも片端に、コアとクラッドの等価屈折率差Δ2が0.2%以上である光導波路を融着接続し、融着接続した部分を加熱して、前記コアとクラッドの等価屈折率差Δのミスマッチとモードフィールド径のミスマッチとを低減することを特徴とする光導波路モジュール。
- 請求項1から6の何れか1項に記載の光導波路が、1枚のシート上に配線された状態で固定されていることを特徴とする光導波路モジュール。
- 請求項1から6の何れか1項に記載の光導波路が、少なくとも2枚のシート間に配線された状態で固定されていることを特徴とする光導波路モジュール。
- 前記光導波路が複数本の光導波路からなっており、配線された状態で固定されていることを特徴とする、請求項9または10に記載の光導波路モジュール。
- 前記シートの材質が可撓性を有する材質であることを特徴とする、請求項9から11の何れか1項に記載の光導波路モジュール。
- 光導波路の所望部分を加熱し、
前記光導波路の前記部分を加工歪開放状態に移行し、
加工歪開放状態に移行した前記光導波炉の前記部分を所定の曲げ半径に曲げ、
所定の曲げ半径に曲げた状態で前記光導波路の前記部分を加工歪状態に移行する
ことを特徴とする光導波路の作成方法。
Priority Applications (6)
| Application Number | Priority Date | Filing Date | Title |
|---|---|---|---|
| JP2004111211A JP2005292718A (ja) | 2004-04-05 | 2004-04-05 | 光導波路、光導波路モジュールおよび光導波路の作成方法 |
| EP05727267A EP1736805A4 (en) | 2004-04-05 | 2005-03-30 | OPTICAL WAVEGUIDE AND METHOD FOR MAKING OPTICAL WAVEGUIDES |
| US11/547,610 US20070183730A1 (en) | 2004-04-05 | 2005-03-30 | Optical waveguide, optical waveguide module and method for forming optical waveguide |
| CN2005800178183A CN1973221B (zh) | 2004-04-05 | 2005-03-30 | 光波导、光波导模块以及光波导的制作方法 |
| PCT/JP2005/006169 WO2005098490A1 (ja) | 2004-04-05 | 2005-03-30 | 光導波路、光導波路モジュールおよび光導波路の作成方法 |
| US13/016,580 US8014644B2 (en) | 2004-04-05 | 2011-01-28 | Optical waveguide, optical waveguide module and method for forming optical waveguide |
Applications Claiming Priority (1)
| Application Number | Priority Date | Filing Date | Title |
|---|---|---|---|
| JP2004111211A JP2005292718A (ja) | 2004-04-05 | 2004-04-05 | 光導波路、光導波路モジュールおよび光導波路の作成方法 |
Publications (1)
| Publication Number | Publication Date |
|---|---|
| JP2005292718A true JP2005292718A (ja) | 2005-10-20 |
Family
ID=35125215
Family Applications (1)
| Application Number | Title | Priority Date | Filing Date |
|---|---|---|---|
| JP2004111211A Pending JP2005292718A (ja) | 2004-04-05 | 2004-04-05 | 光導波路、光導波路モジュールおよび光導波路の作成方法 |
Country Status (5)
| Country | Link |
|---|---|
| US (2) | US20070183730A1 (ja) |
| EP (1) | EP1736805A4 (ja) |
| JP (1) | JP2005292718A (ja) |
| CN (1) | CN1973221B (ja) |
| WO (1) | WO2005098490A1 (ja) |
Cited By (10)
| Publication number | Priority date | Publication date | Assignee | Title |
|---|---|---|---|---|
| JP2009244612A (ja) * | 2008-03-31 | 2009-10-22 | Furukawa Electric Co Ltd:The | 光導波路取付部品、光導波路コネクタ及び光導波路コネクタの製造方法 |
| JP2009244750A (ja) * | 2008-03-31 | 2009-10-22 | Furukawa Electric Co Ltd:The | ファイバ曲がりコネクタ部品およびその製造方法 |
| JP2010049173A (ja) * | 2008-08-25 | 2010-03-04 | Tomoegawa Paper Co Ltd | 光学接続構造 |
| CN102005688A (zh) * | 2010-09-17 | 2011-04-06 | 山东大学 | 在钕掺杂钒酸镥晶体内制备条形波导激光器件的方法 |
| JP2013047856A (ja) * | 2006-11-20 | 2013-03-07 | Furukawa Electric Co Ltd:The | 光導波路部品および光導波路部品の製造方法 |
| JP2013238721A (ja) * | 2012-05-15 | 2013-11-28 | Sumitomo Electric Ind Ltd | マルチコア光ファイバ実装方法 |
| JP2017021360A (ja) * | 2016-09-07 | 2017-01-26 | 住友電気工業株式会社 | 変換素子 |
| US9594220B1 (en) | 2015-09-22 | 2017-03-14 | Corning Optical Communications LLC | Optical interface device having a curved waveguide using laser writing and methods of forming |
| US9766411B2 (en) | 2015-11-20 | 2017-09-19 | Corning Optical Communications LLC | Optical interface devices and methods employing optical fibers and a support member having a bend section |
| US10036856B2 (en) | 2014-07-11 | 2018-07-31 | Furukawa Electric Co., Ltd. | Connector with built-in bent optical fibers and method for producing bent optical fibers |
Families Citing this family (60)
| Publication number | Priority date | Publication date | Assignee | Title |
|---|---|---|---|---|
| HUE055861T2 (hu) | 2004-04-21 | 2021-12-28 | Alexion Pharma Inc | Csontbejuttató konjugátumok és azok alkalmazási módszere fehérjék csonthoz kötéséhez |
| KR101327703B1 (ko) * | 2008-10-17 | 2013-11-11 | 가부시키가이샤 도모에가와 세이시쇼 | 광전송매체 성형방법, 광전송매체 성형장치 및 광전송매체 제조방법 |
| US8905610B2 (en) | 2009-01-26 | 2014-12-09 | Flex Lighting Ii, Llc | Light emitting device comprising a lightguide film |
| WO2010126492A1 (en) | 2009-04-28 | 2010-11-04 | Hewlett-Packard Development Company, L . P . | Angled coupling for optical fibers |
| US20100284656A1 (en) * | 2009-05-07 | 2010-11-11 | Ofs Fitel, Llc | Short profile optical connector |
| PT3175863T (pt) | 2009-05-20 | 2022-01-20 | Biomarin Pharm Inc | Variantes do péptido natriurético de tipo c |
| US8125856B1 (en) * | 2009-11-05 | 2012-02-28 | Western Digital (Fremont), Llc | Method and system for optically coupling a laser with a transducer in an energy assisted magnetic recording disk drive |
| US9651729B2 (en) | 2010-04-16 | 2017-05-16 | Flex Lighting Ii, Llc | Reflective display comprising a frontlight with extraction features and a light redirecting optical element |
| WO2012068543A1 (en) | 2010-11-18 | 2012-05-24 | Flex Lighting Ii, Llc | Light emitting device comprising a lightguide film and aligned coupling lightguides |
| WO2012088608A1 (en) | 2010-12-27 | 2012-07-05 | Enobia Canada Limited Partnership | Compositions comprising natriuretic peptides and methods of use thereof |
| US9645304B2 (en) | 2011-03-09 | 2017-05-09 | Flex Lighting Ii Llc | Directional front illuminating device comprising a film based lightguide with high optical clarity in the light emitting region |
| WO2012143541A1 (en) * | 2011-04-20 | 2012-10-26 | Mapper Lithography Ip B.V. | Arrangement of optical fibers, and a method of forming such arrangement |
| WO2013058833A1 (en) | 2011-10-19 | 2013-04-25 | Enobia Canada Limited Partnership | Compositions comprising alkaline phosphatase and/or natriuretic peptide and methods of use thereof |
| US9075566B2 (en) | 2012-03-02 | 2015-07-07 | Microsoft Technoogy Licensing, LLC | Flexible hinge spine |
| US9134807B2 (en) | 2012-03-02 | 2015-09-15 | Microsoft Technology Licensing, Llc | Pressure sensitive key normalization |
| US20130300590A1 (en) | 2012-05-14 | 2013-11-14 | Paul Henry Dietz | Audio Feedback |
| US10052366B2 (en) | 2012-05-21 | 2018-08-21 | Alexion Pharmaceuticsl, Inc. | Compositions comprising alkaline phosphatase and/or natriuretic peptide and methods of use thereof |
| US11009646B2 (en) | 2013-03-12 | 2021-05-18 | Azumo, Inc. | Film-based lightguide with interior light directing edges in a light mixing region |
| US9690032B1 (en) * | 2013-03-12 | 2017-06-27 | Flex Lighting Ii Llc | Lightguide including a film with one or more bends |
| JP6268977B2 (ja) * | 2013-11-25 | 2018-01-31 | 住友電気工業株式会社 | 屈曲光ファイバの製造方法 |
| US10822596B2 (en) | 2014-07-11 | 2020-11-03 | Alexion Pharmaceuticals, Inc. | Compositions and methods for treating craniosynostosis |
| US10324733B2 (en) | 2014-07-30 | 2019-06-18 | Microsoft Technology Licensing, Llc | Shutdown notifications |
| US9304235B2 (en) | 2014-07-30 | 2016-04-05 | Microsoft Technology Licensing, Llc | Microfabrication |
| US10254942B2 (en) | 2014-07-31 | 2019-04-09 | Microsoft Technology Licensing, Llc | Adaptive sizing and positioning of application windows |
| US10592080B2 (en) | 2014-07-31 | 2020-03-17 | Microsoft Technology Licensing, Llc | Assisted presentation of application windows |
| US9787576B2 (en) | 2014-07-31 | 2017-10-10 | Microsoft Technology Licensing, Llc | Propagating routing awareness for autonomous networks |
| US10678412B2 (en) | 2014-07-31 | 2020-06-09 | Microsoft Technology Licensing, Llc | Dynamic joint dividers for application windows |
| AU2015357551B2 (en) | 2014-12-05 | 2021-02-25 | Alexion Pharmaceuticals, Inc. | Treating seizure with recombinant alkaline phosphatase |
| EP3250227A2 (en) | 2015-01-28 | 2017-12-06 | Alexion Pharmaceuticals, Inc. | Methods of treating a subject with an alkaline phosphatase deficiency |
| US9513480B2 (en) | 2015-02-09 | 2016-12-06 | Microsoft Technology Licensing, Llc | Waveguide |
| US9372347B1 (en) | 2015-02-09 | 2016-06-21 | Microsoft Technology Licensing, Llc | Display system |
| US11086216B2 (en) | 2015-02-09 | 2021-08-10 | Microsoft Technology Licensing, Llc | Generating electronic components |
| US9429692B1 (en) | 2015-02-09 | 2016-08-30 | Microsoft Technology Licensing, Llc | Optical components |
| US9423360B1 (en) | 2015-02-09 | 2016-08-23 | Microsoft Technology Licensing, Llc | Optical components |
| US10018844B2 (en) | 2015-02-09 | 2018-07-10 | Microsoft Technology Licensing, Llc | Wearable image display system |
| US10317677B2 (en) | 2015-02-09 | 2019-06-11 | Microsoft Technology Licensing, Llc | Display system |
| US9535253B2 (en) | 2015-02-09 | 2017-01-03 | Microsoft Technology Licensing, Llc | Display system |
| US9827209B2 (en) | 2015-02-09 | 2017-11-28 | Microsoft Technology Licensing, Llc | Display system |
| DE112015006766T5 (de) * | 2015-08-04 | 2018-04-19 | Sumitomo Electric Industries, Ltd. | Optische Verbindungskomponente |
| EP3337894A1 (en) | 2015-08-17 | 2018-06-27 | Alexion Pharmaceuticals, Inc. | Manufacturing of alkaline phosphatases |
| EP3355904A4 (en) | 2015-09-28 | 2019-06-12 | Alexion Pharmaceuticals, Inc. | IDENTIFICATION OF EFFECTIVE DOSE SHEETS FOR TISSUE-SPECIFIC ALKALINE PHOSPHATASE ENZYMERSAT THERAPY OF HYPOPHOSPHATASIA |
| WO2017074466A1 (en) | 2015-10-30 | 2017-05-04 | Alexion Pharmaceuticals, Inc. | Methods for treating craniosynostosis in a patient |
| EP3426286A4 (en) | 2016-03-08 | 2019-12-04 | Alexion Pharmaceuticals, Inc. | PROCESS FOR TREATING HYPOPHOSPHATASIA IN CHILDREN |
| WO2017173395A1 (en) | 2016-04-01 | 2017-10-05 | Alexion Pharmaceuticals, Inc. | Methods for treating hypophosphatasia in adolescents and adults |
| US11186832B2 (en) | 2016-04-01 | 2021-11-30 | Alexion Pharmaceuticals, Inc. | Treating muscle weakness with alkaline phosphatases |
| US10988744B2 (en) | 2016-06-06 | 2021-04-27 | Alexion Pharmaceuticals, Inc. | Method of producing alkaline phosphatase |
| CN109416434B (zh) * | 2016-07-15 | 2021-03-16 | 住友电气工业株式会社 | 制造光学连接部件的方法 |
| EP3500289B1 (en) | 2016-08-18 | 2024-10-09 | Alexion Pharmaceuticals, Inc. | Asfotase alfa for use in treating tracheobronchomalacia |
| JP6834254B2 (ja) | 2016-08-30 | 2021-02-24 | 住友電気工業株式会社 | 屈曲光ファイバの製造方法 |
| US10422950B2 (en) | 2017-02-20 | 2019-09-24 | Corning Optical Communications LLC | Laminated glass bend optical interconnection apparatus and methods |
| MX2019011508A (es) | 2017-03-31 | 2019-11-01 | Alexion Pharma Inc | Metodos para tratar la hipofosfatasia (hpp) en adultos y adolescentes. |
| US11913039B2 (en) | 2018-03-30 | 2024-02-27 | Alexion Pharmaceuticals, Inc. | Method for producing recombinant alkaline phosphatase |
| EP3833377B1 (en) | 2018-08-10 | 2023-11-22 | Alexion Pharmaceuticals, Inc. | Bone healing at implants using alkaline phosphatase |
| US11994698B2 (en) | 2018-08-30 | 2024-05-28 | Azumo, Inc. | Film-based frontlight with angularly varying diffusion film |
| WO2020123539A1 (en) | 2018-12-11 | 2020-06-18 | Flex Lighting Ii, Llc | Front illumination lightguide with a diffusely reflective release liner |
| WO2020142731A1 (en) | 2019-01-03 | 2020-07-09 | Flex Lighting Ii, Llc | Reflective display comprising a lightguide and light turning film creating multiple illumination peaks |
| CN117891020A (zh) | 2019-01-09 | 2024-04-16 | 阿祖莫公司 | 包括以不同的折叠角折叠的耦合光导的反射型显示器 |
| WO2021022307A1 (en) | 2019-08-01 | 2021-02-04 | Flex Lighting Ii, Llc | Lightguide with a light input edge between lateral edges of a folded strip |
| US12433938B2 (en) | 2019-12-09 | 2025-10-07 | Alexion Pharmaceuticals, Inc. | Alkaline phosphatase polypeptides and methods of use thereof |
| KR20230145120A (ko) | 2021-02-12 | 2023-10-17 | 알렉시온 파마슈티칼스, 인코포레이티드 | 알칼리성 포스파타제 폴리펩타이드 및 이의 사용 방법 |
Family Cites Families (17)
| Publication number | Priority date | Publication date | Assignee | Title |
|---|---|---|---|---|
| US4389090A (en) * | 1980-09-04 | 1983-06-21 | The Board Of Trustees Of Leland Stanford Jr. Univ. | Fiber optic polarization controller |
| US4444460A (en) * | 1981-05-26 | 1984-04-24 | Gould Inc. | Optical fiber apparatus including subtstrate ruggedized optical fibers |
| JPS5898706A (ja) * | 1981-12-07 | 1983-06-11 | Sumitomo Electric Ind Ltd | プラスチツク光フアイバの製造方法 |
| EP0258403A4 (en) * | 1986-02-20 | 1989-08-22 | Dow Chemical Co | POLYMERIC OPTICAL FIBER. |
| US4812001A (en) * | 1987-07-28 | 1989-03-14 | Raychem Corp. | Annealing bent optical fiber |
| US4875969A (en) * | 1988-10-07 | 1989-10-24 | Eastman Kodak Company | Method of making a fiber optic array |
| US5138676A (en) * | 1990-06-15 | 1992-08-11 | Aster Corporation | Miniature fiberoptic bend device and method |
| DE69230568T2 (de) * | 1991-08-26 | 2000-06-15 | Nippon Telegraph And Telephone Corp., Tokio/Tokyo | Optische Faser für optische Verstärker |
| US5553177A (en) * | 1992-01-15 | 1996-09-03 | Ceramoptec Industries, Inc. | Optical fiber device which increases light intensity |
| JPH05319843A (ja) * | 1992-05-18 | 1993-12-03 | Fujitsu Ltd | 曲がり光導波路基板の製造方法 |
| ATE294403T1 (de) | 1998-08-25 | 2005-05-15 | Alcoa Fujikura Ltd A Delaware | Asymmetrische miniaturkrümmungen in optischen fasern und ihre herstellungsverfahren |
| JP2000329950A (ja) | 1999-05-24 | 2000-11-30 | Fujikura Ltd | フレキシブル光ファイバシート |
| CA2311966A1 (en) * | 1999-06-23 | 2000-12-23 | Stavros Dariotis | Optical fiber mach-zehnder interferometer employing miniature bends |
| US6612753B1 (en) | 1999-08-11 | 2003-09-02 | Alcoa Fujikura Ltd. | Miniature bend splice in optical fibers and method of forming same |
| JP2002202429A (ja) * | 2000-12-28 | 2002-07-19 | Sumitomo Electric Ind Ltd | 光ファイバ接続方法および光伝送路 |
| US6904197B2 (en) * | 2002-03-04 | 2005-06-07 | Corning Incorporated | Beam bending apparatus and method of manufacture |
| JP3866172B2 (ja) * | 2002-08-27 | 2007-01-10 | 富士通株式会社 | 光モジュール及びファイバシート |
-
2004
- 2004-04-05 JP JP2004111211A patent/JP2005292718A/ja active Pending
-
2005
- 2005-03-30 EP EP05727267A patent/EP1736805A4/en not_active Ceased
- 2005-03-30 CN CN2005800178183A patent/CN1973221B/zh not_active Expired - Fee Related
- 2005-03-30 WO PCT/JP2005/006169 patent/WO2005098490A1/ja not_active Ceased
- 2005-03-30 US US11/547,610 patent/US20070183730A1/en not_active Abandoned
-
2011
- 2011-01-28 US US13/016,580 patent/US8014644B2/en not_active Expired - Lifetime
Cited By (11)
| Publication number | Priority date | Publication date | Assignee | Title |
|---|---|---|---|---|
| JP2013047856A (ja) * | 2006-11-20 | 2013-03-07 | Furukawa Electric Co Ltd:The | 光導波路部品および光導波路部品の製造方法 |
| JP2009244612A (ja) * | 2008-03-31 | 2009-10-22 | Furukawa Electric Co Ltd:The | 光導波路取付部品、光導波路コネクタ及び光導波路コネクタの製造方法 |
| JP2009244750A (ja) * | 2008-03-31 | 2009-10-22 | Furukawa Electric Co Ltd:The | ファイバ曲がりコネクタ部品およびその製造方法 |
| JP2010049173A (ja) * | 2008-08-25 | 2010-03-04 | Tomoegawa Paper Co Ltd | 光学接続構造 |
| CN102005688A (zh) * | 2010-09-17 | 2011-04-06 | 山东大学 | 在钕掺杂钒酸镥晶体内制备条形波导激光器件的方法 |
| JP2013238721A (ja) * | 2012-05-15 | 2013-11-28 | Sumitomo Electric Ind Ltd | マルチコア光ファイバ実装方法 |
| US10036856B2 (en) | 2014-07-11 | 2018-07-31 | Furukawa Electric Co., Ltd. | Connector with built-in bent optical fibers and method for producing bent optical fibers |
| US9594220B1 (en) | 2015-09-22 | 2017-03-14 | Corning Optical Communications LLC | Optical interface device having a curved waveguide using laser writing and methods of forming |
| US9784930B2 (en) | 2015-09-22 | 2017-10-10 | Corning Optical Communications LLC | Optical interface device having a curved waveguide using laser writing and methods of forming |
| US9766411B2 (en) | 2015-11-20 | 2017-09-19 | Corning Optical Communications LLC | Optical interface devices and methods employing optical fibers and a support member having a bend section |
| JP2017021360A (ja) * | 2016-09-07 | 2017-01-26 | 住友電気工業株式会社 | 変換素子 |
Also Published As
| Publication number | Publication date |
|---|---|
| EP1736805A1 (en) | 2006-12-27 |
| CN1973221B (zh) | 2010-07-28 |
| CN1973221A (zh) | 2007-05-30 |
| WO2005098490A1 (ja) | 2005-10-20 |
| US20110135261A1 (en) | 2011-06-09 |
| US20070183730A1 (en) | 2007-08-09 |
| US8014644B2 (en) | 2011-09-06 |
| EP1736805A4 (en) | 2007-08-22 |
Similar Documents
| Publication | Publication Date | Title |
|---|---|---|
| JP2005292718A (ja) | 光導波路、光導波路モジュールおよび光導波路の作成方法 | |
| US9594220B1 (en) | Optical interface device having a curved waveguide using laser writing and methods of forming | |
| EP3807684B1 (en) | High-density optical fiber ribbon and ribbon cable interconnects employing small diameter optical fibers | |
| CN106443900B (zh) | 光学连接器 | |
| US11105981B2 (en) | Optical connectors and detachable optical connector assemblies for optical chips | |
| JP5485355B2 (ja) | 光導波路部品および光導波路部品の製造方法 | |
| TWI682201B (zh) | 光連接零件 | |
| CN101395510A (zh) | 光纤、光纤带以及光互连系统 | |
| CN101371174A (zh) | 光纤及光纤带以及光互连系统 | |
| KR100980138B1 (ko) | 이중 대역 내굴성 광 도파체 | |
| US12366710B2 (en) | Fiber optic ferrule and interface for coupling hollow-core and solid-core optical fibers | |
| JP4268177B2 (ja) | 光導波路、光導波路モジュールおよび光導波路の製造方法 | |
| US9482830B2 (en) | Device-to-device optical connectors | |
| CN220858113U (zh) | 低等待时间自由空间光数据通信信道 | |
| Shimakawa et al. | Connector type fan-out device for multi-core fiber | |
| JP4276990B2 (ja) | 光ファイバコリメータおよびこれを用いた光ファイバ部品 | |
| JP2016212414A (ja) | 導波路用結合回路 | |
| JP5158870B2 (ja) | 光伝送システム | |
| Morimoto et al. | Small-radius 90°-bent single mode fiber for optical interconnection | |
| Sugizaki et al. | Bend insensitive small diameter fibers for optical interconnection systems | |
| WO2024035579A1 (en) | Expanded beam connectors and associated systems and methods | |
| WO2024214484A1 (ja) | 光接続アセンブリ | |
| CN121299864A (zh) | 一种用于骨干网的空分复用多芯光纤缆 | |
| JP2009063633A (ja) | 光コネクタ | |
| Gillham et al. | Miniature fiber optic loop for compact optical sensors |