JP2005292531A - 光量調節装置及びこれを用いたプロジェクタ - Google Patents

光量調節装置及びこれを用いたプロジェクタ Download PDF

Info

Publication number
JP2005292531A
JP2005292531A JP2004108719A JP2004108719A JP2005292531A JP 2005292531 A JP2005292531 A JP 2005292531A JP 2004108719 A JP2004108719 A JP 2004108719A JP 2004108719 A JP2004108719 A JP 2004108719A JP 2005292531 A JP2005292531 A JP 2005292531A
Authority
JP
Japan
Prior art keywords
light
optical path
light amount
amount adjusting
light quantity
Prior art date
Legal status (The legal status is an assumption and is not a legal conclusion. Google has not performed a legal analysis and makes no representation as to the accuracy of the status listed.)
Pending
Application number
JP2004108719A
Other languages
English (en)
Inventor
Toyoyuki Hara
豊幸 原
Katsura Nakajima
桂 中島
Norio Kusunoki
徳郎 楠
Yukihiko Hayakawa
幸彦 早川
Current Assignee (The listed assignees may be inaccurate. Google has not performed a legal analysis and makes no representation or warranty as to the accuracy of the list.)
Canon Finetech Nisca Inc
Original Assignee
Nisca Corp
Priority date (The priority date is an assumption and is not a legal conclusion. Google has not performed a legal analysis and makes no representation as to the accuracy of the date listed.)
Filing date
Publication date
Application filed by Nisca Corp filed Critical Nisca Corp
Priority to JP2004108719A priority Critical patent/JP2005292531A/ja
Priority to US11/060,620 priority patent/US7344255B2/en
Publication of JP2005292531A publication Critical patent/JP2005292531A/ja
Pending legal-status Critical Current

Links

Images

Landscapes

  • Diaphragms For Cameras (AREA)
  • Projection Apparatus (AREA)

Abstract

【課題】投影光路の周側縁部に設けた一対の光量調節板を光路進行方向に揺動させ装置の小型コンパクト化を図る際に光量調節用の羽根部材が機体差による寸法誤差或いはガタつきによって光量にバラつきが生ずることを解決する。
【解決手段】退避位置で光量調節板21a,21bの回動を規制するストッパー部材10a,10bなどの規制部材と、この規制部材に上記光量調節板21a,21bを保持する保持手段を設ける。そして規制部材10a,10bを前記光量調節板21a,21bの所定角度以上の回動を阻止するストッパー部材10a,10bで構成し、保持手段はこのストッパー部材10a,10bに光量調節板21a,21bを付勢するスプリング43、マグネットなどの付勢手段で構成する。
【選択図】図8

Description

本発明は液晶パネルなどの画像形成手段で形成した画像を投影レンズでスクリーン上に投影する際の光量を調節する光量調節装置及びこれを用いたプロジェクタ装置に関する。
一般に液晶プロジェクタなどの光映像をスクリーン上に投影する装置は、コンピュータ、テレビなどの画像機器に接続され、これ等の画像機器から出力された映像を投射レンズでスクリーン上に投影するものとして広く使用されている。
このようなプロジェクタ装置で投影した光画像は使用する環境によって眩しく感じたり、暗く感ずることがある。その原因は例えば暗い場所で使用する人間の瞳孔が開いている状態で急に明るい映像にすると光を実際より強く感ずる為であり、逆に明るい場所ではスクリーンの画面を暗く感ずる等周囲の明るさによる見易さが問題となる。
そこでスクリーンに投影する画像の明るさを周囲の環境に応じて調節する必要が生ずる。従来このような投影光量を調節する方法としては、液晶パネル等に照射する光源を調節するか、液晶パネルに印加する電圧を調節する方法が例えば特許文献1(特開2000−28988号公報)に知られている。
従来このような投影光量(スクリーン画像の明るさ)を調節する方法としては液晶パネルに印加する電圧を調節することが知られている。しかし液晶パネルは電圧と透過率との間に特有の関係があり、電圧を変えることで明るさを変える際に赤青緑が均等に変化するように電圧をコントロールするのは難しく、また、明るさの調節の際に色あいも変わってしまうという問題があった。
そこで投影レンズで投射する光量を遮光マスク板で調節してスクリーン画像の明るさを一定に調節することが例えば特許文献2(特開2003−121938号公報)などで提案されている。同文献には投射レンズの前面にレンズの投影光路と直交する方向に投影孔(レンズ孔)を有するベース部材を設け、このベース部材に投影孔の口径を大小に調節する遮光板(マスク部材)を光路と直交する方向に開閉自在に取付けて光量調節するものが開示されている。従って液晶パネルに形成された画像は光源からの光を受けて投射レンズでスクリーンに照射される際の画隔を投影光路に対して直交する平面に設けられた遮光板で光路の開口を大小に調節することによってスクリーン上の画像の明るさを調節するようにしている。
特開2000−28988号公報 特開2003−121938号公報
上述のように投射レンズで投影する光路の光量を遮光板(マスク部材)で調節する際に前掲特許文献2のように投影光路と直交する平面でこの平面に設けた遮光板をスライド移動させて光量調節しようとすると投影レンズの側部に遮光部材(羽根状のマスク板など)が進退するスペースとこの遮光部材を開閉する駆動機構の配置スペースが必要となる。
一方投影レンズは通常円形状であり筒形状の鏡筒部に組込まれる為レンズの側方に光量調節装置が突出することとなる。従って装置の小型化、省スペース化に好ましくない結果をもたらしていた。かかる問題を解決する為本発明は投影レンズでスクリーン上に投影する光路の左右に一対の遮光板(羽根部材)を設け、この遮光板を光路の進行方向に揺動させて光路の開口量を調節することによって遮光板を光路と直交する平面内で進退自在に構成する場合に比べ装置の省スペース化と小型化を図るとの知見に基づいてなされたものである。
ところがこのような構成の採用により新たに次の問題が生ずる。つまり図11に示すように投影光路内にこの光路の進行方向に回動(揺動)自在の一対の羽根部材は開閉機構のガタつきによって正確な光量のコントロールが難しく、特に光路の開口を大きく開いた状態での光量調節が困難となる。図11の(a)は光路を全開した状態図であり、同(b)は光路を全閉した状態図である。そこで光路を全閉した進入位置(図11(b))に比べ、光路を全開した退避位置(図11(a))において、光量調節手段C20がガタ付き等で内側に角度Φズレた場合には、光量調節手段C20の先端部は内側に位置デルタ2入り込み、光量を遮り、適正な光量調節をすることが出来ない。このズレは、例えば、光量調節手段C20の板長Loを10mm、ズレ角度Φを5度とした場合、退避位置(図11(a))でズレ量デルタ2が約0.87mm(デルタ2=Lo×tanΦ)、進入位置(図11(b))でズレ量デルタ1が約0.04mm(デルタ1=Lo(1−cosΦ))となり、全開した退避位置(図11(a))では全閉した進入位置(図11(b))に比べ比較にならない程ズレが大きく、この全開した退避位置(図11(a))でのズレを解消することが必要となる。
従って、本発明は投影光路の周側縁部に設けた一対の光量調節部材を光路進行方向に揺動させて装置の小型コンパクト化を図る際に、光量調節用の羽根部材が機体差による寸法誤差或いはガタつきによって光量にバラつきが生ずることが無く、装置の小型コンパクト化と同時に光量調節が容易かつ正確な光量調節装置及びこれを用いたプロジェクタ装置の提供をその課題としている。
まず、光量調節装置に係わる請求項1の発明は、光源からの光を投影する光路の周側縁部に少なくとも一対の光量調節板を配置する。この光量調節板は上記光路の対向する側縁部に配置した一対の回転支軸に支持して上記光路の進行方向に揺動可能にする。そしてこの光量調節板を上記光路内に進入した絞り位置と上記光路外に退避した退避位置との間で開閉駆動する駆動手段を設け、上記退避位置で上記光量調節板の回動を規制するストッパー部材などの規制部材と、この規制部材に上記光量調節板を保持する保持手段を設ける。これにより、光量調節板は光路の左右側縁から光の進行方向に所定角度揺動して光量を調節することとなりこの光量調節板が光路と直交する方向に突出することが無く、この場合に光量調節板は退避位置で規制部材に規制され保持部材で保持されるからガタつきや外部の衝撃によって振動する恐れがない。
請求項2の発明は請求項1の構成において、前記規制部材を前記光量調節板の所定角度以上の回動を阻止するストッパー部材で構成し、前記保持手段をこのストッパー部材に光量調節板を付勢するスプリング、マグネットなどの付勢手段で構成したものであり、これにより光量調節板を確実に保持することができ、その為の機構も簡潔となる。
請求項3の発明は請求項1の構成において、前記駆動手段をモータその他の駆動源と、この駆動源の駆動力を前記光量調節板に伝達する伝動部材とで構成し、この伝動部材に前記光量調節板を規制部材に付勢する付勢手段を設けたものであり、これにより伝動部材で駆動力の伝達と同時に付勢手段を構成することが出来、装置構造が簡潔かつコンパクトとなる。
請求項4の発明は、光源からの光を投影する光路の周側縁部に配置された少なくとも一対の光量調節板と、上記光量調節板を上記光路の進行方向に揺動可能に支持する上記光路の対向する側縁部に配置された一対の回転支軸と、上記光量調節板を上記光路内に進入した絞り位置と上記光路外に退避した退避位置との間で開閉駆動する駆動手段と、上記退避位置で上記光量調節板の所定角度以上の回動を阻止する規制部材とを備え、上記駆動手段を駆動回転軸を有するモータと、この駆動回転軸の回転で所定量往復運動する第1の伝動レバー部材と、この第1の伝動レバー部材の運動を上記光量調節板に伝達する第2の伝動レバー部材とで構成し、上記第1の伝動レバー部材と第2の伝動レバー部材との間に上記光量調節板を退避位置で上記規制部材に付勢する付勢手段を設けたものであり、これにより請求項3の発明と同様の結果を得ることが出来る。
請求項5の発明は、請求項4の構成において、前記モータはステッピングモータで構成され、その非通電時の磁気吸引トルクにより前記光量調節板を前記絞り位置に保持したものであり、これにより光量調節板を絞り位置に保持する特別な機構を必要とすることなく、しかも光量調節にバラつきなどの影響を及ぼすことが少ない。
請求項6の発明は、プロジェクタ装置に係わり、映像を形成する像形成手段と、光源からの光を上記像形成手段に照射して投写する投影光路と、この投影光路の対向する側縁部に配置された少なくとも一対の光量調節板と、上記光量調節板を上記投影光路の進行方向に揺動可能に支持する上記光路の対向する側縁部に配置された一対の回転支軸と、上記光量調節板を上記投影光路内に進入した絞り位置と上記投影光路外に退避した退避位置との間で開閉駆動する駆動手段とを備え、上記退避位置で上記光量調節板の回動を規制する規制部材と、この規制部材に上記光量調節板を保持する保持手段とを設けたものであり、これによりプロジェクタ
装置を小型でコンパクトに構成することが出来る。
本発明は投影光路の対向する周側縁部に一対の光量調節板を光路の進行方向に揺動するように回転支軸に支持したものであるので光量調節板が投影レンズの側方に大きく張り出すことがなく装置を小型かつコンパクトに構成することが出来る。
また、この場合光量調節板は全開状態のとき規制部材に位置決めされその位置に保持される為、この調節板の寸法誤差或いはこれを開閉駆動する駆動装置及び伝動機構に生じるガタつきによって調節される光量にバラつきが生ずることが少なく、常に正確な光量調節が可能である。
以下本発明の好適な実施の形態について図面に基づいて説明する。
図1は本発明を用いたプロジェクタの概略の構成図であり、図2はその光量調節の概念説明図であり、図3は光量調節装置の全体説明図である。図1においてプロジェクタ装置は光源Aと、この光源Aからの光を平行光線に変換するコンデンサーレンズBと、このレンズBからの光を色光分離するダイクロイックミラーを含む照明光学系Dと、この照明光学系Dからの光を受ける液晶パネルEと、この液晶パネルEを通過した光を投写する投写レンズFとから構成される。この投影光学系は種々の方法が知られ、光源部(光源Aなど)と像形成部(液晶パネルEなど)と投影部(投写レンズFなど)とをケーシング内に適宜の構成で組込んでプロジェクタ装置が構成される。
このようなプロジェクタ装置に内蔵される光量調節装置Cは例えばコンデンサーレンズBと照明光学系Dとの間に以下の構造で組込まれる。
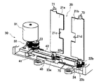
図3に示す光量調節装置Cはプロジェクタ装置の光路Rの周囲を囲む枠組フレーム10に光量調節板20と駆動装置30と伝動機構40とを組込んだユニットとして構成されている。
枠組フレーム10は適宜の樹脂材料でプロジェクタ装置に組込む形状に形成され、光路Rの開口部R1を備えている。開口部R1の周側縁には対向する左右側縁に一対の光量調節板21a,21bが開口部R1の開口径を形成するように配置される。この光量調節板21a,21bは樹脂フィルム材の打抜き成形或いは金属板(例えばアルミニウム合金)の薄板を打抜き形成によって形成し黒色の表面処理を施す。この光量調節板21a,21bの形状は光路Rの中心から左右及び上下にほぼ均一な開口が得られるように形成する。
つまり光路Rの中心がコンデンサーレンズB及び投写レンズFの中心から割り出され、この光路Rの中心に対し左右及び上下にほぼ均一な開口を形成するように光量調節板21a,21bの形状を定める。図示のものは投影する映像が矩形状である為この光量調節板21a,21bの形状も矩形状に形成してある。そしてこの左右一対の光量調節板21a,21bは枠組フレーム10に回転支軸70,71によって軸受支持されている。枠組フレーム10には光量調節板21a,21bに一体形成された突起状ピンを嵌合する軸受穴が形成してあり、両者が回動自在に軸受嵌合されている。従って左右一対の光量調節板21a,21bは図3矢印方向(光路の進行方向)に回転支軸70及び71を中心に回動し観音開き状に開閉することとなる。
尚上記突起状ピンから構成した回転支軸70と71とは図3に示すように光路Rの対向する周側縁に互いに平行に配置され、光量調節板21a,21bはその形状も開閉動作も左右対称に形成されている。
前記枠組フレーム10には駆動モータ31が取付けてあり、その駆動回転軸33は光量調節板21a,21bの回転支軸70,71と略平行に位置している。従って光路Rに対し左右両側部に光量調節板21a,21bの回転支軸70,71が平行に配置され、この両支軸に対して駆動回転軸33が平行となるように駆動モータ31が配置されることとなる。図示の駆動モータ31はステッピングモータで構成され、その制御基板(ドライバー回路)50に電源のパルス発生器及びカウンター回路が組込まれている。これ等の制御回路を組込んだ制御基板50も駆動回転軸33と略々平行になるように枠組フレーム10に組込んである。
このように光路Rと直交する平面内に左右一対の回転支軸70,71と駆動回転軸33、更に制御基板50もそれぞれ距離を距てて平行(並行)に配置したのは各構成部品の吊めるスペースを出来るだけ小型にする為に割り出した配置であり、光路Rの形状に合わせてこれ等を略々並列に配置すれば良い。
そこで上述の駆動回転軸33と光量調節板21a,21bの回転支軸70,71とを連結する伝動機構について説明する。
まず駆動回転軸33は駆動モータ31の出力軸に減速ギア32を介して駆動回転軸33に駆動が伝達され、この駆動回転軸33には出力用のピニオン34が設けてある。そしてこのピニオン34に噛合するラック歯車41aを備えた伝動部材40が回転支軸70,71に駆動モータ31の回転を伝達するようになっている。図示の伝動部材40は第1伝動レバー41(以下第1レバーという)と第2伝動レバー42(以下第2レバーという)とで構成され、この2つのレバー部材は互いに結合して一体化されている。第1レバー41にはラック歯車41aが形成され駆動回転軸33のピニオン34と係合し、第2レバー42にはラック歯車42aと42bが設けてあり、ラック歯車42aには光量調節板21aの回転支軸71が、ラック歯車42bには回転支軸70がそれぞれの軸に設けたピニオンと係合することによって連結する。そして第1レバー41と第2レバー42とは互いに小さいストロークで相対的に移動するよう一方の係合突起と他方の長溝が嵌合され両者が連結されている。
つまり第1レバー41には長溝41dと41eが第2レバー42には突起42dと42eが形成され長溝41dと突起42dが、長溝41eと突起42eがそれぞれ嵌合して、長溝41d,41eのストロークLで第1、第2レバー41、42は相対的に図5左右方向に移動自在となる。そして、第1レバー41と第2レバー42の間には付勢スプリング43が第1レバー41の掛止突起41cと第2レバー42の掛止突起42cとの間に掛け渡してあり、第1、第2レバー41、42はこの付勢スプリング43に抗して前記ストロークL内で相対移動するようになっている。
これは第1レバー41を駆動回転軸33のピニオン34で図5左方向に移動すると付勢スプリング43を介して第2レバー42を右方向に移動しこの第2レバー42が後述する光量調節板21a,21bの規制ストッパーに突き当たった後は付勢スプリング43が伸びて、第2レバー42およびこれに歯車連結した光量調節板21a,21bをバネ力で一方向(規制ストッパー側)に付勢する為である。
このように一体化された第1、第2レバー41、42は図4に示すように枠組フレーム10の底部に形成した凹溝状のガイドレール75に嵌合保持され図示左右方向にガイドレール75に沿って移動自在に組込まれる。
そして、前記第2レバー42にはラック歯車42aと42bが形成され、歯車42aは光量調節板21aの回転支軸71に取付けたピニオン歯車23aと噛合し、他方の歯車42bは光量調節板21bの回転支軸71に取付けたピニオン歯車23bと噛合する歯車24と噛み合うようになっている。この回転支軸71のピニオン歯車23bと噛合する歯車24はフレーム10に軸支した中間軸に取付けてある。従って、第2レバー42が図5左方向に移動すると回転支軸70の歯車23bは中間軸の歯車24を介して時計方向に回転し、回転支軸71の歯車23aは反時計方向に回転することとなる。
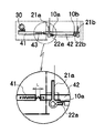
一方、上述の一対の光量調節板21a,21bはそれぞれ回転支軸70,71に支持され枠組フレーム10に回動自在に取付けられているが、この回転支軸70,71には突起22a、22bが設けられている。この突起22a,22bは各支軸を軸承する枠組フレーム10に設けられた規制ストッパー(規制部材)10a,10bによって所定角度範囲で回転する。これを図2に基づいて説明すると、光路Rの対向する側縁部に配置された一対の光量調節板21a,21bは回転支軸70,71を中心に光路Rの進行方向に図(a)の絞り位置と同図(b)の退避位置との間で開閉するように設定する。
従って光量調節板21a,21bが光路Rと略直交する絞り位置で光路Rは最少口径に絞られ通過する光量が最少となり、光量調節板21a,21bが光路Rの進行方向と略平行な退避位置で光路Rは最大口径となり、通過する光量が最大となる。そこで回転支軸70,71をそれぞれ90度範囲で段階的に回動すれば光路Rの光量を調節することが可能となる。
そこで各回転支軸70,71には突起22a,22bが設けてあり、枠組フレーム10には規制ストッパー10a,10bが設けてある。この突起とストッパーとは図7に示すように光量調節板21a,21bが退避位置(全開位置)のとき互いに当接して回転支軸70,71がそれ以上回転するのをストッパーで阻止するようになっている。これと共に回転支軸70,71には第1レバー41と第2レバー42との間に掛け渡した付勢スプリング43が退避位置のとき各支軸70、71を規制ストッパー10a,10b側に付勢力を及ぼすようになっている。従って退避位置(図7(b))のとき光量調節板21a,21bには付勢スプリング43の付勢力で規制ストッパー10a,10b側に付勢され外部からの衝撃が及んでも移動することなくその位置に保持される。
そこで駆動装置30の制御について説明するとステッピングモータで構成された駆動装置30はパルス発生回路、電源回路などを組込んだ制御基板50に電気的に接続されている。そして前記伝動部材を構成する第1レバー41にはその位置を検出するポジションセンサ44が設けられている。図5に示すようにホトカプラーで構成したポジションセンサ44が枠組フレーム10に取付けられ、第1レバー41には突起からなるアクチュエータ41bが設けられている。そして光量調節板21a,21bが絞り位置に位置するときホームポジションとしてポジションセンサ44がアクチュエータ41bでONするようになっている。
そこで図4の状態で駆動モータ31を減速ギア32を介して駆動回転軸33のピニオン歯車34を反時計方向に回転するとこれと噛したラック歯車41aは第1レバー41を左方向に移動し、付勢スプリング43を介して第2レバー42も左方向に移動する。すると第2レバー42に形成されているラック歯車42aは回転支軸71のピニオン歯車23aを反時計方向に回転し、光量調節板21aを絞り装置から退避位置に回転支軸71を中心に回転する。同様に第2レバー42に形成されているラック歯車42bは中間軸の歯車24を介して回転支軸70のピニオン歯車23bを時計方向に回転し、光量調節板21bを絞り位置から退避位置に回転支軸70を中心に回転する。そして各回転支軸70,71に形成された突起22a,22bが規制ストッパー10a,10bに係合してそれ以上の回転が阻止されると第2レバー42は静止し、一方第1レバー41は更に左方向に移動し、付勢スプリング43は伸びて蓄勢される。この第1レバー41のオーバラン量は予め長溝41dによって形成したストロークLの範囲内に設定してある。この状態で駆動モータ31への通電を断つとステッピングモータは所定の位相角度範囲で停止し、ディテントトルクが作用し、付勢スプリング43に蓄勢された付勢力は第2レバー42を常に図5左側に移動する力として作用する。従って左右の光量調節板21a,21bには常に図示矢印方向の付勢力が作用することとなる。
尚、前記第1レバー41と第2レバー42との間のストロークLは駆動モータの位相角度より大きく設定してある。この場合駆動モータとしてステッピングモータを用いない場合にはモータ及び減速ギアの負荷によって駆動モータ31を静止させるようにする。
次に駆動モータ31を逆転させ駆動回転軸33を図5反時計方向に回転すると第1のレバー41は図5右方向に移動し、ストロークLの移動の後第1レバー41の長溝41dの縁部と第2レバー42の突起42dが係合して第2レバー42も右方向に移動する。この第2レバー42の右方向への移動で回転支軸71は時計方向に回転支軸70は反時計方向に回転し、光量調節板21a,21bは図5に示す絞り位置に復帰する。この絞り位置で光量調節板21a,21bは駆動モータ30のディテントルク或いは減速歯車の負荷によってその姿勢が維持される。
以上説明した伝動部材40は第1レバー41と第2レバー42との2つのスライド部材で構成され、退避位置でその一方をオーバランさせてスプリングに蓄勢し、一対の光量調節板を退避位置の規制ストッパーに弾圧付勢するものを説明したが、図10に示す構造であっても良い。
図10において光路Rの対向する側縁部に一対の光量調節板21a,21bをそれぞれ回転支軸70,71に前述と同様に図示しない枠組フレームに取付ける。また、駆動装置30もステッピングモータ31、減速歯車32、駆動回転軸33及びピニオン歯車34を前述のものと同様に枠組フレームに取付ける。
従って回転支軸70と71とは光路Rを挟んで左右に平行に配置され駆動回転軸33もこの両支軸70,71に対し略平行に配置されることとなる。そこで距離を距てて略平行に配置されたこれらの回転支軸及び回転軸に対し略々直交する方向に移動自在の伝動部材80を設ける。この伝動部材80は図示しないが枠組フレームの下枠に形成したレールに係合して図10左右方向に移動自在に取付ける。そして伝動部材80にはラック歯車81と82及びラック歯車83を設け、駆動回転軸33のピニオン歯車34とラック歯車81が噛合し、回転支軸71のピニオン歯車23aとラック歯車82が噛合し、回転支軸70のピニオン歯車23bとラック歯車83とを噛合する。
このときピニオン歯車23aとピニオン歯車23bとは逆方向に回転するように伝動部材80にラック歯車82と83を形成する。図示のものはレバー状の伝動部材80の片面にラック歯車82を他面にラック歯車83を形成してある。
一方回転支軸70と71には前述のものと同様に突起22a,22bが形成してあり、図10(b)に示すように光量調節板が退避した位置に規制部材84が枠組フレーム10に設けてある。そして両光量調節板の突起22a,22bは軟磁性材図示のものは鉄片で形成し、規制部材84はマグネットで形成してある。従って突起22a,22bはマグネットから成る規制部材84でそれ以上の回動を阻止されると共にマグネットの磁力でこの位置に保持されることとなる。
尚規制部材84は枠組フレーム10にスプリング85を作用させて少許の範囲で図10(b)上下方向に移動可能に取付けてある。そこで図10(a)の状態で駆動モータ31を駆動して駆動回転軸33のピニオン歯車を図示時計方向に回転すると、これと噛合したラック歯車81を介して伝動部材80は図左側に移動する。するとラック歯車82に噛合した回転支軸71のピニオン歯車23aは反時計方向に回転して光量調節板21aを図示の絞り位置から退避位置に移動する。同様にラック歯車83に噛合した回転支軸70のピニオン歯車23bは時計方向に回転して光量調節板21bを退避位置に移動する。
上述の伝動部材80には前述の第1レバーと同様にポジションセンサ84が枠組フレームに取付けたホトセンサーで構成してあり、伝動部材80側に突起85a,85bから成るアクチュエータが設けてある。そして突起85aは光量調節板が絞り位置のときセンサーをONし、突起85bは光量調節板が退避位置のときセンサーをONするように配置されている。
従って駆動モータ31を突起85bがセンサー84をONしたとき停止する。すると回転支軸70,71の突起22a,22bは規制部材84と当接してそれ以上の回転が阻止され停止する。この時の駆動モータの停止タイミングと突起22a,22bが規制部材84に当接する位置のバラつきはスプリング85で吸収され、規制部材84の磁力で光量調節板は退避位置に保持される。
以上説明した光量調節板は光路Rの左右或いは上下に一対配置し、光路Rの進行方向に観音開き状に開閉する場合を示したが光路Rの左右に一対更に上下に一対形成するようにしても良く、これを図12に従って説明する。
図示のものは光路Rの左右に光量調節板21a,21bが対向する位置に設けてあり、光路Rの上下に光量調節板60a,60bが対向する位置に設けてある。光量調節板21a,21bは前述のものと同様に枠組フレーム10に回転支軸70,71で回動自在に支持してあり、光量調節板60a,60bも同様に枠組フレーム10に回転支軸61,62で回転自在に支持してある。
そこで上下の光量調節板60a,60bは左右の光量調節板21a,21bにその端部が図10(a)のように係合していて左右の光量調節板21a,21bを回動するとこれに連動して上下の光量調節板60a,60bが回動する関係になっている。
そこで上下の光量調節板60a,60bにはそれぞれの回転支軸61,62との間に図示矢印と反対方向に回動するようにコイルスプリングが設けてあり、左右の光量調節板21a,21bには前述の構造の駆動回転軸及び伝動部材が連結してある。従って前述のものと同様の制御で左右の光量調節板21a,21bを開閉すると、これと連動して上下の光量調節板60a,60bが開閉することとなる。
次にプロジェクタ装置の構成について説明すると、図1にその概略レイアウト構成を示すように装置ケーシングにハロゲンランプなどの光源ランプと、この光源の光を乱反射するリフレクターなどから光源Aを内蔵し、この光源Aからの光をコンデンサーレンズBで平均化して光路Rを形成する。光路Rの光は集光レンズDを介して液晶パネルEに照射される。液晶パネルはR・G・B3原色のフィルタで3層に形成され、映像信号を受けて画像を形成する。従ってこの液晶パネルが像形成部を構成することとなり、光源Aからの光を受けて投写レンズFからスクリーンG上に画像を投影する。そして投写レンズFには焦点合わせのフォーカシング機構が組み込まれている。そこで前述の光量調節装置をコンデンサーレンズBと集光レンズDの間の光路Rに組込み光の進行方向に前記光量調節板21a,21bが開閉するように配置する。
一方装置のケーシングには外部の明るさを検出する照度センサーを設ける。この照度センサーは投写レンズからの光がスクリーンGで反射した光を検出するか、投写レンズからの投影光以外の外部光を検出するか、或いはその両者を検出して明るさの差を検知するかいずれの方法であっても良い。照度センサーとしては光電変換素子を用いて光量を電気的に検出するポジションセンサ或いはCCDなどのセンサーを用いれば良い。
一方プロジェクタ装置の制御部には液晶パネルに画像信号を送る映像信号処理部がICチップなどで構成され外部のコンピュータその他の映像機器と接続されている。この制御部にはコントローラが組込まれフォーカシング調整、或いは画隔を調整する機能と同時に操作パネルが結線されている。そこで操作パネルに設けた明るさ調整釦を使用者が操作するかこれと同時に外部光を検出する照度センサーからの検出信号で明るさを自動調整するように構成する。
次にその作用を説明すると、プロジェクタ装置の電源を投入し映像をスクリーン上に投写する。この映像を使用者が見てコントロールパネルの明るさ調整釦を操作する。或いは外部光を照度センサーで検出し予め設定した明るさ調整を実行する。若しくは照度センサーで外部光とスクリーンで反射した投影光の両者を検出して光量の差から明るさ調整を実行する。このようにスクリーン上の画面の明るさの調整がコントローラで指示されると、光量調節装置は以下の動作を行う。
まず前述の駆動装置30は伝動部材(前述の第1レバー41又は伝動部材80)がホームポジション位置で静止した状態にある。このホームポジションは図示のものは退避位置に設定してあるが、絞り位置或いは絞り位置と退避位置との中間点でもいずれでも良い。この予め設定されたホームポジションから前記手動(マニュアル調整)か自動調整かいずれかの信号を受けて所定パルス数の起動信号を制御回路50が受け、パルス電源を駆動モータ31に供給する。この電源の供給で駆動モータは所定角度回転する。すると駆動回転軸33のピニオン歯車34が所定角度回転し、これと噛合したラック歯車41aを駆動し伝動部材(第1レバー41若しくは伝動レバー80)を所定量移動する。この伝動部材の移動で回転支軸70,71が所定角度反対方向に回転し、一対の光量調節板を所定角度移動する。この光量調節板の所定角度の移動によって光路Rの光量は大小に調節され、スクリーンに投影される影像が明暗調整されることとなる。
かかる過程で本発明は、光源からの光をスクリーン上に投影する光路Rの対向する側縁部に一対の光量調節板を光路の進行方向に回動するよう回転支軸に支持してあるから羽根状の光量調節板は光路の進行方向に移動スペースを吊めることとなり、図2(a),(b)に示すような移動軌跡を演く。この時光量調節板は図2(a)の絞り位置では駆動モータ31に供給電源がOFFされた後もモータのディテントトルク或いは減速歯車列の負荷によってその位置に保持される。この時外部から衝撃などの力が及んでも、図11(b)の状態に光量調節板は光路Rとほぼ直交する方向であり、仮に外部からの不本意な衝撃によって角度θ振れたとしても光路Rの光量に及ぼす影響はΔ1となり、大きな光量の調整誤差を招くことがない。
一方光量調節板が図11(a)の退避位置では外部から衝撃が作用して角度θ振れた場合には光路Rの光量に及ぼす影響はΔ2となり大きな光量の調整誤差を招く。ところが光量調節板は規制ストッパー(規制部材)10a,10bに一方向の回転を阻止され、更に保持手段、図3の構成にあっては付勢スプリング43の作用で、また図10の構成にあってはマグネット84の吸引力で規制部材の位置に保持されガタつきなどで移動する恐れがない。
本発明に係わるプロジェクタ装置の一形態のレイアウト説明図。 本発明に係わる光量調節装置の動作原理の説明図。 図2の装置の全体構造を示す斜視図。 図3の装置の要部を示す斜視図。 図4の装置の分解斜視図。 図4の装置の伝動部材の背面側構造を示す分解斜視図 図4の装置の規制部材と光量調節板との関係を示す断面説明図。 図4の装置における光量調節板が退避位置に位置するときの伝動部材との関係を示す平面図。 図4の装置における光量調節板が絞り位置に位置するときの伝動部材との関係を示す平面図。 図3の伝動部材の構造とは異なる伝動部材の形態を示し、(a)は伝動部材の分解斜視図であり(b)は規制部材と光量調節板との関係を示す断面説明図。 図3の装置における光量調節板と光量との関係の説明図であり、(a)は光量調節板が退避位置に位置するときの光量調節域との関係を示し、(b)は光量調節板が絞り位置に位置するときの光量調節域との関係を示す説明図。 図3の装置とは異なる光量調節板の形態を示す説明図であり、(a)は光量調節板が退避位置に位置するときの状態図、(b)は光量調節板が退避位置から絞り位置に移動するときの状態図、(c)は光量調節板が絞り位置に位置するときの状態図。
符号の説明
A 光源
B コンデンサーレンズ
C 光量調節装置
D 照明光学系
E 液晶パネル
F 投写レンズ
10 枠組フレーム
10a,10b 規制ストッパー(規制部材)
21a,21b 光量調節板
30 駆動装置
31 駆動モータ
33 駆動回転軸
40 伝動部材
41 第1伝動レバー
41a ラック歯車
41b アクチュエータ
41c 掛止突起
41d 長溝
41e 長溝
42 第2伝動レバー
42a ラック歯車
42b ラック歯車
42c 掛止突起
42d 突起
42e 突起
43 付勢スプリング
44 ポジションセンサ
60a,60b 光量調節板
70,71 回転支軸

Claims (6)

  1. 光源からの光を投影する光路の周側縁部に配置された少なくとも一対の光量調節板と、
    上記光量調節板を上記光路の進行方向に揺動可能に支持する上記光路の対向する側縁部に配置された一対の回転支軸と、
    上記光量調節板を上記光路内に進入した絞り位置と上記光路外に退避した退避位置との間で開閉駆動する駆動手段とを備え、
    上記退避位置で上記光量調節板回動を規制する規制部材と、この規制部材に上記光量調節板を保持する保持手段とを設けたことを特徴とする光量調節装置。
  2. 前記規制部材を前記光量調節板の所定角度以上の回動を阻止するストッパー部材で構成し、
    前記保持手段をこのストッパー部材に光量調節板を付勢するスプリング、マグネットなどの付勢部材で構成したことを特徴とする請求項1記載の光量調節装置。
  3. 前記駆動手段をモータその他の駆動源と、
    この駆動源の駆動力を前記光量調節板に伝達する伝動部材とで構成し、
    この伝動部材に前記光量調節板を規制部材に付勢する付勢手段を設けたことを特徴とする請求項1記載の光量調節装置。
  4. 光源からの光を投影する光路の周側縁部に配置された少なくとも一対の光量調節板と、
    上記光量調節板を上記光路の進行方向に揺動可能に支持する上記光路の対向する側縁部に配置された一対の回転支軸と、
    上記光量調節板を上記光路内に進入した絞り位置と上記光路外に退避した退避位置との間で開閉駆動する駆動手段と、
    上記退避位置で上記光量調節板の所定角度以上の回動を阻止する規制部材とを備え、
    上記駆動手段を駆動回転軸を有するモータと、
    この駆動回転軸の回転で所定量往復運動する第1の伝動レバー部材と、
    この第1の伝動レバー部材の運動を上記光量調節板に伝達する第2の伝動レバー部材とで構成し、
    上記第1の伝動レバー部材と第2の伝動レバー部材との間に上記光量調節板を退避位置で上記規制部材に付勢する付勢手段を設けたことを特徴とする光量調節装置。
  5. 前記モータはステッピングモータで構成され、その非通電時の磁気吸引トルクにより前記光量調節板を前記絞り位置に保持することを特徴とする請求項4記載の光量調節装置。
  6. 映像を形成する像形成手段と、
    光源からの光を上記像形成手段に照射して投射する投影光路と、
    この投影光路の対向する側縁部に配置された少なくとも一対の光量調節板と、
    上記光量調節板を上記投影光路の進行方向に揺動可能に支持する上記光路の対向する側縁部に配置された一対の回転支軸と、
    上記光量調節板を上記投影光路内に進入した絞り位置と上記投影光路外に退避した退避位置との間で開閉駆動する駆動手段とを備え、
    上記退避位置で上記光量調節板の回動を規制する規制部材と、
    この規制部材に上記光量調節板を保持する保持手段とを設けたことを特徴とするプロジェクタ。
JP2004108719A 2004-04-01 2004-04-01 光量調節装置及びこれを用いたプロジェクタ Pending JP2005292531A (ja)

Priority Applications (2)

Application Number Priority Date Filing Date Title
JP2004108719A JP2005292531A (ja) 2004-04-01 2004-04-01 光量調節装置及びこれを用いたプロジェクタ
US11/060,620 US7344255B2 (en) 2004-04-01 2005-02-18 Light amount adjusting apparatus and projector using the same

Applications Claiming Priority (1)

Application Number Priority Date Filing Date Title
JP2004108719A JP2005292531A (ja) 2004-04-01 2004-04-01 光量調節装置及びこれを用いたプロジェクタ

Publications (1)

Publication Number Publication Date
JP2005292531A true JP2005292531A (ja) 2005-10-20

Family

ID=35325504

Family Applications (1)

Application Number Title Priority Date Filing Date
JP2004108719A Pending JP2005292531A (ja) 2004-04-01 2004-04-01 光量調節装置及びこれを用いたプロジェクタ

Country Status (1)

Country Link
JP (1) JP2005292531A (ja)

Cited By (2)

* Cited by examiner, † Cited by third party
Publication number Priority date Publication date Assignee Title
US8262231B2 (en) 2008-03-10 2012-09-11 Seiko Epson Corporation Light control device, lighting device, and projector for controlling transmission amount of light emitted from an emission area by use of curved light shielding members
WO2013069158A1 (ja) * 2011-11-11 2013-05-16 Necディスプレイソリューションズ株式会社 プロジェクタおよび絞り制御方法

Citations (3)

* Cited by examiner, † Cited by third party
Publication number Priority date Publication date Assignee Title
JPS5271231A (en) * 1975-12-11 1977-06-14 Fuji Photo Film Co Ltd Double blade type shutter means
JPH07253619A (ja) * 1992-01-29 1995-10-03 Deutsche Thomson Brandt Gmbh ビデオカメラ
JP2001228508A (ja) * 2000-02-18 2001-08-24 Canon Inc バリア装置及びカメラ

Patent Citations (3)

* Cited by examiner, † Cited by third party
Publication number Priority date Publication date Assignee Title
JPS5271231A (en) * 1975-12-11 1977-06-14 Fuji Photo Film Co Ltd Double blade type shutter means
JPH07253619A (ja) * 1992-01-29 1995-10-03 Deutsche Thomson Brandt Gmbh ビデオカメラ
JP2001228508A (ja) * 2000-02-18 2001-08-24 Canon Inc バリア装置及びカメラ

Cited By (2)

* Cited by examiner, † Cited by third party
Publication number Priority date Publication date Assignee Title
US8262231B2 (en) 2008-03-10 2012-09-11 Seiko Epson Corporation Light control device, lighting device, and projector for controlling transmission amount of light emitted from an emission area by use of curved light shielding members
WO2013069158A1 (ja) * 2011-11-11 2013-05-16 Necディスプレイソリューションズ株式会社 プロジェクタおよび絞り制御方法

Similar Documents

Publication Publication Date Title
JP5044234B2 (ja) 投写型表示装置
US7344255B2 (en) Light amount adjusting apparatus and projector using the same
JP5002923B2 (ja) 投射型映像表示装置
US8317418B2 (en) Focal plane shutter and imaging apparatus including the same
EP1889476B1 (en) Shutter opening and closing apparatus for beam projector
US7182470B2 (en) Light amount control apparatus and projector apparatus using the same
US7744227B2 (en) Projector including a turn table for shifting a lens barrel
US8189253B2 (en) Shutter device and drive method
JP2003270511A (ja) 開放開口規制装置
US10670949B2 (en) Projector with attitude adjustment apparatus
JP2005292532A (ja) 光量調節装置及びこれを用いたプロジェクタ
JP2004317988A (ja) 鏡筒支持装置および投射型表示装置
WO2010113259A1 (ja) 調光装置及びこれを備えた投写型表示装置
JP2005292764A (ja) 光量調節装置及びこれを用いたプロジェクタ
JP2005292531A (ja) 光量調節装置及びこれを用いたプロジェクタ
JP2006078787A (ja) プロジェクタ装置
JP5847438B2 (ja) 光量調節装置
JP2531407Y2 (ja) モータ駆動シャッタ
JP7362288B2 (ja) シャッタ装置およびこれを備える撮像装置
JP2006078784A (ja) 光量調節装置及びこれを用いたプロジェクタ装置
JP2006078786A (ja) 光量調節装置及びこれを用いたプロジェクタ装置
JP2005164819A (ja) 光源光調節用の絞り装置
JP5926621B2 (ja) レンズシフト機構、および投写型映像表示装置
JP2006078785A (ja) 光量調節装置及びこれを用いたプロジェクタ装置
JP3965235B2 (ja) カメラ用絞り装置

Legal Events

Date Code Title Description
A621 Written request for application examination

Free format text: JAPANESE INTERMEDIATE CODE: A621

Effective date: 20070226

A977 Report on retrieval

Free format text: JAPANESE INTERMEDIATE CODE: A971007

Effective date: 20091126

A131 Notification of reasons for refusal

Free format text: JAPANESE INTERMEDIATE CODE: A131

Effective date: 20091203

A02 Decision of refusal

Free format text: JAPANESE INTERMEDIATE CODE: A02

Effective date: 20100326