JP2005292042A - 表示板 - Google Patents
表示板 Download PDFInfo
- Publication number
- JP2005292042A JP2005292042A JP2004110198A JP2004110198A JP2005292042A JP 2005292042 A JP2005292042 A JP 2005292042A JP 2004110198 A JP2004110198 A JP 2004110198A JP 2004110198 A JP2004110198 A JP 2004110198A JP 2005292042 A JP2005292042 A JP 2005292042A
- Authority
- JP
- Japan
- Prior art keywords
- light
- substrate
- display
- display board
- visible light
- Prior art date
- Legal status (The legal status is an assumption and is not a legal conclusion. Google has not performed a legal analysis and makes no representation as to the accuracy of the status listed.)
- Pending
Links
- 239000000758 substrate Substances 0.000 claims abstract description 59
- 229910052751 metal Inorganic materials 0.000 claims abstract description 50
- 239000002184 metal Substances 0.000 claims abstract description 50
- 239000010409 thin film Substances 0.000 claims description 18
- 238000002834 transmittance Methods 0.000 claims description 7
- 230000001678 irradiating effect Effects 0.000 claims description 3
- 238000005034 decoration Methods 0.000 abstract description 16
- 239000011148 porous material Substances 0.000 abstract 1
- 239000010408 film Substances 0.000 description 42
- 230000000694 effects Effects 0.000 description 11
- 238000012545 processing Methods 0.000 description 10
- 238000000034 method Methods 0.000 description 7
- 229910052782 aluminium Inorganic materials 0.000 description 5
- XAGFODPZIPBFFR-UHFFFAOYSA-N aluminium Chemical compound [Al] XAGFODPZIPBFFR-UHFFFAOYSA-N 0.000 description 5
- 238000003780 insertion Methods 0.000 description 5
- 230000037431 insertion Effects 0.000 description 5
- 238000013461 design Methods 0.000 description 4
- 238000005286 illumination Methods 0.000 description 4
- 230000015572 biosynthetic process Effects 0.000 description 3
- 238000010422 painting Methods 0.000 description 3
- 230000008569 process Effects 0.000 description 3
- BQCADISMDOOEFD-UHFFFAOYSA-N Silver Chemical compound [Ag] BQCADISMDOOEFD-UHFFFAOYSA-N 0.000 description 2
- 230000009471 action Effects 0.000 description 2
- 238000005422 blasting Methods 0.000 description 2
- 238000010586 diagram Methods 0.000 description 2
- 230000001747 exhibiting effect Effects 0.000 description 2
- 238000005259 measurement Methods 0.000 description 2
- 229920005668 polycarbonate resin Polymers 0.000 description 2
- 239000004431 polycarbonate resin Substances 0.000 description 2
- 229910052709 silver Inorganic materials 0.000 description 2
- 239000004332 silver Substances 0.000 description 2
- 238000001771 vacuum deposition Methods 0.000 description 2
- 239000004925 Acrylic resin Substances 0.000 description 1
- 229920000178 Acrylic resin Polymers 0.000 description 1
- VYZAMTAEIAYCRO-UHFFFAOYSA-N Chromium Chemical compound [Cr] VYZAMTAEIAYCRO-UHFFFAOYSA-N 0.000 description 1
- NIXOWILDQLNWCW-UHFFFAOYSA-N acrylic acid group Chemical group C(C=C)(=O)O NIXOWILDQLNWCW-UHFFFAOYSA-N 0.000 description 1
- -1 aluminum silver Chemical compound 0.000 description 1
- 230000005540 biological transmission Effects 0.000 description 1
- 230000008859 change Effects 0.000 description 1
- 238000005229 chemical vapour deposition Methods 0.000 description 1
- 229910052804 chromium Inorganic materials 0.000 description 1
- 239000011651 chromium Substances 0.000 description 1
- 238000005530 etching Methods 0.000 description 1
- 239000011521 glass Substances 0.000 description 1
- 238000007733 ion plating Methods 0.000 description 1
- 239000000463 material Substances 0.000 description 1
- 230000000149 penetrating effect Effects 0.000 description 1
- 230000002093 peripheral effect Effects 0.000 description 1
- 230000035699 permeability Effects 0.000 description 1
- 238000005240 physical vapour deposition Methods 0.000 description 1
- 238000002310 reflectometry Methods 0.000 description 1
- 239000011347 resin Substances 0.000 description 1
- 229920005989 resin Polymers 0.000 description 1
- 238000004544 sputter deposition Methods 0.000 description 1
- 229920003002 synthetic resin Polymers 0.000 description 1
- 239000000057 synthetic resin Substances 0.000 description 1
Images
Landscapes
- Details Of Measuring Devices (AREA)
Abstract
【課題】 金属調を呈する光透過性表示板に小孔を設けることなく、その量産性を向上させた表示板を提供する。
【解決手段】 光透過性基板である基板25の一側面に凹凸部30を設け、その凹凸部30上に装飾部31、目盛り及び文字部を形成した。また、その凹凸部30と相対向する他側面に、可視光の一部を透過可能に反射する金属膜35を形成し、その金属膜35と相対向する位置に蛍光管20を配置して、外部照度の低い時に、その蛍光管20を点灯し、その蛍光管20により照射される照射光が金属膜35を介して基板25より照射されるようにした。
【選択図】 図5
【解決手段】 光透過性基板である基板25の一側面に凹凸部30を設け、その凹凸部30上に装飾部31、目盛り及び文字部を形成した。また、その凹凸部30と相対向する他側面に、可視光の一部を透過可能に反射する金属膜35を形成し、その金属膜35と相対向する位置に蛍光管20を配置して、外部照度の低い時に、その蛍光管20を点灯し、その蛍光管20により照射される照射光が金属膜35を介して基板25より照射されるようにした。
【選択図】 図5
Description
本発明は、表示板に関する。
自動車のインストルメントパネル等に搭載される時計やメータ部の文字表示板には、外部照度が低い夜間においてもその表示内容を視認できる光透過性表示板が知られている。その光透過性表示板は、外部照度が低い環境下において、その裏面側に設けられる照明(バックライト)を点灯し、その光を透過して表示面側を照明させることによって表示内容を視認できるようにしている。
また、このような光透過性表示板では、裏面側のバックライトによってその表示板自体を面発光させているため、表示面の周囲から表示面上を照明する間接照明方式に比べ、その表示内容の視認性が向上され、加えて、意匠的な意外性が付与されている。
こうした光透過性表示板には、従来より、その意匠性をさらに向上させるために金属調の外観を付与するものが提案されている(例えば、特許文献1)。特許文献1では、光透過性表示板の基板としてアクリル等の透明な合成樹脂基板を採用し、その樹脂基板の一側面に凹凸部を備えるものが記載されている。そして、この光透過性表示板では、裏面側に光透過性を有する薄膜金属層が設けているため、外部照度の高い昼間には、その外光によって薄膜金属層の呈する金属調の外観が表示面上に付与されるようになる。その一方、外部照度の低い夜間には、薄膜金属層がバックライトの照明光を表示面側に透過させて、その透過光によって表示面上を照明し、表示内容を視認できるようにしている。これにより、昼間等の高い外部照度下において、表示面が金属調を呈する意匠性の向上と、夜間等の低い外部照度下において、その金属調を呈する表示面が面発光板となる意外性の向上とが図られている。
特開2002−98776号広報
ところで、特許文献1に記載される薄膜金属層は、その膜厚が1μm〜5μm程度であるため、バックライトによる照射光を殆ど反射してしまう。そこで、バックライトの照射光を表示面上に透過させるために、その薄膜金属層に微細な小孔を多数設けるようにしている。そのため、薄膜金属層に対して小孔を設ける加工工程が必要になり、さらには、その小孔の孔径に高い加工精度が要求され、ひいては光透過性表示板の量産性を低下させる問題となっていた。
本発明は、上記問題に鑑みてなされたものであり、その目的は、金属調を呈する光透過性表示板に小孔を設けることなく、その量産性を向上させた表示板を提供することにある。
上記課題を解決するための手段及びその作用効果を以下に記載する。
請求項1に記載の表示板は、可視光を透過する光透過性基板の少なくとも一側面に凹凸部を設けるとともに、光透過性基板の一側面に直接もしくは前記凹凸部を介して可視光を透過可能に反射する半透過性薄膜金属層を形成した。
請求項1に記載の表示板は、可視光を透過する光透過性基板の少なくとも一側面に凹凸部を設けるとともに、光透過性基板の一側面に直接もしくは前記凹凸部を介して可視光を透過可能に反射する半透過性薄膜金属層を形成した。
請求項1に記載の表示板によれば、光透過性基板に設けられた半透過性薄膜金属層が、
光透過性基板に入射する可視光を透過可能に反射させ、凹凸部がその可視光を散乱するようになる。従って、外部照度が高い環境下では、外光によって輝度斑のない金属調の外観を光透過性基板に付与することができる。また、外部照度が低い環境下では、可視光を光透過性基板に照射させることによって、同光透過性基板を面発光させることができる。その結果、半透過性薄膜金属層或いは光透過性基板等を貫通する小孔を設ける必要がなく、光透過性基板に金属調の装飾効果と、金属調の光透過性基板が面発光する意匠的な意外性を付与することができ、ひいてはその表示板の量産性を向上させることができる。
光透過性基板に入射する可視光を透過可能に反射させ、凹凸部がその可視光を散乱するようになる。従って、外部照度が高い環境下では、外光によって輝度斑のない金属調の外観を光透過性基板に付与することができる。また、外部照度が低い環境下では、可視光を光透過性基板に照射させることによって、同光透過性基板を面発光させることができる。その結果、半透過性薄膜金属層或いは光透過性基板等を貫通する小孔を設ける必要がなく、光透過性基板に金属調の装飾効果と、金属調の光透過性基板が面発光する意匠的な意外性を付与することができ、ひいてはその表示板の量産性を向上させることができる。
請求項2に記載の表示板は、請求項1に記載の表示板において、前記半透過性薄膜金属層は、可視光に対する反射率が40〜80%であって、可視光に対する透過率が20〜60%である。
請求項2に記載の表示板によれば、半透過性薄膜金属層の可視光に対する反射率が40〜80%であって、可視光の透過率が20〜60%であるものとした。従って、光透過性基板に対して、確実に金属調の装飾を付与することができ、照射される照射光を確実に透過して面発光させることができる。
請求項3に記載の表示板は、請求項1又は2に記載の表示板において、前記光透過性基板は、外光を入射する側の側面を凹凸部にするとともに、その凹凸部とは反対側の側面に半透過性薄膜金属層を形成した。
請求項3に記載の表示板によれば、光透過性基板に入射する外光が、凹凸部で散乱されて半透過性薄膜金属層に反射され、再度凹凸部で散乱されながら出射するようになる。従って、外部照度が高い環境下では、光透過性基板に金属調の装飾をより輝度斑なく付与することができる。
請求項4に記載の表示板は、請求項1〜3に記載の表示板において、前記凹凸部の形成される側の側面に前記光透過性基板を装飾する装飾部を形成した。
請求項4に記載の表示板によれば、凹凸部の形成される側の側面に装飾部が形成されるようになる。従って、外部照度が高い環境下では、光透過性基板に金属調を背景とした装飾部を表示することができ、その装飾効果を向上することができる。
請求項4に記載の表示板によれば、凹凸部の形成される側の側面に装飾部が形成されるようになる。従って、外部照度が高い環境下では、光透過性基板に金属調を背景とした装飾部を表示することができ、その装飾効果を向上することができる。
請求項5に記載の表示板は、請求項1〜4に記載の表示板において、前記半透過性薄膜金属層の形成される側の側面に可視光を照射する照射部を設けた。
請求項5に記載の表示板によれば、外部照度が低い環境下では、照射部を点灯して半透過性薄膜金属層に可視光を照射し、同光透過性基板を面発光させることができる。
請求項5に記載の表示板によれば、外部照度が低い環境下では、照射部を点灯して半透過性薄膜金属層に可視光を照射し、同光透過性基板を面発光させることができる。
以下、本発明の表示装置を時計に具体化した一実施形態を、図1〜図6に従って説明する。
図1は時計10を示す斜視図である。時計10には、図1に示すように、ケース11が備えられている。ケース11は、略箱形に形成されており、その一側面には断面円形の表示孔11aが貫通形成されている。ケース11の内側にあって表示孔11aの外周には、図2に示すように、ケース11の内側に延びる位置決め突起11bが形成されている。
図1は時計10を示す斜視図である。時計10には、図1に示すように、ケース11が備えられている。ケース11は、略箱形に形成されており、その一側面には断面円形の表示孔11aが貫通形成されている。ケース11の内側にあって表示孔11aの外周には、図2に示すように、ケース11の内側に延びる位置決め突起11bが形成されている。
ケース11の内側面にあって表示孔11aと相対向する側面には、図2に示すように、時計モジュール12が固設されている。その時計モジュール12には、表示孔11a側に延びる短針軸13及び長針軸14が連結駆動されている。時計モジュール12は、電源を供給することによって計時処理を行うものであって、その計時処理結果に基づいて、それぞれ短針軸13と長針軸14とを回転させるようになっている。その短針軸13と長針軸
14との先端部には、図2に示すように、それぞれ短針15と長針16とが取着されている。そして、時計モジュール12に電源を供給すると、時計モジュール12による計時処理結果に基づき、短針15及び長針16がそれぞれ運針するようになる。
14との先端部には、図2に示すように、それぞれ短針15と長針16とが取着されている。そして、時計モジュール12に電源を供給すると、時計モジュール12による計時処理結果に基づき、短針15及び長針16がそれぞれ運針するようになる。
ケース11内にあって時計モジュール12の表示孔11a側には、図2に示すように、照射部としての蛍光管20が配設されている。蛍光管20は、図示しない外部電源によって電圧を供給すると光源として発光し、その光を表示孔11a側に照射するようになっている。
ケース11内にあって蛍光管20の表示孔11a側には、図1及び図2に示すように、表示板としての文字表示板22が配設されている。文字表示板22は、図4に示すように、光透過性基板としての基板25、装飾部31、薄膜金属層としての金属膜35を備えている。
基板25は、図3に示すように、略円形状の板であって、可視光を透過する無色透明の光透過性のポリカーボネイト樹脂により形成されている。その基板25の中心には、図2に示すように、挿通孔26が貫通形成されている。この挿通孔26は、基板25(文字表示板22)をケース11内に配設するときに、短針軸13と相対する位置に形成されている。また、その基板25の外周には、その径方向に切り欠いた切り欠き部27が形成されている。この切り欠き部27は、基板25(文字表示板22)をケース11内に配設するときに、位置決め突起11bと相対する位置に形成されている。
そして、基板25(文字表示板22)は、図2に示すように、その挿通孔26に短針軸13及び長針軸14を挿通させて、短針15及び長針16を基板25の表示孔11a側で運針可能にしている。また、その基板25(文字表示板22)は、切り欠き部27に位置決め突起11bを嵌合させて、表示孔11aと相対向するように位置決めされている。尚、本実施形態では、この基板25の厚さを0.5mmとしているが、可視光(波長が約380〜780nmの光)を透過する厚さであれば特に限定することはない。
基板25の一側面であって蛍光管20と相対向する側面には、図3及び図4に示すように、半透過性薄膜金属層としての金属膜35が形成されている。金属膜35は、その膜厚が約400nmのアルミニウム膜であって真空蒸着法により堆積されている。尚、本実施形態では、その金属膜35は、入射する可視光の強度に対する反射する可視光の強度のパーセント(反射率)が60〜80%であって、入射する可視光の強度に対する透過する可視光の強度のパーセント(透過率)が20〜40%であるものとする。また、このアルミニウム膜の成膜では、成膜時にマスクを施す、或いは成膜後にマスクを施してエッチングを行う等、可視光を透過させるための小孔を形成する工程を行わないものとする。
基板25の一側面であって金属膜35と相対向する側面には、図3及び図4に示すように、凹凸部30が形成されている。凹凸部30は、ブラスト加工等によって凹凸形状に形成される面であって、ヘアーライン加工等によって挿通孔26から基板25の外周に向かって略放射状に延びる模様等が形成されている。その凹凸部30の表示孔11a側には、図3に示すように、略円環状の装飾部31が形成されている。装飾部31は、印刷或いは塗装等によって形成され、所定の波長の光を吸収して有色の光を透過可能にしている。
その装飾部31には、図3に示すように、基板25の径方向に沿って等角度間隔に12本の目盛り32が形成されている。目盛り32は、装飾部31上にあって印刷或いは塗装等によって形成され、所定の波長の光を吸収して装飾部31と異なる有色の光を透過可能にしている。その目盛り32より外周側には、装飾部31と同じく、印刷或いは塗装等によって形成される文字部33が設けられている。そして、数字「3」、「6」、「9」、
「12」からなる文字部33が、図3に示すように、順に目盛り32に相対して等角度間隔に配置されることにより、時計モジュール12の計時処理に基づいた時刻を視認できるようにしている。
「12」からなる文字部33が、図3に示すように、順に目盛り32に相対して等角度間隔に配置されることにより、時計モジュール12の計時処理に基づいた時刻を視認できるようにしている。
ケース11の内側にあってその最も表示孔11a側には、図2に示すように、カバー36が配設固定されている。カバー36は、略円盤状に形成される透明板であって、表示孔11aの内径よりも大きい外径により形成され、位置決め突起11bによりその外周が支持固定されるようになっている。そして、このカバー36が最も表示孔11a側に配設されることによって、短針15、長針16、装飾部31、目盛り32、文字部33及び凹凸部30が表示孔11aを介して視認可能にケース11内に収容される。
次に、上記時計10による作用について図5及び図6に従い説明する。
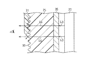
図5は外部照度が高い環境下における時計10を説明する説明図である。今、外部照度の高い環境下において、可視光領域の外光L1がカバー36を介してケース11内側に入射されると、外光L1は、図5に示すように、その一部を凹凸部30(装飾部31、目盛り32、文字部33)により散乱反射されながら、基板25内を透過していく。そして、基板25内を透過した外光L1は、金属膜35に進入して、その金属膜35の反射率(60〜80%)に相対する強度の反射光L2として反射される。金属膜35によって反射された反射光L2は、その一部を凹凸部30(装飾部31、目盛り32、文字部33)により散乱透過されながら、文字表示板22からカバー36側に出射される。
図5は外部照度が高い環境下における時計10を説明する説明図である。今、外部照度の高い環境下において、可視光領域の外光L1がカバー36を介してケース11内側に入射されると、外光L1は、図5に示すように、その一部を凹凸部30(装飾部31、目盛り32、文字部33)により散乱反射されながら、基板25内を透過していく。そして、基板25内を透過した外光L1は、金属膜35に進入して、その金属膜35の反射率(60〜80%)に相対する強度の反射光L2として反射される。金属膜35によって反射された反射光L2は、その一部を凹凸部30(装飾部31、目盛り32、文字部33)により散乱透過されながら、文字表示板22からカバー36側に出射される。
従って、凹凸部30から出射される反射光L2は、金属膜35によって、文字表示板22上に金属調(アルミニウムのシルバーメタリック調)の装飾を施す。さらに、凹凸部30から出射させる反射光L2は、ヘアーライン加工の施された凹凸部30によって、文字表示板22上に放射状の模様等を装飾する。そして、装飾部31、目盛り32及び文字部33を介する反射光L2は、それぞれ装飾部31、目盛り32及び文字部33によって所定の波長の光が吸収されて有色の装飾を施す。これにより、時計モジュール12の計時処理に基づく時刻が、装飾効果を伴った状態で視認できるようになる。
図6は外部照度が低い環境下における時計10を説明する説明図である。今、外部照度が低い環境下において、蛍光管20を点灯して照射光L3を金属膜35に照射させると、照射光L3は、図6に示すように、金属膜35に進入して、その金属膜35の透過率(20〜40%)に相対する強度の透過光L4を透過する。金属膜35を透過した透過光L4は、基板25内を透過して、その一部を凹凸部30(装飾部31、目盛り32、文字部33)によって散乱透過されながら、文字表示板22からカバー36側に出射される。
従って、凹凸部30から出射される透過光L4は、金属膜35を介して有色の光を面発光して文字表示板22上を照明する。そして、装飾部31、目盛り32及び文字部33を介する透過光L4は、それぞれ装飾部31、目盛り32及び文字部33によって所定の波長の光が吸収されて有色の装飾を施す。これにより、時計モジュール12の計時処理に基づく時刻が、装飾効果を伴った状態で視認できるようになる。
上記実施形態によれば以下のような効果を得ることができる。
(1)上記実施形態では、文字表示板22に可視光を透過可能に反射する金属膜35を設け、外部照度の高い環境下において、その外光L1を反射するようにした。そして、外部照度の低い環境下において、蛍光管を点灯して、その照射光L3を透過するようにした。従って、例えば、外部照度の高い昼間には、金属膜35による反射光L2によって、文字表示板22をアルミニウムのシルバーメタリック調に装飾することができる。そして、外部照度の低い夜間には、金属膜35を透過する透過光L4により文字表示板22を面発光させて、装飾効果を伴った時刻を視認することができる。その結果、金属膜35(文字
表示板22)に小孔等の加工を施すことなく、金属膜35による金属調の装飾効果と装飾部31(目盛り32、文字部33)による有色の装飾効果とを付与することができる。
(1)上記実施形態では、文字表示板22に可視光を透過可能に反射する金属膜35を設け、外部照度の高い環境下において、その外光L1を反射するようにした。そして、外部照度の低い環境下において、蛍光管を点灯して、その照射光L3を透過するようにした。従って、例えば、外部照度の高い昼間には、金属膜35による反射光L2によって、文字表示板22をアルミニウムのシルバーメタリック調に装飾することができる。そして、外部照度の低い夜間には、金属膜35を透過する透過光L4により文字表示板22を面発光させて、装飾効果を伴った時刻を視認することができる。その結果、金属膜35(文字
表示板22)に小孔等の加工を施すことなく、金属膜35による金属調の装飾効果と装飾部31(目盛り32、文字部33)による有色の装飾効果とを付与することができる。
(2)上記実施形態では、文字表示板22に可視光を散乱する凹凸部30を形成した。従って、凹凸部30を介して入射、或いは反射される光を散乱して透過或いは反射させることができる。その結果、例えば、外部照度の高い昼間には、文字表示板22上にヘアーライン加工に即したリアルな金属調を装飾することができ、外部照度の低い夜間には、文字表示板22を面発光させることができる。
なお、上記実施形態は以下のように変更してもよい。
・上記実施形態では、光透過型表示板を時計10の文字表示板22として具体化したが、これに限らず、例えば自動車に搭載されるメータの表示板としてもよく、外部照度の差に即した意匠の意外性を付与できるものであればよい。
・上記実施形態では、光透過型表示板を時計10の文字表示板22として具体化したが、これに限らず、例えば自動車に搭載されるメータの表示板としてもよく、外部照度の差に即した意匠の意外性を付与できるものであればよい。
・上記実施形態では、基板25をポリカーボネイト樹脂として具体化したが、これに限らず、例えばガラス基板やアクリル樹脂等の基板であってよく、可視光を透過する基板であればよい。
・上記実施形態では、基板25が可視光を透過する無色透明の基板として具体化したが、これを変更し、可視光を透過する有色の基板であってもよい。
・上記実施形態では、金属膜35をアルミニウム膜として具体化したが、これに限らず、例えばクロム膜、銀膜でもよく、透明基板上に堆積させることにより可視光を透過可能に反射する金属膜35であればよい。
・上記実施形態では、金属膜35をアルミニウム膜として具体化したが、これに限らず、例えばクロム膜、銀膜でもよく、透明基板上に堆積させることにより可視光を透過可能に反射する金属膜35であればよい。
・上記実施形態では、金属膜35は、膜厚が約400nmのアルミニウム膜を形成したが、これに限らず、例えば膜厚が約200〜400nmであってもよく、その際、可視光の反射率が40%〜80%であって、透過率が20%〜60%であればよい。
・上記実施形態では、金属膜35を真空蒸着法により形成したが、これに限らず、例えば物理気相成長法(スパッタリング法)、化学気相成長法、イオンプレーティング法等によって形成してもよく、基板25に金属膜35を形成できるものであればよい。
・上記実施形態では、凹凸部としての凹凸部30を基板25の一側面に形成したが、これに限らず、例えば装飾部31、目盛り32、文字部33の表面を凹凸形状にしてもよく、文字表示板22の表面に可視光を散乱させる散乱膜を設けてもよい。
・上記実施形態では、凹凸部30を基板25の表示孔11a側に形成したが、これに限らず、蛍光管20側に形成してもよく、或いは表示孔11a側と蛍光管20側の双方に形成してもよい。
・上記実施形態では、凹凸部30をブラスト加工及びヘアーライン加工にて形成したが、これを変更し、例えばホーミング加工であってもよく、基板25に凹凸形状を形成する加工であればよい。
・上記実施形態では、蛍光管20によって文字表示板22に照射光を照射するようにしたが、これを変更し、例えばEL素子等の自発光体、或いは発光ダイオード(LED)等からなる照射部であってもよく、文字表示板22に照射光を照射する光源であればよい。
10…時計、12…時計モジュール、13…短針軸、14…長針軸、15…短針、16…長針、20…蛍光管、25…基板、26…挿通孔、27…切り欠き部、30…凹凸部、31…装飾部、32…目盛り、33…文字部、35…金属膜、36…カバー。
Claims (5)
- 可視光を透過する光透過性基板の少なくとも一側面に凹凸部を設けるとともに、光透過性基板の一側面に直接もしくは前記凹凸部を介して可視光を透過可能に反射する半透過性薄膜金属層を形成したことを特徴とする表示板。
- 請求項1に記載の表示板において、
前記半透過性薄膜金属層は、可視光に対する反射率が40〜80%であって、可視光に対する透過率が20〜60%であることを特徴とする表示板。 - 請求項1又は2に記載の表示板において、
前記光透過性基板は、外光を入射する側の側面を凹凸部にするとともに、その凹凸部とは反対側の側面に半透過性薄膜金属層を形成したことを特徴とする表示板。 - 請求項1〜3に記載の表示板において、
前記凹凸部の形成される側の側面に前記光透過性基板を装飾する装飾部を形成したことを特徴とする表示板。 - 請求項1〜4に記載の表示板において、
前記半透過性薄膜金属層の形成される側の側面に可視光を照射する照射部を設けたことを特徴とする表示板。
Priority Applications (1)
| Application Number | Priority Date | Filing Date | Title |
|---|---|---|---|
| JP2004110198A JP2005292042A (ja) | 2004-04-02 | 2004-04-02 | 表示板 |
Applications Claiming Priority (1)
| Application Number | Priority Date | Filing Date | Title |
|---|---|---|---|
| JP2004110198A JP2005292042A (ja) | 2004-04-02 | 2004-04-02 | 表示板 |
Publications (1)
| Publication Number | Publication Date |
|---|---|
| JP2005292042A true JP2005292042A (ja) | 2005-10-20 |
Family
ID=35325120
Family Applications (1)
| Application Number | Title | Priority Date | Filing Date |
|---|---|---|---|
| JP2004110198A Pending JP2005292042A (ja) | 2004-04-02 | 2004-04-02 | 表示板 |
Country Status (1)
| Country | Link |
|---|---|
| JP (1) | JP2005292042A (ja) |
Cited By (1)
| Publication number | Priority date | Publication date | Assignee | Title |
|---|---|---|---|---|
| CN108008620A (zh) * | 2017-12-21 | 2018-05-08 | 广东乐芯智能科技有限公司 | 一种手表 |
Citations (2)
| Publication number | Priority date | Publication date | Assignee | Title |
|---|---|---|---|---|
| JPH02146317U (ja) * | 1989-05-15 | 1990-12-12 | ||
| JPH1026670A (ja) * | 1996-07-12 | 1998-01-27 | Casio Comput Co Ltd | 発光装置及び発光装置を備えた時計 |
-
2004
- 2004-04-02 JP JP2004110198A patent/JP2005292042A/ja active Pending
Patent Citations (2)
| Publication number | Priority date | Publication date | Assignee | Title |
|---|---|---|---|---|
| JPH02146317U (ja) * | 1989-05-15 | 1990-12-12 | ||
| JPH1026670A (ja) * | 1996-07-12 | 1998-01-27 | Casio Comput Co Ltd | 発光装置及び発光装置を備えた時計 |
Cited By (1)
| Publication number | Priority date | Publication date | Assignee | Title |
|---|---|---|---|---|
| CN108008620A (zh) * | 2017-12-21 | 2018-05-08 | 广东乐芯智能科技有限公司 | 一种手表 |
Similar Documents
| Publication | Publication Date | Title |
|---|---|---|
| JP4481564B2 (ja) | 特に時計の発光針およびそれを備えた表示装置 | |
| JP2006524826A (ja) | 印、時計および他の機器の紫外線照明 | |
| JP6004489B2 (ja) | 照明付き時計装置 | |
| CN103867980A (zh) | 具有反射膜的车辆用灯具 | |
| JP2020030201A (ja) | 可変時計部品 | |
| JP2011123406A (ja) | 車両用液晶表示装置 | |
| JP2013076639A (ja) | 指針照明装置 | |
| JP2020038198A (ja) | 可変時計部品 | |
| JP7152459B2 (ja) | アナログ表示デバイスのための移動表示器 | |
| JP3633177B2 (ja) | 化粧部材の製造方法 | |
| JP2018040698A (ja) | 指針、指針表示装置及び時計 | |
| JP3658629B2 (ja) | 時計 | |
| US11009652B2 (en) | Luminous display device | |
| JP2005292042A (ja) | 表示板 | |
| JP2003214912A (ja) | 照明装置 | |
| JP5938174B2 (ja) | 指針の照明構造 | |
| JP5055187B2 (ja) | 時計装置 | |
| JP6031786B2 (ja) | 指針式計器装置 | |
| JP2015031548A (ja) | 時計文字板の照明構造 | |
| JP6004490B2 (ja) | 照明付き時計装置の指針 | |
| JP2004233241A (ja) | 計器用の照明装置 | |
| JP2006181372A (ja) | 照明装置付きの遊技機 | |
| JP5793997B2 (ja) | 発光表示装置及び電子機器 | |
| JP4596121B2 (ja) | 照明装置 | |
| KR20250000141U (ko) | Led 시계 |
Legal Events
| Date | Code | Title | Description |
|---|---|---|---|
| A621 | Written request for application examination |
Effective date: 20070221 Free format text: JAPANESE INTERMEDIATE CODE: A621 |
|
| A131 | Notification of reasons for refusal |
Effective date: 20100323 Free format text: JAPANESE INTERMEDIATE CODE: A131 |
|
| A521 | Written amendment |
Effective date: 20100524 Free format text: JAPANESE INTERMEDIATE CODE: A523 |
|
| A02 | Decision of refusal |
Free format text: JAPANESE INTERMEDIATE CODE: A02 Effective date: 20100615 |