JP2005292009A - 赤外線式ガス検出器及び検出方法 - Google Patents

赤外線式ガス検出器及び検出方法 Download PDF

Info

Publication number
JP2005292009A
JP2005292009A JP2004109379A JP2004109379A JP2005292009A JP 2005292009 A JP2005292009 A JP 2005292009A JP 2004109379 A JP2004109379 A JP 2004109379A JP 2004109379 A JP2004109379 A JP 2004109379A JP 2005292009 A JP2005292009 A JP 2005292009A
Authority
JP
Japan
Prior art keywords
infrared
gas
detection signal
measurement gas
water vapor
Prior art date
Legal status (The legal status is an assumption and is not a legal conclusion. Google has not performed a legal analysis and makes no representation as to the accuracy of the status listed.)
Pending
Application number
JP2004109379A
Other languages
English (en)
Inventor
Koji Uchida
浩司 内田
Takahiko Yoshida
貴彦 吉田
Current Assignee (The listed assignees may be inaccurate. Google has not performed a legal analysis and makes no representation or warranty as to the accuracy of the list.)
Denso Corp
Soken Inc
Original Assignee
Denso Corp
Nippon Soken Inc
Priority date (The priority date is an assumption and is not a legal conclusion. Google has not performed a legal analysis and makes no representation as to the accuracy of the date listed.)
Filing date
Publication date
Application filed by Denso Corp, Nippon Soken Inc filed Critical Denso Corp
Priority to JP2004109379A priority Critical patent/JP2005292009A/ja
Priority to DE200510014186 priority patent/DE102005014186A1/de
Priority to US11/095,468 priority patent/US7288766B2/en
Publication of JP2005292009A publication Critical patent/JP2005292009A/ja
Pending legal-status Critical Current

Links

Images

Classifications

    • GPHYSICS
    • G01MEASURING; TESTING
    • G01NINVESTIGATING OR ANALYSING MATERIALS BY DETERMINING THEIR CHEMICAL OR PHYSICAL PROPERTIES
    • G01N21/00Investigating or analysing materials by the use of optical means, i.e. using sub-millimetre waves, infrared, visible or ultraviolet light
    • G01N21/17Systems in which incident light is modified in accordance with the properties of the material investigated
    • G01N21/25Colour; Spectral properties, i.e. comparison of effect of material on the light at two or more different wavelengths or wavelength bands
    • G01N21/31Investigating relative effect of material at wavelengths characteristic of specific elements or molecules, e.g. atomic absorption spectrometry
    • G01N21/35Investigating relative effect of material at wavelengths characteristic of specific elements or molecules, e.g. atomic absorption spectrometry using infrared light
    • G01N21/3554Investigating relative effect of material at wavelengths characteristic of specific elements or molecules, e.g. atomic absorption spectrometry using infrared light for determining moisture content

Landscapes

  • Physics & Mathematics (AREA)
  • Spectroscopy & Molecular Physics (AREA)
  • Health & Medical Sciences (AREA)
  • Life Sciences & Earth Sciences (AREA)
  • Chemical & Material Sciences (AREA)
  • Analytical Chemistry (AREA)
  • Biochemistry (AREA)
  • General Health & Medical Sciences (AREA)
  • General Physics & Mathematics (AREA)
  • Immunology (AREA)
  • Pathology (AREA)
  • Investigating Or Analysing Materials By Optical Means (AREA)

Abstract

【課題】 赤外線吸収波長が水蒸気と重複する測定ガスの濃度を精度良く検出でき、且つ、体格を小型化できる赤外線式ガス検出器及び検出方法を提供すること。
【解決手段】 特定波長の赤外線を吸収し、赤外線吸収量に応じた検出信号を出力する検出部10を備え、検出信号に基づいて、赤外線吸収波長が水蒸気と重複する測定ガスの濃度を検出する赤外線式ガス検出器100において、測定ガスと共存し、赤外線を一部吸収する水蒸気の絶対湿度を検出する湿度検出部20をさらに備え、処理部30により、検出された絶対湿度に基づいて検出部10の検出信号における水蒸気干渉分を補正し、真の測定ガスの濃度を検出する構成とした。
【選択図】 図1

Description

本発明は、赤外線吸収波長が水蒸気と重複する測定ガスの濃度を検出する赤外線式ガス検出器及び検出方法に関するものである。
従来、例えば特許文献1に開示されるように、特定波長の赤外線を吸収し、赤外線吸収量に応じた検出信号を出力する検出部(赤外線センサ)を備え、当該検出信号に基づいて測定ガスの濃度を検出する赤外線式ガス検出器が知られている。
この赤外線式ガス検出器(非分散型赤外吸収式ガス分析装置)は、測定ガス中の複数のガス成分に対応して、所定の赤外線透過波長領域が設定された複数の定性用光学フィルタを有している。そして、試料セル内の測定ガスに照射され、上述の定性用光学フィルタを透過した赤外線量を赤外線センサにより検出する構成としている。
例えば、COと水蒸気の共存下において、水蒸気濃度を検出する場合、COの干渉影響を受けないように赤外線透過波長領域が設定されたH20定性用光学フィルタを赤外線の光路上に配置し、赤外線センサの出力から水蒸気の濃度を検出する。
また、CO濃度を検出する場合、COの吸光度が大きく、水蒸気の吸光度が比較的小さい赤外線透過波長領域が設定されたCO定性用光学フィルタを赤外線の光路上に配置し、赤外線センサの出力から水蒸気の干渉分を含むCO濃度を検出する。そして、水蒸気の干渉分を含むCO濃度から上述の水蒸気濃度に基づく水蒸気の干渉分を補正してCOの濃度を算出する。このように、赤外線吸収波長が水蒸気と重複する測定ガスの濃度を検出することができる。
特開2003−50203号公報
しかしながら、上記構成の場合、H20定性用光学フィルタとCO定性用光学フィルタを赤外線の光路上に切り換えて配置する必要がある。実際、特許文献1において、H20定性用光学フィルタ及びCO定性用光学フィルタは、切換装置としてのモータにより回転駆動される赤外断続チョッパ上に180度間隔で配置され、赤外断続チョッパを連続的に回転させて両フィルタの切換を行う構成としている。また、赤外断続チョッパの回転位置(どちらのフィルタが赤外線の光路上にあるか)を検出するために、位置認識センサが設けられている。従って、赤外線式ガス検出器の体格を小型化するのが困難である。
本発明は上記問題点に鑑み、赤外線吸収波長が水蒸気と重複する測定ガスの濃度を精度良く検出でき、且つ、体格を小型化できる赤外線式ガス検出器及び検出方法を提供することを目的とする。
上記目的を達成する為に請求項1に記載の発明は、特定波長の赤外線を吸収し、赤外線吸収量に応じた検出信号を出力する検出部を備え、検出信号に基づいて、赤外線吸収波長が水蒸気と重複する測定ガスの濃度を検出する赤外線式ガス検出器に関するものである。そして、測定ガスと共存し、赤外線を一部吸収する水蒸気の絶対湿度を検出する湿度検出部をさらに備え、検出された絶対湿度に基づいて検出信号を補正し、補正された検出信号に基づいて測定ガスの濃度を検出する構成としたことを特徴とする。
このように、本発明の赤外線式ガス検出器によると、湿度検出部によって絶対湿度を検出することができる。従って、絶対湿度が分かれば、所定の赤外線波長における水蒸気の赤外線吸収量が分かるので、水蒸気の干渉分を含む検出信号から水蒸気の干渉分を補正し、測定ガスの濃度を精度良く検出することができる。また、湿度検出部を新たに備えるものの、複数の定性用光学フィルタ、切換装置、及び位置認識センサが不要であるので、従来よりも体格を小型化することができる。
尚、湿度検出部としては、直接的に水蒸気の絶対湿度を検出するものだけでなく、間接的に水蒸気の絶対湿度を検出することができるものも適用することができる。例えば、相対湿度を検出する湿度センサや露点計等を温度センサとともに適用する構成としても良い。
尚、赤外線式ガス検出器は、抵抗体を発熱させることにより赤外線を放射する光源部を別個に備えても良いし、請求項2に記載のように一体に備えても良い。
請求項3に記載のように、測定ガス及び水蒸気のいずれの赤外線吸収波長とも重複しない所定波長の赤外線を吸収し、赤外線吸収量に応じた参照信号を出力する参照部をさらに備え、参照信号に基づいて検出信号を補正し、補正された検出信号に基づいて測定ガスの濃度を検出する構成としても良い。この場合、例えば光源部の劣化により、検出部が受光する赤外線量が低下しても、参照信号に基づいて検出信号を補正することにより、センサ感度の低下を防ぐことができる。
その際、赤外線を吸収する検出部と参照部とを異なるパッケージに配置した構成としても良いが、請求項4に記載のように、同一の光源部からの赤外線を受光するように、検出部及び参照部を同一のパッケージ内に配置した構成としても良い。この場合、光源部に対する赤外線式ガス検出器毎の検出部及び参照部の位置のばらつきを低減でき、一方だけ外部雰囲気等の影響を強く受けることはないので、参照信号に基づいて検出信号を精度よく補正することができる。また、赤外線式ガス検出器の体格を小型化できる。尚、上記光源部は赤外線式ガス検出器として一体化されていても良いし、別個に設けられていても良い。
請求項5又は請求項6に記載の赤外線式ガス検出方法の作用効果は、請求項1又は請求項3に記載の赤外線式ガス検出器の作用効果と同様であるので、その記載を省略する。
以下、本発明の実施の形態を、図に基づいて説明する。
(第1の実施形態)
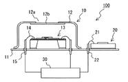
図1は、本実施形態における赤外線式ガス検出器の概略構成を示す図である。
図1に示すように、赤外線式ガス検出器100は、特定波長の赤外線を検出する検出部10と、測定ガスと共存し、上記赤外線を一部吸収する水蒸気の絶対湿度を検出する湿度検出部20と、各検出部10,20からの信号を処理する処理部30とにより構成される。
検出部10は、基部となる台座11と、台座11に取り付けられるキャップ12と、台座11及びキャップ12から構成される内部空間に配置された赤外線センサ13とを備えている。
キャップ12は、赤外線光源から放射される赤外線の透過波長、及び、赤外線センサ13に対する入射領域を制限するものであり、入射窓部12aを除く部位は赤外線を遮蔽するように構成されている。この入射窓部12aは、赤外線センサ13に対応する位置に設けられており、当該入射窓部12aには特定波長の赤外線(測定ガスの赤外線吸収波長帯に合わせた)のみを選択的に透過させるバンドパスフィルタ12bが設置されている。
赤外線センサ13は、台座11上に例えば接着剤を介して固定されており、キャップ12のバンドパスフィルタ12bを透過する特定波長の赤外線のみを吸収し、その赤外線吸収量に応じた検出信号を後述する処理部30に出力するように構成されている。尚、図1において、赤外線センサ13は、ボンディングワイヤ14を介して、台座11に貫通しつつ固定された外部出力端子としてのターミナル15に電気的に接続されており、赤外線センサ13は処理部30と電気的に接続されている。
ここで、赤外線センサ13としては特に限定されるものではなく、例えばサーモパイル型、ボロメータ型、焦電型等を適用することができる。本実施形態においては、一般的な半導体プロセスで形成することができるサーモパイル型の赤外線センサ13を適用している。尚、赤外線センサ13の構成については、本発明の特徴部分ではなく、例えば本出願人が先に特開2002−365140号広報等により開示しているので、本実施形態における詳細な説明は省略する。
湿度検出部20は、測定ガスと共存する水蒸気による絶対湿度(単位体積(1m3)の気体中に含まれる水蒸気の質量(g))を検出するためのものであり、本実施形態においては赤外線センサ13が固定されている台座11の同一平面に固定されている。
湿度検出部20としては、直接的に絶対湿度を検出する構成のものだけでなく、間接的に絶対湿度を検出する構成のものも適用することができる。例えば、相対湿度を検出する湿度センサや露点計等を温度センサとともに適用し、演算処理により絶対湿度を算出する構成のものでも良い。尚、図1において、湿度検出部20は、ボンディングワイヤ21を介して、台座11に貫通しつつ固定された外部出力端子としてのターミナル22に電気的に接続されており、赤外線センサ20は処理部30と電気的に接続されている。
処理部30は、検出部10を構成する赤外線センサ13からの検出信号と、湿度検出部20からの信号を受けて、所定の演算処理を実行し、水蒸気の干渉分を含む赤外線センサ13の検出信号から水蒸気の干渉分を補正処理し、赤外線吸収波長が水蒸気と重複する測定ガスの濃度を算出する。尚、測定ガスの濃度検出の詳細については後述する。
次に、上記構成の赤外線式ガス検出器100における測定ガスの濃度検出方法について、図2及び図3を用いて説明する。
通常、測定ガス(例えばHFC−152a)の濃度を検出する場合、当該測定ガスの赤外線吸収波長の少なくとも一部が水蒸気と重複し、赤外線の一部が水蒸気によっても吸収されるので、赤外線センサの出力は水蒸気の干渉分を含む出力となる。すなわち、このままでは測定ガスの濃度を精度よく検出することができない。
それを解決する方法として、例えば以下の方法が提案されている。測定ガスの干渉影響を受けないように赤外線透過波長領域が設定されたH20定性用光学フィルタを赤外線の光路上に配置し、赤外線センサの出力から水蒸気の濃度を検出する。次に、測定ガスの吸光度が大きく、水蒸気の吸光度が比較的小さい赤外線透過波長領域が設定された測定ガス定性用光学フィルタを赤外線の光路上に配置し、赤外線センサの出力から水蒸気の干渉分を含む測定ガスの濃度を検出する。そして、水蒸気の干渉分を含む測定ガスの濃度から上述の水蒸気濃度に基づく水蒸気の干渉分を補正して測定ガスの濃度を算出する。
しかしながら、この方法の場合、複数のフィルタが必要である。また、H20定性用光学フィルタと測定ガス定性用光学フィルタを赤外線センサに対する赤外線の光路上に切り換て配置するための切換装置が必要である。さらには、赤外線センサからの信号がどちらのフィルタを通過した際の信号なのかを判断するための位置認識装置が必要である。従って、赤外線式ガス検出器の体格を小型化するのが困難である。
それに対し、本実施形態における赤外線式ガス検出器100は、赤外線センサ13の検出信号から水蒸気の干渉分を補正するために、絶対湿度を検出する湿度検出部20を有している。
ここで、絶対湿度と赤外線透過率(水蒸気による)との関係は、例えば久野治義著、“赤外線光学”、社団法人電子情報通信学会、平成10年5月20日発行、p58〜59に記載されている。その一例を図2に示す。尚、図2において、赤外線の波長は3.3μmである。
すなわち、湿度検出部20により絶対湿度を検出することで、所定の赤外線波長における水蒸気の赤外線吸収率(赤外線透過率)を算出し、水蒸気の干渉分を含む赤外線センサ13の検出信号から、水蒸気の干渉分を補正することができ、赤外線吸収波長が水蒸気と重複する測定ガスの濃度を精度良く検出することができる。
測定ガスの濃度の算出方法としては、例えば絶対湿度から求められる水蒸気の赤外線透過率(%)をx、赤外線センサ13にて検出された水蒸気の干渉分を含む検出信号(センサ出力)をyとすると、測定ガスのセンサ出力を下記式で示すことができる。
(式1)測定ガスのセンサ出力(%)=y×100/x
尚、図3において数式1の関係を示している。図3において、ハッチング部分が水蒸気による干渉分(100−x)を、破線が赤外線センサ13にて検出された水蒸気の干渉分を含むセンサ出力yを、実線が水蒸気の干渉分を補正した測定ガスのセンサ出力を示している。
本実施形態においては、湿度検出部20からの絶対湿度信号を受けた処理部30としての回路チップが、絶対湿度から水蒸気の赤外線透過率xを算出し、上記数式1の演算を実行して、測定ガスのセンサ出力を外部に出力する構成としている。
このように、本実施形態における赤外線式ガス検出器100及び赤外線式ガス検出方法によると、湿度検出部20により絶対湿度を検出することができるので、水蒸気の干渉分を含む赤外線センサ13の検出信号から水蒸気の干渉分を補正することができる。すなわち、赤外線吸収波長が水蒸気と重複する測定ガスの濃度を精度良く検出することができる。
また、湿度検出部20を新たに備えるものの、上述のように複数の定性用光学フィルタ、切換装置、及び位置認識装置が不要であるので、従来よりも体格を小型化することができる。
以上本発明の好ましい実施形態について説明したが、本発明は上述の実施形態のみに限定されず、種々変更して実施する事ができる。
本実施形態においては図示していないが、処理部30とは別個に、赤外線センサ13及び/又は湿度検出部20に信号処理用の回路チップを配置した構成としても良い。
また、本実施形態においては、赤外線センサ13(検出部10)の検出信号を湿度検出部20により検出した絶対湿度に基づいて補正する例を示した。しかしながら、赤外線式ガス検出器100が、さらに測定ガス及び水蒸気のいずれの赤外線吸収波長とも重複しない所定波長の赤外線を吸収し、赤外線吸収量に応じた参照信号を出力する参照部を備え、参照信号に基づいて赤外線センサ13の検出信号をさらに補正する構成としても良い。
参照部を備える赤外線式ガス検出器100の構成例を図4に示す。図4において、参照部40は検出部10と一体に構成されており、検出部10を構成する台座11とキャップ12からなる内部空間に、受光した赤外線量に応じた検出信号(参照信号)を出力する参照用赤外線センサ41が、赤外線センサ13と並んで配置されている。また、キャップ12には、参照用赤外線センサ41に対応する位置に参照用入射窓部12cが設けられ、当該参照用入射窓部12cに、特定波長の赤外線(測定ガス及び水蒸気のいずれの赤外線吸収波長とも重複しない)のみを選択的に透過させる参照用バンドパスフィルタ12dが設置されている。さらに、キャップ12には、各バンドパスフィルタ12b,12dを透過した赤外線が、対応しない赤外線センサ13,41側へ入射するのを防ぐために、上部から台座11側に向けて伸延する隔壁12eが設けられている。そして、参照用赤外線センサ41が、台座11上に例えば接着剤を介して固定されており、キャップ12の参照用バンドパスフィルタ12dを透過する特定波長の赤外線のみを吸収し、その赤外線吸収量に応じた参照信号を処理部30に出力するように構成されている。
このように、参照部40から出力される参照信号は測定ガス及び水蒸気の影響を受けない。従って、参照部40が出力する初期の参照信号(赤外線受光量にもとづく参照用赤外線センサ41のセンサ出力)を基準出力とし、赤外線光源の劣化により低下した参照信号を乗算して基準出力に補正する際の係数を用いて、検出部10の検出信号を補正する。これにより、同一の赤外線光源の劣化により検出部10が受光する赤外線量が低下しても、センサ感度の低下を防ぐことができる。
また、図4に示すように、検出部10及び参照部40を同一のキャップ12内に配置した構成とすると、赤外線光源に対する赤外線式ガス検出器100毎の検出部10及び参照部40の位置のばらつきを低減できる。また、検出部10及び参照部40のいずれか一方だけ外部雰囲気(温度等)の影響を強く受けることはないので、参照信号に基づいて検出信号を精度よく補正することができる。さらには、赤外線式ガス検出器100の体格を小型化できる。しかしながら、参照部40は、上記図4の構成に限定されるものではない。例えば、赤外線センサ13と参照用赤外線センサ41が同一基板を用いて形成されても良い。また、異なる内部空間(異なるキャップ12と台座11からなる)に赤外線センサ13と参照用赤外線センサ41がそれぞれ配置されても良い。
また、本実施形態においては、赤外線式ガス検出器100が通電することにより抵抗体を発熱させて赤外線を放射する光源部(赤外線光源)を一体に有していない例を示した。しかしながら、光源部を一体に備える構成としても良い。
また、本実施形態において、湿度検出部20は、赤外線センサ13と同一の台座11に固定されている例を示した。しかしながら、湿度検出部20の配置は本実施形態に限定されるものではない。
本発明の第1の実施形態における赤外線式ガス検出器の概略構成を示す図である。 絶対湿度と赤外線透過率との関係を示す図である。 測定ガスの濃度検出方法を説明するための図である。 赤外線式ガス検出器の変形例を示す概略構成図である。
符号の説明
10・・・検出部
11・・・台座
12・・・キャップ
12b・・・バンドパスフィルタ
13・・・赤外線センサ
20・・・湿度検出部
30・・・処理部(回路チップ)
40・・・参照部
41・・・参照用赤外線センサ
100・・・赤外線式ガス検出器

Claims (6)

  1. 特定波長の赤外線を吸収し、赤外線吸収量に応じた検出信号を出力する検出部を備え、
    前記検出信号に基づいて、赤外線吸収波長が水蒸気と重複する測定ガスの濃度を検出する赤外線式ガス検出器において、
    前記測定ガスと共存し、前記赤外線を一部吸収する前記水蒸気の絶対湿度を検出する湿度検出部をさらに備え、
    検出された前記絶対湿度に基づいて前記検出信号を補正し、補正された前記検出信号に基づいて前記測定ガスの濃度を検出する構成としたことを特徴とする赤外線式ガス検出器。
  2. 抵抗体を発熱させることにより赤外線を放射する光源部をさらに備えることを特徴とする請求項1に記載の赤外線式ガス検出器。
  3. 前記測定ガス及び前記水蒸気のいずれの赤外線吸収波長とも重複しない所定波長の赤外線を吸収し、赤外線吸収量に応じた参照信号を出力する参照部をさらに備え、
    前記参照信号に基づいて前記検出信号を補正し、補正された前記検出信号に基づいて前記測定ガスの濃度を検出する構成としたことを特徴とする請求項1に記載の赤外線式ガス検出器。
  4. 同一の光源部から放射された赤外線を受光するように、前記検出部及び前記参照部が同一のパッケージ内に配置されていることを特徴とする請求項3に記載の赤外線式ガス検出器。
  5. 特定波長の赤外線を吸収し、赤外線吸収量に応じた検出信号を出力する検出部を備え、
    前記検出信号に基づいて測定ガスの濃度を検出する赤外線式ガス検出方法であって、
    前記測定ガスと共存し、前記赤外線を一部吸収する前記水蒸気の絶対湿度を検出することにより、検出された前記絶対湿度に基づいて前記検出信号を補正し、補正された前記検出信号に基づいて前記測定ガスの濃度を検出することを特徴とする赤外線式ガス検出方法。
  6. 前記測定ガス及び前記水蒸気のいずれの赤外線吸収波長とも重複しない所定波長の赤外線を検出することにより、その赤外線量に基づいて前記検出信号を補正し、補正された前記検出信号に基づいて前記測定ガスの濃度を検出することを特徴とする請求項5に記載の赤外線式ガス検出方法。
JP2004109379A 2004-04-01 2004-04-01 赤外線式ガス検出器及び検出方法 Pending JP2005292009A (ja)

Priority Applications (3)

Application Number Priority Date Filing Date Title
JP2004109379A JP2005292009A (ja) 2004-04-01 2004-04-01 赤外線式ガス検出器及び検出方法
DE200510014186 DE102005014186A1 (de) 2004-04-01 2005-03-29 Infrarotgasdetektor und Verfahren zum Einsatz desselben
US11/095,468 US7288766B2 (en) 2004-04-01 2005-04-01 Infrared gas detector and method of the same

Applications Claiming Priority (1)

Application Number Priority Date Filing Date Title
JP2004109379A JP2005292009A (ja) 2004-04-01 2004-04-01 赤外線式ガス検出器及び検出方法

Publications (1)

Publication Number Publication Date
JP2005292009A true JP2005292009A (ja) 2005-10-20

Family

ID=35034283

Family Applications (1)

Application Number Title Priority Date Filing Date
JP2004109379A Pending JP2005292009A (ja) 2004-04-01 2004-04-01 赤外線式ガス検出器及び検出方法

Country Status (3)

Country Link
US (1) US7288766B2 (ja)
JP (1) JP2005292009A (ja)
DE (1) DE102005014186A1 (ja)

Cited By (5)

* Cited by examiner, † Cited by third party
Publication number Priority date Publication date Assignee Title
KR101034647B1 (ko) 2008-09-30 2011-05-16 (주)유우일렉트로닉스 웨이퍼 레벨 패키징을 이용한 ndir 방식의 가스 센서용적외선 감지소자 및 그의 제조방법
JP2014074629A (ja) * 2012-10-03 2014-04-24 Chino Corp ガスセンサ
KR20150145951A (ko) * 2014-06-20 2015-12-31 (주)야긴스텍 가스누출 감지시스템
JP2018116202A (ja) * 2017-01-20 2018-07-26 京セラドキュメントソリューションズ株式会社 一体型センサーおよびそれを備えた画像形成装置
WO2019008925A1 (ja) * 2017-07-07 2019-01-10 Phcホールディングス株式会社 ガスセンサ及び恒温装置

Families Citing this family (11)

* Cited by examiner, † Cited by third party
Publication number Priority date Publication date Assignee Title
US7807972B2 (en) * 2005-01-26 2010-10-05 Analog Devices, Inc. Radiation sensor with cap and optical elements
US8487260B2 (en) * 2005-01-26 2013-07-16 Analog Devices, Inc. Sensor
US8523427B2 (en) 2008-02-27 2013-09-03 Analog Devices, Inc. Sensor device with improved sensitivity to temperature variation in a semiconductor substrate
US7996159B2 (en) * 2008-09-10 2011-08-09 Delphian Corporation Gas detector system and method
JP2011128140A (ja) * 2009-11-19 2011-06-30 Dainippon Printing Co Ltd センサデバイス及びその製造方法
EP2946194B1 (en) 2013-01-17 2023-07-05 Detector Electronics Corporation Open path gas detector
US10883875B2 (en) 2015-03-05 2021-01-05 Honeywell International Inc. Use of selected glass types and glass thicknesses in the optical path to remove cross sensitivity to water absorption peaks
WO2017044436A1 (en) 2015-09-10 2017-03-16 Honeywell International Inc. Gas detector with normalized response and improved sensitivity
US10393591B2 (en) 2015-10-09 2019-08-27 Honeywell International Inc. Electromagnetic radiation detector using a planar Golay cell
CN106370614A (zh) * 2016-08-15 2017-02-01 长春理工大学 多等分红外波段气体探测装置及方法
CN113015641A (zh) 2019-09-18 2021-06-22 开利公司 经加热气体检测器

Family Cites Families (9)

* Cited by examiner, † Cited by third party
Publication number Priority date Publication date Assignee Title
US3790797A (en) * 1971-09-07 1974-02-05 S Sternberg Method and system for the infrared analysis of gases
US4355233A (en) * 1979-02-22 1982-10-19 Beckman Instruments, Inc. Method and apparatus for negating measurement effects of interferent gases in non-dispersive infrared analyzers
US5041723A (en) * 1989-09-30 1991-08-20 Horiba, Ltd. Infrared ray detector with multiple optical filters
US5468961A (en) * 1991-10-08 1995-11-21 Fisher & Paykel Limited Infrared gas analyser and humidity sensor
US5418366A (en) * 1994-05-05 1995-05-23 Santa Barbara Research Center IR-based nitric oxide sensor having water vapor compensation
US5591975A (en) * 1993-09-10 1997-01-07 Santa Barbara Research Center Optical sensing apparatus for remotely measuring exhaust gas composition of moving motor vehicles
US5886348A (en) * 1997-02-14 1999-03-23 American Intell-Sensors Corporation Non-dispersive infrared gas analyzer with interfering gas correction
US20020026822A1 (en) * 2000-07-26 2002-03-07 Reading Andrew R. Vehicle gas emission sampling and analysis assembly
JP2003050203A (ja) 2001-08-03 2003-02-21 Nissan Motor Co Ltd 非分散型赤外吸収式ガス分析装置及び分析方法

Cited By (7)

* Cited by examiner, † Cited by third party
Publication number Priority date Publication date Assignee Title
KR101034647B1 (ko) 2008-09-30 2011-05-16 (주)유우일렉트로닉스 웨이퍼 레벨 패키징을 이용한 ndir 방식의 가스 센서용적외선 감지소자 및 그의 제조방법
JP2014074629A (ja) * 2012-10-03 2014-04-24 Chino Corp ガスセンサ
KR20150145951A (ko) * 2014-06-20 2015-12-31 (주)야긴스텍 가스누출 감지시스템
KR101598280B1 (ko) * 2014-06-20 2016-02-29 (주)야긴스텍 가스누출 감지시스템
JP2018116202A (ja) * 2017-01-20 2018-07-26 京セラドキュメントソリューションズ株式会社 一体型センサーおよびそれを備えた画像形成装置
WO2019008925A1 (ja) * 2017-07-07 2019-01-10 Phcホールディングス株式会社 ガスセンサ及び恒温装置
JPWO2019008925A1 (ja) * 2017-07-07 2020-01-09 Phcホールディングス株式会社 ガスセンサ及び恒温装置

Also Published As

Publication number Publication date
US20050218327A1 (en) 2005-10-06
US7288766B2 (en) 2007-10-30
DE102005014186A1 (de) 2005-10-20

Similar Documents

Publication Publication Date Title
JP2005292009A (ja) 赤外線式ガス検出器及び検出方法
US8467051B2 (en) Widely-tunable semiconductor source integrated in windowed hermetic package
KR101837073B1 (ko) 광음향 기체 센서를 위한 통합된 ir 소스 및 음향 검출기
US9546950B2 (en) Optical gas sensing apparatus with explosion-proof enclosure
US20010015408A1 (en) Infrared optical gas-measuring device and gas-measuring process
US11835451B2 (en) Gas sensor
JPH07151684A (ja) 赤外線式ガス分析計
KR100910871B1 (ko) Co₂간섭을 배제한 굴뚝용 실시간 수분측정방법 및 장치
JP2009257808A (ja) 赤外線ガス分析計
CN102171548A (zh) 适于对高浓度气体进行光谱分析的设备
US8661874B2 (en) Photoacoustic detector with background signal correction
JP2006038721A (ja) ガス濃度検出装置
JP2004294214A (ja) ガス検出装置
US8729475B1 (en) Absorption biased single beam NDIR gas sensor
JPH06249779A (ja) ガス分析計
US10996201B2 (en) Photoacoustic measurement systems and methods using the photoacoustic effect to measure emission intensities, gas concentrations, and distances
US20170052113A1 (en) Spectroscopic sensor device and method for operating a spectroscopic sensor device
JP2013185996A (ja) 非分散型赤外線分析式ガス検知器
JP2022151664A (ja) ガスセンサ
JP4790330B2 (ja) ガス濃度測定装置
EP3726200A1 (en) Particle sensor
JP2011169644A (ja) 光検出器
JP4906477B2 (ja) ガス分析装置及びガス分析方法
JP2004053432A (ja) 赤外線ガス分析計
CN221667569U (zh) 一种to封装气体探测器

Legal Events

Date Code Title Description
A621 Written request for application examination

Free format text: JAPANESE INTERMEDIATE CODE: A621

Effective date: 20060621

A977 Report on retrieval

Free format text: JAPANESE INTERMEDIATE CODE: A971007

Effective date: 20080118

A131 Notification of reasons for refusal

Free format text: JAPANESE INTERMEDIATE CODE: A131

Effective date: 20080212

A521 Written amendment

Free format text: JAPANESE INTERMEDIATE CODE: A523

Effective date: 20080410

A521 Written amendment

Free format text: JAPANESE INTERMEDIATE CODE: A523

Effective date: 20080422

A02 Decision of refusal

Free format text: JAPANESE INTERMEDIATE CODE: A02

Effective date: 20080617