JP2005291901A - レンズメータ - Google Patents

レンズメータ Download PDF

Info

Publication number
JP2005291901A
JP2005291901A JP2004106805A JP2004106805A JP2005291901A JP 2005291901 A JP2005291901 A JP 2005291901A JP 2004106805 A JP2004106805 A JP 2004106805A JP 2004106805 A JP2004106805 A JP 2004106805A JP 2005291901 A JP2005291901 A JP 2005291901A
Authority
JP
Japan
Prior art keywords
lens
light
measurement
receiving element
projecting
Prior art date
Legal status (The legal status is an assumption and is not a legal conclusion. Google has not performed a legal analysis and makes no representation as to the accuracy of the status listed.)
Pending
Application number
JP2004106805A
Other languages
English (en)
Inventor
Satoshi Imaizumi
智 今泉
Current Assignee (The listed assignees may be inaccurate. Google has not performed a legal analysis and makes no representation or warranty as to the accuracy of the list.)
Nidek Co Ltd
Original Assignee
Nidek Co Ltd
Priority date (The priority date is an assumption and is not a legal conclusion. Google has not performed a legal analysis and makes no representation as to the accuracy of the date listed.)
Filing date
Publication date
Application filed by Nidek Co Ltd filed Critical Nidek Co Ltd
Priority to JP2004106805A priority Critical patent/JP2005291901A/ja
Publication of JP2005291901A publication Critical patent/JP2005291901A/ja
Pending legal-status Critical Current

Links

Images

Landscapes

  • Testing Of Optical Devices Or Fibers (AREA)

Abstract

【課題】 被検レンズの度数の違いの影響を受けず、測定精度の安定化を図ることができるレンズメータを提供すること。
【解決手段】 被検レンズを所定の位置に載置するためのノーズピースと、測定光源からの測定光束を被検レンズへ投光する投光レンズ系を持ち、被検レンズに対して少なくとも3つの測定光束を投光する投光光学系と、被検レンズを透過した後の測定光束を結像光学系を介さずに受光する位置に配置された2次元受光素子とを備え、前記2次元受光素子の出力に基づいて被検レンズの光学特性を測定するレンズメータであって、前記投光レンズ系は、前記測定光源とノーズピースに載置される被検レンズ付近とが共役関係となるように配置されていること。
【選択図】 図1


Description

本発明は、被検レンズの光学特性を測定するレンズメータに関する。
レンズメータとしては、光源からの測定光束をコリメータレンズで平行光束として被検レンズに投光し、被検レンズを通過した後の光束を少なくとも3個の開口及びこの開口にそれぞれ配設した収束レンズを介して2次元受光素子に投影し、受光素子に投影された開口のスポット像の位置を検出することにより、被検レンズの光学特性を測定するものが知られている(特許文献1参照)。
特開平11−255581号
しかし、上記のようなレンズメータにおいては、受光素子上のスポット像のサイズ及び光量が被検レンズの度数により変化する問題があった。例えば、開口にそれぞれ配設した収束レンズによる収束光が、0D度数のときに受光素子上で集光するような配置とした場合、被検レンズが高度数になる程、受光素子上のスポット像のサイズは広がり、光量は低下する。受光素子のダイナミックレンジが狭いと、0D度数の付近で十分な階調がとれても、高度数になる程スポット像の光量が低下し、階調がとれずに、スポット像の位置検出精度の低下を招く問題がある。
本発明は、上記問題点を鑑み、被検レンズの度数の違いの影響を受けず、測定精度の安定化を図ることができるレンズメータを提供することを技術課題とする。
(1) 被検レンズを所定の位置に載置するためのノーズピースと、測定光源からの測定光束を被検レンズへ投光する投光レンズ系を持ち、被検レンズに対して少なくとも3つの測定光束を投光する投光光学系と、被検レンズを透過した後の測定光束を結像光学系を介さずに受光する位置に配置された2次元受光素子とを備え、前記2次元受光素子の出力に基づいて被検レンズの光学特性を測定するレンズメータであって、前記投光レンズ系は、前記測定光源とノーズピースに載置される被検レンズ付近とが共役関係となるように配置されていることを特徴とする。
(2) (1)のレンズメータにおいて、前記投光光学系は前記測定光源と投光レンズ系との間に配置され、且つ前記投光レンズ系の像側焦点位置に配置された絞りを備え、前記測定光源は少なくとも3個配置されていることを特徴とする。
(3) (2)のレンズメータにおいて、前記絞りの径を変化させる絞り径可変手段と、前記2次元受光素子の出力に基づいて前記絞り径可変手段を制御する制御手段と、を備えることを特徴とする。
(4) (1)の投光レンズ系は、コリメータレンズと、該コリメータレンズを通過した前記測定光源からの光をリング状に制限して被検レンズに集光するリングレンズと、を持つことを特徴とする。
本発明によれば、被検レンズの度数の違いの影響を受けずに、測定精度の安定化を図ることができる。
以下、本発明の実施形態を図面に基づいて説明する。図1は、本実施例におけるレンズメータの光学系及び制御系を示す概略構成図である。
19は被検レンズLEに測定光束を投光する投光光学系であり、順に、測定光源1、可変絞り2、投光レンズ3により構成されている。測定光源1は白色LEDからなり、測定光軸L1から等距離の位置に90度間隔で4つ配置されている。可変絞り2は絞りの径が可変であり、投光レンズ3の光軸L1を中心とした円形の開口により光源1からの測定光束を制限する。投光レンズ3は光源1からの測定光束を被検レンズLEへ投光する。可変絞り2は投光レンズ3の物側焦点位置に配置され、可変絞り2と投光レンズ3は像側テレセントリック光学系を構成している。
5は被検レンズLEを載置するためのノーズピースである。6はe線(546.07nm)付近のみのを通過させるバンドパスフィルタである。4は2次元受光素子である。投光レンズ3は、光源1とノーズピース5上に配置される被検レンズLE付近とが共役関係となるように配置されている(必要な精度との関係で略共役となれば良い)。
各光源1からの光は、可変絞り2、投光レンズ3を介して4本の収束光束となって、被検レンズLEに投光される。そして、被検レンズLEを透過した4本の測定光束は、レンズ等の結像光学系を介さずに直接二次元受光素子4に受光され、二次元受光素子4上には4つの測定光束によるスポット像が投影される。二次元受光素子4からの出力信号は制御部10へと入力され、制御部10は所定の演算を行って被検レンズLEの光学特性を得る。また、制御部10には、可変絞り2の絞りの径を変えるための絞り駆動部11、メモリ12、測定結果等を表示するモニタ13、スイッチ部14が接続されている。
このような測定光学系による被検レンズLEの光学特性の測定方法を説明する。各光源11の点灯により可変絞り2が個別に照明される。そして、光源1からの光が像側テレセントリック光学系を構成する可変絞り2と投光レンズ3を通過すると、測定光束の主光線が光軸L1に対して平行となって被検レンズLEへと向かう。ここで、光源1からの投射された光は投光レンズ3により被検レンズLEで集光される。投光レンズ3によって光源1と被検レンズLE付近とを共役関係としたことにより、被検レンズLEはフィールドレンズが配置される場合と同じ位置になるので、被検レンズの度数の影響を受けずに、二次元受光素子4上にはほぼ一定の受光光量で、ほぼ同じ大きさのスポット像が投影される。これにより、二次元受光素子4上のダイナミックレンジが狭い場合でも、度数によらずに一定の階調が得られ、安定したスポット像の位置検出が可能になり、測定精度が安定する。また、被検レンズLEから二次元受光素子4までの光路には、収差補正用レンズや高価なレンズ等の結像光学系を設けずに、二次元受光素子4上にはほぼ一定の受光光量で、ほぼ同じ大きさのスポット像を投影することができるので、光学素子やその組立てコストが安価な装置とすることができる。
図2(a)は、ある度数の被検レンズLEを測定した時の二次元受光素子4上に投影されたスポット像S1〜S4を示す図である。図2(a)のようにスポット像が二次元受光素子4により検出される場合、被検レンズLEがない時には、直進した測定光束によるスポット像が二次元受光素子4上に投影される。これに対し、プラス度数を持った被検レンズLEが置かれると、スポット像同士の間隔が被検レンズLEの無い場合に比べて小さくなって二次元受光素子4に投影される。逆に、マイナス度数を持った被検レンズが置かれると、スポット像同士の間隔が被検レンズLEの無い場合に比べて大きくなって二次元受光素子4上に投影される。また、乱視度数を持った被検レンズLEが置かれると、所定の乱視軸角度に応じて傾斜したスポット像が投影される。
制御部10は二次元受光素子4によって検出されたスポット像の位置を算出する。図2(b)は、スポット像が受光素子に検出された時の受光光量の変化を示す図である。まず、制御部10は、受光光量の立ち上がり位置Sminを求め、次に、立ち上がり位置Sminから所定レベル増加した光量Ksにおける二次元受光素子4上の変位Paを求める。さらに、制御部10は、受光光量のピークSmaxを過ぎて、再び光量Ksとなった時の二次元受光素子4上の変位Pbを求める。そして、変位Paと変位Pbの中間点が二次元受光素子4上のスポット像の位置Psとなる。この時、どんな度数の被検レンズを測定しても、ほぼ一定の受光光量で、ほぼ同じ大きさのスポット像が結像するので、スポット像の位置検出精度が安定する。
制御部10は、二次元受光素子4で検出されるスポット像S1〜S4の位置を算出した後、スポット像S1〜S4の位置関係に基づいて、球面屈折力、柱面屈折力、乱視軸角度等の光学特性を求める。よって、以上のような構成によって被検レンズの光学特性を測定すれば、どんな度数の被検レンズを測定しても、一定の測定精度を保つことができ、測定精度を安定させることができる。また、異なる度数の被検レンズLEを測定する場合も、測定光束が被検レンズLEに入射する位置が同じであるので、度数によらず常に同じ位置で測定が可能である。
なお、図1に示した投光光学系19では、光源1の数は4つとしたが、光軸L1を中心に少なくとも3つの光源を設ければ、球面度数の他、乱視度数等を測定することができる。
次に、図1に示した光学系及び制御系を備えるレンズメータにおいて、可変絞り2の絞りの径を変える時の動作について説明する。図3は、測定する被検レンズLEが高度数のプラスレンズである場合の、二次元受光素子4上に形成されたスポット像S1〜S4を示す図である。高度数のプラスレンズの測定では、図3のようにスポット像同士が密集しすぎてスポット像同士が重なりあってしまうことがある。このような場合、二次元受光素子4上のスポット像S1及びS2による受光光量の変化は図4(a)のようになり、制御部10では二つのスポット像として位置検出を行うことができずに測定精度が低下する。そこで、制御部10により光源1を点灯した時に二次元受光素子4からの出力信号に基づいてスポット像S1〜S4まで4つ全て検出されず、スポット像が3つ以下と判定された時には、制御部10は絞り駆動部11を駆動させることにより可変絞り2の絞りの径を小さくする。可変絞り2の絞りの径を小さくすると、二次元受光素子4上のスポット像サイズが小さくなる。図4(b)は、可変絞り2の絞りの径を小さくした時のスポット像S1及びS2による受光光量の変化を示す図である。このような状態となれば、制御部10は分離した各スポット像をそれぞれ検出でき、それぞれのスポット像の位置検出を行うことができるようになる。そして、制御部10はスポット像S1〜S4の位置を算出し、スポット像S1〜S4の位置関係に基づいて被検レンズLEの光学特性を測定する。
以上のような構成とすれば、高度数のプラスレンズを測定した場合においても、測定精度を下げることなく測定を行うことができる。但し、制御部10にてスポット像が3つ以下と検出されてから可変絞り2の絞りの径を小さくしても、スポット像の分離が検出されなかった場合には、制御部10は傷や汚れによるものだと判定する。
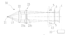
図5は、本発明に係るレンズメータの変容例の光学系及び制御系を示す図である。30は被検レンズLEに測定光束を投光する投光光学系であり、順に、測定光源21、コリメータレンズ22、リングレンズ23により構成されている。光源21は測定光軸L1上に配置され測定光束を投射する。コリメータレンズ22は光源21から投射された光束を平行光束へ変換する。リングレンズ23は、図5及び図6に示すように平板上に円筒レンズをリング状に形成したレンズ部23aと、このレンズ部23a以外に遮光のためのコーティングを施した遮光部23bより構成されている。遮光部23bによりリング状開口が形成される。なお、リング状開口を持つ遮光部23bは、レンズ部23aの近傍に別部材で構成してもよい。被検レンズLE側には、被検レンズLEを載置するためのノーズピース5、e線(546.07nm)付近のみのを通過させるバンドパスフィルタ6、2次元受光素子4が順に配置されている。ここで、コリメータレンズ22及びリングレンズ23からな投光レンズ系は、光源21とノーズピース5上に配置される被検レンズLE付近とが共役関係となるように配置されている。
光源21からの光は、コリメータレンズ22、リングレンズ23を介してリング状光束に制限されると共に、投光レンズ系(コリメータレンズ22及びリングレンズ23)の集光作用によって、ノーズピース5に載置された被検レンズLEの位置で集光する。投光レンズ系によって光源1と被検レンズLEの位置とを共役関係としたことにより、被検レンズLEはフィールドレンズが配置される場合と同じ位置になるので、被検レンズの度数の影響を受けずに、二次元受光素子4上にほぼ一定の光量で、外径と内径の幅がほぼ一定のリングパターン像ができる。
図7は、ある度数の被検レンズLEを測定した時の二次元受光素子4上に投影されたリングパターン像を示す図である。このようにリングパターン像が二次元受光素子4により検出される場合、被検レンズLEがない時には、直進した測定光束によるリングパターン像が二次元受光素子4に投影される。これに対し、プラス度数を持った被検レンズLEが置かれると、二次元受光素子4上のリングパターン像は小さくなる。逆に、マイナス度数を持った被検レンズが置かれると、二次元受光素子4上のリングパターン像は大きくなる。乱視度数を持った被検レンズLEが置かれると、リングパターン像が楕円形状となる。したがって、リングパターン像の形状を解析することにより、レンズLEの光学特性が求められる。このとき、被検レンズの度数に拘わらず、ほぼ一定の受光光量で、外径と内径の幅が一定のリングパターン像となるので、その位置検出精度が安定する。
なお、上記変容例の投光光学系30において、リングレンズ23の代わりに、図8のようなマスク板40のスポット状の開口部に収束レンズ40aを設け、収束レンズ40a周辺を遮光部40bとしたものを配置してもよい。このような構成においても、レンズ40aを介して測定光束が4つのスポット状光束となり、レンズ40aの集光作用によって被検レンズLEの位置で集光し、受光素子4上のスポット像サイズは、どんな度数の被検レンズであっても変わらなくなる。なお、リングレンズ23は、スポット状の開口部と収束レンズ40aとを光軸L1を中心に多数配置した構成と見なすことができ、この場合も少なくとも3つの測定光束を投光する投光光学系30に含まれるものである。
本実施例におけるレンズメータの光学系及び制御系を示す概略構成図である。 ある度数の被検レンズを測定した時の二次元受光素子上に投影されたスポット像を示す図、及びスポット像が受光素子に検出された時の受光光量の変化を示す図である。 被検レンズが高度数のプラスレンズである場合の二次元受光素子上に形成されたスポット像を示す図である。 スポット像同士が重なりあった時の二次元受光素子上のスポット像S1及びS2による受光光量の変化を示す図、及び各スポット像が分離された時のスポット像S1及びS2による受光光量の変化を示す図である。 本発明に係るレンズメータの変容例の光学系及び制御系を示す図である。 リングレンズの構成を説明するための図である。 ある度数の被検レンズLEを測定した時の二次元受光素子上に投影されたリングパターン像を示す図である。 スポット状の開口部に収束レンズが設けられたマスク板の構成を説明するための図である。
符号の説明
1 測定光源
2 可変絞り
3 投光レンズ
4 2次元受光素子
5 ノーズピース
10 制御部
11 絞り駆動部
LE 被検レンズ
S1〜S4 スポット像
L1 光軸
21 光源
22 コリメータレンズ
23 リングレンズ
40 マスク板




Claims (4)

  1. 被検レンズを所定の位置に載置するためのノーズピースと、測定光源からの測定光束を被検レンズへ投光する投光レンズ系を持ち、被検レンズに対して少なくとも3つの測定光束を投光する投光光学系と、被検レンズを透過した後の測定光束を結像光学系を介さずに受光する位置に配置された2次元受光素子とを備え、前記2次元受光素子の出力に基づいて被検レンズの光学特性を測定するレンズメータであって、前記投光レンズ系は、前記測定光源とノーズピースに載置される被検レンズ付近とが共役関係となるように配置されていることを特徴とするレンズメータ。
  2. 請求項1のレンズメータにおいて、前記投光光学系は前記測定光源と投光レンズ系との間に配置され、且つ前記投光レンズ系の像側焦点位置に配置された絞りを備え、前記測定光源は少なくとも3個配置されていることを特徴とするレンズメータ。
  3. 請求項2のレンズメータにおいて、前記絞りの径を変化させる絞り径可変手段と、前記2次元受光素子の出力に基づいて前記絞り径可変手段を制御する制御手段と、を備えることを特徴とするレンズメータ。
  4. 請求項1の投光レンズ系は、コリメータレンズと、該コリメータレンズを通過した前記測定光源からの光をリング状に制限して被検レンズに集光するリングレンズと、を持つことを特徴とするレンズメータ。



JP2004106805A 2004-03-31 2004-03-31 レンズメータ Pending JP2005291901A (ja)

Priority Applications (1)

Application Number Priority Date Filing Date Title
JP2004106805A JP2005291901A (ja) 2004-03-31 2004-03-31 レンズメータ

Applications Claiming Priority (1)

Application Number Priority Date Filing Date Title
JP2004106805A JP2005291901A (ja) 2004-03-31 2004-03-31 レンズメータ

Publications (1)

Publication Number Publication Date
JP2005291901A true JP2005291901A (ja) 2005-10-20

Family

ID=35324990

Family Applications (1)

Application Number Title Priority Date Filing Date
JP2004106805A Pending JP2005291901A (ja) 2004-03-31 2004-03-31 レンズメータ

Country Status (1)

Country Link
JP (1) JP2005291901A (ja)

Cited By (1)

* Cited by examiner, † Cited by third party
Publication number Priority date Publication date Assignee Title
CN110806307A (zh) * 2019-11-19 2020-02-18 中国兵器装备集团自动化研究所 一种光电稳瞄系统稳定精度快速检测方法

Cited By (1)

* Cited by examiner, † Cited by third party
Publication number Priority date Publication date Assignee Title
CN110806307A (zh) * 2019-11-19 2020-02-18 中国兵器装备集团自动化研究所 一种光电稳瞄系统稳定精度快速检测方法

Similar Documents

Publication Publication Date Title
JP5084327B2 (ja) 偏心検査装置及び偏心調整装置
US10634582B2 (en) Lens characteristic evaluation device and method of operating lens characteristic evaluation device
JP2005291900A (ja) レンズメータ
CN101424568A (zh) 光测量装置和扫描光学系统
JP2009300257A (ja) 測定用光学系
JP2005315654A (ja) レンズメータ
JP2005241605A (ja) レンズメータ
JP4458937B2 (ja) 眼屈折力測定装置
TWI699510B (zh) 增加用於檢測和度量之高度感測器之動態範圍
JP2005291901A (ja) レンズメータ
KR20050099475A (ko) 렌즈미터
JP4683270B2 (ja) レンズメータ
KR101487251B1 (ko) 옵티컬 트랙킹 시스템 및 이를 이용한 트랙킹 방법
JP2008026049A (ja) フランジ焦点距離測定装置
JP2003050109A (ja) 面形状測定装置および面形状測定方法
JP2003207323A (ja) 光学式変位測定器
JP2001166202A (ja) 焦点検出方法及び焦点検出装置
JP2013148437A (ja) 合焦検出装置、波面収差測定装置およびレンズの製造方法
JP2004085442A (ja) 変位測定装置
JP2007240168A (ja) 検査装置
JP2012229983A (ja) 変位センサ
JP2001188030A (ja) レンズメータ
CN213456056U (zh) 检测组件和检测装置
JP2012149984A (ja) 変位検出装置、露光装置、及びデバイス製造方法
JPH11304640A (ja) 光学素子検査装置