JP2005291870A - マイクロチャンネルモジュール - Google Patents
マイクロチャンネルモジュール Download PDFInfo
- Publication number
- JP2005291870A JP2005291870A JP2004106276A JP2004106276A JP2005291870A JP 2005291870 A JP2005291870 A JP 2005291870A JP 2004106276 A JP2004106276 A JP 2004106276A JP 2004106276 A JP2004106276 A JP 2004106276A JP 2005291870 A JP2005291870 A JP 2005291870A
- Authority
- JP
- Japan
- Prior art keywords
- glass
- microchannel module
- pair
- sample
- channel
- Prior art date
- Legal status (The legal status is an assumption and is not a legal conclusion. Google has not performed a legal analysis and makes no representation as to the accuracy of the status listed.)
- Withdrawn
Links
- 239000011521 glass Substances 0.000 claims abstract description 41
- 239000007853 buffer solution Substances 0.000 claims description 12
- BASFCYQUMIYNBI-UHFFFAOYSA-N platinum Chemical compound [Pt] BASFCYQUMIYNBI-UHFFFAOYSA-N 0.000 claims description 12
- 238000002347 injection Methods 0.000 claims description 10
- 239000007924 injection Substances 0.000 claims description 10
- 229910052697 platinum Inorganic materials 0.000 claims description 6
- VYZAMTAEIAYCRO-UHFFFAOYSA-N Chromium Chemical compound [Cr] VYZAMTAEIAYCRO-UHFFFAOYSA-N 0.000 claims description 5
- 238000000034 method Methods 0.000 claims description 5
- 238000004544 sputter deposition Methods 0.000 claims description 5
- 229910052804 chromium Inorganic materials 0.000 claims description 4
- 239000011651 chromium Substances 0.000 claims description 4
- 238000001997 free-flow electrophoresis Methods 0.000 claims description 4
- 239000000758 substrate Substances 0.000 abstract description 10
- 238000001962 electrophoresis Methods 0.000 abstract description 4
- 239000007788 liquid Substances 0.000 abstract description 4
- 238000004519 manufacturing process Methods 0.000 abstract description 3
- 239000000872 buffer Substances 0.000 abstract description 2
- 230000037431 insertion Effects 0.000 abstract 1
- 238000003780 insertion Methods 0.000 abstract 1
- 239000005357 flat glass Substances 0.000 description 4
- XUIMIQQOPSSXEZ-UHFFFAOYSA-N Silicon Chemical compound [Si] XUIMIQQOPSSXEZ-UHFFFAOYSA-N 0.000 description 3
- 239000012460 protein solution Substances 0.000 description 3
- 229910052710 silicon Inorganic materials 0.000 description 3
- 239000010703 silicon Substances 0.000 description 3
- 239000000853 adhesive Substances 0.000 description 2
- 230000001070 adhesive effect Effects 0.000 description 2
- 150000001413 amino acids Chemical class 0.000 description 2
- 238000004891 communication Methods 0.000 description 2
- 238000013461 design Methods 0.000 description 2
- 230000020169 heat generation Effects 0.000 description 2
- 238000012545 processing Methods 0.000 description 2
- 238000000926 separation method Methods 0.000 description 2
- 239000010409 thin film Substances 0.000 description 2
- 238000007792 addition Methods 0.000 description 1
- 238000010276 construction Methods 0.000 description 1
- 238000011161 development Methods 0.000 description 1
- 238000010438 heat treatment Methods 0.000 description 1
- 238000012986 modification Methods 0.000 description 1
- 230000004048 modification Effects 0.000 description 1
- 102000004169 proteins and genes Human genes 0.000 description 1
- 108090000623 proteins and genes Proteins 0.000 description 1
- 238000011160 research Methods 0.000 description 1
- 229910001220 stainless steel Inorganic materials 0.000 description 1
- 239000010935 stainless steel Substances 0.000 description 1
- 238000011144 upstream manufacturing Methods 0.000 description 1
- 239000002699 waste material Substances 0.000 description 1
Images
Landscapes
- Micromachines (AREA)
- Electrostatic Separation (AREA)
Abstract
【課題】 およそ100μm〜50μm程度のチャンネル間隙を低コストで製作可能なマイクロチャンネルモジュールを提供すること。
【解決手段】 2枚の平行平板間で形成されるチャンネル16の長手方向にバッファー液と共に試料を供給し、平行平板の幅方向両端に設けた1対の内部陰、陽電極10a,12aによる電位差で試料を泳動させて試料の成分を分離するフリーフロー型電気泳動のためのマイクロチャンネルモジュール1であって、一方のガラス体から成る基板2に形成される凸状体5と他方のガラス体から成る蓋板4に形成される凹状体6の高さの差を利用し、凸状体5と凹状体6を挿嵌接合することで微細間隙(100μm〜50μm)を形成する。
【選択図】 図4
Description
本発明は、2枚の平行平板間で形成されるチャンネルの長手方向にバッファー液と共に試料を供給し、平行平板の幅方向両端に設けた1対の電極による電位差で試料を泳動させて試料の成分を分離するフリーフロー型電気泳動のためのマイクロチャンネルモジュールに関する。
2枚の平行平板間で形成されるチャンネルの長手方向にバッファー液と共に試料を供給し、平行平板の幅方向両端に設けた1対の電極による電位差で試料を泳動させて試料の成分を分離するフリーフロー型電気泳動装置は既に知られている。このフリーフロー型電気泳動装置は連続して多数の試料を取り扱えて便利であるが、チャンネルの間隙を大きくすると高電圧を要し、電流の増大と温度上昇により、バッファー液から揮発ガスが生じ、その後ガス成分の一部が凝縮することで電気泳動作用の監視を困難にさせるために、1mm程度に抑えていた(特許文献1参照)。
このような技術上の背景に基づき、試料が流れるチャンネル間隙を1mmより更に小さく設定できれば、微小電力で駆動でき、ガスの発生も抑えられるという観点からマイクロ化の研究が進められているが、平行な微細流路の加工は困難でありコスト高になる欠点があるので、低電力でも試料の分離が正確に行われるようなバッファー液の開発が活発化しているのが現状である。
本発明は、このような事情に基づいてなされたもので、およそ100μm〜50μm程度のチャンネル間隙を低コストで製作できるマイクロチャンネルモジュールを提供することを目的とするものである。
上記の目的を解決するために、本発明の請求項1に記載のマイクロチャンネルモジュールは、2枚の平行平板間で形成されるチャンネルの長手方向にバッファー液と共に試料を供給し、平行平板の幅方向両端に設けた1対の電極による電位差で試料を泳動させて試料の成分を分離するフリーフロー型電気泳動のためのマイクロチャンネルモジュールであって、該モジュールは一対のガラス体を接合して形成され、一方のガラス体に凸状体を形成するとともに、他方のガラス体に前記凸状体を囲繞する凹状体を形成し、前記凸状体頂面と凹状体の底面と間で微細間隙のチャンネルを構成したことを特徴としている。
この特徴によれば、微細間隙をガラス体に直接形成するのでなく、一方のガラス体に凸状部を、他方のガラス体に凹状部を形成して、凸状部と凹状部の高さの差を利用して微細間隙を形成するのでマイクロチャンネルの形成が容易である。
この特徴によれば、微細間隙をガラス体に直接形成するのでなく、一方のガラス体に凸状部を、他方のガラス体に凹状部を形成して、凸状部と凹状部の高さの差を利用して微細間隙を形成するのでマイクロチャンネルの形成が容易である。
本発明の請求項2に記載のマイクロチャンネルモジュールは、請求項1に記載のマイクロチャンネルモジュールであって、前記一対のガラス体の接合を陽極接合法で行うことを特徴としている。
この特徴によれば、陽極接合法で熱膨張係数が等しいガラス体同士を接合するので、接合面の精度の向上が図れる。
この特徴によれば、陽極接合法で熱膨張係数が等しいガラス体同士を接合するので、接合面の精度の向上が図れる。
本発明の請求項3に記載のマイクロチャンネルモジュールは、請求項1または2に記載のマイクロチャンネルモジュールであって、1対の電極を一対のガラス体のどちらか一方に形成したことを特徴としている。
この特徴によれば、ガラス体のどちら側にも選択的に設けることができるので、モジュール設計の容易化が図れる。
この特徴によれば、ガラス体のどちら側にも選択的に設けることができるので、モジュール設計の容易化が図れる。
本発明の請求項4に記載のマイクロチャンネルモジュールは、請求項1ないし3のいずれかに記載のマイクロチャンネルモジュールであって、前記1対の電極は白金電極であり、ガラス体に対してクロム層を介してスパッタリング法で接合したことを特徴としている。
この特徴によれば、スパッタリング法でクロム層を介して白金電極をガラス体に接合するので、接着強度が大きく薄膜に形成できガラス体同士の接合に障害とならない。
この特徴によれば、スパッタリング法でクロム層を介して白金電極をガラス体に接合するので、接着強度が大きく薄膜に形成できガラス体同士の接合に障害とならない。
本発明の請求項5に記載のマイクロチャンネルモジュールは、請求項1ないし4の何れかに記載のマイクロチャンネルモジュールであって、前記ガラス体にはチャンネルの一端側に連通する注入用のガラス配管が、他端側に分取用のガラス配管が設けられていることを特徴としている。
この特徴によれば、ガラス体にガラス配管を設けることで、液漏れのない通路を形成することができる。
この特徴によれば、ガラス体にガラス配管を設けることで、液漏れのない通路を形成することができる。
本発明の請求項6に記載のマイクロチャンネルモジュールは、請求項1ないし5の何れかに記載のマイクロチャンネルモジュールであって、前記チャンネルの間隙が100μm〜50μmであることを特徴としている。
この特徴によれば、チャンネルの間隙が100μm〜50μmであるモジュールを製作することで、マイクロ化の利点、即ち微少電力、低発熱が図れ、少ない試料で分離が可能で、使用後の廃棄物の量も少なくすることができる。
この特徴によれば、チャンネルの間隙が100μm〜50μmであるモジュールを製作することで、マイクロ化の利点、即ち微少電力、低発熱が図れ、少ない試料で分離が可能で、使用後の廃棄物の量も少なくすることができる。
本発明の実施例を以下に説明する。
図1〜図5は、本発明の一実施形態を示すもので、図1は本発明に係るマイクロチャンネルモジュールの基部と蓋部を展開した状態を示す分解斜視図、図2は白金電極部の拡大断面図、図3は組立てられたマイクロチャンネルモジュールの全体斜視図、図4は組立てられたマイクロチャンネルモジュールの内部構造を示す断面図であり、図5(a)、(b)は流路を形成するための説明図である。
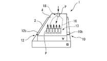
図1に示す符号1は、マイクロチャンネルモジュールを示し、このマイクロチャンネルモジュール1は、互いに接合される接合面間に微細な偏平空隙となる後述する流動室(チャンネル)を形成する平板状のガラス体で構成される基板2と蓋板4とから成り、基板2の上面内方には頂面が平坦な平面で外形が五角形となる凸状体5が形成されると共に、蓋板4の上面内方には底面が平坦な平面で外形が前記凸状体5に挿嵌可能な五角形となる凹状体6が形成されている。
基板2の凸状体5を囲む周囲には平坦な接合面2aが形成され、左右両側辺が下辺に対し垂直で且つ平行に形成される凸状体5の前方には、その頂面5aと下面を連通するサンプル注入ポート8が形成されている。
また、凸状体5の両側頂面には、両側辺に沿って延設される所定長さの1対の偏平な陰、陽の内部電極10a,12aと、これら両内部電極10a,12aの中央部から凸状体5両側の両接合面2aの端部まで延びる陰、陽の外部電極10b,12bとから成る陰、陽電極10,12が配設されている。
そして、これらの陰、陽電極10,12は、図2に示すように、凸状体を構成するガラス体2に対してクロム層14を介して白金電極15がスパッタリング法によって接合されている。このように、スパッタリング法により接合することで、接着強度が大きくなり薄膜に形成できるのでガラス体同士の接合の障害とならない。尚、陰、陽電極10,12は、凸状体5に限らず凹状体6に設けることも可能であり、どちら側のガラス体にも選択的に設けることでモジュール設計が容易となる。
一方、蓋板4の凹状体6を囲む周囲には平坦な接合面4aが形成され、凹状体6の下辺側には、底面6aと下面を連通する5つの連通孔から成る分取ポート13が形成されると共に三角形状の凹状体6先端には、凹状体6の底面6aと下面を連通するバッファー液注入ポート18が形成されている。
そして、凸状体5のサンプル注入ポート8、及び凹状体6の分取ポート13、バッファー液注入ポート18には所定長さのガラス管Pがそれぞれ溶着される。このように、各ポート8,13,18にガラス管Pを設けることで、液漏れのない通路を形成することができる。
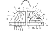
次に、マイクロチャンネルモジュール1の接合される接合面間に微細な偏平空隙となる流動室(チャンネル)の形成方法に付き図5(a)、(b)を参照して説明する。
図5(a)に示すように、板厚10mm前後の平板状ガラス体から成る基板2の上面には、接合面2aを基準として平行平坦な頂面5aまでの高さtの凸状体5を加工すると共に、同程度の板厚を有する平板状ガラス体から成る蓋板4の上面には、接合面4aを基準として平行平坦な底面6aまでの深さTの凹状体6が凸状体5に挿嵌可能な形状に正確に加工される。
そこで、基板2の凸状体5に蓋板4の凹状体6を挿嵌させて接合面2a,4aを接合させると、凸状体5の頂面5aと凹状体6の底面6aとの間に微細な平行間隙T−t=Δt(図4参照)が約100μm〜50μmになるように形成する。尚、間隙Δtが50μmの場合の許容誤差は±5μmである。
ここで、基板2と蓋板4を構成する平板状のガラス体は、熱膨張熱膨張係数が等しいガラス体であって、これらガラス体の基板2と蓋板4の接合には、両ガラス体間にシリコンを挟んでにヒータでシリコンを500℃程度に加熱することでシリコン表面を酸化させて接合する陽極接合法を採用することで、接合面精度の向上を図ることができる。
次に、前述した実施例で説明した構成のマイクロチャンネルモジュールを使用して試料の成分を分離するフリーフロー電気泳動に付き説明する。
図3に示すように、ガラス体によって構成される基板2と蓋板4の接合により一体化されたマイクロチャンネルモジュール1は、分取ポート13の5つの連通孔に装着された各ガラス管Pに例えばステンレス製の管を介して図示しない吸引ポンプを接続する。
次に、バッファー液をガラス管Pを介してバッファー液注入ポート18から偏平空隙となるチャンネル16内に注入し吸引ポンプを作動させることで、バッファー液は100μm〜50μm程度の偏平空隙のチャンネル16内に上流から下流の分取ポート13に向く矢印方向の流れが形成される。
そこで、陰、陽電極10,12に電圧を印加すると電荷が形成され、基板2下面のガラス管Pを介してサンプル注入ポート8からサンプル(試料)として、例えばタンパク質溶液がチャンネル16内に注入されると、タンパク質溶液中の電荷を帯びた成分(アミノ酸)は、陰、陽電極10,12による電位差で泳動して試料の成分が分離される。すなわち、タンパク質溶液中の電荷とゲル状のバッファー液の流れとによって、タンパク質は陽極電極12側へ、アミノ酸は陰極電極10側にひかれて泳動分離されながら分取ポート13へと排出される。
従って、チャンネル16の偏平空隙の間隙が100μm〜50μmであるモジュール1を製作することで、マイクロ化の利点、即ち微少電力、低発熱が図れ、少ないサンプルで分離が可能で、使用後の廃棄物の量も少なくすることができる。
以上、本発明の実施例を図面により説明してきたが、具体的な構成はこれら実施例に限られるものではなく、本発明の要旨を逸脱しない範囲における変更や追加があっても本発明に含まれる。
1 マイクロチャンネルモジュール
2 基板
2a 接合面
4 蓋板
4a 接合面
5 凸状体
5a 頂面
6 凹状体
6a 底面
8 サンプル注入ポート
10b,12b 外部電極
10a,12a 内部電極
10,12 陰、陽電極
13 分取ポート
14 クロム層
15 白金電極
16 チャンネル
18 バッファー液注入ポート
P ガラス管
Δt 間隙
2 基板
2a 接合面
4 蓋板
4a 接合面
5 凸状体
5a 頂面
6 凹状体
6a 底面
8 サンプル注入ポート
10b,12b 外部電極
10a,12a 内部電極
10,12 陰、陽電極
13 分取ポート
14 クロム層
15 白金電極
16 チャンネル
18 バッファー液注入ポート
P ガラス管
Δt 間隙
Claims (6)
- 2枚の平行平板間で形成されるチャンネルの長手方向にバッファー液と共に試料を供給し、平行平板の幅方向両端に設けた1対の電極による電位差で試料を泳動させて試料の成分を分離するフリーフロー型電気泳動のためのマイクロチャンネルモジュールであって、該モジュールは一対のガラス体を接合して形成され、一方のガラス体に凸状体を形成するとともに、他方のガラス体に前記凸状体を囲繞する凹状体を形成し、前記凸状体頂面と凹状体の底面と間で微細間隙のチャンネルを構成したことを特徴とするマイクロチャンネルモジュール。
- 前記一対のガラス体の接合を陽極接合法で行う請求項1に記載のマイクロチャンネルモジュール。
- 1対の電極を一対のガラス体のどちらか一方に形成した請求項1または2に記載のマイクロチャンネルモジュール。
- 前記1対の電極は白金電極であり、ガラス体に対してクロム層を介してスパッタリング法で接合した請求項1ないし3のいずれかに記載のマイクロチャンネルモジュール。
- 前記ガラス体にはチャンネルの一端側に連通する注入用のガラス配管が、他端側に分取用のガラス配管が設けられている請求項1ないし4の何れかに記載のマイクロチャンネルモジュール。
- 前記チャンネの間隙が100μm〜50μmである請求項1ないし5の何れかに記載のマイクロチャンネルモジュール。
Priority Applications (1)
| Application Number | Priority Date | Filing Date | Title |
|---|---|---|---|
| JP2004106276A JP2005291870A (ja) | 2004-03-31 | 2004-03-31 | マイクロチャンネルモジュール |
Applications Claiming Priority (1)
| Application Number | Priority Date | Filing Date | Title |
|---|---|---|---|
| JP2004106276A JP2005291870A (ja) | 2004-03-31 | 2004-03-31 | マイクロチャンネルモジュール |
Publications (1)
| Publication Number | Publication Date |
|---|---|
| JP2005291870A true JP2005291870A (ja) | 2005-10-20 |
Family
ID=35324963
Family Applications (1)
| Application Number | Title | Priority Date | Filing Date |
|---|---|---|---|
| JP2004106276A Withdrawn JP2005291870A (ja) | 2004-03-31 | 2004-03-31 | マイクロチャンネルモジュール |
Country Status (1)
| Country | Link |
|---|---|
| JP (1) | JP2005291870A (ja) |
Cited By (4)
| Publication number | Priority date | Publication date | Assignee | Title |
|---|---|---|---|---|
| KR100854160B1 (ko) * | 2002-08-28 | 2008-08-26 | 가부시끼가이샤 도시바 | 디스플레이 장치 |
| JP2008249346A (ja) * | 2007-03-29 | 2008-10-16 | National Institute Of Advanced Industrial & Technology | マイクロチップの製造方法及びマイクロチップ |
| JP5120968B2 (ja) * | 2007-10-05 | 2013-01-16 | 国立大学法人九州工業大学 | 誘電泳動装置および方法 |
| CN103386253A (zh) * | 2013-06-28 | 2013-11-13 | 上海交通大学 | 用于自由流电泳仪的多软管流向控制器 |
-
2004
- 2004-03-31 JP JP2004106276A patent/JP2005291870A/ja not_active Withdrawn
Cited By (5)
| Publication number | Priority date | Publication date | Assignee | Title |
|---|---|---|---|---|
| KR100854160B1 (ko) * | 2002-08-28 | 2008-08-26 | 가부시끼가이샤 도시바 | 디스플레이 장치 |
| JP2008249346A (ja) * | 2007-03-29 | 2008-10-16 | National Institute Of Advanced Industrial & Technology | マイクロチップの製造方法及びマイクロチップ |
| JP5120968B2 (ja) * | 2007-10-05 | 2013-01-16 | 国立大学法人九州工業大学 | 誘電泳動装置および方法 |
| US8864972B2 (en) | 2007-10-05 | 2014-10-21 | Kyushu Institute Of Technology | Dielectrophoresis apparatus and method |
| CN103386253A (zh) * | 2013-06-28 | 2013-11-13 | 上海交通大学 | 用于自由流电泳仪的多软管流向控制器 |
Similar Documents
| Publication | Publication Date | Title |
|---|---|---|
| Xu et al. | Room-temperature imprinting method for plastic microchannel fabrication | |
| Kohlheyer et al. | Free-flow zone electrophoresis and isoelectric focusing using a microfabricated glass device with ion permeable membranes | |
| JP4656149B2 (ja) | フローセル及びその製造方法 | |
| Duffy et al. | Rapid prototyping of microfluidic systems in poly (dimethylsiloxane) | |
| US9512421B1 (en) | Miniature acoustic wave lysis system and uses thereof | |
| Ahn et al. | Disposable smart lab on a chip for point-of-care clinical diagnostics | |
| CN101796412B (zh) | 用于分析流体的芯片 | |
| DK2394156T3 (en) | Device and method for electrochemical measurement of biochemical reactions as well as method of preparation for the device. | |
| CN101561446A (zh) | 一种玻璃微纳流控芯片、制作组装方法及其辅助装配装置 | |
| JP3866183B2 (ja) | バイオチップ | |
| Preuss et al. | Miniaturized free‐flow electrophoresis: production, optimization, and application using 3D printing technology | |
| JP2005291870A (ja) | マイクロチャンネルモジュール | |
| Tavari et al. | A systematic overview of electrode configuration in electric‐driven micropumps | |
| JP2002310858A (ja) | マイクロチップ電気泳動におけるサンプル導入方法 | |
| CN111849764A (zh) | 用于外泌体样品多重分离的微流控芯片 | |
| JP3847414B2 (ja) | 電気泳動装置 | |
| CN102507708A (zh) | 一种芯片式薄层电解池毛细管电泳微流控在线进样装置 | |
| JP2004340758A (ja) | 微細流路およびこれを含むマイクロ化学チップ | |
| US20130266979A1 (en) | Lab-on-a-chip device, for instance for use of the analysis of semen | |
| TWI417531B (zh) | 介電泳粒子濃縮器以及濃縮與偵測方法 | |
| Baek et al. | A laser-micromachined PCB electrolytic micropump using an oil-based electrolyte separation barrier | |
| JP5402673B2 (ja) | 接合体および流体機器 | |
| JPH09210960A (ja) | キャピラリー電気泳動装置 | |
| JP2009019236A (ja) | 水蒸気電解セルユニット | |
| CN102419323A (zh) | 一种适用于微量液体混合化学发光反应的器件 |
Legal Events
| Date | Code | Title | Description |
|---|---|---|---|
| A621 | Written request for application examination |
Free format text: JAPANESE INTERMEDIATE CODE: A621 Effective date: 20051104 |
|
| A761 | Written withdrawal of application |
Free format text: JAPANESE INTERMEDIATE CODE: A761 Effective date: 20070720 |