JP2005291667A - ガスコンロ - Google Patents
ガスコンロ Download PDFInfo
- Publication number
- JP2005291667A JP2005291667A JP2004110718A JP2004110718A JP2005291667A JP 2005291667 A JP2005291667 A JP 2005291667A JP 2004110718 A JP2004110718 A JP 2004110718A JP 2004110718 A JP2004110718 A JP 2004110718A JP 2005291667 A JP2005291667 A JP 2005291667A
- Authority
- JP
- Japan
- Prior art keywords
- burner
- gas
- combustion
- exhaust
- combustion chamber
- Prior art date
- Legal status (The legal status is an assumption and is not a legal conclusion. Google has not performed a legal analysis and makes no representation as to the accuracy of the status listed.)
- Pending
Links
Images
Landscapes
- Gas Burners (AREA)
Abstract
【課題】 天板(1)に開設されたバーナ用開口(10)の下方にガスバーナ(33)を燃焼させる燃焼室(20)が設けられ、燃焼室(20)内で生成された燃焼排気をバーナ用開口(10)から排出させると共に、これで、バーナ用開口(10)の上方に載置させた鍋(44)を加熱させる形式のガスコンロにおいて、高い熱効率を得るために、前記燃焼室(20)内の燃焼排気をバーナ用開口(10)の中央に集めて天板(1)の上方に排気できるようにすること。
【解決手段】 ガスバーナ(33)は環状のバーナボディ(31)を具備し、その内側周面(31a)で包囲された内側空間(32)内に、前記燃焼室(20)を上方にのみ開放するように設け、燃焼室(20)内の底部中央に排気筒(21)を直立姿勢に配設し、バーナボディ(31)の内側周面(31a)に複数の炎孔(35)が開設され、炎孔(35)よりも低い位置に対応する排気筒(21)の周壁に複数の開口(22)が開設されていること。
【選択図】 図2
【解決手段】 ガスバーナ(33)は環状のバーナボディ(31)を具備し、その内側周面(31a)で包囲された内側空間(32)内に、前記燃焼室(20)を上方にのみ開放するように設け、燃焼室(20)内の底部中央に排気筒(21)を直立姿勢に配設し、バーナボディ(31)の内側周面(31a)に複数の炎孔(35)が開設され、炎孔(35)よりも低い位置に対応する排気筒(21)の周壁に複数の開口(22)が開設されていること。
【選択図】 図2
Description
本発明は、ガスコンロ、特に、前記ガスバーナの燃焼に伴うの燃焼排気で鍋底を加熱する形式のガスバーナを具備するガスコンロに関するものである。
天板(1)に円形のバーナ用開口(10)が形成され、前記開口(10)の下方に、燃焼室(20)が設けられ、前記燃焼室(20)から排出される燃焼排気で鍋(44)を加熱する形式のガスバーナを具備するガスコンロとして、図5に示すものがある。
このガスコンロに使用されているガスバーナ(3)は、上流端に燃料ガス供給用のノズル(図示せず)が差し込まれるガス供給口(38)を具備するベンチュリ(36)と、前記ベンチュリ(36)の下流側で且つ前記燃焼室(20)の下方に配設されるバーナボディ(30)とからなり、前記バーナボディ(30)の上端に形成された炎孔(35)からの燃焼ガスが燃焼することによって、燃焼室(20)内に燃焼部が形成される。
尚、前記燃焼室(20)は、上方の前記バーナ用開口(10)側及び下方の燃焼部側に開放する包囲筒(26)によって包囲されており、前記包囲筒(26)の上方は、五徳兼用カバー(4)で閉塞されている。
このガスコンロに使用されているガスバーナ(3)は、上流端に燃料ガス供給用のノズル(図示せず)が差し込まれるガス供給口(38)を具備するベンチュリ(36)と、前記ベンチュリ(36)の下流側で且つ前記燃焼室(20)の下方に配設されるバーナボディ(30)とからなり、前記バーナボディ(30)の上端に形成された炎孔(35)からの燃焼ガスが燃焼することによって、燃焼室(20)内に燃焼部が形成される。
尚、前記燃焼室(20)は、上方の前記バーナ用開口(10)側及び下方の燃焼部側に開放する包囲筒(26)によって包囲されており、前記包囲筒(26)の上方は、五徳兼用カバー(4)で閉塞されている。
前記五徳兼用カバー(4)は、上面に、放射状に延びる複数の鍋載置リブ(42)が隆起していると共に、前記鍋載置リブ(42)の側面に、前記燃焼室(20)に連通する排気口(40a)(40b)が開設されている。前記燃焼室(20)内で生成される燃焼排気は、前記排気口(40a)(40b)から天板(1)の上方へ排出され、前記五徳兼用カバー(4)の鍋載置リブ(42)上に載置されている鍋(44)の底を加熱する。
特開平5−141660号公報
実開平3−14530号公報
ガスコンロは、燃焼排気を鍋(44)の底に接触させて加熱するものであるが、上記従来のガスコンロでは、鍋載置リブ(42)の外側寄りに開設されている前記排気孔(40b)から排出される燃焼排気は、鍋(44)の底の外周縁近傍しか加熱することができず、鍋底の中央の排気孔(40a)から外周縁に向かって排出される燃焼排気に比べて熱効率が不十分であるという問題がある。
本発明は、かかる点に鑑みてなされたものであり、『天板に開設されたバーナ用開口の下方にガスバーナを燃焼させる燃焼室が設けられ、前記ガスバーナの燃焼によって前記燃焼室内で生成された燃焼排気を前記バーナ用開口から排出させると共に、前記排出された燃焼排気によって、前記バーナ用開口の上方に載置されている鍋を加熱する形式のガスコンロ』において、高い熱効率を得るために、前記燃焼室内の燃焼排気を前記バーナ用開口の中央に集めて天板の上方に円滑に排出できるようにすることを課題とする。
本発明は、かかる点に鑑みてなされたものであり、『天板に開設されたバーナ用開口の下方にガスバーナを燃焼させる燃焼室が設けられ、前記ガスバーナの燃焼によって前記燃焼室内で生成された燃焼排気を前記バーナ用開口から排出させると共に、前記排出された燃焼排気によって、前記バーナ用開口の上方に載置されている鍋を加熱する形式のガスコンロ』において、高い熱効率を得るために、前記燃焼室内の燃焼排気を前記バーナ用開口の中央に集めて天板の上方に円滑に排出できるようにすることを課題とする。
[請求項1に係る発明]
上記課題を解決する為の請求項1に係る発明の技術的手段は、『前記ガスバーナは、環状に構成されたバーナボディを具備し、
前記バーナボディの内側周面で包囲された内側空間内に、前記燃焼室が上方にのみ開放するように設けられ、
前記燃焼室の底部中央に排気筒が直立姿勢に配設され、
前記バーナボディの前記内側周面に複数の炎孔が開設されていると共に、前記炎孔よりも低い位置に対応する前記排気筒の周壁に複数の開口が開設されている』ことである。
上記技術的手段は次のように作用する。
ガスバーナを燃焼させると、炎孔から燃焼ガスが、バーナボディの内側空間の燃焼室内に燃焼排気が噴き出される。燃焼室は上方にのみ開放しており、その底部中央には、排気筒が上方開放状態に直立している。前記排気筒の周壁の、前記炎孔より低い部分に開口は形成されているから、前記炎孔から噴出された燃焼排気は、前記排気筒の周壁のうち、前記開口が形成されていない部分に衝突し、上方及び下方に向きを変える。上方に向かう燃焼排気は前記周壁の外周面に沿って上昇し、前記バーナ用開口から天板の上方に排出される。下方へ向かった燃焼排気は、前記排気筒の周壁の、前記炎孔よりも低い位置に開設されている開口から排気筒内に送り込まれ、前記排気筒内で上方に向きを変えて、前記排気筒内を通ってその上方から排出されていく。このように、燃焼室内に噴出された燃焼排気は、排気筒の外周面に沿って又は排気筒内を通って、バーナ用開口の中央近傍に集中して排出されていく。
上記課題を解決する為の請求項1に係る発明の技術的手段は、『前記ガスバーナは、環状に構成されたバーナボディを具備し、
前記バーナボディの内側周面で包囲された内側空間内に、前記燃焼室が上方にのみ開放するように設けられ、
前記燃焼室の底部中央に排気筒が直立姿勢に配設され、
前記バーナボディの前記内側周面に複数の炎孔が開設されていると共に、前記炎孔よりも低い位置に対応する前記排気筒の周壁に複数の開口が開設されている』ことである。
上記技術的手段は次のように作用する。
ガスバーナを燃焼させると、炎孔から燃焼ガスが、バーナボディの内側空間の燃焼室内に燃焼排気が噴き出される。燃焼室は上方にのみ開放しており、その底部中央には、排気筒が上方開放状態に直立している。前記排気筒の周壁の、前記炎孔より低い部分に開口は形成されているから、前記炎孔から噴出された燃焼排気は、前記排気筒の周壁のうち、前記開口が形成されていない部分に衝突し、上方及び下方に向きを変える。上方に向かう燃焼排気は前記周壁の外周面に沿って上昇し、前記バーナ用開口から天板の上方に排出される。下方へ向かった燃焼排気は、前記排気筒の周壁の、前記炎孔よりも低い位置に開設されている開口から排気筒内に送り込まれ、前記排気筒内で上方に向きを変えて、前記排気筒内を通ってその上方から排出されていく。このように、燃焼室内に噴出された燃焼排気は、排気筒の外周面に沿って又は排気筒内を通って、バーナ用開口の中央近傍に集中して排出されていく。
[請求項2に係る発明]
請求項1に係る発明において、『前記炎孔は、前記内側空間の中心に対して所定角度傾斜した方向に貫通形成されている』ものでは、バーナボディの内側空間の中心に対して傾斜した方向に噴出される燃焼ガスは、燃焼室内を旋回する。前記燃焼排気は前記排気筒の周壁の外周面に沿って旋回しながら、上方及び下方へ流れていき、下方へ向かった燃焼排気は、前記開口から前記排気筒内に入り込み、前記排気筒内を旋回しながら上昇していく。
請求項1に係る発明において、『前記炎孔は、前記内側空間の中心に対して所定角度傾斜した方向に貫通形成されている』ものでは、バーナボディの内側空間の中心に対して傾斜した方向に噴出される燃焼ガスは、燃焼室内を旋回する。前記燃焼排気は前記排気筒の周壁の外周面に沿って旋回しながら、上方及び下方へ流れていき、下方へ向かった燃焼排気は、前記開口から前記排気筒内に入り込み、前記排気筒内を旋回しながら上昇していく。
[請求項3に係る発明]
請求項1又は2に係る発明において、『前記燃焼室の底部は、断熱材によって閉塞されており、前記断熱材の中央上面に前記排気筒を固定した』ものでは、ガスバーナの燃焼時には燃焼室内は高温になるが、底部に断熱材が設けられていることから、燃焼室内の熱が外部に漏れ難くなる。又、前記排気筒は、前記断熱材の中央部分に固定されているから、配設状態が安定する。
請求項1又は2に係る発明において、『前記燃焼室の底部は、断熱材によって閉塞されており、前記断熱材の中央上面に前記排気筒を固定した』ものでは、ガスバーナの燃焼時には燃焼室内は高温になるが、底部に断熱材が設けられていることから、燃焼室内の熱が外部に漏れ難くなる。又、前記排気筒は、前記断熱材の中央部分に固定されているから、配設状態が安定する。
[請求項4に係る発明]
上記各請求項に係る発明において、『前記バーナ用開口は、上面に複数の鍋支持用突起が突設し且つ前記鍋支持用突起の形成域よりも内側の中央部分に排気孔が貫通形成されている五徳兼用カバーで被覆されており、前記排気筒の直径を、前記中央部分の直径に略一致させた』ものでは、前記中央部分に排気孔が設けられ、それよりも外側に複数の鍋支持用突起が突設する形式の五徳兼用カバーを設ける構成としたもので、前記排気筒の直径を、五徳兼用カバーの前記中央部分の直径に略一致させていることから、燃焼室の中央に設けた排気筒の外周面に沿って又はその内部を通ってバーナ用開口の中央付近に集められた燃焼室内の燃焼排気は、ちょうど、五徳兼用カバーの前記中央部分に対応し、排気孔から効率良く排出されていく。
上記各請求項に係る発明において、『前記バーナ用開口は、上面に複数の鍋支持用突起が突設し且つ前記鍋支持用突起の形成域よりも内側の中央部分に排気孔が貫通形成されている五徳兼用カバーで被覆されており、前記排気筒の直径を、前記中央部分の直径に略一致させた』ものでは、前記中央部分に排気孔が設けられ、それよりも外側に複数の鍋支持用突起が突設する形式の五徳兼用カバーを設ける構成としたもので、前記排気筒の直径を、五徳兼用カバーの前記中央部分の直径に略一致させていることから、燃焼室の中央に設けた排気筒の外周面に沿って又はその内部を通ってバーナ用開口の中央付近に集められた燃焼室内の燃焼排気は、ちょうど、五徳兼用カバーの前記中央部分に対応し、排気孔から効率良く排出されていく。
本願発明は次の特有の効果を有する。
燃焼室内の中央に排気筒を設けることにより、燃焼室内の燃焼排気はバーナ用開口の中央に集められた状態で排出されることから、バーナボディの上方に設けられる鍋の底の中央部分を集中的に加熱することができる。これにより、熱交換率の良いガスコンロを提供することができる。又、下方に向かう燃焼排気は排気筒の中を通って、天板上方へ排出されるため、排気抵抗が小さくなり、燃焼が安定する。
燃焼室内の中央に排気筒を設けることにより、燃焼室内の燃焼排気はバーナ用開口の中央に集められた状態で排出されることから、バーナボディの上方に設けられる鍋の底の中央部分を集中的に加熱することができる。これにより、熱交換率の良いガスコンロを提供することができる。又、下方に向かう燃焼排気は排気筒の中を通って、天板上方へ排出されるため、排気抵抗が小さくなり、燃焼が安定する。
請求項2に係る発明では、上記効果に加えて、炎孔から噴出される燃焼ガスは、排気筒の回りを旋回するため、下方に向かう燃焼排気を排気筒の開口から取り込み易い。又、燃焼排気は旋回しながらバーナ用開口の中央部分へ向かって上昇するから、燃焼排気の衝突が減少して排気抵抗が小さくなり、バーナ用開口から天板の上方へ排出され易くなる。よって、燃焼排気は、効率良くバーナ用開口から排出され、燃焼が安定する。
請求項3に係る発明によれば、燃焼室の底部に設けた断熱材によって、燃焼室内の熱が外部に漏れ難いようにしたから、ガスコンロ内に配設された電気制御装置等への熱的悪影響を防止することができる。又、排気筒を燃焼室の中央に容易に固定することができる効果がある。
請求項4に係る発明によれば、五徳兼用カバーの中央部分に燃焼排気を集中させるようにしたから、主に中央部分に排気孔が形成された構成の五徳兼用カバーを採用しても、燃焼排気は円滑に排出され、さらに、高い熱効率を得ることが可能となる。又、天板の上面を凹凸の少ないすっきりしたデザインに仕上げることができ、薄型で且つ手入れの簡単なガスコンロを提供することができる。
以下に、本発明を実施するための最良の形態について添付図面を参照しながら説明する。
図1に示すように、扁平な矩形箱状に形成されたケーシング(100)の天板(1)にはバーナ用開口(10)が開設されており、前記バーナ用開口(10)は五徳兼用カバー(4)で被覆されると共に、その下方には、ガスバーナ(33)が配設される。又、ケーシング(100)の前面の操作部(11)には、ガスバーナ(33)に点火・消火する際に押し込み操作し、且つ、火力調節の際には回転操作する操作つまみ(51)と、ガスバーナ(33)が燃焼状態にあることを報知する燃焼ランプ(52)が配設されている。
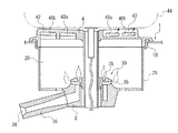
特に、この実施の形態のガスバーナ(33)は、図2に示すように、燃料ガス供給用のガスノズル(19)が差し込まれる上流端のガス入口(34)を備えたベンチュリ(36)と、該ベンチュリ(36)の下流端に連設され且つ内側空間(32)を有するように環状に形成されているバーナボディ(31)とから構成されており、前記ベンチュリ(36)内で、燃料ガスと一次空気が混合されて前記バーナボディ(31)に送られる。
図1に示すように、扁平な矩形箱状に形成されたケーシング(100)の天板(1)にはバーナ用開口(10)が開設されており、前記バーナ用開口(10)は五徳兼用カバー(4)で被覆されると共に、その下方には、ガスバーナ(33)が配設される。又、ケーシング(100)の前面の操作部(11)には、ガスバーナ(33)に点火・消火する際に押し込み操作し、且つ、火力調節の際には回転操作する操作つまみ(51)と、ガスバーナ(33)が燃焼状態にあることを報知する燃焼ランプ(52)が配設されている。
特に、この実施の形態のガスバーナ(33)は、図2に示すように、燃料ガス供給用のガスノズル(19)が差し込まれる上流端のガス入口(34)を備えたベンチュリ(36)と、該ベンチュリ(36)の下流端に連設され且つ内側空間(32)を有するように環状に形成されているバーナボディ(31)とから構成されており、前記ベンチュリ(36)内で、燃料ガスと一次空気が混合されて前記バーナボディ(31)に送られる。
前記バーナボディ(31)の内側周面(31a)には、多数の縦長長方形状の筒状部(37)が前記内側空間(32)に向かって突出しており、前記筒状部(37)の軸線に沿って、貫通するように炎孔(35)が形成されている。すなわち、前記筒状部(37)の突出端に、前記炎孔(35)が開放している。
そして、前記筒状部(37)の突出端で囲まれる前記内側空間(32)内に金属製のガイド筒(2)が収容される。
尚、ガイド筒(2)の下端には、図4に示すように、ガラスウールやセラミック等の断熱材(23)が嵌め込まれ、これにより、バーナボディ(31)内には、周囲がガイド筒(2)で囲まれ且つ底部に断熱材(23)が配設された空間が構成され、この空間が燃焼室(20)として機能する。
そして、前記筒状部(37)の突出端で囲まれる前記内側空間(32)内に金属製のガイド筒(2)が収容される。
尚、ガイド筒(2)の下端には、図4に示すように、ガラスウールやセラミック等の断熱材(23)が嵌め込まれ、これにより、バーナボディ(31)内には、周囲がガイド筒(2)で囲まれ且つ底部に断熱材(23)が配設された空間が構成され、この空間が燃焼室(20)として機能する。
そして、前記断熱材(23)の中央部分に、環状の溝部(23a)を同心状に設け、この溝部(23a)に、図3に示すような、金属製の排気筒(21)の下端部を差し込んで固定する。これにより、前記排気筒(21)は、図2及び図4に示すように、上方に開放する態様で、燃焼室(20)(ガイド筒(2))内の中央に固定されることとなる。
前記筒状部(37)は、内側空間(32)の中心に対して約30度傾斜させた姿勢で水平に突出するように設けられている。これにより、前記筒状部(37)に設けられた前記炎孔(35)からの燃焼ガスは、内側空間(32)の中心より約30度ずれた方向に噴出される。
前記筒状部(37)は、内側空間(32)の中心に対して約30度傾斜させた姿勢で水平に突出するように設けられている。これにより、前記筒状部(37)に設けられた前記炎孔(35)からの燃焼ガスは、内側空間(32)の中心より約30度ずれた方向に噴出される。
前記ガイド筒(2)は、前記天板(1)に形成されたバーナ用開口(10)の周縁部に係止させるための上端フランジ(24)を具備していると共に、前記ガスバーナ(33)の筒状部(37)の突出端に対応する前記ガイド筒(2)の周壁の各位置には、前記突出端よりも一回り大きな縦長長方形状の窓部(27)が形成されている。
又、前記排気筒(21)には、前記炎孔(35)の開口位置よりも低い位置に、複数の比較的大きな開口(22)が形成されている。前記排気筒(21)の下端縁を前記断熱材(23)の溝部(23a)に差し込んだ配設状態においては、前記開口(22)は、前記断熱材(23)の上面に近接して位置する態様となる。
又、前記排気筒(21)には、前記炎孔(35)の開口位置よりも低い位置に、複数の比較的大きな開口(22)が形成されている。前記排気筒(21)の下端縁を前記断熱材(23)の溝部(23a)に差し込んだ配設状態においては、前記開口(22)は、前記断熱材(23)の上面に近接して位置する態様となる。
そして、バーナ用開口(10)の周縁に係止させた前記上端フランジ(24)の上面に、赤熱プレート(5)を介して、五徳兼用カバー(4)を被蓋配設させて、ガスコンロが完成する。尚、前記排気筒(21)の高さは、断熱材(23)に設置した状態で、前記赤熱プレート(5)の下面に近接するように設定されている。
上記五徳兼用カバー(4)は、前記バーナ用開口(10)を閉塞可能な大きさの熱伝導性の良好な金属材料で形成された円盤であり、図2に示すように、中央部分に貫設された排気孔(40)と、その外周域に、鍋(44)を載置させるための複数の鍋支持用突起(41)が周方向に所定ピッチで放射状に配設されている。
上記五徳兼用カバー(4)は、前記バーナ用開口(10)を閉塞可能な大きさの熱伝導性の良好な金属材料で形成された円盤であり、図2に示すように、中央部分に貫設された排気孔(40)と、その外周域に、鍋(44)を載置させるための複数の鍋支持用突起(41)が周方向に所定ピッチで放射状に配設されている。
又、バーナボディ(31)の下部内周は、図4に示すように、下方に向かって直径が拡大する環状テーパー部(39)となっており、これにより、該環状テーパー部(39)に沿って二次空気が、前記バーナボディ(31)の内側周面(31a)とガイド筒(2)の外周面との間の隙間へ導入させ易くなっている。尚、前記バーナボディ(31)の上方と天板(1)との間にも空間(13)が形成されており、前記環状テーパー部(39)近傍の空間及び空間(13)から、バーナボディ(31)とガイド筒(2)との前記隙間に繋がる通路が、筒状部(37)への燃焼用の二次空気供給通路として機能することとなる。
次に、上記ガスコンロの使用の実際を説明する。
図1に表れる特定の操作つまみ(51)を押し込むと、点火装置(図示せず)が作動してガスバーナ(33)の炎孔(35)に点火用スパークが連射される。
又、上記操作つまみ(51)が押し込まれると、ガスバーナ(33)へのガス回路に挿入されたガス弁が開弁してガスノズル(19)からベンチュリ(36)のガス入口(34)内に燃料ガスが噴出されると共に、噴出時のエゼクタ効果によって、ガスノズル(19)の周囲の空気が燃焼用一次空気としてガス入口(34)内に誘引され、これにより、一次空気が混合された燃焼ガスがガスバーナ(33)のバーナボディ(31)に送られ、筒状部(37)を通って炎孔(35)から噴出する。
図1に表れる特定の操作つまみ(51)を押し込むと、点火装置(図示せず)が作動してガスバーナ(33)の炎孔(35)に点火用スパークが連射される。
又、上記操作つまみ(51)が押し込まれると、ガスバーナ(33)へのガス回路に挿入されたガス弁が開弁してガスノズル(19)からベンチュリ(36)のガス入口(34)内に燃料ガスが噴出されると共に、噴出時のエゼクタ効果によって、ガスノズル(19)の周囲の空気が燃焼用一次空気としてガス入口(34)内に誘引され、これにより、一次空気が混合された燃焼ガスがガスバーナ(33)のバーナボディ(31)に送られ、筒状部(37)を通って炎孔(35)から噴出する。
筒状部(37)は、上記したように傾斜姿勢にあることから、炎孔(35)から噴出される燃焼ガスは、窓部(27)を介して、前記ガイド筒(2)内に、中心よりも約30度外れた方向に向かって噴き出すこととなる。
前記炎孔(35)から噴出される燃焼ガスに、前記二次空気供給通路から炎孔(35)に供給される二次空気が混合され、二次空気が混合された燃焼ガスに、上記点火装置から点火されてこれが燃焼し、筒状部(37)の突出端に燃焼炎が形成される。このときに生成される燃焼排気は、前記ガイド筒(2)内で、前記排気筒(21)の周壁のうち、開口(22)が形成されていない部分の周りを旋回する旋回流となる。
前記炎孔(35)から噴出される燃焼ガスに、前記二次空気供給通路から炎孔(35)に供給される二次空気が混合され、二次空気が混合された燃焼ガスに、上記点火装置から点火されてこれが燃焼し、筒状部(37)の突出端に燃焼炎が形成される。このときに生成される燃焼排気は、前記ガイド筒(2)内で、前記排気筒(21)の周壁のうち、開口(22)が形成されていない部分の周りを旋回する旋回流となる。
上記したように排気筒(21)の周囲を旋回する燃焼排気は、図3に示すように、旋回しながら上昇又は降下していく。上昇する燃焼排気は、前記排気筒(21)の外周面に沿って旋回していき前記赤熱プレート(5)を介して、五徳兼用カバー(4)の中央の排気孔(40)から排出される。降下する燃焼排気は、ガイド筒(2)の底部に嵌め込まれた断熱材(23)近傍に開口している排気筒(21)の開口(22)から、排気筒(21)内に送り込まれ、排気筒(21)内で上昇する方向へ向きを変えて、排気筒(21)の上方から排出されていく。
このように、燃焼室(20)内で生成された燃焼排気は、排気筒(21)の周囲を旋回し、その外周面に沿って、又は、排気筒(21)の内部を通って、バーナ用開口(10)の中央部分に集中させて排出されることとなる。よって、前記燃焼排気は、バーナ用開口(10)を閉塞している五徳兼用カバー(4)の中央部分の排気孔(40)から、天板(1)の上方に円滑に排出されていく。
このように、燃焼室(20)内で生成された燃焼排気は、排気筒(21)の周囲を旋回し、その外周面に沿って、又は、排気筒(21)の内部を通って、バーナ用開口(10)の中央部分に集中させて排出されることとなる。よって、前記燃焼排気は、バーナ用開口(10)を閉塞している五徳兼用カバー(4)の中央部分の排気孔(40)から、天板(1)の上方に円滑に排出されていく。
これにより、五徳兼用カバー(4)の鍋支持用突起(41)上に載置させた鍋(44)の底の中央部分に前記燃焼排気が集中的に噴き出すこととなり、鍋(44)は、前記中央部分から外周縁部にかけての広い範囲が前記燃焼排気の流れの接触範囲となり、効率良く加熱されることとなる。又、前記降下する燃焼排気は、排気筒(21)内を上昇して天板(1)の上方へ排出されるため、燃焼排気の排気抵抗は小さくなり、安定した燃焼を得ることができる。
又、上記燃焼排気によって、五徳兼用カバー(4)の下方の赤熱プレート(5)が赤熱され、該赤熱プレート(5)からの輻射熱が五徳兼用カバー(4)越しに鍋(44)に照射されることとなるから、前記輻射熱によっても鍋(44)が加熱される。
又、上記燃焼排気によって、五徳兼用カバー(4)の下方の赤熱プレート(5)が赤熱され、該赤熱プレート(5)からの輻射熱が五徳兼用カバー(4)越しに鍋(44)に照射されることとなるから、前記輻射熱によっても鍋(44)が加熱される。
一方、ガスバーナ(33)の燃焼時にはガイド筒(2)内が高温になるが、前記ガイド筒(2)の底部には断熱材(23)が嵌め込まれているから、ガイド筒(2)内の熱がケーシング(100)内に漏れ難くなり、これにより、ケーシング(100)内に配設された電気制御装置等への熱的悪影響を防止することができる。
上記実施の形態ではバーナ用開口(10)を五徳兼用カバー(4)で覆ったが、天板(1)上のバーナ用開口(10)の外周域に五徳を載置するガスコンロとしても良い。
尚、上記実施の形態では、炎孔(35)の向きを中心方向に対して斜めに設定したが、中心に向けても良い。
又、上記実施の形態では、炎孔(35)の向きを水平に向けたが、斜め上方に向くように設定しても良い。
尚、上記実施の形態では、炎孔(35)の向きを中心方向に対して斜めに設定したが、中心に向けても良い。
又、上記実施の形態では、炎孔(35)の向きを水平に向けたが、斜め上方に向くように設定しても良い。
(1) ・・・・・・天板
(10)・・・・・・バーナ用開口
(20)・・・・・・燃焼室
(21)・・・・・・排気筒
(22)・・・・・・開口
(3) ・・・・・・ガスバーナ
(31)・・・・・・バーナボディ
(32)・・・・・・内側空間
(33)・・・・・・ガスバーナ
(35)・・・・・・炎孔
(44)・・・・・・鍋
(10)・・・・・・バーナ用開口
(20)・・・・・・燃焼室
(21)・・・・・・排気筒
(22)・・・・・・開口
(3) ・・・・・・ガスバーナ
(31)・・・・・・バーナボディ
(32)・・・・・・内側空間
(33)・・・・・・ガスバーナ
(35)・・・・・・炎孔
(44)・・・・・・鍋
Claims (4)
- 天板に開設されたバーナ用開口の下方にガスバーナを燃焼させる燃焼室が設けられ、前記ガスバーナの燃焼によって前記燃焼室内で生成された燃焼排気を前記バーナ用開口から排出させると共に、前記排出された燃焼排気によって、前記バーナ用開口の上方に載置されている鍋を加熱する形式のガスコンロにおいて、
前記ガスバーナは、環状に構成されたバーナボディを具備し、
前記バーナボディの内側周面で包囲された内側空間内に、前記燃焼室が上方にのみ開放するように設けられ、
前記燃焼室の底部中央に排気筒が直立姿勢に配設され、
前記バーナボディの前記内側周面に複数の炎孔が開設されていると共に、前記炎孔よりも低い位置に対応する前記排気筒の周壁に複数の開口が開設されていることを特徴とするガスコンロ。 - 請求項1に記載のガスコンロにおいて、
前記炎孔は、前記内側空間の中心に対して所定角度傾斜した方向に貫通形成されていることを特徴とするガスコンロ。 - 請求項1又は2に記載のガスコンロにおいて、
前記燃焼室の底部は、断熱材によって閉塞されており、前記断熱材の中央上面に前記排気筒を固定したことを特徴とするガスコンロ。 - 請求項1から3のいずれかに記載のガスコンロにおいて、
前記バーナ用開口は、上面に複数の鍋支持用突起が備えられ且つ前記鍋支持用突起の形成域よりも内側の中央部分に排気孔が貫通形成されている五徳兼用カバーで被覆されており、前記排気筒の直径を、前記中央部分の直径に略一致させたことを特徴とするガスコンロ。
Priority Applications (1)
| Application Number | Priority Date | Filing Date | Title |
|---|---|---|---|
| JP2004110718A JP2005291667A (ja) | 2004-04-05 | 2004-04-05 | ガスコンロ |
Applications Claiming Priority (1)
| Application Number | Priority Date | Filing Date | Title |
|---|---|---|---|
| JP2004110718A JP2005291667A (ja) | 2004-04-05 | 2004-04-05 | ガスコンロ |
Publications (1)
| Publication Number | Publication Date |
|---|---|
| JP2005291667A true JP2005291667A (ja) | 2005-10-20 |
Family
ID=35324785
Family Applications (1)
| Application Number | Title | Priority Date | Filing Date |
|---|---|---|---|
| JP2004110718A Pending JP2005291667A (ja) | 2004-04-05 | 2004-04-05 | ガスコンロ |
Country Status (1)
| Country | Link |
|---|---|
| JP (1) | JP2005291667A (ja) |
Cited By (2)
| Publication number | Priority date | Publication date | Assignee | Title |
|---|---|---|---|---|
| CN103742949A (zh) * | 2014-01-23 | 2014-04-23 | 广东万和电气有限公司 | 红外线燃气灶 |
| CN113701199A (zh) * | 2020-05-22 | 2021-11-26 | 宁波方太厨具有限公司 | 一种用于燃气灶的聚能罩以及应用有该聚能罩的燃气灶 |
-
2004
- 2004-04-05 JP JP2004110718A patent/JP2005291667A/ja active Pending
Cited By (3)
| Publication number | Priority date | Publication date | Assignee | Title |
|---|---|---|---|---|
| CN103742949A (zh) * | 2014-01-23 | 2014-04-23 | 广东万和电气有限公司 | 红外线燃气灶 |
| CN113701199A (zh) * | 2020-05-22 | 2021-11-26 | 宁波方太厨具有限公司 | 一种用于燃气灶的聚能罩以及应用有该聚能罩的燃气灶 |
| CN113701199B (zh) * | 2020-05-22 | 2022-10-21 | 宁波方太厨具有限公司 | 一种用于燃气灶的聚能罩以及应用有该聚能罩的燃气灶 |
Similar Documents
| Publication | Publication Date | Title |
|---|---|---|
| US8899972B2 (en) | Burner designed for wide range of input rates | |
| US8973569B2 (en) | Gas burner | |
| US8616193B2 (en) | Cooktop swirl burner | |
| JP5406855B2 (ja) | 燃焼器の燃焼方法 | |
| CN108592024B (zh) | 火盖和燃烧器 | |
| KR101840296B1 (ko) | 휴대용 가스스토브 | |
| ITMI952134A1 (it) | Apparecchio a gas per il riscaldamento di fluidi | |
| KR101064050B1 (ko) | 버너어셈블리 및 이를 포함하는 조리기기 | |
| CN108826296B (zh) | 燃气灶环火旋流燃烧器 | |
| CN112240549B (zh) | 一种完全上进风式燃烧器 | |
| RU2295090C2 (ru) | Газовая горелка с раздельным питанием корон пламени | |
| JP2005291667A (ja) | ガスコンロ | |
| CN112240548B (zh) | 一种完全上进风式燃烧器 | |
| JP2005233497A (ja) | ガスコンロ | |
| JP2005291666A (ja) | 燃焼機器 | |
| JP2000193211A (ja) | コンロ用バ―ナ | |
| JP2004218875A (ja) | 親子バーナ | |
| JP2005207668A (ja) | ガスコンロ | |
| US20160201921A1 (en) | High Power Dual Gas Burner | |
| JP4085047B2 (ja) | ガスコンロ | |
| JP3581981B2 (ja) | カセットコンロ装置 | |
| JP2005233498A (ja) | ガスコンロ | |
| TW200923277A (en) | Main and secondary burner ports for stove | |
| JP4338195B2 (ja) | コンロ | |
| CN219995333U (zh) | 燃烧器 |