JP2005291323A - 樹脂歯車 - Google Patents

樹脂歯車 Download PDF

Info

Publication number
JP2005291323A
JP2005291323A JP2004105949A JP2004105949A JP2005291323A JP 2005291323 A JP2005291323 A JP 2005291323A JP 2004105949 A JP2004105949 A JP 2004105949A JP 2004105949 A JP2004105949 A JP 2004105949A JP 2005291323 A JP2005291323 A JP 2005291323A
Authority
JP
Japan
Prior art keywords
gear
resin
shaft member
fitting
gear portion
Prior art date
Legal status (The legal status is an assumption and is not a legal conclusion. Google has not performed a legal analysis and makes no representation as to the accuracy of the status listed.)
Granted
Application number
JP2004105949A
Other languages
English (en)
Other versions
JP4442868B2 (ja
Inventor
Akihiro Kamitsuji
昭博 上辻
Akihiro Tatsumi
彰弘 立見
Current Assignee (The listed assignees may be inaccurate. Google has not performed a legal analysis and makes no representation or warranty as to the accuracy of the list.)
Daihatsu Motor Co Ltd
Starlite Co Ltd
Original Assignee
Daihatsu Motor Co Ltd
Starlite Co Ltd
Priority date (The priority date is an assumption and is not a legal conclusion. Google has not performed a legal analysis and makes no representation as to the accuracy of the date listed.)
Filing date
Publication date
Application filed by Daihatsu Motor Co Ltd, Starlite Co Ltd filed Critical Daihatsu Motor Co Ltd
Priority to JP2004105949A priority Critical patent/JP4442868B2/ja
Publication of JP2005291323A publication Critical patent/JP2005291323A/ja
Application granted granted Critical
Publication of JP4442868B2 publication Critical patent/JP4442868B2/ja
Anticipated expiration legal-status Critical
Expired - Lifetime legal-status Critical Current

Links

Images

Landscapes

  • Injection Moulding Of Plastics Or The Like (AREA)
  • Gears, Cams (AREA)

Abstract

【課題】型構造の複雑化や重量の増加を招くことなくひけの発生を防止できるとともに、トルク伝達力を確保できる樹脂歯車を提供する。
【解決手段】金属製軸部材2を囲むように樹脂製歯車部3を射出成形してなる樹脂歯車1において、上記歯車部3内に、樹脂製インサート部材4を埋設し、該インサート部材4を、上記軸部材2の外周面の少なくとも一部に嵌合する嵌合部4aと、該嵌合部4aの外周面に同軸をなすよう一体形成され、上記歯車部3の歯元面3aの幅方向に嵌合部4aより長い円筒状の幅広部4bとを有するものとし、上記軸部材2の上記歯車部3が形成される部分に凹凸部2bを形成する。
【選択図】 図1

Description

本発明は、金属製軸部材に樹脂製歯車部を射出成形により形成した樹脂歯車に関する。
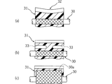
トルク伝達部材として採用される樹脂歯車では、図6(a)に示すように、金属製軸部材30に樹脂製歯車部31を射出成形により形成するのが一般的である。ところで、歯車部31を射出成形する場合、該歯車部31の肉厚等に起因したひけ32が生じるおそれがあり、歯車部31の寸法精度が悪化するという問題がある。
このようなひけの発生を防止するには、図6(b)に示すように、歯車部31に軸方向に延びるぬすみ33を周方向に所定間隔をあけて形成したり、あるいは図6(c)に示すように、軸部材30の樹脂成形部30aの径を大きくして歯車部31の肉厚を小さくしたりすることが考えられる。
一方、樹脂歯車のトルク伝達力を高める観点から、金属製軸部材に金属製接合部材を圧入により接合し、該接合部材を介して軸部材と樹脂製歯車部とを結合することにより、軸部材から接合部材を介して歯車部にトルクを伝達する場合がある(例えば、特許文献1参照)。
特開2002−303362号公報
しかしながら、上記従来の歯車部にぬすみを形成する構造では、金型に薄肉のぬすみ部を形成する必要があり、繰り返しの使用によってぬすみ部が損傷し易く、型寿命が短くなるとともに、金型の構造が複雑となるという問題がある。また上記軸部材の径を大きくする構造では、樹脂歯車全体の重量が増えるという問題がある。
また、上記従来の軸部材と歯車部とを金属製接合部材を介して結合する構造を採用した場合には、接合部材が金属であることから、樹脂歯車全体の重量が増えるという問題がある。
本発明は、上記従来の状況に鑑みてなされたもので、型構造の複雑化や重量の増加を招くことなくひけの発生を防止できるとともに、トルク伝達力を確保できる樹脂歯車を提供することを目的としている。
請求項1の発明は、金属製軸部材を囲むように樹脂製歯車部を射出成形してなる樹脂歯車において、上記歯車部内に、樹脂製インサート部材を埋設し、該インサート部材を、上記軸部材の外周面の少なくとも一部に嵌合する嵌合部と、該嵌合部の外周面に一体形成され、上記歯車部の歯面の幅方向長さが上記嵌合部より長い幅広部とを有するものとし、上記軸部材の上記歯車部が当接する部分に凹凸部を形成したことを特徴としている。
請求項2の発明は、請求項1において、上記インサート部材の幅広部には、軸方向に延び、該幅広部と上記軸部材との隙間と幅広部の外周側とを連通させる複数の内外連通スリットが形成されていることを特徴としている。
請求項1の発明に係る樹脂歯車によれば、歯車部内に、軸部材に嵌合する嵌合部と、該嵌合部より軸方向に長く延びる幅広部を有する樹脂製インサート部材を埋設したので、歯車部に肉厚に起因したひけが発生するのを防止することができ、歯車部の寸法精度を確保することができる。その結果、従来の金型に薄肉のぬすみ部を形成する場合に比べて型寿命を延長できるとともに、型構造を簡単にできる。また樹脂製インサート部材を埋設する構造であるので、従来の軸部材を大径にしたり,金属製接合部材を介在させたりする場合に比べて重量を低減できる。
またインサート部材の嵌合部を幅広部より軸方向に短くしたので、幅広部と軸部材との隙間に歯車部が入り込み、それだけ軸部材と歯車部との接触面積を増やすことができ、両者を強固に固着できる。
本発明では、軸部材の歯車部形成部分に凹凸部を形成したので、軸部材と歯車部との嵌合力及び接合面積を増やすことができ、両者をより一層強固に固着することができ、重量の増加を招くことなく所望のトルク伝達力を確保することができる。
請求項2の発明では、インサート部材の幅広部に複数の内外連通スリットを形成したので、インサート部材と歯車部との接合面積を増やすことができ、両者の密着結合性をより一層高めることができ、歯車部全体の剛性を向上できる。
また上記各スリットを介して成形樹脂が軸部材とインサート部材との間に回り込み易くなり、成形樹脂を均一に充填することができ、歯車部の精度及び品質を高めることができる。
以下、本発明の実施の形態を添付図面に基づいて説明する。
図1及び図2は、本発明の一実施形態による樹脂歯車を説明するための図であり、図1は樹脂歯車の断面図、図2(a)〜図2(d)はそれぞれ樹脂製インサート部材の正面図,側面図,背面図,断面側面図(図2(c)のIId−IId線断面図)である。
図において、1は例えば乾式のトルク伝達部材として採用される樹脂歯車を示しており、これは棒状の金属製軸部材2の軸端部2aの外周面に平歯車を構成する樹脂製歯車部3を射出成形により形成してなるものである。この樹脂歯車1は、例えば、軸部材2の軸長さが140mm程度、歯車部3の直径が35mm程度で、重量が130g程度のものである。
上記歯車部3には該歯車部3と同じ材料からなる樹脂製インサート部材4が埋設されている。このインサート部材4は歯車部3とは別工程にて形成されたものである。即ち、上記歯車部3は、予め形成されたインサート部材4を軸部材2に嵌合装着して金型5にセットし、この状態で射出成形されたものである。この金型5は、下型6とこれに開閉可能に配置された上型7とで上記歯車部3に対応した形状のキャビティ7cを形成してなるものである。上記該キャビティ7cには各ゲート7bを介してスプル7aが連通接続されている。
上記インサート部材4は、上記軸部材2の軸端部2aの外周面全面に嵌合装着された円筒状の嵌合部4aと、これの外周面に一体形成された円筒状の幅広部4bとを有している。この嵌合部4aには上記軸端部2aの軸方向中央部が嵌合挿入される嵌合孔4a′が形成されている。なお上記嵌合部4aは軸部材2に対して軸方向への移動を阻止する程度の緩く嵌合させれば良いが、圧入により強固に嵌合させてもよい。
上記幅広部4bは上記嵌合部4aより軸方向に長く形成されており、また該幅広部4bの外周面は上記歯車部3の歯元面3aに近接している。このようにして幅広部4bと軸部材2との間には隙間sが形成されている。
上記幅広部4bの右側端面には軸方向に延びる一対の脚部4cが突出形成されている。この各脚部4cを上記金型5の下型6の合わせ面6aに当接することによりインサート部材4の位置決めを行うようになっている。
また上記幅広部4bには該幅広部4bの両外縁からそれぞれ軸方向内側に延びる内外連通スリット4dが周方向に8つ形成されている。この各連通スリット4dにより幅広部4bの外側と内側の上記隙間sとが連通されている。
上記軸部材2の軸端部2aの、上記歯車部3が形成される部分、つまり上記嵌合部4aの左右両側部分には凹凸部2b,2bが形成されている。この凹凸部2bは例えばローレット加工により形成されたものであり、これにより歯車部3との嵌合力及び接触面積を増やしている。
上記樹脂歯車1を射出成形するには、予め形成されたインサート部材4を軸部材2に嵌合装着し、該軸部材2を金型5にセットし、各スプル7aからゲート7bを介してキャビティ7c内に成形樹脂を注入する。すると成形樹脂がインサート部材4の各連通スリット4dを通って幅広部4bと軸部材2との隙間sに流入しつつキャビティ7c内全域に充填される。しかる後、金型5を開いて各ゲート7bをカットし、これにより歯車部3が形成される。
本実施形態によれば、軸部材2が挿入される嵌合部4aと、歯車部3の歯元面3aに近接し、かつ軸方向に延びる幅広部4bとを有する樹脂製インサート部材4を歯車部3内に埋設したので、歯車部3に肉厚に起因したひけが発生するのを防止することができ、歯車部3の寸法精度を確保することができる。その結果、従来の薄肉のぬすみ部を形成する場合に比べて金型の寿命を延長できるとともに、金型構造を簡単にできる。
また樹脂製インサート部材4を歯車部3内に埋設する構造であるので、従来の軸部材を大径にしたり,金属製接合部材を介在させたりする場合に比べて樹脂歯車1全体の重量を低減できる。さらに上記歯車部3と同じ材料からなるインサート部材4をインサートしたので、歯車部3とインサート部材4との密着性を向上でき、歯車部3の剛性を高めることができる。
さらに幅広部4bと軸部材2との間に隙間sを形成したので、該隙間sに歯車部3を充填することにより両者2,3の接触面積を増やすことができ、強固に固着することができる。
本実施形態では、上記軸部材2の歯車部3の形成部分に凹凸部2bを形成したので、軸部材2と歯車部3との嵌合力,接触面積を増やすことができ、それだけ両者2,3をより一層強固に固着することができ、重量の増加を招くことなく所望のトルク伝達力を確保することができる。なお、上述の従来公報では、軸部材からの駆動力を接合部材を介して歯車部に伝達する構造であるのに対して、本実施形態では、軸部材2から歯車部3に直接駆動力を伝達することができる。
本実施形態では、上記インサート部材4の幅広部4bに軸方向に延びる複数の内外連通スリット4dを形成したので、インサート部材4と歯車部3との接合面積を増やすことができ、両者3,4の密着結合性をより一層高めることができ、歯車部3全体の剛性を向上できる。
また上記各スリット4dを介して成形樹脂が軸部材2と幅広部4bとの隙間sに回り込み易くなり、成形樹脂を均一に充填することができ、歯車部3の精度及び品質をより一層高めることができる。
なお、上記実施形態では、インサート部材4の嵌合部4aを軸部材2の周方向全面に嵌合させた場合を説明したが、本発明では、嵌合部を軸部材の周方向の一部,あるいは軸方向の一部に嵌合させてもよく、例えば図3〜図5に示すような各種の変形例が考えられる。
図3は、嵌合部4aを断面形状概ね十字形状とし、このうち対向する2つの嵌合部4aを軸部材2に嵌合させた例である。なお、各嵌合部4aを90度角度ごとに嵌合させてもよい。
図4は、インサート部材4の軸方向両端部に嵌合部4a,4aを形成し、一方の嵌合部4aを軸部材2の周方向全面に嵌合させ、他方の嵌合部4aを軸部材2の周方向の一部に嵌合させた例である。
図5は、インサート部材4の軸方向一端部に嵌合部4aを形成し、該嵌合部4aを軸部材2の周方向に嵌合させた例である。
本発明の一実施形態による樹脂歯車を説明するための断面図である。 上記樹脂歯車のインサート部材の図である。 上記インサート部材の第1変形例を示す断面図である。 上記インサート部材の第2変形例を示す断面図である。 上記インサート部材の第3変形例を示す断面図である。 従来の一般的な樹脂歯車を示す図である。
符号の説明
1 樹脂歯車
2 軸部材
2b 凹凸部
3 歯車部
3a 歯元面
4 インサート部材
4a 嵌合部
4b 幅広部
4d 内外連通スリット

Claims (2)

  1. 金属製軸部材を囲むように樹脂製歯車部を射出成形してなる樹脂歯車において、上記歯車部内に、樹脂製インサート部材を埋設し、該インサート部材を、上記軸部材の外周面の少なくとも一部に嵌合する嵌合部と、該嵌合部の外周面に一体形成され、上記歯車部の歯面の幅方向長さが上記嵌合部より長い幅広部とを有するものとし、上記軸部材の上記歯車部が当接する部分に凹凸部を形成したことを特徴とする樹脂歯車。
  2. 請求項1において、上記インサート部材の幅広部には、軸方向に延び、該幅広部と上記軸部材との隙間と幅広部の外周側とを連通させる複数の内外連通スリットが形成されていることを特徴とする樹脂歯車。
JP2004105949A 2004-03-31 2004-03-31 樹脂歯車 Expired - Lifetime JP4442868B2 (ja)

Priority Applications (1)

Application Number Priority Date Filing Date Title
JP2004105949A JP4442868B2 (ja) 2004-03-31 2004-03-31 樹脂歯車

Applications Claiming Priority (1)

Application Number Priority Date Filing Date Title
JP2004105949A JP4442868B2 (ja) 2004-03-31 2004-03-31 樹脂歯車

Publications (2)

Publication Number Publication Date
JP2005291323A true JP2005291323A (ja) 2005-10-20
JP4442868B2 JP4442868B2 (ja) 2010-03-31

Family

ID=35324486

Family Applications (1)

Application Number Title Priority Date Filing Date
JP2004105949A Expired - Lifetime JP4442868B2 (ja) 2004-03-31 2004-03-31 樹脂歯車

Country Status (1)

Country Link
JP (1) JP4442868B2 (ja)

Cited By (1)

* Cited by examiner, † Cited by third party
Publication number Priority date Publication date Assignee Title
JP2021042839A (ja) * 2019-09-13 2021-03-18 日本精工株式会社 ウォームホイールユニット及びその製造方法、ウォーム減速機

Cited By (2)

* Cited by examiner, † Cited by third party
Publication number Priority date Publication date Assignee Title
JP2021042839A (ja) * 2019-09-13 2021-03-18 日本精工株式会社 ウォームホイールユニット及びその製造方法、ウォーム減速機
JP7283319B2 (ja) 2019-09-13 2023-05-30 日本精工株式会社 ウォームホイールユニット及びその製造方法、ウォーム減速機

Also Published As

Publication number Publication date
JP4442868B2 (ja) 2010-03-31

Similar Documents

Publication Publication Date Title
US8795569B2 (en) Method for manufacturing a gearwheel
US9961434B2 (en) In-ear headphones having a flexible nozzle and related methods
JPH01289716A (ja) モールディング及びその製造方法
USRE45516E1 (en) Injection-molded resin face gear
JP2005265122A (ja) 樹脂トルクロッド
JP6147444B2 (ja) 内視鏡用コネクタ
JP4442868B2 (ja) 樹脂歯車
JP4314523B2 (ja) 合成樹脂製ギヤの製造方法
JP3889109B2 (ja) 車輌用灯具
JP5890690B2 (ja) ステアリングシャフト
JP4038188B2 (ja) ダイビングマスク
JP4618808B2 (ja) 樹脂製フェースギヤ及びこの樹脂製フェースギヤの射出成形用金型
JP3151190B2 (ja) 光コネクター用フェルールの製造法
JP4812615B2 (ja) ボールジョイント及びボールジョイントの製造方法
JP2001336611A (ja) モールドギヤ
JP6611643B2 (ja) 中空管の作製方法
JP2005009214A (ja) グラウト継手のシールキャップ
JP5316877B2 (ja) 中継コネクタ
JP3621009B2 (ja) 合成樹脂製の成形歯車
JP2007093012A (ja) モールドギヤ
JP5477065B2 (ja) 計器用筐体、及び計器装置
JP3956123B2 (ja) コネクターシール
JP7680180B2 (ja) 波動歯車装置および外歯歯車
JP5054968B2 (ja) ヘッドレスト用のクッションパッドの成形型及びヘッドレスト用のクッションパッドの成形方法
JP2010030101A (ja) 中空成形品とその製造方法

Legal Events

Date Code Title Description
A621 Written request for application examination

Free format text: JAPANESE INTERMEDIATE CODE: A621

Effective date: 20061208

A977 Report on retrieval

Free format text: JAPANESE INTERMEDIATE CODE: A971007

Effective date: 20090521

A131 Notification of reasons for refusal

Free format text: JAPANESE INTERMEDIATE CODE: A131

Effective date: 20090526

A521 Request for written amendment filed

Free format text: JAPANESE INTERMEDIATE CODE: A523

Effective date: 20090709

TRDD Decision of grant or rejection written
A01 Written decision to grant a patent or to grant a registration (utility model)

Free format text: JAPANESE INTERMEDIATE CODE: A01

Effective date: 20100105

A01 Written decision to grant a patent or to grant a registration (utility model)

Free format text: JAPANESE INTERMEDIATE CODE: A01

A61 First payment of annual fees (during grant procedure)

Free format text: JAPANESE INTERMEDIATE CODE: A61

Effective date: 20100108

R150 Certificate of patent or registration of utility model

Ref document number: 4442868

Country of ref document: JP

Free format text: JAPANESE INTERMEDIATE CODE: R150

Free format text: JAPANESE INTERMEDIATE CODE: R150

FPAY Renewal fee payment (event date is renewal date of database)

Free format text: PAYMENT UNTIL: 20130122

Year of fee payment: 3

FPAY Renewal fee payment (event date is renewal date of database)

Free format text: PAYMENT UNTIL: 20130122

Year of fee payment: 3

R250 Receipt of annual fees

Free format text: JAPANESE INTERMEDIATE CODE: R250

S111 Request for change of ownership or part of ownership

Free format text: JAPANESE INTERMEDIATE CODE: R313117

R350 Written notification of registration of transfer

Free format text: JAPANESE INTERMEDIATE CODE: R350

R250 Receipt of annual fees

Free format text: JAPANESE INTERMEDIATE CODE: R250

R250 Receipt of annual fees

Free format text: JAPANESE INTERMEDIATE CODE: R250

R250 Receipt of annual fees

Free format text: JAPANESE INTERMEDIATE CODE: R250

R250 Receipt of annual fees

Free format text: JAPANESE INTERMEDIATE CODE: R250

R250 Receipt of annual fees

Free format text: JAPANESE INTERMEDIATE CODE: R250

R250 Receipt of annual fees

Free format text: JAPANESE INTERMEDIATE CODE: R250

R250 Receipt of annual fees

Free format text: JAPANESE INTERMEDIATE CODE: R250

R250 Receipt of annual fees

Free format text: JAPANESE INTERMEDIATE CODE: R250

R250 Receipt of annual fees

Free format text: JAPANESE INTERMEDIATE CODE: R250

R250 Receipt of annual fees

Free format text: JAPANESE INTERMEDIATE CODE: R250

EXPY Cancellation because of completion of term