JP2005291307A - 車輪用軸受装置 - Google Patents
車輪用軸受装置 Download PDFInfo
- Publication number
- JP2005291307A JP2005291307A JP2004105363A JP2004105363A JP2005291307A JP 2005291307 A JP2005291307 A JP 2005291307A JP 2004105363 A JP2004105363 A JP 2004105363A JP 2004105363 A JP2004105363 A JP 2004105363A JP 2005291307 A JP2005291307 A JP 2005291307A
- Authority
- JP
- Japan
- Prior art keywords
- seal
- lip
- bearing device
- plate
- wheel
- Prior art date
- Legal status (The legal status is an assumption and is not a legal conclusion. Google has not performed a legal analysis and makes no representation as to the accuracy of the status listed.)
- Pending
Links
- 238000005096 rolling process Methods 0.000 claims abstract description 50
- 238000007789 sealing Methods 0.000 claims abstract description 14
- 239000004519 grease Substances 0.000 abstract description 16
- 230000000087 stabilizing effect Effects 0.000 abstract 1
- 239000000428 dust Substances 0.000 description 7
- 230000004048 modification Effects 0.000 description 5
- 238000012986 modification Methods 0.000 description 5
- XLYOFNOQVPJJNP-UHFFFAOYSA-N water Substances O XLYOFNOQVPJJNP-UHFFFAOYSA-N 0.000 description 4
- 229910000963 austenitic stainless steel Inorganic materials 0.000 description 3
- 239000010960 cold rolled steel Substances 0.000 description 3
- 238000003825 pressing Methods 0.000 description 3
- OKTJSMMVPCPJKN-UHFFFAOYSA-N Carbon Chemical compound [C] OKTJSMMVPCPJKN-UHFFFAOYSA-N 0.000 description 2
- 229910000954 Medium-carbon steel Inorganic materials 0.000 description 2
- -1 S53C Chemical compound 0.000 description 2
- 229910052799 carbon Inorganic materials 0.000 description 2
- 239000000446 fuel Substances 0.000 description 2
- 230000006698 induction Effects 0.000 description 2
- 230000001050 lubricating effect Effects 0.000 description 2
- 239000006247 magnetic powder Substances 0.000 description 2
- 102220097517 rs876659265 Human genes 0.000 description 2
- 238000005452 bending Methods 0.000 description 1
- 230000005540 biological transmission Effects 0.000 description 1
- 230000007423 decrease Effects 0.000 description 1
- 238000009434 installation Methods 0.000 description 1
- 239000002184 metal Substances 0.000 description 1
- 238000000034 method Methods 0.000 description 1
- 238000010791 quenching Methods 0.000 description 1
- 230000000171 quenching effect Effects 0.000 description 1
- 239000004575 stone Substances 0.000 description 1
- 239000000725 suspension Substances 0.000 description 1
Images
Classifications
-
- F—MECHANICAL ENGINEERING; LIGHTING; HEATING; WEAPONS; BLASTING
- F16—ENGINEERING ELEMENTS AND UNITS; GENERAL MEASURES FOR PRODUCING AND MAINTAINING EFFECTIVE FUNCTIONING OF MACHINES OR INSTALLATIONS; THERMAL INSULATION IN GENERAL
- F16C—SHAFTS; FLEXIBLE SHAFTS; ELEMENTS OR CRANKSHAFT MECHANISMS; ROTARY BODIES OTHER THAN GEARING ELEMENTS; BEARINGS
- F16C33/00—Parts of bearings; Special methods for making bearings or parts thereof
- F16C33/72—Sealings
- F16C33/76—Sealings of ball or roller bearings
- F16C33/78—Sealings of ball or roller bearings with a diaphragm, disc, or ring, with or without resilient members
- F16C33/7869—Sealings of ball or roller bearings with a diaphragm, disc, or ring, with or without resilient members mounted with a cylindrical portion to the inner surface of the outer race and having a radial portion extending inward
- F16C33/7879—Sealings of ball or roller bearings with a diaphragm, disc, or ring, with or without resilient members mounted with a cylindrical portion to the inner surface of the outer race and having a radial portion extending inward with a further sealing ring
-
- F—MECHANICAL ENGINEERING; LIGHTING; HEATING; WEAPONS; BLASTING
- F16—ENGINEERING ELEMENTS AND UNITS; GENERAL MEASURES FOR PRODUCING AND MAINTAINING EFFECTIVE FUNCTIONING OF MACHINES OR INSTALLATIONS; THERMAL INSULATION IN GENERAL
- F16C—SHAFTS; FLEXIBLE SHAFTS; ELEMENTS OR CRANKSHAFT MECHANISMS; ROTARY BODIES OTHER THAN GEARING ELEMENTS; BEARINGS
- F16C2326/00—Articles relating to transporting
- F16C2326/01—Parts of vehicles in general
- F16C2326/02—Wheel hubs or castors
Landscapes
- Engineering & Computer Science (AREA)
- General Engineering & Computer Science (AREA)
- Mechanical Engineering (AREA)
- Rolling Contact Bearings (AREA)
Abstract
【課題】
摺動抵抗や回転トルクを抑制すると共に、シールリップの追従性が安定し、強固な密封性を維持するシールを備えた車輪用軸受装置を提供する。
【解決手段】
ハブ輪1と複列の転がり軸受とがユニット化された車輪用軸受装置であって、外方部材4と内輪6間の環状空間に装着されたシール9を備え、このシール9が、互いに対向して配置された環状の第1および第2のシール板11、12からなり、第2のシール板12は、内輪6に外嵌される円筒部12aと、この円筒部12aから円弧状に形成された隅部13を介して径方向外方に延びる立板部12bとからなると共に、第1のシール板11には、第2のシール板12の立板部12bに摺接するサイドリップ14aと、円筒部12aに摺接するグリースリップ14bと、隅部13に摺接する中間リップ14cとからなるシール部材14が一体に加硫接着されている。
【選択図】図2
摺動抵抗や回転トルクを抑制すると共に、シールリップの追従性が安定し、強固な密封性を維持するシールを備えた車輪用軸受装置を提供する。
【解決手段】
ハブ輪1と複列の転がり軸受とがユニット化された車輪用軸受装置であって、外方部材4と内輪6間の環状空間に装着されたシール9を備え、このシール9が、互いに対向して配置された環状の第1および第2のシール板11、12からなり、第2のシール板12は、内輪6に外嵌される円筒部12aと、この円筒部12aから円弧状に形成された隅部13を介して径方向外方に延びる立板部12bとからなると共に、第1のシール板11には、第2のシール板12の立板部12bに摺接するサイドリップ14aと、円筒部12aに摺接するグリースリップ14bと、隅部13に摺接する中間リップ14cとからなるシール部材14が一体に加硫接着されている。
【選択図】図2
Description
本発明は、自動車等の車輪を回転自在に支承する車輪用軸受装置、特に、雨水や泥水等の異物が多量に存在する環境下においても充分な密封性を有するシールが装着された車輪用軸受装置に関するものである。
自動車の車輪を懸架装置に対して回転自在に支持する車輪用軸受装置は、雨水やダスト等に直接曝される環境下にあるため、この雨水やダスト等が軸受内部に侵入しないように強固な密封性を有するシールが装着されている。一方、この種の車輪用軸受装置において、回転トルクの増大は軸受の温度上昇や燃費に影響を及ぼすため、軸受の低トルク化が図られている。軸受のトルクの中でもシールの摺動抵抗が支配的であるため、強固な密封性を維持しつつ、摺動抵抗を抑制した構造のシールが装着された車輪用軸受装置が色々提案されている。
図7に示す車輪用軸受装置はこの代表的な一例である。これは駆動輪側の車輪用軸受装置であって、外周に車体(図示せず)に取り付けられる車体取付フランジ51bを一体に有し、内周に複列の外側転走面51a、51aが形成された外方部材51と、一端部に車輪(図示せず)が取り付けられる車輪取付フランジ53を一体に有し、この車輪取付フランジ53の円周等配位置には車輪(図示せず)を取り付けるためのハブボルト54が植設され、外周に前記複列の外側転走面51a、51aに対向する一方の内側転走面52aと、この内側転走面52aから軸方向に延びる円筒状の小径段部52bが形成され、内周にトルク伝達用のセレーションが形成されたハブ輪52と、小径段部52bに圧入され、外周に他方の内側転走面55aが形成された内輪55とを備えている。
複列の外側転走面51a、51aと、これらに対向する内側転走面52a、55a間には複列の転動体(ボール)56が保持器57によって転動自在に収容されている。また、ハブ輪52と内輪55とからなる内方部材58と、前記外方部材51との間に形成される環状空間にはシール59、60がそれぞれ装着され、軸受内部に封入された潤滑グリースの漏洩と、外部から雨水やダスト等が軸受内に侵入するのを防止している。
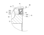
これらのシール59、60のうち外方部材51と内輪55間に装着されたインボード側のシール60は、図8に示すように、固定側軌道輪となる外方部材51に内嵌され、断面L字状に形成された芯金61と、この芯金61に一体に加硫接着されたシール部材62とからなるシールリング63と、回転側軌道輪となる内輪55に外嵌され、同じく断面L字状に形成されたスリンガ64とを備えている。シール部材62はゴム等の弾性部材からなり、サイドリップ62aとグリースリップ62b、および中間リップ62cの3本のシールリップを備え、サイドリップ62aの先端縁をスリンガ64の立板部64bの内側面に摺接させ、残りのグリースリップ62bと中間リップ62cの先端縁を、スリンガ64の円筒部64aに摺接させている。
また、スリンガ64の外側面には、磁性体粉が混入されたエンコーダ65が一体に加硫接着されている。このエンコーダ65は、周方向に交互に磁極N、Sが形成されたゴム磁石からなり、車輪回転速度の検出用のロータリエンコーダを構成している。そして、シールリング63とスリンガ64の立板部64bの先端とは僅かな径方向すきまを介して対峙され、このすきまでラビリンスシール66を構成している。こうした構成により、雨水や泥水等の異物が多量に存在する環境下においても充分な密封性を発揮することができる。
特開2002−147478号公報
然しながら、この従来の車輪用軸受装置のシール60において、ラジアルシールとなるグリースリップ62bおよび中間リップ62cのシメシロが安定している場合は強固な密封性を発揮する一方、スリンガ64と内輪55との芯違いやグリースリップ62bおよび中間リップ62cの内径の芯違い、さらにはスリンガ64のミスアライメント等により、シメシロに変化が生じた場合、シールリップの追従性が不安定となって密封性が低下する恐れがあった。
このようなシメシロの変化を抑えるには、シール60および内輪55の寸法精度、さらには組立精度を向上させる必要があり、低コスト化を阻害する要因となっていた。シールリップの追従性を安定させる手段として、シールリップにガータースプリングを装着させて剛性を高め緊迫力を増大させることも考えられるが、これではシールの摺動抵抗および回転トルクが増大し、軸受の温度上昇や燃費に影響を及ぼすため好ましくない。
本発明は、このような従来の問題に鑑みてなされたもので、摺動抵抗や回転トルクを抑制すると共に、シールリップの追従性が安定し、強固な密封性を維持するシールを備えた車輪用軸受装置を提供することを目的とする。
係る目的を達成すべく、本発明のうち請求項1に記載の発明は、内周に複列の外側転走面が形成された外方部材と、一端部に車輪取付フランジを一体に有し、外周に軸方向に延びる円筒状の小径段部が形成されたハブ輪、およびこのハブ輪の小径段部に圧入された少なくとも一つの内輪とからなり、外周に前記複列の外側転走面に対向する複列の内側転走面が形成された内方部材と、これら両転走面間に回転自在に収容された転動体と、前記外方部材と内方部材間に形成された環状空間に装着されたシールとを備えた車輪用軸受装置において、前記シールのうちインボード側のシールが、互いに対向して配置され、断面L字状に形成された環状の第1および第2のシール板からなり、この第2のシール板が、前記内輪に外嵌される円筒部と、この円筒部の一端からシールランドを構成する隅部を介して径方向外方に延びる立板部とを有すると共に、前記第1のシール板が、前記第2のシール板の隅部に摺接するシールリップを一体に有する構成を採用した。
このように、外方部材と内方部材との間に形成される環状空間に装着されたシールのうちインボード側のシールが、互いに対向して配置され、断面L字状に形成された環状の第1および第2のシール板からなり、この第2のシール板が、内輪に外嵌される円筒部と、この円筒部の一端からシールランドを構成する隅部を介して径方向外方に延びる立板部とを有すると共に、第1のシール板が、第2のシール板の隅部に摺接するシールリップを一体に有しているので、第1および第2のシール板に寸法バラツキやミスアライメント等があっても、シールリップの先端が隅部の形状に倣って摺接位置が変化し、シメシロの変化は生じない。したがって、摺動抵抗や回転トルクを抑制すると共に、シールリップの追従性が安定して密封性が向上する。
また、前記第2のシール板の隅部が、請求項2に記載の発明のように、大きな曲率半径からなる円弧状に形成されていても良いし、また、請求項3に記載の発明のように、傾斜した直線状に形成されていても良い。
また、請求項4に記載の発明は、前記第1のシール板が、前記外方部材に内嵌される円筒部と、この円筒部の一端からシールランドを構成する隅部を介して径方向内方に延びる立板部とを有すると共に、前記第2のシール板が、前記第1のシール板の隅部に摺接するシールリップを一体に有しているので、摺動抵抗や回転トルクを一層抑制すると共に、シールリップの追従性が安定して密封性が向上する。
本発明に係る車輪用軸受装置は、内周に複列の外側転走面が形成された外方部材と、一端部に車輪取付フランジを一体に有し、外周に軸方向に延びる円筒状の小径段部が形成されたハブ輪、およびこのハブ輪の小径段部に圧入された少なくとも一つの内輪とからなり、外周に前記複列の外側転走面に対向する複列の内側転走面が形成された内方部材と、これら両転走面間に回転自在に収容された転動体と、前記外方部材と内方部材間に形成された環状空間に装着されたシールとを備えた車輪用軸受装置において、前記シールのうちインボード側のシールが、互いに対向して配置され、断面L字状に形成された環状の第1および第2のシール板からなり、この第2のシール板が、前記内輪に外嵌される円筒部と、この円筒部の一端からシールランドを構成する隅部を介して径方向外方に延びる立板部とを有すると共に、前記第1のシール板が、前記第2のシール板の隅部に摺接するシールリップを一体に有しているので、第1および第2のシール板に寸法バラツキやミスアライメント等があっても、シールリップの先端が隅部の形状に倣って摺接位置が変化し、シメシロの変化は生じない。したがって、摺動抵抗や回転トルクを抑制すると共に、シールリップの追従性が安定して密封性が向上する。
内周に複列の外側転走面が形成された外方部材と、一端部に車輪取付フランジを一体に有し、外周に前記複列の外側転走面に対向する一方の内側転走面と、この内側転走面から軸方向に延びる円筒状の小径段部が形成されたハブ輪、およびこのハブ輪の小径段部に圧入され、外周に前記複列の外側転走面に対向する他方の内側転走面が形成された内輪とからなる内方部材と、これら両転走面間に回転自在に収容された転動体と、前記外方部材と内方部材間に形成された環状空間に装着されたシールとを備えた車輪用軸受装置において、前記シールのうちインボード側のシールが、互いに対向して配置され、断面L字状に形成された環状の第1および第2のシール板からなり、第2のシール板は、前記内輪に外嵌される円筒部と、この円筒部から大きな曲率半径からなる円弧状に形成され、シールランドを構成する隅部を介して径方向外方に延びる立板部とからなると共に、第1のシール板は、外方部材に内嵌される円筒部と、この円筒部の一端から径方向内方に延びる立板部とを有し、前記第2のシール板の立板部に摺接するサイドリップと、前記円筒部に摺接するグリースリップと、前記隅部に摺接する中間リップとからなるシール部材が一体に加硫接着されている。
以下、本発明の実施の形態を図面に基いて詳細に説明する。
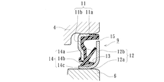
図1は、本発明に係る車輪用軸受装置の第1の実施形態を示す縦断面図、図2は、図1の要部拡大図である。なお、以下の説明では、車両に組み付けた状態で車両の外側寄りとなる側をアウトボード側(図面左側)、中央寄り側をインボード側(図面右側)という。
図1は、本発明に係る車輪用軸受装置の第1の実施形態を示す縦断面図、図2は、図1の要部拡大図である。なお、以下の説明では、車両に組み付けた状態で車両の外側寄りとなる側をアウトボード側(図面左側)、中央寄り側をインボード側(図面右側)という。
この車輪用軸受装置は駆動輪用であって、ハブ輪1と複列の転がり軸受2とをユニット化した構成を備えている。
複列の転がり軸受2は、内方部材3と外方部材4と複列の転動体(ボール)5、5とを有し、内方部材3は、外周に複列の内側転走面1a、6aが形成されている。これら複列の内側転走面1a、6aのうち一方の内側転走面1aはハブ輪1の外周に、他方の内側転走面6aは内輪6の外周にそれぞれ一体に形成されている。この場合、内方部材3はハブ輪1と、このハブ輪1の内側転走面1aから軸方向に延びる円筒状の小径段部1bに圧入された内輪6とを指す。
複列の転がり軸受2は、内方部材3と外方部材4と複列の転動体(ボール)5、5とを有し、内方部材3は、外周に複列の内側転走面1a、6aが形成されている。これら複列の内側転走面1a、6aのうち一方の内側転走面1aはハブ輪1の外周に、他方の内側転走面6aは内輪6の外周にそれぞれ一体に形成されている。この場合、内方部材3はハブ輪1と、このハブ輪1の内側転走面1aから軸方向に延びる円筒状の小径段部1bに圧入された内輪6とを指す。
一方、外方部材4は、S53C等の炭素0.40〜0.80wt%を含む中炭素鋼からなり、外周に車体(図示せず)に取り付けるための車体取付フランジ4bを一体に有している。内周には前記複列の内側転走面1a、6aに対向する複列の外側転走面4a、4aが形成され、高周波焼入れによって表面硬さを54〜64HRCの範囲に硬化層が形成されている。そして、複列の転動体5、5がこれら両転走面1a、4aおよび6a、4a間にそれぞれ収容され、保持器7、7によって転動自在に保持されている。また、外方部材4の端部にはシール8、9が装着され、軸受内部に封入された潤滑グリースの漏洩と、外部から軸受内部に雨水やダスト等が侵入するのを防止している。ここで転動体5、5をボールとした複列アンギュラ玉軸受を例示したが、これに限らず転動体に円すいころを使用した複列円すいころ軸受であっても良い。
ハブ輪1は、S53C等の炭素0.40〜0.80wt%を含む中炭素鋼からなり、アウトボード側の端部に車輪(図示せず)を取り付けるための車輪取付フランジ10を一体に有し、この車輪取付フランジ10の周方向等配位置にハブボルト10aが植設されている。また、アウトボード側のシール8が摺接するシールランド部から内側転走面1aおよび小径段部1bに亙って高周波焼入れによって表面硬さを54〜64HRCの範囲に硬化層が形成されている。これにより、車輪取付フランジ10の基部となるシールランド部は耐摩耗性が向上するばかりでなく、車輪取付フランジ10に負荷される回転曲げ荷重に対して充分な機械的強度を有し、ハブ輪1の耐久性が一層向上する。
インボード側のシール9は、図2に拡大して示すように、外方部材4と内輪6にそれぞれ装着された環状の第1および第2のシール板11、12からなり、互いに対向して配置されている。第2のシール板12は、内輪6に外嵌される円筒部12aと、この円筒部12aから隅部13を介して径方向外方に延びる立板部12bとからなる断面L字状に形成されている。この隅部13は大きな曲率半径からなる円弧状に形成され、シールランドを構成している。なお、第2のシール板は、オーステナイト系ステンレス鋼鈑(JIS規格のSUS304系等)、あるいは、防錆処理された冷間圧延鋼鈑(JIS規格のSPCC系等)をプレス加工にて形成されている。一方、第1のシール板11は、外方部材4に内嵌される円筒部11aと、この円筒部11aの一端から径方向内方に延びる立板部11bとからなり、サイドリップ14aとグリースリップ14bおよび中間リップ14cとを一体に有するシール部材14が加硫接着されている。このシール部材14はゴム等の弾性部材からなる。
ここで、サイドリップ14aは第2のシール板12の立板部12bに摺接し、また、グリースリップ14bは第2のシール板12の円筒部11aに摺接している。そして、中間リップ14cは第2のシール板12の隅部13に摺接している。さらに、第1のシール板11の円筒部11aと、第2のシール板12における立板部12bの先端とは僅かな径方向すきまを介して対峙され、このすきまでラビリンスシール15を構成している。
このように、本実施形態では、中間リップ14cを第2のシール板12の隅部13に摺接させているので、中間リップ14cの内径の芯違い、あるいは第2のシール板12のミスアライメント等があっても、中間リップ14cの先端が隅部13の円弧形状に倣って摺接位置が変化し、シメシロの変化は生じない。したがって、摺動抵抗や回転トルクを抑制すると共に、シールリップの追従性が安定して密封性が向上する。
図3は、本発明に係る車輪用軸受装置の第2の実施形態を示す要部拡大図である。なお、この実施形態は前述した実施形態(図2)の変形例で、第1のシール板の構成が異なるのみで、その他同一部品、同一部位には同じ符号を付して詳細な説明を省略する。
第1のシール板11には、グリースリップ14bと中間リップ(ダストリップ)14cとを一体に有するシール部材16が加硫接着されている。この中間リップ14cは、第2のシール板12の隅部13に摺接している。これにより、中間リップ14cの内径の芯違い、あるいは第2のシール板12のミスアライメント等があっても、中間リップ14cの先端が隅部13の円弧形状に倣って摺接位置が変化し、シメシロの変化は生じない。さらに、この中間リップ14cは前述したサイドリップの役目をなし、簡素な構成で外部から雨水やダスト等が軸受内部に侵入するのを防止する。
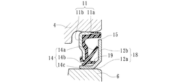
図4は、本発明に係る車輪用軸受装置の第3の実施形態を示す要部拡大図である。なお、この実施形態は前述した実施形態(図2)の変形例で、第2のシール板の構成が異なるのみで、その他同一部品、同一部位には同じ符号を付して詳細な説明を省略する。
第2のシール板18は、内輪6に外嵌される円筒部18aと、この円筒部18aから傾斜した隅部19を介して径方向外方に延びる立板部18bとからなる断面L字状に形成されている。この第2のシール板18は、その隅部19が傾斜した直線部からなるので、シール部材14を構成する中間リップ14cの先端が、隅部19の傾斜に倣って摺接位置が変化し、シメシロの変化は生じない。さらに精度良く加工でき寸法バラツキを抑えることができると共に、中間リップ14cとの接触状態が安定し、一層リップ追従性が向上する。なお、この第2のシール板18は、オーステナイト系ステンレス鋼鈑(JIS規格のSUS304系等)、あるいは、防錆処理された冷間圧延鋼鈑(JIS規格のSPCC系等)をプレス加工にて形成されている。
図5は、本発明に車輪用軸受装置の第4の実施形態を示す要部拡大図である。なお、前述した実施形態と同一部品、同一部位には同じ符号を付して詳細な説明を省略する。
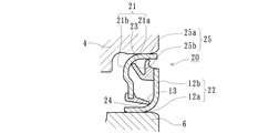
インボード側のシール20は、外方部材4と内輪6にそれぞれ装着された環状の第1および第2のシール板21、22からなり、互いに対向して配置されている。第2のシール板22は、内輪6に外嵌される円筒部12aと、この円筒部12aから円弧状の隅部13を介して径方向外方に延びる立板部12bとからなる断面L字状に形成されている。一方、第1のシール板21は、外方部材4に内嵌される円筒部21aと、この円筒部21aから円弧状の隅部23を介して径方向内方に延びる立板部21bとからなる断面L字状に形成されている。この第1のシール板21は、オーステナイト系ステンレス鋼鈑(JIS規格のSUS304系等)、あるいは、防錆処理された冷間圧延鋼鈑(JIS規格のSPCC系等)をプレス加工にて形成されている。
インボード側のシール20は、外方部材4と内輪6にそれぞれ装着された環状の第1および第2のシール板21、22からなり、互いに対向して配置されている。第2のシール板22は、内輪6に外嵌される円筒部12aと、この円筒部12aから円弧状の隅部13を介して径方向外方に延びる立板部12bとからなる断面L字状に形成されている。一方、第1のシール板21は、外方部材4に内嵌される円筒部21aと、この円筒部21aから円弧状の隅部23を介して径方向内方に延びる立板部21bとからなる断面L字状に形成されている。この第1のシール板21は、オーステナイト系ステンレス鋼鈑(JIS規格のSUS304系等)、あるいは、防錆処理された冷間圧延鋼鈑(JIS規格のSPCC系等)をプレス加工にて形成されている。
第1のシール板21の内方端には、第2のシール板22の隅部13に摺接するグリースリップ24が加硫接着され、一方、第2のシール板22の外方端には、第1のシール板21の円筒部21aに摺接するダストリップ25aと、隅部23に摺接する中間リップ25bとを一体に有するシール部材25が加硫接着されている。
このように、本実施形態では、第1のシール板21のグリースリップ24を第2のシール板22の隅部13に摺接させると共に、第2のシール板22の中間リップ25bを第1のシール板21の隅部23に摺接させているので、それぞれ第1および第2のシール板21、22の寸法バラツキあるいはミスアライメント等があっても、グリースリップ24および中間リップ25bの先端が隅部13、23の円弧形状に倣って摺接位置が変化し、シメシロの変化は生じない。したがって、摺動抵抗や回転トルクを抑制すると共に、シールリップの追従性が安定して密封性が向上する。
図6は、本発明に車輪用軸受装置の第5の実施形態を示す要部拡大図である。
この実施形態は、前述した第1の実施形態(図2)の変形例で、第2のシール板の構成のみが異なるのみで、その他同一部品、同一部位には同じ符号を付してその詳細な説明を省略する。
この実施形態は、前述した第1の実施形態(図2)の変形例で、第2のシール板の構成のみが異なるのみで、その他同一部品、同一部位には同じ符号を付してその詳細な説明を省略する。
第2のシール板26の立板部12bにおける外側面には、磁性体粉が混入されたエンコーダ27が一体に加硫接着されている。このエンコーダ27は、周方向に交互に磁極N、Sが形成されたゴム磁石からなり、車輪回転速度の検出用のロータリエンコーダを構成している。本実施形態では、エンコーダ27が円弧状の隅部13の外側面にまで回り込ませて加硫接着されているので、エンコーダ27を強固に接合させることができる。したがって、車両の走行中に飛び石等がこのエンコーダ27に衝突するようなことがあっても、剥がれ難く、強度・耐久性が向上する。
以上、本発明の実施の形態について説明を行ったが、本発明はこうした実施の形態に何等限定されるものではなく、あくまで例示であって、本発明の要旨を逸脱しない範囲内において、さらに種々なる形態で実施し得ることは勿論のことであり、本発明の範囲は、特許請求の範囲の記載によって示され、さらに特許請求の範囲に記載の均等の意味、および範囲内のすべての変更を含む。
本発明に係る車輪用軸受装置は、軸受形式あるいはシール形式等に限定されず、水や泥水等の異物が多量に存在する環境下で使用される車輪用軸受装置に適用できる。
1・・・・・・・・・・・・ハブ輪
1a、6a・・・・・・・・内側転走面
1b・・・・・・・・・・・小径段部
2・・・・・・・・・・・・複列の転がり軸受
3・・・・・・・・・・・・内方部材
4・・・・・・・・・・・・外方部材
4a・・・・・・・・・・・外側転走面
4b・・・・・・・・・・・車体取付フランジ
5・・・・・・・・・・・・転動体
6・・・・・・・・・・・・内輪
7・・・・・・・・・・・・保持器
8・・・・・・・・・・・・アウトボード側のシール
9、20・・・・・・・・・インボード側のシール
10・・・・・・・・・・・車輪取付フランジ
10a・・・・・・・・・・ハブボルト
11、21・・・・・・・・第1のシール板
11a、12a、21a・・円筒部
11b、12b、21b・・立板部
12、18、26・・・・・第2のシール板
13、19、23・・・・・隅部
14、16、25・・・・・シール部材
14a・・・・・・・・・・サイドリップ
14b・・・・・・・・・・グリースリップ
14c、25b・・・・・・中間リップ
15・・・・・・・・・・・ラビリンスシール
24・・・・・・・・・・・グリースリップ
25a・・・・・・・・・・ダストリップ
27・・・・・・・・・・・エンコーダ
51・・・・・・・・・・・外方部材
51a・・・・・・・・・・外側転走面
51b・・・・・・・・・・車体取付フランジ
52・・・・・・・・・・・ハブ輪
52a、55a・・・・・・内側転走面
52b・・・・・・・・・・小径段部
53・・・・・・・・・・・車輪取付フランジ
54・・・・・・・・・・・ハブボルト
55・・・・・・・・・・・内輪
56・・・・・・・・・・・転動体
57・・・・・・・・・・・保持器
58・・・・・・・・・・・内方部材
59・・・・・・・・・・・アウトボード側のシール
60・・・・・・・・・・・インボード側のシール
61・・・・・・・・・・・芯金
62・・・・・・・・・・・シール部材
62a・・・・・・・・・・サイドリップ
62b・・・・・・・・・・グリースリップ
62c・・・・・・・・・・中間リップ
63・・・・・・・・・・・シールリング
64・・・・・・・・・・・スリンガ
64a・・・・・・・・・・円筒部
64b・・・・・・・・・・立板部
65・・・・・・・・・・・エンコーダ
66・・・・・・・・・・・ラビリンスシール
1a、6a・・・・・・・・内側転走面
1b・・・・・・・・・・・小径段部
2・・・・・・・・・・・・複列の転がり軸受
3・・・・・・・・・・・・内方部材
4・・・・・・・・・・・・外方部材
4a・・・・・・・・・・・外側転走面
4b・・・・・・・・・・・車体取付フランジ
5・・・・・・・・・・・・転動体
6・・・・・・・・・・・・内輪
7・・・・・・・・・・・・保持器
8・・・・・・・・・・・・アウトボード側のシール
9、20・・・・・・・・・インボード側のシール
10・・・・・・・・・・・車輪取付フランジ
10a・・・・・・・・・・ハブボルト
11、21・・・・・・・・第1のシール板
11a、12a、21a・・円筒部
11b、12b、21b・・立板部
12、18、26・・・・・第2のシール板
13、19、23・・・・・隅部
14、16、25・・・・・シール部材
14a・・・・・・・・・・サイドリップ
14b・・・・・・・・・・グリースリップ
14c、25b・・・・・・中間リップ
15・・・・・・・・・・・ラビリンスシール
24・・・・・・・・・・・グリースリップ
25a・・・・・・・・・・ダストリップ
27・・・・・・・・・・・エンコーダ
51・・・・・・・・・・・外方部材
51a・・・・・・・・・・外側転走面
51b・・・・・・・・・・車体取付フランジ
52・・・・・・・・・・・ハブ輪
52a、55a・・・・・・内側転走面
52b・・・・・・・・・・小径段部
53・・・・・・・・・・・車輪取付フランジ
54・・・・・・・・・・・ハブボルト
55・・・・・・・・・・・内輪
56・・・・・・・・・・・転動体
57・・・・・・・・・・・保持器
58・・・・・・・・・・・内方部材
59・・・・・・・・・・・アウトボード側のシール
60・・・・・・・・・・・インボード側のシール
61・・・・・・・・・・・芯金
62・・・・・・・・・・・シール部材
62a・・・・・・・・・・サイドリップ
62b・・・・・・・・・・グリースリップ
62c・・・・・・・・・・中間リップ
63・・・・・・・・・・・シールリング
64・・・・・・・・・・・スリンガ
64a・・・・・・・・・・円筒部
64b・・・・・・・・・・立板部
65・・・・・・・・・・・エンコーダ
66・・・・・・・・・・・ラビリンスシール
Claims (4)
- 内周に複列の外側転走面が形成された外方部材と、
一端部に車輪取付フランジを一体に有し、外周に軸方向に延びる円筒状の小径段部が形成されたハブ輪、およびこのハブ輪の小径段部に圧入された少なくとも一つの内輪とからなり、外周に前記複列の外側転走面に対向する複列の内側転走面が形成された内方部材と、
これら両転走面間に回転自在に収容された転動体と、前記外方部材と内方部材間に形成された環状空間に装着されたシールとを備えた車輪用軸受装置において、
前記シールのうちインボード側のシールが、互いに対向して配置され、断面L字状に形成された環状の第1および第2のシール板からなり、この第2のシール板が、前記内輪に外嵌される円筒部と、この円筒部の一端からシールランドを構成する隅部を介して径方向外方に延びる立板部とを有すると共に、前記第1のシール板が、前記第2のシール板の隅部に摺接するシールリップを一体に有することを特徴とする車輪用軸受装置。 - 前記第2のシール板の隅部が大きな曲率半径からなる円弧状に形成されている請求項1に記載の車輪用軸受装置。
- 前記第2のシール板の隅部が傾斜した直線状に形成されている請求項1に記載の車輪用軸受装置。
- 前記第1のシール板が、前記外方部材に内嵌される円筒部と、この円筒部の一端からシールランドを構成する隅部を介して径方向内方に延びる立板部とを有すると共に、前記第2のシール板が、前記第1のシール板の隅部に摺接するシールリップを一体に有している請求項1乃至3いずれかに記載の車輪用軸受装置。
Priority Applications (1)
| Application Number | Priority Date | Filing Date | Title |
|---|---|---|---|
| JP2004105363A JP2005291307A (ja) | 2004-03-31 | 2004-03-31 | 車輪用軸受装置 |
Applications Claiming Priority (1)
| Application Number | Priority Date | Filing Date | Title |
|---|---|---|---|
| JP2004105363A JP2005291307A (ja) | 2004-03-31 | 2004-03-31 | 車輪用軸受装置 |
Publications (1)
| Publication Number | Publication Date |
|---|---|
| JP2005291307A true JP2005291307A (ja) | 2005-10-20 |
Family
ID=35324476
Family Applications (1)
| Application Number | Title | Priority Date | Filing Date |
|---|---|---|---|
| JP2004105363A Pending JP2005291307A (ja) | 2004-03-31 | 2004-03-31 | 車輪用軸受装置 |
Country Status (1)
| Country | Link |
|---|---|
| JP (1) | JP2005291307A (ja) |
Cited By (2)
| Publication number | Priority date | Publication date | Assignee | Title |
|---|---|---|---|---|
| JP2010091078A (ja) * | 2008-10-10 | 2010-04-22 | Nok Corp | 密封装置 |
| US7901141B2 (en) * | 2005-02-14 | 2011-03-08 | Nsk Ltd. | Hub unit bearing |
-
2004
- 2004-03-31 JP JP2004105363A patent/JP2005291307A/ja active Pending
Cited By (2)
| Publication number | Priority date | Publication date | Assignee | Title |
|---|---|---|---|---|
| US7901141B2 (en) * | 2005-02-14 | 2011-03-08 | Nsk Ltd. | Hub unit bearing |
| JP2010091078A (ja) * | 2008-10-10 | 2010-04-22 | Nok Corp | 密封装置 |
Similar Documents
| Publication | Publication Date | Title |
|---|---|---|
| JP6275465B2 (ja) | 密封装置およびこれを備えた車輪用軸受装置 | |
| JP6603078B2 (ja) | 車輪用軸受装置 | |
| JP5836584B2 (ja) | 車輪用軸受装置 | |
| US8790017B2 (en) | Wheel bearing apparatus | |
| US8905645B2 (en) | Wheel bearing apparatus | |
| JP2016186319A (ja) | 密封装置およびこれを備えた車輪用軸受装置 | |
| JP6336768B2 (ja) | 密封装置およびこれを備えた車輪用軸受装置 | |
| JP2012056411A (ja) | 車輪用軸受装置 | |
| JP2015137754A (ja) | 車輪用軸受装置 | |
| JP2011088513A (ja) | 車輪用軸受シールおよびそれを備えた車輪用軸受装置 | |
| JP2011069422A (ja) | 車輪用軸受装置 | |
| JP2016003709A (ja) | 車輪用軸受装置 | |
| JP2009250297A (ja) | 車輪用軸受シールおよびこれを備えた車輪用軸受装置 | |
| JP2009156428A (ja) | シール組立方法 | |
| WO2015037677A1 (ja) | 車輪用軸受装置およびその製造方法 | |
| JP2008202748A (ja) | 車輪用軸受装置 | |
| JP2017053452A (ja) | 車輪用軸受装置 | |
| JP2015158228A (ja) | 密封装置およびこれを備えた車輪用軸受装置 | |
| JP2008164004A (ja) | 車輪用軸受装置 | |
| JP2018080840A (ja) | 密封装置およびこれを備えた車輪用軸受装置 | |
| JP2005291307A (ja) | 車輪用軸受装置 | |
| JP2011080499A (ja) | 車輪用軸受装置 | |
| JP2010001969A (ja) | 車輪用軸受シールおよびこれを備えた車輪用軸受装置 | |
| JP2007187218A (ja) | 車輪用軸受装置 | |
| JP5273845B2 (ja) | 車輪用軸受装置 |