JP2005291145A - 内燃機関の制御装置 - Google Patents

内燃機関の制御装置 Download PDF

Info

Publication number
JP2005291145A
JP2005291145A JP2004109758A JP2004109758A JP2005291145A JP 2005291145 A JP2005291145 A JP 2005291145A JP 2004109758 A JP2004109758 A JP 2004109758A JP 2004109758 A JP2004109758 A JP 2004109758A JP 2005291145 A JP2005291145 A JP 2005291145A
Authority
JP
Japan
Prior art keywords
engine
support device
internal combustion
cylinder
combustion engine
Prior art date
Legal status (The legal status is an assumption and is not a legal conclusion. Google has not performed a legal analysis and makes no representation as to the accuracy of the status listed.)
Granted
Application number
JP2004109758A
Other languages
English (en)
Other versions
JP4302565B2 (ja
Inventor
Mikio Fujiwara
幹夫 藤原
Current Assignee (The listed assignees may be inaccurate. Google has not performed a legal analysis and makes no representation or warranty as to the accuracy of the list.)
Honda Motor Co Ltd
Original Assignee
Honda Motor Co Ltd
Priority date (The priority date is an assumption and is not a legal conclusion. Google has not performed a legal analysis and makes no representation as to the accuracy of the date listed.)
Filing date
Publication date
Application filed by Honda Motor Co Ltd filed Critical Honda Motor Co Ltd
Priority to JP2004109758A priority Critical patent/JP4302565B2/ja
Publication of JP2005291145A publication Critical patent/JP2005291145A/ja
Application granted granted Critical
Publication of JP4302565B2 publication Critical patent/JP4302565B2/ja
Anticipated expiration legal-status Critical
Expired - Fee Related legal-status Critical Current

Links

Images

Landscapes

  • Output Control And Ontrol Of Special Type Engine (AREA)
  • Combined Controls Of Internal Combustion Engines (AREA)

Abstract

【課題】 能動型防振支持装置に支持され、一部気筒運転と全筒運転とが切換可能な内燃機関の制御を適切に行い、能動型防振支持装置の異常時においても一部気筒運転を継続できるようにした、内燃機関の制御装置を提供する。
【解決手段】 能動型防振支持装置40の異常が検出されたときに(S24)、フュエルカット運転中であり(S25)、エンジン回転数NEが所定回転数NECSFSより高く(S26)、ギヤ位置GPが所定ギヤ位置GPFS以上であり(S27)、かつ車速VPが所定車速VPFS以上(S28)であれば、エンジン振動への影響は比較的小さいので、気筒休止を許可する(S29)。
【選択図】 図5

Description

本発明は、内燃機関の制御装置に関し、特に複数気筒の一部の気筒の作動を休止させる一部気筒運転と、全気筒を作動させる全筒運転との切換が可能であり、能動型防振支持装置に支持された内燃機関の制御装置に関する。
特許文献1には、振動伝達率を可変制御可能な防振装置に支持された内燃機関の制御装置が示されている。この装置では、複数気筒の一部への燃料供給を停止することによる一部気筒運転が行われ、アイドル運転中に一部気筒運転を行うときは、防振装置は、その振動伝達率が小さくなるように制御される。
特公平3−27406号公報
しかしながら、防振装置が故障したときには、振動伝達率を変更制御することができないので、機関の振動が大きくなりやすい一部気筒運転を禁止せざるを得ない。そのため、一部気筒運転による燃費向上効果を十分に得ることができないという課題があった。
本発明はこの点に着目してなされたものであり、能動型防振支持装置に支持され、一部気筒運転と全筒運転とが切換可能な内燃機関の制御を適切に行い、能動型防振支持装置の異常時においても一部気筒運転を継続できるようにした、内燃機関の制御装置を提供することを目的とする。
上記目的を達成するため請求項1に記載の発明は、複数の気筒を有し、能動型防振支持装置に支持された内燃機関であって、前記複数気筒のすべてを作動させる全筒運転と、前記複数の気筒のうち一部の気筒の作動を休止させる一部気筒運転とを切り換える切換手段を備えた内燃機関の制御装置において、前記機関の運転パラメータを含む、前記機関により駆動される車両の運転パラメータを検出する運転パラメータ検出手段と、該運転パラメータ検出手段により検出される運転パラメータに応じた一部気筒運転領域において、一部気筒運転を前記切換手段に指令する指令手段と、前記能動型防振支持装置の異常を検出する異常検出手段と、前記異常検出手段による異常検出時に、前記一部気筒運転領域を変更する領域変更手段とを備えることを特徴とする。
請求項1に記載の発明によれば、機関の運転パラメータを含む、前記機関により駆動される車両の運転パラメータが検出され、該検出される運転パラメータに応じた一部気筒運転領域において、一部気筒運転が実行される。そして、能動型防振支持装置の異常が検出されたときは、一部気筒運転領域が変更される。したがって、一部気筒運転領域を、機関のトルク変動による振動の影響が少ない運転領域に限定することにより、能動型防振支持装置の異常時においても一部気筒運転を継続し、燃費を向上させることが可能となる。
以下本発明の実施の形態を図面を参照して説明する。
図1は本発明の一実施形態にかかる内燃機関及びその制御装置の構成を示す図である。V型6気筒の内燃機関(以下単に「エンジン」という)1は、#1,#2及び#3気筒が設けられた右バンクと、#4,#5及び#6気筒が設けられた左バンクとを備え、右バンクには#1〜#3気筒を一時的に休止させるための気筒休止機構30が設けられている。図2は、気筒休止機構30を油圧駆動するための油圧回路とその制御系を示す図であり、この図も図1と合わせて参照する。エンジン1は、車両に搭載され、当該車両を駆動する。エンジン1は、能動型防振支持装置40によって支持され、能動型防振支持装置40を介して当該車両の車体に固定されている。
エンジン1の吸気管2の途中にはスロットル弁3が配されている。スロットル弁3には、スロットル弁3の開度THを検出するスロットル弁開度センサ4が設けられており、その検出信号が電子制御ユニット(以下「ECU」という)5に供給される。
燃料噴射弁6は図示しない吸気弁の少し上流側に各気筒毎に設けられており、各噴射弁は図示しない燃料ポンプに接続されていると共にECU5に電気的に接続されて当該ECU5からの信号により燃料噴射弁6の開弁時間が制御される。
スロットル弁3の直ぐ下流には吸気管内絶対圧(PBA)センサ7が設けられており、この絶対圧センサ7により電気信号に変換された絶対圧信号はECU5に供給される。また、吸気管内絶対圧センサ7の下流には吸気温(TA)センサ8が取付けられており、吸気温TAを検出して対応する電気信号をECU5に供給する。
エンジン1の本体に装着されたエンジン水温(TW)センサ9はサーミスタ等から成り、エンジン水温(冷却水温)TWを検出して対応する温度信号を出力してECU5に供給する。
ECU5には、エンジン1のクランク軸(図示せず)の回転角度を検出するクランク角度位置センサ10が接続されており、クランク軸の回転角度に応じた信号がECU5に供給される。クランク角度位置センサ10は、エンジン1の特定の気筒の所定クランク角度位置でパルス(以下「CYLパルス」という)を出力する気筒判別センサ、各気筒の吸入行程開始時の上死点(TDC)に関し所定クランク角度前のクランク角度位置で(6気筒エンジンではクランク角120度毎に)TDCパルスを出力するTDCセンサ及びTDCパルスより短い一定クランク角周期(例えば30度周期)でCRKパルスを発生するCRKセンサから成り、CYLパルス、TDCパルス及びCRKパルスがECU5に供給される。これらの信号パルスは、燃料噴射時期、点火時期等の各種タイミング制御及びエンジン回転数(エンジン回転速度)NEの検出に使用される。
気筒休止機構30は、エンジン1の潤滑油を作動油として使用し、油圧駆動される。オイルポンプ31により加圧された作動油は、油路32及び吸気側油路33i,排気側油路33eを介して、気筒休止機構30に供給される。油路32と、油路33i及び33eとの間に、吸気側電磁弁35i及び排気側電磁弁35eが設けられており、これらの電磁弁35i,35eはECU5に接続されてその作動がECU5により制御される。
油路33i,33eには、作動油圧が所定閾値より低下するとオンする油圧スイッチ34i,34eが設けられており、その検出信号は、ECU5に供給される。また、油路32の途中には、作動油温TOILを検出する作動油温センサ36が設けられており、その検出信号がECU5に供給される。
気筒休止機構30の具体的な構成例は、例えば特開平10−103097号公報に示されており、本実施形態でも同様の機構を用いている。この機構によれば、電磁弁35i,35eが閉弁され、油路33i,33e内の作動油圧が低いときは、各気筒(#1〜#3)の吸気弁及び排気弁が通常の開閉作動を行う一方、電磁弁35i,35eが開弁され、油路33i,33e内の作動油圧が高くなると、各気筒(#1〜#3)の吸気弁及び排気弁が閉弁状態を維持する。すなわち、電磁弁35i,35eの閉弁中は、全ての気筒を作動させる全気筒運転が行われ、電磁弁35i,35eを開弁させると、#1〜#3気筒を休止させ、#4〜#6気筒のみ作動させる一部気筒運転が行われる。
エンジン1の各気筒毎に設けられた点火プラグ12は、ECU5に接続されており、点火プラグ12の駆動信号、すなわち点火信号がECU5から供給される。
ECU5には大気圧PAを検出する大気圧センサ14、エンジン1により駆動される車両の走行速度(車速)VPを検出する車速センサ15、及び当該車両の変速機のギヤ位置GPを検出するギヤ位置センサ16が接続されており、これらのセンサの検出信号がECU5に供給される。
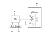
図3は、能動型防振支持装置40の動作を説明するために、要部の構成を模式的に示す図である。能動型防振支持装置40は、可動部材41と、この可動部材41を図の上下方向に駆動するアクチュエータ42と、可動部材41のリフト量(変位量)LFTを検出するリフト量センサ43とを備えている。アクチュエータ42は、ECU5に接続されており、ECU5により、可動部材41の駆動制御が行われる。ECU5には、リフト量センサ43、並びに能動型防振支持装置40に入力される荷重を検出する荷重センサ51、及びエンジン1に作用する加速度を検出する加速度センサ52が接続されており、これらのセンサの検出信号が供給される。
ECU5は、各種センサからの入力信号波形を整形し、電圧レベルを所定レベルに修正し、アナログ信号値をデジタル信号値に変換する等の機能を有する入力回路、中央演算処理回路(以下「CPU」という)、CPUで実行される各種演算プログラム及び演算結果等を記憶する記憶回路、燃料噴射弁6、電磁弁35i,35e、アクチュエータ42などに駆動信号を供給する出力回路等から構成される。
ECU5は、各種センサの検出信号に基づいて、燃料噴射弁6の開弁時間、及び点火時期を制御するとともに、電磁弁35i,35eの開閉を行って、エンジン1の全筒運転と、一部気筒運転との切り換え制御を行う。ECU5は、さらに荷重センサ51、加速度センサ52、及びリフト量センサ43の検出信号に基づいて、エンジン1の振動が車体に伝わらないように、能動型防振支持装置40の可動部材41を駆動制御し、防振効果を得る。このような可動部材41に駆動制御(防振制御)は、クランクシャフトの回転に起因するアイドル振動やこもり音振動が発生した場合に実行される。このとき、ECU5は、リフト量センサ43により検出されるリフト量LFTが、目標リフト量LCMDと一致するようにフィードバック制御を行い、リフト量LFTと目標リフト量LCMDとの偏差が、所定閾値を超えたとき、異常が発生したと判定する。なお、能動型防振支持装置40の具体的な構成、及び異常判定手法は、特開2001−1766号公報に示されている。
図4及び図5は、一部の気筒を休止させる気筒休止(一部気筒運転)の実行条件を判定する処理のフローチャートである。この処理はECU5のCPUで所定時間(例えば10ミリ秒)毎に実行される。
ステップS11では、始動モードフラグFSTMODが「1」であるか否かを判別し、FSTMOD=1であってエンジン1の始動(クランキング)中であるときは、検出したエンジン水温TWを始動モード水温TWSTMODとして記憶する(ステップS13)。次いで、始動モード水温TWSTMODに応じて図6に示すTMTWCSDLYテーブルを検索し、遅延時間TMTWCSDLYを算出する。TMTWCSDLYテーブルは、始動モード水温TWSTMODが第1所定水温TW1(例えば40℃)以下の範囲では、遅延時間TMTWCSDLYが所定遅延時間TDLY1(例えば250秒)に設定され、始動モード水温TWSTMODが第1所定水温TW1(例えば40℃)より高く第2所定水温TW2(例えば60℃)以下の範囲では、始動モード水温TWSTMODが高くなるほど遅延時間TMTWCSDLYが減少するように設定され、始動モード水温TWSTMODが第2所定水温TW2より高い範囲では、遅延時間TMTWCSDLYは「0」に設定されている。
続くステップS15では、ダウンカウントタイマTCSWAITを遅延時間TMTWCSDLYに設定してスタートさせ、気筒休止フラグFCYLSTPを「0」に設定する(ステップS31)。これは気筒休止の実行条件が不成立であることを示す。
ステップS11でFSTMOD=0であって通常運転モードであるときは、エンジン水温TWが気筒休止判定温度TWCSTP(例えば75℃)より高いか否かを判別する(ステップS12)。TW≦TWCSTPであるときは、実行条件不成立と判定し、前記ステップS14に進む。エンジン水温TWが気筒休止判定温度TWCSTPより高いときは、ステップS12からステップS16に進み、ステップS15でスタートしたタイマTCSWAITの値が「0」であるか否かを判別する。TCSWAIT>0である間は、前記ステップS26に進み、TCSWAIT=0となると、ステップS17に進む。
ステップS17では、車速VP及びギヤ位置GPに応じて図7に示すTHCSテーブルを検索し、ステップS18の判別に使用する上側閾値THCSH及び下側閾値THCSLを算出する。図7において、実線が上側閾値THCSHに対応し、破線が下側閾値THCSLに対応する。THCSテーブルは、ギヤ位置GP毎に設定されており、各ギヤ位置(2速〜5速)において、大まかには車速VPが増加するほど、上側閾値THCSH及び下側閾値THCSLが増加するように設定されている。ただし、ギヤ位置GPが2速のときは、車速VPが変化しても上側閾値THCSH及び下側閾値THCSLは一定に維持される領域が設けられている。またギヤ位置GPが1速のときは、常に全筒運転を行うので、上側閾値THCSH及び下側閾値THCSLは例えば「0」に設定される。また車速VPが同一であれば、低速側ギヤ位置GPに対応する閾値(THCSH,THCSL)の方が、高速側ギヤ位置GPに対応する閾値(THCSH,THCSL)より大きな値に設定されている。
ステップS18では、スロットル弁開度THが閾値THCSより小さいか否かの判別をヒステリシスを伴って行う。具体的には、気筒休止フラグFCYLSTPが「1」であるときは、スロットル弁開度THが増加して上側閾値THCSHに達すると、ステップS18の答が否定(NO)となり、気筒休止フラグFCYLSTPが「0」であるときは、スロットル弁開度THが減少して下側閾値THCSLを下回ると、ステップS18の答が肯定(YES)となる。
ステップS18の答が肯定(YES)であるときは、大気圧PAが所定圧PACS(例えば86.6kPa(650mmHg))以上であるか否かを判別し(ステップS19)、その答が肯定(YES)であるとき、吸気温TAが所定下限温度TACSL(例えば−10℃)以上であるか否かを判別し(ステップS20)、その答が肯定(YES)であるときは、吸気温TAが所定上限温度TACSH(例えば45℃)より低いか否かを判別し(ステップS21)、その答が肯定(YES)であるときは、エンジン水温TWが所定上限水温TWCSH(例えば120℃)より低いか否かを判別し(ステップS22)、その答が肯定(YES)であるときは、エンジン回転数NEが第1所定回転数NECSより低いか否かを判別する(ステップS23)。
ステップS23の判別は、ステップS18と同様にヒステリシスを伴って行われる。すなわち、気筒休止フラグFCYLSTPが「1」であるときは、エンジン回転数NEが増加して上側回転数NECSH(例えば3500rpm)に達すると、ステップS23の答が否定(NO)となり、気筒休止フラグFCYLSTPが「0」であるときは、エンジン回転数NEが減少して下側回転数NECSL(例えば3300rpm)を下回ると、ステップS23の答が肯定(YES)となる。
ステップS18〜S23の何れかの答が否定(NO)であるときは、気筒休止の実行条件が不成立と判定し、前記ステップS31に進む。一方ステップS18〜S23の答がすべて肯定(YES)であるときは、異常フラグFACMFSが「1」であるか否かを判別する。異常フラグFACMFSは、図示しない異常検出処理により、能動型防振支持装置40の異常が検出されると、「1」に設定される。
FACMFS=0であって能動型防振支持装置40が正常であるときは、気筒休止実行条件が成立していると判定し、気筒休止フラグFCYLSTPを「1」に設定する(ステップS29)。
一方FACMFS=1であって能動型防振支持装置40の異常が検出されているときは、フュエルカットフラグFFCが「1」であるか否かを判別する(ステップS25)。フュエルカットフラグFFCは、エンジン1への燃料供給を停止するフュエルカット運転の実行条件が成立すると、図示しない処理において「1」に設定される。FFC=0であってフュエルカット運転中でないときは、エンジン回転数NEが、前記第1所定回転数NECSより低い第2所定回転数NECSFS(例えば1800rpm)より高いか否かを判別する(ステップS26)。その答が否定(NO)であるときは、ギヤ位置GPが所定ギヤ位置GPFS(例えば3速)以上である否か(ギヤ位置GPが所定ギヤ位置GPFSであるか、または所定ギヤ位置GPFSより高速側ギヤ位置であるか否か)を判別する(ステップS27)。その答が否定(NO)であるときは、車速VPが所定車速VPFS(例えば60km/h)以上であるか否かを判別する(ステップS28)。
ステップS25〜S28の何れかの答が肯定(YES)であるとき、すなわちフュエルカット運転を実行しているとき、エンジン回転数NEが第2所定回転数NECSFSより高いとき、ギヤ位置GPが所定ギヤ位置GPFS以上であるとき、または車速VPが所定車速VPFS以上であるときは、気筒休止実行条件成立と判定し、ステップS29に進む。一方、ステップS28の答が否定(NO)であるときは、気筒休止実行条件不成立と判定し、ステップS30に進む。
気筒休止フラグFCYLSTPが「1」に設定されているときは、#1〜#3気筒を休止させ、#4〜#6気筒を作動させる一部気筒運転が実行され、気筒休止フラグFCYLSTPが「0」に設定されているときは、全気筒#1〜#6を作動させる全筒運転が実行される。
図8は、エンジン回転数NE及び吸気管内絶対圧PBAによって定義されるエンジン運転領域を示す。この図において、実線LTHより下側の領域が、通常の一部気筒運転領域に相当し、ハッチングを付して示す領域が、ステップS26の条件を満たす(このステップの答が肯定(YES)となる)領域である。
本実施形態では、能動型防振支持装置40の異常が検出されたときは、ステップS25〜S28が気筒休止実行条件に追加され、ステップS25〜S28の何れかの答が肯定(YES)であれば、気筒休止が実行される。すなわち、能動型防振支持装置40の異常が検出されたときは、気筒休止を実行する運転領域が変更され、当該運転領域内では気筒休止が実行される。ステップS25〜S28の何れかの答が肯定(YES)となるときは、能動型防振支持装置40が正常に動作しない場合であっても、エンジン1の振動の影響が小さいこと考慮したものである。このように、本実施形態では、能動型防振支持装置40の異常検出時においても、運転領域を限定して一部気筒運転の実行を許可するようにしたので、燃費を向上させることができる。また、能動型防振支持装置40の異常検出時において、減速フュエルカット運転中(FFC=1)に一部気筒運転を許可することにより、回生制御を行う機構を有する場合に、十分な回生を行うことができる。
本実施形態では、気筒休止機構30が切換手段を構成し、スロットル弁開度センサ4、吸気温センサ8、エンジン水温センサ9、クランク角度位置センサ10、車速センサ15、及びギヤ位置センサ16が運転パラメータ検出手段を構成し、リフト量センサ43が異常検出手段の一部を構成する。またし、ECU5が、指令手段、異常検出手段の一部及び領域変更手段を構成する。より具体的には、図4のステップS11〜S23及び図5のステップS29,S30が指令手段に相当し、図5のステップS24〜S28が領域変更手段に相当する。
なお本発明は上述した実施形態に限るものではなく、種々の変形が可能である。例えば、上述した実施形態では、6気筒のエンジンを示したが、本発明は、4気筒エンジンあるいは8気筒エンジンなどにも適用可能である。また、休止させる気筒数は、3気筒に限るものではなく、例えば4気筒エンジンでは1気筒あるいは2気筒を休止させ、8気筒エンジンでは4気筒を休止させるようにしてもよい。
また本発明は、クランク軸を鉛直方向とした船外機などのような船舶推進機用エンジンなどの制御にも適用が可能である。
本発明の一実施形態にかかる内燃機関及びその制御装置の構成を示す図である。 気筒休止機構の油圧制御系の構成を示す図である。 能動型防振支持装置の動作を説明するための模式図である。 気筒休止条件を判定する処理のフローチャートである。 気筒休止条件を判定する処理のフローチャートである。 図4の処理で使用されるTMTWCSDLYテーブルを示す図である。 図4の処理で使用されるTHCSテーブルを示す図である。 能動型防振支持装置の異常検出時において気筒休止を実行する機関運転領域を示す図である。
符号の説明
1 内燃機関
4 スロットル弁開度センサ(運転パラメータ検出手段)
5 電子制御ユニット(指令手段、異常検出手段、領域変更手段)
8 吸気温センサ(運転パラメータ検出手段)
9 エンジン水温センサ(運転パラメータ検出手段)
10 クランク角度位置センサ(運転パラメータ検出手段)
15 車速センサ(運転パラメータ検出手段)
16 ギヤ位置センサ(運転パラメータ検出手段)
30 気筒休止機構
40 能動型防振支持装置
43 リフト量センサ(異常検出手段)

Claims (1)

  1. 複数の気筒を有し、能動型防振支持装置に支持された内燃機関であって、前記複数気筒のすべてを作動させる全筒運転と、前記複数の気筒のうち一部の気筒の作動を休止させる一部気筒運転とを切り換える切換手段を備えた内燃機関の制御装置において、
    前記機関の運転パラメータを含む、前記機関により駆動される車両の運転パラメータを検出する運転パラメータ検出手段と、
    該運転パラメータ検出手段により検出される運転パラメータに応じた一部気筒運転領域において、一部気筒運転を前記切換手段に指令する指令手段と、
    前記能動型防振支持装置の異常を検出する異常検出手段と、
    前記異常検出手段による異常検出時に、前記一部気筒運転領域を変更する領域変更手段とを備えることを特徴とする内燃機関の制御装置。
JP2004109758A 2004-04-02 2004-04-02 内燃機関の制御装置 Expired - Fee Related JP4302565B2 (ja)

Priority Applications (1)

Application Number Priority Date Filing Date Title
JP2004109758A JP4302565B2 (ja) 2004-04-02 2004-04-02 内燃機関の制御装置

Applications Claiming Priority (1)

Application Number Priority Date Filing Date Title
JP2004109758A JP4302565B2 (ja) 2004-04-02 2004-04-02 内燃機関の制御装置

Publications (2)

Publication Number Publication Date
JP2005291145A true JP2005291145A (ja) 2005-10-20
JP4302565B2 JP4302565B2 (ja) 2009-07-29

Family

ID=35324350

Family Applications (1)

Application Number Title Priority Date Filing Date
JP2004109758A Expired - Fee Related JP4302565B2 (ja) 2004-04-02 2004-04-02 内燃機関の制御装置

Country Status (1)

Country Link
JP (1) JP4302565B2 (ja)

Cited By (3)

* Cited by examiner, † Cited by third party
Publication number Priority date Publication date Assignee Title
JP2008075561A (ja) * 2006-09-21 2008-04-03 Honda Motor Co Ltd 多気筒内燃機関
JP2009057932A (ja) * 2007-09-03 2009-03-19 Honda Motor Co Ltd 内燃機関の制御装置
KR101559244B1 (ko) * 2014-04-08 2015-10-12 현대오트론 주식회사 가변 기통 엔진의 휴지 제어 방법 및 장치

Cited By (3)

* Cited by examiner, † Cited by third party
Publication number Priority date Publication date Assignee Title
JP2008075561A (ja) * 2006-09-21 2008-04-03 Honda Motor Co Ltd 多気筒内燃機関
JP2009057932A (ja) * 2007-09-03 2009-03-19 Honda Motor Co Ltd 内燃機関の制御装置
KR101559244B1 (ko) * 2014-04-08 2015-10-12 현대오트론 주식회사 가변 기통 엔진의 휴지 제어 방법 및 장치

Also Published As

Publication number Publication date
JP4302565B2 (ja) 2009-07-29

Similar Documents

Publication Publication Date Title
JP4326844B2 (ja) 内燃機関の制御装置
JP4080372B2 (ja) 内燃機関の制御装置
JPH10122002A (ja) 船舶用エンジンの運転制御装置
JPH1130140A (ja) 船舶用エンジンの制御装置
JP4279717B2 (ja) 内燃機関の制御装置
JP4302565B2 (ja) 内燃機関の制御装置
JP4080373B2 (ja) 内燃機関の制御装置
JP2004332660A (ja) 可変気筒式内燃機関の制御装置
EP2301817A1 (en) Electric power generation control system for internal combustion engine
JP4101715B2 (ja) 内燃機関の制御装置
EP2199575A1 (en) Intake air amount control system and method for internal combustion engine
JP4204894B2 (ja) 内燃機関の制御装置
JP4656984B2 (ja) 内燃機関の制御装置
JP4036375B2 (ja) 可変気筒内燃機関
JP4221001B2 (ja) 内燃機関の制御装置
JP2004339940A (ja) 内燃機関の制御装置
JP4884337B2 (ja) 内燃機関の制御装置
JP4255754B2 (ja) 内燃機関の制御装置
JP4141903B2 (ja) 内燃機関の制御装置
JP4105041B2 (ja) 内燃機関の制御装置
JP3962356B2 (ja) 可変気筒式内燃機関の制御装置
JP4317386B2 (ja) 内燃機関の制御装置
JP6443244B2 (ja) 可変圧縮比内燃機関の制御装置
JP4454969B2 (ja) 内燃機関の制御装置
JP2004316595A (ja) 内燃機関の制御装置

Legal Events

Date Code Title Description
A621 Written request for application examination

Free format text: JAPANESE INTERMEDIATE CODE: A621

Effective date: 20061128

A131 Notification of reasons for refusal

Free format text: JAPANESE INTERMEDIATE CODE: A131

Effective date: 20080819

A521 Written amendment

Free format text: JAPANESE INTERMEDIATE CODE: A523

Effective date: 20081010

TRDD Decision of grant or rejection written
A01 Written decision to grant a patent or to grant a registration (utility model)

Free format text: JAPANESE INTERMEDIATE CODE: A01

Effective date: 20090407

A01 Written decision to grant a patent or to grant a registration (utility model)

Free format text: JAPANESE INTERMEDIATE CODE: A01

A61 First payment of annual fees (during grant procedure)

Free format text: JAPANESE INTERMEDIATE CODE: A61

Effective date: 20090422

FPAY Renewal fee payment (prs date is renewal date of database)

Free format text: PAYMENT UNTIL: 20120501

Year of fee payment: 3

R150 Certificate of patent (=grant) or registration of utility model

Free format text: JAPANESE INTERMEDIATE CODE: R150

FPAY Renewal fee payment (prs date is renewal date of database)

Free format text: PAYMENT UNTIL: 20130501

Year of fee payment: 4

FPAY Renewal fee payment (prs date is renewal date of database)

Free format text: PAYMENT UNTIL: 20130501

Year of fee payment: 4

FPAY Renewal fee payment (prs date is renewal date of database)

Free format text: PAYMENT UNTIL: 20140501

Year of fee payment: 5

LAPS Cancellation because of no payment of annual fees