JP2005290727A - 建設機械 - Google Patents

建設機械 Download PDF

Info

Publication number
JP2005290727A
JP2005290727A JP2004104547A JP2004104547A JP2005290727A JP 2005290727 A JP2005290727 A JP 2005290727A JP 2004104547 A JP2004104547 A JP 2004104547A JP 2004104547 A JP2004104547 A JP 2004104547A JP 2005290727 A JP2005290727 A JP 2005290727A
Authority
JP
Japan
Prior art keywords
boom foot
main rails
pin
building cover
construction machine
Prior art date
Legal status (The legal status is an assumption and is not a legal conclusion. Google has not performed a legal analysis and makes no representation as to the accuracy of the status listed.)
Granted
Application number
JP2004104547A
Other languages
English (en)
Other versions
JP4448725B2 (ja
Inventor
Shigetoshi Tsuji
成年 辻
Current Assignee (The listed assignees may be inaccurate. Google has not performed a legal analysis and makes no representation or warranty as to the accuracy of the list.)
Caterpillar Japan Ltd
Caterpillar Mitsubishi Ltd
Original Assignee
Caterpillar Mitsubishi Ltd
Shin Caterpillar Mitsubishi Ltd
Priority date (The priority date is an assumption and is not a legal conclusion. Google has not performed a legal analysis and makes no representation as to the accuracy of the date listed.)
Filing date
Publication date
Application filed by Caterpillar Mitsubishi Ltd, Shin Caterpillar Mitsubishi Ltd filed Critical Caterpillar Mitsubishi Ltd
Priority to JP2004104547A priority Critical patent/JP4448725B2/ja
Publication of JP2005290727A publication Critical patent/JP2005290727A/ja
Application granted granted Critical
Publication of JP4448725B2 publication Critical patent/JP4448725B2/ja
Anticipated expiration legal-status Critical
Expired - Fee Related legal-status Critical Current

Links

Images

Landscapes

  • Component Parts Of Construction Machinery (AREA)

Abstract

【課題】 建設機械において、ブームフートピンの挿脱を容易に行なえ、且つ、燃料タンクや作動油タンクなどの所定のコンポーネントにおけるレイアウト上の制約の軽減及び構成の簡素化を実現できるようにする。
【解決手段】 上部旋回体2の底部をなすスイングフレームに対し立設された左右一対のメインレール21にブームフートピンPが挿通され、左右一対のメインレール21の外側一方に建屋カバー2Bが配置されるとともに外側他方に所定のコンポーネント4が配置された、建設機械において、ピンPが、左右一対のメインレール21に対し、建屋カバー2Bのある外側一方へ引き抜き可能に取り付けられるとともに、建屋カバー2Bの一部であって取り外し可能な取り外し部2Ba,2Bbが、メインレール21に対しピンPを脱着する際のピンPの移動経路SP上に配置される。
【選択図】 図3

Description

本発明は、左右一対のメインレールにブームフートピンが挿通され、上記の左右一対のメインレールの外側の一方に建屋カバーが配置されるとともに上記外側の他方に所定のコンポーネントが配置された、建設機械に関する。
図5は、走行式の建設機械である油圧ショベルの一般的な構成を示す模式的な側面図である。この油圧ショベルは、図示するように、下部走行体101と、キャビン102aを有し下部走行体101の上側に旋回可能に設置された上部旋回体102と、上部旋回体102に設けられ種々の作業を行なう作業装置103との3つの部分で構成されている。
作業装置103は、基端部(ブームフート)104aが上部旋回体2に上下揺動自在に連結されるブーム104と、このブーム104の先端部に前後揺動自在に連結されるアーム105と、アーム105の先端部に前後揺動自在に連結されるバケット106とをそなえて構成されている。
そして、これは一般的なレイアウトであるが、図6に示すように、ブームフート104aの上部旋回体102への連結部C及びブームフートピンPの左右両側にそれぞれキャビン102a、所定のコンポーネント(一般的に作動油タンクや燃料タンクなど油タンクであり、ここでは燃料タンク)110が配置されている。換言すれば、キャビン102a,ブームフートピンP及び燃料タンク110が基体前後方向に対し略同位置とされている。
そして、このようにブームフートピンPの左右両側にはキャビン102a及び燃料タンク110が配置されているため、ブームフートピンPの脱着を容易に行なえるよう、ここでは、上記ブームフートピンPを脱着するためのスペースを確保すべく、燃料タンク110に、上記ブームフートピンPの軸心の延長線上に位置する切欠110aが設けられている(例えば特許文献1参照)。
また、このような切欠(空間部)にピン着脱時に取り外し可能な燃料タンク増量部を設置した技術も提案されている(特許文献2参照)。
特開平10−18347号公報 特開2003−253700号公報
しかしながら、上記の特許文献1に示す従来技術では、燃料タンクに切欠を設けることから燃料タンクの形状が複雑となるとともに、この切欠分だけ燃料タンクの容量が減少する。また、上記の特許文献2に示す従来技術では、特許文献1に較べ、燃料タンク増量部を設ける分、油貯蔵量を増加できるが、上記燃料タンク増量部を燃料タンクに取り外し可能に構成するため、構造が複雑となる。
本発明はこのような課題に鑑み創案されたもので、ブームフートピンの挿脱を容易に行なえ、且つ、燃料タンクや作動油タンクなどの所定のコンポーネントにおけるレイアウト上の制約の軽減及び構成の簡素化を実現できるようにした、建設機械を提供することを目的とする。
上記目的を達成するために、請求項1記載の本発明の建設機械は、上部旋回体の底部をなすスイングフレームに対し立設された左右一対のメインレールにブームフートピンが挿通され、上記の左右一対のメインレールの外側一方に建屋カバーが配置されるとともに外側他方に所定のコンポーネントが配置された、建設機械において、該ピンが、上記の左右一対のメインレールに対し、上記の建屋カバーのある外側一方へ引き抜き可能に取り付けられるとともに、該建屋カバーの一部であって取り外し可能な取り外し部が、該メインレールに対し該ピンを脱着する際の該ピンの移動経路上配置されたことを特徴としている。
請求項2記載の本発明の建設機械は、請求項1記載の建設機械において、該取り外し部が、該建屋カバー内の所定機器用のメンテナンス空間に面して配置されたことを特徴としている。
本発明の建設機械によれば、ブームフートピンが、左右一対のメインレールに対し、建屋カバーのある一方の側へ引き抜き可能に取り付けられるとともに、建屋カバーの取り外し部を、メインレールに対しブームフートピンを脱着する際のブームフートピンの移動経路上配置しているので、上記取り外し部を外すことにより、上記一方の側からブームフートピンの挿脱を行なえ、したがって、ブームフートピンの挿脱を容易に行なえ、且つ、上記の左右一対のメインレールに対し他方の側にある燃料タンクや作動油タンクなどの所定のコンポーネントにおけるレイアウト上の制約の軽減及び構成の簡素化を実現できる利点がある。
また、取り外し部を、建屋カバー内の所定機器用のメンテナンス空間に面して配置すれば、上記メンテナンス空間を移動経路として利用することができる。
以下、図面を参照しながら本発明の実施の形態について説明する。
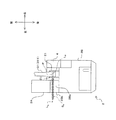
図1〜図4は本発明の一実施形態の建設機械を説明するための図であって、図1はその全体構成を示す模式的な側面図、図2はその要部構成を示す模式的な斜視図(建屋カバーのトップカバー及びサイドカバーを取り付けた状態で示す図)、図3はその要部構成を示す模式的な平面図、図4はそのブームフートピンの挿脱を説明するための図であって、その要部構成を示す模式的な斜視図(建屋カバーのトップカバー及びサイドカバーを取り外した状態で示す図)である。なお、図2ではブームフート及びブームフートピンを省略し、図4ではブームフートを省略している。
先ず、建設機械(ここでは油圧ショベル)の全体構成について説明すると、図1に示すように、建設機械は、下部走行体1と、下部走行体1の上側に旋回可能に配設された上部旋回体2と、上部旋回体2に設けられ種々の作業を行なう作業装置3の3つの部分で構成されている。
作業装置3は、基端部(ブームフート)311が上部旋回体2に上下揺動自在に軸支されるブーム31と、このブーム31の先端部に前後揺動自在に連結されるアーム32と、アーム32の先端部に前後揺動自在に連結されるバケット33と、上記ブーム31,アーム32及びバケット33を作動させるためのブームシリンダ31a,アームシリンダ32a及びバケットシリンダ33aとをそなえて構成されている。
図2〜図4に示すように、上部旋回体2には、その機体前側において、後述するメインレール21,21を挟むようにして、左側にキャビン2Aが配置されるとともに右側に燃料タンク(所定のコンポーネント)4が配置され、これらのキャビン2A,燃料タンク4の後方に、内部にエンジンルームなどが配置された建屋カバー2Bが配置されている。
また、ブームフート311は、上部旋回体2の台枠をなすスゥイングフレームSFに立設された左右一対のメインレール21,21と共にブームフートピンPにより水平方向に挿通されており、上記メインレール21,21の相互間において上下に揺動自在に支持されている。
そして、メインレール21,21のブームフートピンPの取付部の外側一方(一方のメインレール21の他方のメインレール21に向き合わない側、ここでは機体左側のメインレール21の左側)には、建屋カバー2Bの左前端が位置し、上記取付部の外側他方(他方のメインレール21の一方のメインレール21に向き合わない側、ここでは機体右側のメインレール21の右側)には、燃料タンク(所定のコンポーネント)4が位置している。
上記建屋カバー2Bの左前端(キャビン2Aの後方)には、各種コントローラ51やリレーボックス52などの所定機器が収容されている。通常は、これらのコントローラ51やリレーボックス52などは建屋カバー2Bにより保護されているが、建屋カバー2Bにおける左前端をなすトップカバー2Ba及びサイドカバー2Bbは従来より取り外し可能になっており、メンテナンスを行なう際には、これらのカバー(取り外し部)2Ba,2Bbが外されるようになっている。つまり、上記所定機器のメンテナンスを行なうためのメンテナンス空間に面して、上記の取り外し可能なカバー2Ba,2Bbが配置されているのである。
なお、上記のコントローラ51やリレーボックス52は、キャビン2Aの後方のバックプレート50にボルト止めされている。
図3に示すように、建設機械の組み立て時やメンテナンス時のブームフートピンPの挿脱は、メインレール21,21及びブームフート311に装着状態におけるブームフートピンPの軸心線LPの延長線LE上を移動させることにより行なわれ、さらに、ブームフートピンPの挿脱は、従来では燃料タンク側で行なわれていたのに対し、ブームフートピンPを、メインレール21やブームフート311からキャビン2A側へと引き抜けるようになっていおり、ブームフートピンPの挿脱時の移動経路SPは図3中に斜線で示すように上記延長線LE上に形成される。
そして、ここでは、この移動経路SP上に、上記のトップカバー2Ba及びサイドカバー2Bbが配置されている(逆の見方をすれば、トップカバー2Ba及びサイドカバー2Bbを貫通するように移動経路SPが設定されている)。
本発明の一実施形態としての建設機械はこのように構成されており、図4に示すようにしてブームフートピンPの挿脱が行なわれる。
つまり、先ず、メインレール21,21のブームフートピン挿入部の横に位置する、建屋カバー2Bのトップカバー2Ba及びサイドカバー2Bbが外される。これにより、従来よりコントローラやリレーボックスなどのメンテナンスを行なうために利用していた空間(メンテナンス空間)Vを、そのまま、ブームフートピンPを挿脱するための移動経路として使用できる状態となる。
そして、作業者がブームフートピンPを、メインレール21,21及びブームフートからキャビン2A側に引き抜き、或いは、キャビン2A側からメインレール21,21及びブームフートに挿入する。例えば、ブームフートピンPを挿入し取り付けるときは、ブームフートピンPを、その一端に固定された取付用プレートP1を図示するように上方に向けた水平姿勢でメインレール21,21に取付位置まで挿入する。そして、矢印Fで示すように所定量回転させて、上記取付用プレートP1に設けられた挿通穴P2と、メインレール21に設けられたボルト穴21aとを一致させ、これらの挿通穴P2とボルト穴21aとにワッシャWを通してボルトBを取り付け、ブームフートピンPの取り付けが完了する。
このように、本建設機械によれば、ブームフートピンPの挿脱をキャビン2A側で行なえるので、その反対側においてブームフートピンPの通る空間(移動経路)が不要となる分、上記特許文献1のように切欠の設けられた燃料タンクに比べ、燃料タンク4の容量を増大することができる。
そして、上記特許文献2の技術は、燃料タンク増量部を取り外し可能に設けており燃料タンク廻りの構成が複雑であったが、本建設機械によれば、このようなタンク増量部を設けることなく、燃料タンクや作動油タンクの容量を十分なものにできる利点がある。
本発明の建設機械は、上記実施形態に限定されず、本発明の趣旨を逸脱しない範囲で種々変形することが可能である。
例えば、上記実施形態では、トップカバー2Ba及びサイドカバー2Bbを取り外し可能な構成としたが、少なくとも、ブームフートピンPの移動経路SP上に位置するサイドカバー2Bbに相当する部位を取り外し可能とすれば良い。
本発明の一実施形態の建設機械の全体構成を示す模式的な側面図である。 本発明の一実施形態の建設機械の要部構成を示す模式的な斜視図である。 本発明の一実施形態の建設機械の要部構成を示す模式的な平面図である。 本発明の一実施形態の建設機械の要部構成を示す模式的な斜視図である。 従来の建設機械の全体構成を示す模式的な側面図である。 従来の建設機械について示す図であって、(a)はその模式的な平面図、(b)は(a)の模式的なA矢視図である。
符号の説明
2 上部旋回体
21 メインレール
2B 建屋カバー
2Ba トップカバー(建屋カバーの取り外し部)
2Bb サイドカバー(建屋カバーの取り外し部)
P ブームフートピン
P ブームフートピンの移動経路
SF スイングフレーム
V メンテナンス空間

Claims (2)

  1. 上部旋回体の底部をなすスイングフレームに対し立設された左右一対のメインレールにブームフートピンが挿通され、上記の左右一対のメインレールの外側一方に建屋カバーが配置されるとともに外側他方に所定のコンポーネントが配置された、建設機械において、
    該ピンが、上記の左右一対のメインレールに対し、上記の建屋カバーのある外側一方へ引き抜き可能に取り付けられるとともに、
    該建屋カバーの一部であって取り外し可能な取り外し部が、該メインレールに対し該ピンを脱着する際の該ピンの移動経路上配置された
    ことを特徴とする、建設機械。
  2. 該取り外し部が、該建屋カバー内の所定機器用のメンテナンス空間に面して配置された
    ことを特徴とする、請求項1記載の建設機械。
JP2004104547A 2004-03-31 2004-03-31 建設機械 Expired - Fee Related JP4448725B2 (ja)

Priority Applications (1)

Application Number Priority Date Filing Date Title
JP2004104547A JP4448725B2 (ja) 2004-03-31 2004-03-31 建設機械

Applications Claiming Priority (1)

Application Number Priority Date Filing Date Title
JP2004104547A JP4448725B2 (ja) 2004-03-31 2004-03-31 建設機械

Publications (2)

Publication Number Publication Date
JP2005290727A true JP2005290727A (ja) 2005-10-20
JP4448725B2 JP4448725B2 (ja) 2010-04-14

Family

ID=35323976

Family Applications (1)

Application Number Title Priority Date Filing Date
JP2004104547A Expired - Fee Related JP4448725B2 (ja) 2004-03-31 2004-03-31 建設機械

Country Status (1)

Country Link
JP (1) JP4448725B2 (ja)

Cited By (8)

* Cited by examiner, † Cited by third party
Publication number Priority date Publication date Assignee Title
JP2010106522A (ja) * 2008-10-30 2010-05-13 Hitachi Constr Mach Co Ltd 旋回式建設機械
JP2014141837A (ja) * 2013-01-24 2014-08-07 Kobelco Contstruction Machinery Ltd 作業機械
JP2014224365A (ja) * 2013-05-15 2014-12-04 住友建機株式会社 建設機械
US9103092B2 (en) 2011-02-18 2015-08-11 Kobelco Construction Machinery Co., Ltd. Hybrid construction machine
JP2016069864A (ja) * 2014-09-29 2016-05-09 コベルコ建機株式会社 建設機械のインテリア配設構造
WO2016147921A1 (ja) * 2015-03-17 2016-09-22 ヤンマー株式会社 作業機の支軸部材着脱構造
WO2016147920A1 (ja) * 2015-03-17 2016-09-22 ヤンマー株式会社 作業機の支軸部材着脱構造
JP2017180013A (ja) * 2016-03-31 2017-10-05 コベルコ建機株式会社 作業機械

Cited By (11)

* Cited by examiner, † Cited by third party
Publication number Priority date Publication date Assignee Title
JP2010106522A (ja) * 2008-10-30 2010-05-13 Hitachi Constr Mach Co Ltd 旋回式建設機械
US9103092B2 (en) 2011-02-18 2015-08-11 Kobelco Construction Machinery Co., Ltd. Hybrid construction machine
CN103547740B (zh) * 2011-02-18 2016-03-02 神钢建设机械株式会社 混合动力工程机械
JP2014141837A (ja) * 2013-01-24 2014-08-07 Kobelco Contstruction Machinery Ltd 作業機械
JP2014224365A (ja) * 2013-05-15 2014-12-04 住友建機株式会社 建設機械
JP2016069864A (ja) * 2014-09-29 2016-05-09 コベルコ建機株式会社 建設機械のインテリア配設構造
WO2016147921A1 (ja) * 2015-03-17 2016-09-22 ヤンマー株式会社 作業機の支軸部材着脱構造
WO2016147920A1 (ja) * 2015-03-17 2016-09-22 ヤンマー株式会社 作業機の支軸部材着脱構造
JP2016172978A (ja) * 2015-03-17 2016-09-29 ヤンマー株式会社 作業機の支軸部材着脱構造
JP2016172977A (ja) * 2015-03-17 2016-09-29 ヤンマー株式会社 作業機の支軸部材着脱構造
JP2017180013A (ja) * 2016-03-31 2017-10-05 コベルコ建機株式会社 作業機械

Also Published As

Publication number Publication date
JP4448725B2 (ja) 2010-04-14

Similar Documents

Publication Publication Date Title
EP1367181B1 (en) Hydraulic excavator
CN101307611B (zh) 上部旋转体以及具有该上部旋转体的建筑机械
JP4448725B2 (ja) 建設機械
CN104234112B (zh) 座位架和包括该座位架的工程机械
CN105814260A (zh) 液压挖掘机
DE112013006839T5 (de) Hydraulikbagger
JP6213526B2 (ja) 作業機械
JP5684164B2 (ja) 建設機械
JP4510717B2 (ja) 建設機械のキャブの構造
JP2007091404A (ja) カウンタウエイト着脱ユニット,建設機械,およびカウンタウエイトの着脱方法
CN104775471A (zh) 工程机械的侧框架
JP3693480B2 (ja) 油圧ショベルの上部旋回体
CN104334804A (zh) 工程机械
JP2008063812A (ja) 建設機械のコンソールボックスの取付け構造
JP2007247144A (ja) 掘削作業機
JP2000336693A (ja) 建設機械
JP2007062680A (ja) 作業機械のバッテリー固定構造
JP5466672B2 (ja) 建設機械用フロント装置及びその載置台
JP2025044061A (ja) ブラケット
JP2009203683A (ja) 作業車両
JP4036364B2 (ja) 建設機械
JP2000314154A (ja) カウンタウエイトおよびそのカウンタウエイトを備えた建設機械
JP2007291670A (ja) 作業機械における作業腕
JP4591388B2 (ja) 建設機械
JP2011231593A (ja) 建設機械の電装品配設構造

Legal Events

Date Code Title Description
A621 Written request for application examination

Free format text: JAPANESE INTERMEDIATE CODE: A621

Effective date: 20060921

A977 Report on retrieval

Free format text: JAPANESE INTERMEDIATE CODE: A971007

Effective date: 20081113

A131 Notification of reasons for refusal

Effective date: 20081118

Free format text: JAPANESE INTERMEDIATE CODE: A131

A521 Written amendment

Free format text: JAPANESE INTERMEDIATE CODE: A523

Effective date: 20090116

A02 Decision of refusal

Effective date: 20090714

Free format text: JAPANESE INTERMEDIATE CODE: A02

A521 Written amendment

Free format text: JAPANESE INTERMEDIATE CODE: A523

Effective date: 20091007

A911 Transfer of reconsideration by examiner before appeal (zenchi)

Effective date: 20091021

Free format text: JAPANESE INTERMEDIATE CODE: A911

TRDD Decision of grant or rejection written
A01 Written decision to grant a patent or to grant a registration (utility model)

Free format text: JAPANESE INTERMEDIATE CODE: A01

Effective date: 20100105

A01 Written decision to grant a patent or to grant a registration (utility model)

Free format text: JAPANESE INTERMEDIATE CODE: A01

A61 First payment of annual fees (during grant procedure)

Effective date: 20100125

Free format text: JAPANESE INTERMEDIATE CODE: A61

FPAY Renewal fee payment (prs date is renewal date of database)

Free format text: PAYMENT UNTIL: 20130129

Year of fee payment: 3

R150 Certificate of patent (=grant) or registration of utility model

Free format text: JAPANESE INTERMEDIATE CODE: R150

S111 Request for change of ownership or part of ownership

Free format text: JAPANESE INTERMEDIATE CODE: R313113

FPAY Renewal fee payment (prs date is renewal date of database)

Free format text: PAYMENT UNTIL: 20130129

Year of fee payment: 3

R350 Written notification of registration of transfer

Free format text: JAPANESE INTERMEDIATE CODE: R350

FPAY Renewal fee payment (prs date is renewal date of database)

Free format text: PAYMENT UNTIL: 20130129

Year of fee payment: 3

FPAY Renewal fee payment (prs date is renewal date of database)

Year of fee payment: 4

Free format text: PAYMENT UNTIL: 20140129

LAPS Cancellation because of no payment of annual fees