JP2005290724A - 型枠装置及び型枠固定部品 - Google Patents

型枠装置及び型枠固定部品 Download PDF

Info

Publication number
JP2005290724A
JP2005290724A JP2004104458A JP2004104458A JP2005290724A JP 2005290724 A JP2005290724 A JP 2005290724A JP 2004104458 A JP2004104458 A JP 2004104458A JP 2004104458 A JP2004104458 A JP 2004104458A JP 2005290724 A JP2005290724 A JP 2005290724A
Authority
JP
Japan
Prior art keywords
footing
formwork
mold
fixing
upright
Prior art date
Legal status (The legal status is an assumption and is not a legal conclusion. Google has not performed a legal analysis and makes no representation as to the accuracy of the status listed.)
Granted
Application number
JP2004104458A
Other languages
English (en)
Other versions
JP4238169B2 (ja
Inventor
Kazuharu Mori
和晴 森
Takahiro Shimabukuro
孝博 島袋
Current Assignee (The listed assignees may be inaccurate. Google has not performed a legal analysis and makes no representation or warranty as to the accuracy of the list.)
Daiwa House Industry Co Ltd
Original Assignee
Daiwa House Industry Co Ltd
Priority date (The priority date is an assumption and is not a legal conclusion. Google has not performed a legal analysis and makes no representation as to the accuracy of the date listed.)
Filing date
Publication date
Application filed by Daiwa House Industry Co Ltd filed Critical Daiwa House Industry Co Ltd
Priority to JP2004104458A priority Critical patent/JP4238169B2/ja
Publication of JP2005290724A publication Critical patent/JP2005290724A/ja
Application granted granted Critical
Publication of JP4238169B2 publication Critical patent/JP4238169B2/ja
Anticipated expiration legal-status Critical
Expired - Fee Related legal-status Critical Current

Links

Images

Landscapes

  • Foundations (AREA)
  • Forms Removed On Construction Sites Or Auxiliary Members Thereof (AREA)

Abstract

【課題】 型枠を簡便な方法で所望の位置に設置するための型枠装置を提供する。
【解決手段】 フーチングを備えた布基礎を形成するための型枠装置1である。型枠装置1は、布基礎の立上がり部を形成するために対向して立設された立上部型枠10と、フーチングを形成するために対向して立設されたフーチング型枠20と、立上部型枠10に対してフーチング型枠20を連結する型枠固定部品30と、を備える。型枠固定部品30は、立上部型枠10と接続する立上側接続部31と、フーチング型枠20を挟持するフーチング側接続部32と、立上側接続部31とフーチング側接続部32との間をつないでフーチングの巾を定めるためのフーチング巾形成部33と、を有して構成されている。
【選択図】 図1

Description

本発明は、コンクリート基礎の打設のために用いられる型枠装置及び型枠を固定するための型枠固定部品に係り、特にフーチングを備えた布基礎の打設のために用いられる型枠装置及び型枠固定部品に関する。
建築物の基礎として、鉄筋や鉄骨梁をベースとしたコンクリート基礎が用いられている。コンクリート基礎としてよく知られているものに、例えば、フーチングを備えた布基礎がある。図6は、このフーチングを備えた布基礎の形状を説明する説明図である。布基礎100は、フーチング部120と、このフーチング部120から立上がる立上がり部110からなる、逆T字形の断面を備える。布基礎100は、内部に主筋131a,131b、腹筋132、ベース補助筋133a,133b、あばら筋134などの鉄筋を備える。
このようなコンクリート基礎を施工するときには、先ず、地盤を掘削して根伐り溝を形成する。そして、必要に応じて、根伐り溝の底面に割栗石を敷き均したり、捨てコンクリートを打設したりする。次に、鉄筋を配設する。そして、鉄筋の両側に型枠を対向して配置する。その後、型枠間に形成された空間にコンクリートを打設する。打設したコンクリートが固化してから、型枠を取り外して、コンクリート基礎を構築する。
フーチング部120と立上がり部110を同時に打設する場合には、型枠として、フーチング部120を打設する空間を形成するための型枠であるフーチング型枠と、立上がり部110を打設する空間を形成するための型枠である立上部型枠とを、予め設置しておく必要がある。
ところで、コンクリート基礎の打設時には、型枠間にコンクリートが打設されて内部に重量圧が加わる。これにより型枠が外側に拡がってしまうことがあるため、これを防止する必要がある。また、コンクリート基礎の内部に配設される鉄筋のかぶり厚を確保する必要がある。このために、従来から型枠を適切な位置(巾)に固定する技術が種々提案されている(例えば特許文献1,特許文献2)。
特許文献1の技術では、立上部型枠に相当する型枠を連結している連結ピンを介して、立上部型枠に「く」の字形の型枠固定金具が取り付けられている。そして、型枠固定金具が、フーチング部型枠に相当するベース型枠に対して、ボルト及び蝶ナットで固定されている。
特許文献2の技術では、型枠を所定の間隔で設置するために、向かい合う型枠の間にスペーサを設けて、型枠間の間隔を一定に保持することが行われている。
特開2000−179152号公報(第3−5頁、図1、図6、図9) 特開平10−280428号公報(第2−3頁、図3)
上記特許文献1の技術では、くの字形の型枠固定金具,ボルト及び蝶ナットによってフーチング部型枠が固定されているが、ボルト及び蝶ナットによってフーチング部型枠の上端が固定されているだけであり、コンクリート基礎の打設時にフーチング部型枠が外側に拡がろうとする力に対して充分に耐えるように設計されているとは、必ずしも言えないものであった。
また、くの字形の型枠固定金具にフーチング部型枠を固定するために、ボルト,蝶ナットを用いていたため、フーチング部型枠の固定作業が面倒であるという問題が考えられた。また、場合によっては、ボルト,蝶ナットにコンクリートが付着して、型枠を取り外す際の障害になるという問題も考えられた。
また、特許文献2の技術では、スペーサがコンクリート基礎内部に埋め込まれるため、使用回数が一回限りであり、再利用ができなかった。また、スペーサの設置に際して、コンクリート付着面の脂分の除去をしたり、コンクリート基礎内部の鉄筋と干渉しない位置を選択したりしなければならないという手間がかかった。また、打設したコンクリートが固化して型枠を取り外した後も、防錆処理や、スペーサの設置に用いた複数の部品の取り外しや、セパレータを設置するために形成されていた穴をモルタルで埋める作業などの手間がかかった。さらに、コンクリート基礎内に埋め込まれたスペーサのために、コンクリート基礎内部を均一な断面とすることができなかった。
上記問題に鑑みて、本発明の目的は、型枠を簡便な方法で所望の位置に設置するための型枠装置及び型枠固定部品を提供することにある。
上記課題を解決するために請求項1に記載の型枠装置は、フーチングを備えた布基礎を形成するための型枠装置であって、布基礎のうちフーチングの上方へ立上がる立上がり部を形成するために対向して立設された立上部型枠と、フーチングを形成するために対向して立設されたフーチング型枠と、前記立上部型枠に対して前記フーチング型枠を連結する型枠固定部品と、を備え、前記型枠固定部品は、前記立上部型枠と接続する立上側接続部と、前記フーチング型枠を挟持するフーチング側接続部と、前記立上側接続部と前記フーチング側接続部との間をつないでフーチングの巾を定めるためのフーチング巾形成部と、を有して構成されたことを特徴とする。
また、請求項7に記載の型枠固定部品は、フーチングを備える布基礎の当該フーチングを形成するためのフーチング型枠を、フーチングの上方へ立上がる立上がり部を形成するための立上部型枠に対して連結するために用いられる型枠固定部品であって、前記立上部型枠と接続するための立上側接続部と、前記フーチング型枠を挟持するためのフーチング側接続部と、前記立上側接続部と前記フーチング側接続部との間をつないでフーチングの巾を定めるためのフーチング巾形成部と、を有して構成されたことを特徴とする。
このように、フーチング型枠を立上部型枠に対して連結するために用いられる型枠固定部品にフーチング側接続部を備える構成により、フーチング側接続部でフーチング型枠を挟持して、フーチング型枠を立上部型枠に対して固定させることが可能になる。また、立上側接続部とフーチング側接続部との間をつなぐフーチング巾形成部を備える構成により、立上部型枠とフーチング型枠の巾をフーチング巾形成部で定めることが可能となる。
また、請求項2に記載の型枠装置のように、請求項1に記載の型枠装置において、前記フーチング型枠には、前記型枠固定部品を挿入するための固定穴が形成され、該固定穴に前記型枠固定部品が挿入された状態で前記型枠固定部品が前記フーチング型枠を挟持している構成にすると好適である。
また、請求項5に記載の型枠装置のように、請求項1に記載の型枠装置において、前記型枠固定部品の前記フーチング側接続部は、前記フーチング型枠に挿入される直線形状に形成された挿入部と、該挿入部との間で前記フーチング型枠を挟持する直線形状に形成された挟持部とを有し、
前記フーチング型枠には、前記挿入部を挿入するための固定穴が形成され、
該固定穴に前記型枠固定部品が挿入された状態で前記挿入部と前記挟持部によって前記フーチング型枠を挟持している構成にすると好適である。
このように、固定穴への型枠固定部品の挿入と、型枠固定部品によるフーチング型枠の挟持が同時に行われることで、型枠固定部品とフーチング型枠が安定して接続される。
また、請求項3に記載の型枠装置のように、請求項2に記載の型枠装置において、前記フーチング型枠は、フーチングの側面を形成する板状のフーチング面形成部と、該フーチング面形成部の上部近傍に設けられた第一固定穴形成部と、前記フーチング面形成部の前記第一固定穴形成部が設けられた位置とは離間した位置に設けられた第二固定穴形成部と、を備えて構成され、前記固定穴は、前記第一固定穴形成部と前記第二固定穴形成部に形成されると好適である。
このように、挿入部が、離間した位置に設けられた第一固定穴形成部の固定穴と、第二固定穴形成部の固定穴に挿入しているため、型枠固定部品とフーチング型枠がより安定した状態で接続される。
また、請求項4に記載の型枠装置のように、請求項1乃至請求項3のうちいずれか1つに記載の型枠装置において、前記型枠固定部品の前記フーチング側接続部は、前記フーチング型枠に挿入される挿入部と、該挿入部との間で前記フーチング型枠を挟持する挟持部とを有して構成されていると好適である。
また、請求項8に記載の型枠固定部品ように、請求項7に記載の型枠固定部品において、前記フーチング側接続部は、前記フーチング型枠に挿入される挿入部と、該挿入部との間で前記フーチング型枠を挟持する挟持部とで形成されていると好適である。
このように構成することで、固定穴への挿入部の挿入と、挿入部と挟持部によるフーチング型枠の挟持を同時に行うことが可能となり、型枠固定部品とフーチング型枠が安定して接続される。
また、請求項6に記載の型枠装置のように、請求項1乃至請求項5のうちいずれか1つに記載の型枠装置において、前記型枠固定部品の前記立上側接続部は、棒状または板状の部材が屈曲されて形成され、前記立上部型枠に対して設置される端太材を係止するための端太材係止部を備えると好適である。
また、請求項9に記載の型枠固定部品ように、請求項7または請求項8に記載の型枠固定部品において、前記型枠固定部品の立上側接続部は、棒状または板状の部材が屈曲されて形成され、前記立上部型枠に対して設置される端太材を係止するための端太材係止部を備えると好適である。
このように構成することで、端太材を端太材係止部で係止させることが可能となり、例えば立上部型枠を連設させた場合に、複数枚の立上部型枠を一直線上に安定して整列させることが可能となる。
以上のように、本発明の型枠装置及び型枠固定部品によれば、型枠を簡便な方法で所望の位置に設置することができる。
以下、本発明の一実施形態を図面に基づいて説明する。なお、以下に説明する部材,配置等は本発明を限定するものでなく、本発明の趣旨の範囲内で種々改変することができるものである。
図1は、本実施形態の型枠装置の説明図である。図2は、本実施形態の立上部型枠を説明する斜視図である。図3は、本実施形態のフーチング型枠を説明する斜視図である。図4は、フーチング型枠を重ね合わせた状態を示す図である。図5は、本実施形態の型枠固定部品を説明する斜視図である。図6は、本実施形態の型枠装置を用いて形成される布基礎を説明する断面斜視図である。
図1乃至図5に示す本実施形態の型枠装置1は、図6に示すようなフーチングを備えた布基礎100を形成するために用いられるものである。図6に示すように、布基礎100は、フーチング部120と、このフーチング部120から立上がる立上がり部110からなる、逆T字形の断面を備える。布基礎100は、内部に主筋131a,131b、腹筋132、ベース補助筋133a,133b、あばら筋134などの鉄筋を備える。
型枠装置1は、根伐り溝2の底面に設置されるものであり、立上がり部110を形成するための立上部型枠10と、フーチング部120を形成するためフーチング型枠20と、立上部型枠10に対してフーチング型枠20を連結する型枠固定部品30と、台座40を備える。
図2に示すように、立上部型枠10は、立上がり部110の側面である立上側面110aを形成する板状の立上がり面形成部11と、立上がり面形成部11を補強するリブ12と、連結ピン5で形成されている。立上部型枠10は、金属または樹脂で形成されている。形成する布基礎100の長さに応じて、複数枚の立上部型枠10が連設されて用いられる。隣り合う立上部型枠10同士は、連結ピン5とクランプ(不図示)とを用いて接続される。リブ12には、連結ピン5を挿入するための連結穴13が形成されている。連結ピン5は、隣り合う立上部型枠10の連結穴13に挿入されて、隣り合う立上部型枠10同士を連結している。不図示のクランプは、隣り合う立上部型枠10のリブを挟むことで隣り合う立上部型枠10同士をより強固に固定しているものである。根伐り溝2の底面には、樹脂又は金属製の台座40が固定されている。立上部型枠10は、台座40の上部に立設した状態で載置、固定され、根伐り溝2に設置されている。
本実施形態では、立上がり部110を形成するために、複数の立上部型枠10が対向して配置される。このとき、立上がり面形成部11が対向し、リブ12が外側を向いた状態で、所定の間隔を開けて設置されている(図1参照)。対向する立上部型枠10の間隔を所定の間隔に保持するために、上部スペーサ6と下部スペーサ7が用いられている。上部スペーサ6は、対向する立上部型枠10の上端同士を連結する板状の金属片である。下部スペーサ7は、対向する立上部型枠10の下端同士を連結する板状の金属片である。上部スペーサ6と下部スペーサ7には、対向する立上部型枠10を所定の間隔で固定するために、立上部型枠10を嵌合して取り付けるための突片が起立して設けられている。
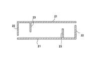
図3に示すように、フーチング型枠20は、フーチング面形成部21と、接続板部22と、補強板部23とで構成されている。フーチング面形成部21は、フーチング部120の側面であるフーチング側面120aを形成する板状の部分である。接続板部22は、本発明の第一固定穴形成部に相当し、フーチング面形成部21の上端から、布基礎100が形成される側と反対側に突出した板状の部分である。なお、接続板部22は、必ずしもフーチング面形成部21の上端から突出している必要はなく、フーチング面形成部21の上部近傍から突出していればよい。例えば、フーチング面形成部21の上端よりも下方にずれた位置から突出するようにしてもよい。補強板部23は、本発明の第二固定穴形成部に相当し、フーチング面形成部21の接続板部22が突出した位置とは離間した位置から、布基礎100が形成される側と反対側に突出した板状の部分である。型枠固定部品30を挿入するために、接続板部22には固定穴22a,22bが形成され、補強板部23には固定穴23a,23bが形成されている。固定穴22a,22b,23a,23bの径は、後述する挿入部32bを挿嵌する大きさとなっている。なお、フーチング型枠20は、金属または樹脂で形成されている。
後述するように、フーチング型枠20は、フーチング面形成部21が根伐り溝2の底面に対して立設するように配置される。このとき、形成する布基礎100の長さに応じて、複数枚のフーチング型枠20が連設される。隣り合うフーチング型枠20同士は、フーチング面形成部21の側端付近が重なるように連設される(図3参照)。これは、布基礎100を形成する際に、コンクリートが隣り合うフーチング型枠20の隙間から漏れでないようにするためである。隣り合うフーチング型枠20同士の一部を重ねることが可能なように、補強板部23を接続板部22よりも短く形成している。すなわち、フーチング面形成部21の側端面21cから接続板部22の側端面22cまでの距離よりも、フーチング面形成部21の側端面21cから補強板部23の側端面23cまでの距離を長くしている。なお、本実施形態では、フーチング面形成部21の側端面21cと接続板部22の側端面22cは同一面を形成しているため、フーチング面形成部21の側端面21cから接続板部22の側端面22cまでの距離は0である。
また、補強板部23は、フーチング面形成部21の中間位置からずらした位置に形成されている。本実施形態では、フーチング面形成部21における上下方向の中間位置から上方へずらした位置に、補強板部23が形成されている。このように、補強板部23をフーチング面形成部21における上下方向の中間位置からずらした位置に形成することで、図4に示すように、フーチング型枠20を重ね合わせたときに補強板部23同士が干渉しない。したがって、フーチング型枠20を重ね合わせて、フーチング型枠20の運搬や保管時に、省スペース化を図ることができる。
なお、本実施形態では、板状の接続板部22に固定穴22a,22bを、板状の補強板部23に固定穴23a,23bを形成しているが、本発明の第一固定穴形成部や第二固定穴形成部に相当するものとしては、板状の接続板部22や板状の補強板部23に限定されるものではない。板状の接続板部22や板状の補強板部23の代わりに、筒状部を設け、この筒状部で形成される固定穴に、後述する挿入部32bを挿嵌するように構成することもできる。
図5に示すように、型枠固定部品30は、立上部型枠10と接続する立上側接続部31と、フーチング型枠20を挟持するフーチング側接続部32と、立上側接続部31とフーチング側接続部32との間をつないでフーチング部の巾を定めるためのフーチング巾形成部33と、を有して構成されている。本実施形態の立上側接続部31は、金属板が折り曲げられて形成されたものである。本実施形態のフーチング側接続部32及びフーチング巾形成部33は、一本の金属丸棒が折り曲げられて形成されたものである。立上側接続部31とフーチング巾形成部33は、溶接によって接合されている。
立上側接続部31は、係合片部31aと、当接片部31bと、端太材係止部31cとで構成されている。係合片部31aは、隣り合う立上部型枠10を連結している連結ピン5に係合する部分である。本実施形態の係合片部31は、平板状の部材が逆U字形状に屈曲されて形成されている。端太材係止部31cは、長尺の端太材50を係止して、立上部型枠10との間で端太材50を挟持する部分である。なお、本実施形態の端太材50は、円管状の長尺部材である。本実施形態の端太材係止部31cは、平板状の部材がL字形状に屈曲されて形成されている。当接片部31bは、係合片部31a及び当接片部31bから下方へ延出する平板状の部材がL字形状に屈曲されて形成され、その先端が立上部型枠10の立上がり面形成部11に当接する部分である。すなわち、本実施形態の立上側接続部31は、平板材が屈曲されて形成されたものであって、L字形状に屈曲された当接片部31bの上方へ延出する部分において平板材が二股に分かれ、二股に分かれた一方に逆U字形状に屈曲された係合片部31aが形成され、他方にL字形状に屈曲された端太材係止部31cが形成されている。
フーチング側接続部32は、挿入部32bと、挟持部32aと、折返し部32cとで構成されている。挿入部32bは、フーチング型枠20の固定穴22a,23a、または固定穴22b,23bに挿入される部分であり、固定穴22a,22b,23a,23bに挿嵌する外径を備える。挟持部32aは、挿入部32bとの間でフーチング型枠20を挟持する部分である。本実施形態の挟持部32aと挿入部32bは、フーチング面形成部21の板厚方向、言い換えれば、フーチング部120が立上がり部110に対してせり出す方向で、フーチング型枠20を挟持している。折返し部32cは、挿入部32bと挟持部32aとの間にフーチング型枠20を挟持するための間隔を形成するように逆U字形状に屈曲して形成された部分である。
本実施形態のフーチング側接続部32では、挿入部32bが直線形状に形成され、上下に延びる挿入部32bの上端から折返し部32cが逆U字形状に延出し、さらに折返し部32cの先に直線形状の挟持部32aが下方へ延びるように形成されている。
フーチング巾形成部33は、挿入部32bから折返し部32c,挟持部32aへ伸びる金属棒の先が、さらに屈曲しながら延出するように形成された部分である。本実施形態のフーチング巾形成部33は、挟持部32aから延出する金属棒が、挟持部32aの下端で挿入部32bから離れる方向(フーチング型枠20から離れる方向)へ屈曲され、さらに所定距離延出した後に上方へ屈曲し、さらに所定距離延出した後に再び挿入部32bから離れる方向へ屈曲されることで形成されている。このように形成されたフーチング巾形成部33の屈曲の仕方(角度)を変化させることによって、立上側接続部31とフーチング側接続部32との距離を変化させて、これによって、形成するフーチング部120の巾を定めることができる。なお、フーチング巾形成部33の先端近傍と、上述の立上側接続部31における端太材係止部31cとが溶接によって固定されている。
次に、上記の構成を備える型枠装置1を用いてフーチングを備えた布基礎100を形成する手順を説明する。
まず、地盤を掘削して根伐り溝2を形成し、根伐り溝2の底面に割栗石を敷き均す。そして、根伐り溝2の長手方向に間隔をもって捨てコンクリートを打設する。捨てコンクリートが硬化した後に、捨てコンクリートの上に台座40を設置する。続いて、主筋131a,131b、腹筋132、ベース補助筋133a,133b、あばら筋134などの鉄筋を配設する。続いて台座40の上に下部スペーサ7を固定し、下部スペーサ7に立上部型枠10を取り付ける。このとき、布基礎100の長さに応じて、複数枚の立上部型枠10を連設し、隣り合う立上部型枠10同士を連結ピン5とクランプを用いて接続する。立上部型枠10の上端には、上部スペーサ6を取り付ける。
このように、立上部型枠10を設置した後に、立上部型枠10に対して、型枠固定部品30を介してフーチング型枠20を接続する。立上部型枠10に対するフーチング型枠20の接続は、型枠固定部品30の係合片部31aを連結ピン5に係合させ、型枠固定部品30の挿入部32bをフーチング型枠20の固定穴22a,23aまたは固定穴22b,23bに挿嵌することで行われる。本実施形態では、係合片部31aが連結ピン5に係合するとともに、当接片部31bで立上部型枠10と型枠固定部品30が当接することで、立上部型枠10に対して型枠固定部品30が接続される。
また、挿入部32bをフーチング型枠20の固定穴22a,22b,23a,23bに挿入するだけで、同時に挟持部32aと挿入部32bでフーチング型枠20を挟持することができるため、型枠固定部品30とフーチング型枠20の接続作業を、手間をかけずに簡素に行うことができる。特に、本実施形態では、挿入部32bを固定穴22a,22b,23a,23bに挿嵌するだけではなく、フーチング型枠20を挟持部32aと挿入部32bで挟持している。すなわち、固定穴22a,22b,23a,23bに挿入部32bが挿入された状態で型枠固定部品30がフーチング型枠20を挟持しているため、型枠固定部品30とフーチング型枠20を安定して接続できる。さらに、挿入部32bを、離間した位置に設けられた接続板部22の固定穴22a,22bと、補強板部23の固定穴23a,23bに挿嵌しているため、型枠固定部品30とフーチング型枠20をより安定した状態で接続できる。
このように、立上部型枠10とフーチング型枠20を、型枠固定部品30を用いて接続することで、フーチング面形成部21が根伐り溝2の底面に対して立設するようにフーチング型枠20を配置する。そして、形成する布基礎100の長さに応じて、複数枚のフーチング型枠20を連設する。
なお、本実施形態では、係合片部31aが係合する被係合部として連結ピン5を備え、係合片部31aを連結ピン5に係合させることで、立上部型枠10に対する型枠固定部品30の接続を行っているが、立上部型枠10に対する型枠固定部品30の接続方法はこれに限らない。例えば、立上部型枠10のリブ12に、溶接やネジ止めなどで被係合部としての棒部材を固定しておいて、この棒部材に係合片部31aを係合させるようにしてもよい。
型枠固定部品30とフーチング型枠20の接続を行った後に、端太材50を端太材係止部31cと立上部型枠10との間に挟持させる。これにより、連設させた複数枚の立上部型枠10を一直線上に整列させることができる。このように、本実施形態の型枠固定部品30は、立上部型枠10とフーチング型枠20を接続する機能だけではなく、端太材50を挟持させる機能を備えるものであり、本実施形態の型枠固定部品30によれば、立上部型枠10を連設させた場合に、複数枚の立上部型枠10を一直線上に安定して整列させることが可能となる。
以上の手順で、型枠装置1を根伐り溝2に設置した後、対向する立上部型枠10の間から、生コンクリートを流し込み、対向して設置したフーチング型枠20の間にフーチング部120を形成する。フーチング部120を形成した後に、さらに対向する立上部型枠10の間から、生コンクリートを流し込み、対向する立上部型枠10の間に立上がり部110を形成する。
その後、型枠固定部品30、フーチング型枠20、立上部型枠10を取り外して、布基礎100の形成作業を終える。取り外した型枠固定部品30、フーチング型枠20、立上部型枠10は再利用することができる。
本実施形態の型枠装置の説明図である。 本実施形態の立上部型枠を説明する斜視図である。 本実施形態のフーチング型枠を説明する斜視図である。 フーチング型枠を重ね合わせた状態を示す図である。 本実施形態の型枠固定部品を説明する斜視図である。 本実施形態の型枠装置を用いて形成される布基礎を説明する断面斜視図である。
符号の説明
1・・・型枠装置、2・・・根伐り溝、5・・・連結ピン、6・・・上部スペーサ、7・・・下部スペーサ、10・・・立上部型枠、11・・・立上がり面形成部、12・・・リブ、13・・・連結穴、20・・・フーチング型枠、21・・・フーチング面形成部、21c,22c,23c・・・側端面、22・・・接続板部、22a,22b,23a,23b・・・固定穴、23・・・補強板部、30・・・型枠固定部品、31・・・立上側接続部、31a・・・係合片部、31b・・・当接片部、31c・・・端太材係止部、32・・・フーチング側接続部、32a・・・挟持部、32b・・・挿入部、32c・・・折返し部、33・・・フーチング巾形成部、40・・・台座、50・・・端太材、100・・・布基礎、110・・・立上がり部、110a・・・立上側面、120・・・フーチング部、120a・・・フーチング側面、131a,131b・・・主筋、132・・・腹筋、133a,133b・・・ベース補助筋、134・・・あばら筋

Claims (9)

  1. フーチングを備えた布基礎を形成するための型枠装置であって、
    布基礎のうちフーチングの上方へ立上がる立上がり部を形成するために対向して立設された立上部型枠と、
    フーチングを形成するために対向して立設されたフーチング型枠と、
    前記立上部型枠に対して前記フーチング型枠を連結する型枠固定部品と、を備え、
    前記型枠固定部品は、
    前記立上部型枠と接続する立上側接続部と、
    前記フーチング型枠を挟持するフーチング側接続部と、
    前記立上側接続部と前記フーチング側接続部との間をつないでフーチングの巾を定めるためのフーチング巾形成部と、を有して構成されたことを特徴とする型枠装置。
  2. 前記フーチング型枠には、前記型枠固定部品を挿入するための固定穴が形成され、
    該固定穴に前記型枠固定部品が挿入された状態で前記型枠固定部品が前記フーチング型枠を挟持していることを特徴とする請求項1記載の型枠装置。
  3. 前記フーチング型枠は、フーチングの側面を形成する板状のフーチング面形成部と、該フーチング面形成部の上部近傍に設けられた第一固定穴形成部と、前記フーチング面形成部の前記第一固定穴形成部が設けられた位置とは離間した位置に設けられた第二固定穴形成部と、を備えて構成され、
    前記固定穴は、前記第一固定穴形成部と前記第二固定穴形成部に形成されたことを特徴とすることを特徴とする請求項2記載の型枠装置。
  4. 前記型枠固定部品の前記フーチング側接続部は、前記フーチング型枠に挿入される挿入部と、該挿入部との間で前記フーチング型枠を挟持する挟持部とを有して構成されていることを特徴とする請求項1乃至請求項3のうちいずれか1つに記載の型枠装置。
  5. 前記型枠固定部品の前記フーチング側接続部は、前記フーチング型枠に挿入される直線形状に形成された挿入部と、該挿入部との間で前記フーチング型枠を挟持する直線形状に形成された挟持部とを有し、
    前記フーチング型枠には、前記挿入部を挿入するための固定穴が形成され、
    該固定穴に前記型枠固定部品が挿入された状態で前記挿入部と前記挟持部によって前記フーチング型枠を挟持していることを特徴とする請求項1記載の型枠装置。
  6. 前記型枠固定部品の前記立上側接続部は、棒状または板状の部材が屈曲されて形成され、前記立上部型枠に対して設置される端太材を係止するための端太材係止部を備えたことを特徴とする、請求項1乃至請求項5のうちいずれか1つに記載の型枠装置。
  7. フーチングを備える布基礎の当該フーチングを形成するためのフーチング型枠を、フーチングの上方へ立上がる立上がり部を形成するための立上部型枠に対して連結するために用いられる型枠固定部品であって、
    前記立上部型枠と接続するための立上側接続部と、
    前記フーチング型枠を挟持するためのフーチング側接続部と、
    前記立上側接続部と前記フーチング側接続部との間をつないでフーチングの巾を定めるためのフーチング巾形成部と、を有して構成されたことを特徴とする型枠固定部品。
  8. 前記フーチング側接続部は、前記フーチング型枠に挿入される挿入部と、該挿入部との間で前記フーチング型枠を挟持する挟持部とで形成されていることを特徴とする請求項7に記載の型枠固定部品。
  9. 前記型枠固定部品の立上側接続部は、棒状または板状の部材が屈曲されて形成され、前記立上部型枠に対して設置される端太材を係止するための端太材係止部を備えたことを特徴とする、請求項7または請求項8に記載の型枠固定部品。
JP2004104458A 2004-03-31 2004-03-31 型枠装置及び型枠固定部品 Expired - Fee Related JP4238169B2 (ja)

Priority Applications (1)

Application Number Priority Date Filing Date Title
JP2004104458A JP4238169B2 (ja) 2004-03-31 2004-03-31 型枠装置及び型枠固定部品

Applications Claiming Priority (1)

Application Number Priority Date Filing Date Title
JP2004104458A JP4238169B2 (ja) 2004-03-31 2004-03-31 型枠装置及び型枠固定部品

Publications (2)

Publication Number Publication Date
JP2005290724A true JP2005290724A (ja) 2005-10-20
JP4238169B2 JP4238169B2 (ja) 2009-03-11

Family

ID=35323973

Family Applications (1)

Application Number Title Priority Date Filing Date
JP2004104458A Expired - Fee Related JP4238169B2 (ja) 2004-03-31 2004-03-31 型枠装置及び型枠固定部品

Country Status (1)

Country Link
JP (1) JP4238169B2 (ja)

Cited By (1)

* Cited by examiner, † Cited by third party
Publication number Priority date Publication date Assignee Title
JP2008144426A (ja) * 2006-12-07 2008-06-26 Daiwa House Ind Co Ltd 直交部型枠

Cited By (1)

* Cited by examiner, † Cited by third party
Publication number Priority date Publication date Assignee Title
JP2008144426A (ja) * 2006-12-07 2008-06-26 Daiwa House Ind Co Ltd 直交部型枠

Also Published As

Publication number Publication date
JP4238169B2 (ja) 2009-03-11

Similar Documents

Publication Publication Date Title
KR101560253B1 (ko) 파일과 프리캐스트코핑부를 이용한 급속 교량 시공방법
KR101519086B1 (ko) 프리캐스트 t형 거더를 이용한 교량 및 교량 시공방법
KR101591224B1 (ko) 조립식 플레이트와 정착 채널을 구비한 프리캐스트 콘크리트 부재를 이용한 구조물의 복합화 시공방법
JP7670753B2 (ja) 梁の構造、梁主筋配筋用の支持部材、および梁主筋の配筋方法
JP2010203139A (ja) 合成梁、建築物、及び合成梁の施工方法
JP4433066B2 (ja) 永久アンカーが施工された壁構造、永久アンカーが施工された壁構造の構築方法、
JP2019127822A (ja) 土留め構造及び土留め方法
JP4739175B2 (ja) 橋脚定着構造及び橋脚施工方法
KR100737841B1 (ko) 교량용 슬라브 콘크리트 타설을 위한 거푸집 고정 클램프
KR20210033815A (ko) 향상된 시공정밀도 및 구조적 강도를 가지는 구조물의 기초보강방법
JP7339865B2 (ja) 壁パネルの建て込み方法
KR100770250B1 (ko) 옹벽 시공방법 및 그에 따른 옹벽 구조물
KR200201561Y1 (ko) 강관파일 두부보강구조
KR101824963B1 (ko) 하이브리드 강합성거더 및 그 시공방법
JP4238169B2 (ja) 型枠装置及び型枠固定部品
KR20220166451A (ko) 콘크리트 양생에 관계 없이 철근콘크리트보와 철골보를 접합시킬 수 있는 철골보 접합장치 및 이를 이용한 시공방법
KR101639592B1 (ko) 교량용 조립형 경량거더 및 이를 이용한 교량의 시공방법
KR101195236B1 (ko) 티형 지지강재를 이용한 구조물 인상공법
KR100655654B1 (ko) Pc강선 정렬장치 및 이를 이용한 psc 박스거더 교량의횡방향 프리스트레싱 방법
KR101935460B1 (ko) 기둥부재와 pc빔 연결방법 및 이를 이용하여 시공된 pc구조물
JP7482587B2 (ja) プレキャストコンクリート版部材の接合構造およびコンクリート板状構造の構築方法
JP4842093B2 (ja) フラットプレート構築方法
KR20120078217A (ko) 기기 기초 시공 방법
KR20150031777A (ko) 전단 연결재 일체형 광폭 psc 거더를 이용한 무조인트 교량의 시공방법
KR100609500B1 (ko) 철근을 이용한 가설재 고정장치

Legal Events

Date Code Title Description
A621 Written request for application examination

Free format text: JAPANESE INTERMEDIATE CODE: A621

Effective date: 20070314

A977 Report on retrieval

Free format text: JAPANESE INTERMEDIATE CODE: A971007

Effective date: 20080715

A131 Notification of reasons for refusal

Free format text: JAPANESE INTERMEDIATE CODE: A131

Effective date: 20080729

A521 Request for written amendment filed

Free format text: JAPANESE INTERMEDIATE CODE: A523

Effective date: 20080926

TRDD Decision of grant or rejection written
A01 Written decision to grant a patent or to grant a registration (utility model)

Free format text: JAPANESE INTERMEDIATE CODE: A01

Effective date: 20081209

A01 Written decision to grant a patent or to grant a registration (utility model)

Free format text: JAPANESE INTERMEDIATE CODE: A01

A61 First payment of annual fees (during grant procedure)

Free format text: JAPANESE INTERMEDIATE CODE: A61

Effective date: 20081219

R150 Certificate of patent or registration of utility model

Ref document number: 4238169

Country of ref document: JP

Free format text: JAPANESE INTERMEDIATE CODE: R150

Free format text: JAPANESE INTERMEDIATE CODE: R150

FPAY Renewal fee payment (event date is renewal date of database)

Free format text: PAYMENT UNTIL: 20111226

Year of fee payment: 3

FPAY Renewal fee payment (event date is renewal date of database)

Free format text: PAYMENT UNTIL: 20141226

Year of fee payment: 6

R250 Receipt of annual fees

Free format text: JAPANESE INTERMEDIATE CODE: R250

R250 Receipt of annual fees

Free format text: JAPANESE INTERMEDIATE CODE: R250

R250 Receipt of annual fees

Free format text: JAPANESE INTERMEDIATE CODE: R250

R250 Receipt of annual fees

Free format text: JAPANESE INTERMEDIATE CODE: R250

R250 Receipt of annual fees

Free format text: JAPANESE INTERMEDIATE CODE: R250

LAPS Cancellation because of no payment of annual fees