JP2005290591A - 乳房カップを有する衣類 - Google Patents

乳房カップを有する衣類 Download PDF

Info

Publication number
JP2005290591A
JP2005290591A JP2004104604A JP2004104604A JP2005290591A JP 2005290591 A JP2005290591 A JP 2005290591A JP 2004104604 A JP2004104604 A JP 2004104604A JP 2004104604 A JP2004104604 A JP 2004104604A JP 2005290591 A JP2005290591 A JP 2005290591A
Authority
JP
Japan
Prior art keywords
garment
breast cup
human body
rear connecting
breast
Prior art date
Legal status (The legal status is an assumption and is not a legal conclusion. Google has not performed a legal analysis and makes no representation as to the accuracy of the status listed.)
Granted
Application number
JP2004104604A
Other languages
English (en)
Other versions
JP4608231B2 (ja
Inventor
Masaru Yuasa
勝 湯浅
Current Assignee (The listed assignees may be inaccurate. Google has not performed a legal analysis and makes no representation or warranty as to the accuracy of the list.)
Wacoal Corp
Original Assignee
Wacoal Corp
Priority date (The priority date is an assumption and is not a legal conclusion. Google has not performed a legal analysis and makes no representation as to the accuracy of the date listed.)
Filing date
Publication date
Application filed by Wacoal Corp filed Critical Wacoal Corp
Priority to JP2004104604A priority Critical patent/JP4608231B2/ja
Publication of JP2005290591A publication Critical patent/JP2005290591A/ja
Application granted granted Critical
Publication of JP4608231B2 publication Critical patent/JP4608231B2/ja
Anticipated expiration legal-status Critical
Expired - Fee Related legal-status Critical Current

Links

Images

Landscapes

  • Corsets Or Brassieres (AREA)

Abstract

【課題】左右の乳房カップを背側で連結するバック部を伸縮性素材で形成しながら、余計な追従移動が為されるとか、それによって元の装着状態に復帰し難いといった動き過ぎを抑制し、乳房の支持状態や装着感をさらに向上させる。
【解決手段】左右一対の乳房カップ1と、これら左右の乳房カップ1を胸側において連結する前連結部4と、左右の前記乳房カップ1を背側において連結する後連結部5とから成るブラジャーにおいて、後連結部5が伸縮性素材から形成され、かつ、後連結部5における装着時に人体の前脇の下方部分に当る部位に非伸縮性素材による保形布部材9が装備されており、保形布部材9は、人体への装着状態における前脇点と大転子点とを結ぶラインXを中心又はほぼ中心として所定の幅を有する状態で配設されている。
【選択図】図1

Description

本発明は、ブラジャー、ブラスリップ等の乳房カップを有する衣類に関するものである。
乳房カップを有する衣類としては、例えばブラジャー、ロングラインブラジャー、ビスチエ、ボディスーツ、スリーインワン、ブラテディ、ブラキャミソール、或いはブラスリップ等の乳房カップを有するファンデーション類、水着等があり、着用者の乳房に当てがわれる膨らみのある乳房カップを有している。これらの乳房カップを有する衣類は、女性用の被服として広く普及している。
乳房カップを有する衣類の代表例であるブラジャーは、一般的にはバストの形状を整えて美しいプロポーションを創るべく、乳房カップは肌触りの良いソフトな内側素材と、保形性を有する外側素材から成るものが多い。また、左右の乳房カップを背側を通して連結する後連結部は、人体を適度な緊張力で巻付けてしっかりと装着するため、及びブラジャー装着時における動き易さを得るために伸縮性素材を用いて構成されたものが多い。このように、後連結部等が伸縮性素材から形成されたものの例としては、特許文献1において開示されたものが知られている。
特開2002−294503号公報
従来のブラジャーは体を捩るとか腕を上下や前後に動かす、或いはそれに伴って乳房が変動する等の上半身の動きに追従し易く、良好なフィット感を得ることができる利点がある。しかしながら、その反面として、ブラジャーにおける追従しなくて良い部分が体の動きに追従してしまい、体を元の状態に戻してもブラジャーは元の装着状態に戻りきれず、位置ズレしてしまう不都合の生じることがあった。例えば、カップ上辺部のズレ、カップ下辺部のズレ、バック部のズレという状況が挙げられる。
このように、後連結部が伸縮性素材で構成されたものでは、体の動き、とくに上半身の動きにフィットし易い点は良いが、体の動きによっては乳房カップ等の各部が依然として位置ズレする等の着崩れのおそれが残っているとともに、装着感が芳しくないとか、手指で引張って位置を修正する動作が必要になるといった不利もあり、改善の余地が残されているものであった。
本発明の目的は、乳房カップを有する衣類において、左右の乳房カップを背側において連結する後連結部を、体の動きに対する良好な追従性を得るべく伸縮性素材で形成する構造を踏襲しながらも、場合によっては余計な追従移動が為されるとか、それによって元の装着状態に復帰し難いといった動き過ぎを抑制し、乳房の支持状態や装着感をさらに向上させる点にある。
請求項1の構成は、左右一対の乳房カップと、これら左右の乳房カップを胸側において連結する前連結部と、左右の前記乳房カップを背側において連結する後連結部とから成る乳房カップを有する衣類において、
前記後連結部が伸縮性素材から形成され、かつ、前記後連結部における装着時に人体の前脇の下方部分に当る部位に非伸縮性素材による保形布部材が装備されており、前記保形布部材は、マルチン計測法で規定されている人体への装着状態における前脇点と大転子点とを結ぶラインを中心又はほぼ中心として所定の幅を有する状態で配設されていることを特徴とする。
請求項2の構成は左右一対の乳房カップと、これら左右の乳房カップを胸側において連結する前連結部と、左右の前記乳房カップを背側において連結する後連結部とから成る乳房カップを有する衣類において、
前記後連結部が伸縮性素材から形成され、かつ、前記後連結部において装着時に人体の前脇の下方部分に当る部位が前記伸縮性素材の樹脂加工またはパワー切替により非伸縮性部となり、前記非伸縮性部が、人体への装着状態における前脇点と大転子点とを結ぶラインを中心又はほぼ中心として所定の幅を有する状態で配設されていることを特徴とする。
請求項3の構成は、請求項1に記載の乳房カップを有する衣類において、前記後連結部が表地と裏地とから形成され、これら表地と裏地との間に前記保形布部材が収容されていることを特徴とする。
請求項4の構成は、請求項3に記載の乳房カップを有する衣類において、前記保形布部材が前記表地のみに縫合によって連結されていることを特徴とする。
請求項5の構成は、請求項1、3、4のいずれか一項に記載の乳房カップを有する衣類において、前記保形布部材の前端部又は後端部に、上下方向に延びるボーンが一体的に装備されていることを特徴とする。
請求項6の構成は、請求項1、3〜5のいずれか一項に記載の乳房カップを有する衣類において、前記保形布部材を構成する非伸縮性素材がウレタン、不織布、編物、織物であることを特徴とする。
請求項7の構成は、請求項1〜6のいずれか一項に記載の乳房カップを有する衣類において、前又は後の前記連結部に系脱自在なホックが装備されるとともに、前記乳房カップの上部と、前記後連結部における背中側部分とに架設される左右一対の肩紐が装備されていることを特徴とする。
請求項8の構成は、請求項1〜7のいずれか一項に記載の乳房カップを有する衣類において、前記前連結部が伸縮性素材からなり、前期後連結部が、順に、前記前連結部と装着時に人体の前脇の下方部分に当る部位の間が伸縮性素材、装着時に人体の前脇の下方部分に当る部位が非伸縮性素材、装着時に人体の前脇の下方部分に当る部位と取付布部の間が伸縮性素材からなることを特徴とする。
請求項1の構成によれば、詳しくは実施例において説明するが、後連結部における前脇点と大転子とを結ぶラインにおける前脇の下方部分は、上半身が種々の動作を行った時に縦方向にのみ皮膚が伸展する。この認識に基づいて、前記後連結部における装着時に人体の前脇の下方部分に当る部位に、非伸縮性素材で成る保形布部材を固定することにより、縦方向の皮膚伸展時も前記後連結部が人体に密着して動き、人体の動きに追随することが可能となる。これは、前記後連結部において前期保形布部材が、非伸縮性素材で成るのに対し、その前後の部位は伸縮性素材により成るため、前期保形布部材が縦方向の皮膚伸展に密着した状態で追随する一方、前期保形布部材を支点としブラジャーが人体全体の動きに対して柔軟に動くことが可能となり、ブラジャーがずれるのを防ぐことができる。また、前脇点と大転子点とを結ぶラインは、人体構造上で個人差が殆ど生じないものであるので、上述のような機能を有する乳房カップを有する衣類を、装着者の年齢や体型を不問として共通に着用することが可能である。
その結果、請求項8の構成により左右の乳房カップを背側において連結する後連結部を、体の動きに対する良好な追従性を得るべく伸縮性素材で形成する構造を踏襲しながらも、場合によっては余計な追従移動が為されるとか、それによって元の装着状態に復帰し難いといった動き過ぎを抑制し、乳房の支持状態や装着感のさらなる向上が可能な乳房カップを有する衣類を提供することができる。また、請求項7のように、後又は前のホックと左右一対の肩紐とを設けて、ブラジャー等の衣類に好適なものにできるとともに、請求項6のように、非伸縮性素材を、入手し易く廉価なウレタン製として、乳房カップを有する衣類を、上述の効果を発揮する優れたものとしながらも経済的に構成することが可能である。
請求項3の構成によれば、後連結部を形成する表地と裏地との間に保形布部材が収容されるので、皮膚(肌)には伸縮性素材が接触し、保形布部材は接触しないので、良好な肌触りを維持することができる。また、表及び裏地の重ね構造により、後連結部を強度十分なものとすることができる。
請求項4の構成によれば、保形布部材が表地のみに縫合されて連結されるので、後連結部と保形布部材とを強固に連結できて保形布部材による衣類の安定支持機能(上述)が如何無く発揮できるとともに、保形布部材の縫合箇所が裏地には存在しないので、良好な肌触りを維持することができる利点がある。
請求項5の構成によれば、保形布部材の前端部又は後端部が上下に延びる形状のボーンによって補強されるので、後連結部における装着時に人体の前脇の下方部分に当る部位の強度や保形性がさらに向上し、乳房カップによる乳房の支持状態をより安定化させることが可能になるとともに、上下方向の補強によって装着感の向上も期待できるものとなる。
請求項2の構成によれば、後連結部が伸縮性素材から形成され、かつ、後連結部において装着時に人体の前脇の下方部分に当る部位が伸縮性素材の樹脂加工または、パワー切替により非伸縮性部となり、非伸縮性部は、人体への装着状態における前脇点と大転子点とを結ぶラインを中心又はほぼ中心として所定の幅を有する状態で配設されているので、別体の保形布部材を縫合することなく後連結部の必要な箇所に非伸縮性部を用いることができ、装着時のより良好な肌触りを維持することができる利点がある。
以下に、本発明による乳房カップを有する衣類を、その一例であるブラジャーの場合について、図面を参照して説明する。図1はブラジャーの左側部分の展開正面図、図2,3は夫々バック部における装着時に人体の前脇の下方部分に当る部位の縦断面図と横面図、図4は女性人体とブラジャーとの関係を示す側面図、図5は腕の上げ下げ時における皮膚の変化を示す上半身の(a)正面図、(b)側面図、(c)背面図である。
ブラジャーAは、図1に示すように、概略、左右一対のカップ部(乳房カップ)1と、支持部2と、左右一対の肩ストラップ(肩紐の一例)3と、支持部2の背中に取付けられた係脱自在のホック6とから構成されている。支持部2は、左右のカップ部1を、その下方部位において連結一体化する前中心布部(前連結部の一例)4と、これらカップ部1と前中心布部4とを背側において連結するバック部(後連結部の一例)5とから構成される。
カップ部1は、上(外)カップ布と下(内)カップ布を含み、これらを接ぎ線で縫着することによりカップ形状に立体成型される。左右のカップ部1を胸側において連結する前中心布部4は、前中心Pを中心として左右のカップ部1の下方で外側部位どうしに渡る範囲の部分として形成されており、着用者のバスト下部にフィットするように凹型に湾曲した上縁湾曲部4aを有し、このアンダー部分4aの上縁湾曲部がカップ部1の下縁湾曲部に縫着されている。
バック部5は、ホック6を構成するループ状の係合金具6aが縫着された取付布部11を先端に有する右バック部5Rと、係合金具6aに係脱自在な鉤状金具6bが縫着された取付布部11を先端に有する左バック部5Lとから構成される。各バック部5R,5Lは、共に伸縮性素材(例:パワーネット、ツーウエイラッセル、ツーウエイトリコット)を下部で折り返して上部で縫合連結することにより、表地7と裏地8とを有する重ね構造のものに形成されている。
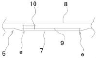
保形布部材9は、非伸縮素材であるウレタン(ポリウレタン)から成るシート状のものであり、図1〜図4に示すように、右及び左各バック部5R,5Lにおける装着時に人体の前脇の下方部分に当る部位において、表地7と裏地8との間に収容される状態で装備されている。保形布部材9の下端は、各バック部5R,5Lの下端に位置されており、その上端は各バック部5R,5Lの上端からやや下方に離して位置されている。また、保形布部材9の前端には、その前端に位置合わせされる状態で上下に延びるボーン10が配備されており、図3に示すように、ボーン10の前端部に位置する第1縫合箇所aにおいて、表地7と、保形布部材9と、これの裏地側に配置されるボーン10との三者が一体的に縫合連結されている。
表地7の上端部は、裏地8上端のさらに内側(人体側)に折り返され、その折返し部7aの下端部が、図2に示すように、バック部5に内装される保形布部材9と共に裏地8及び表地7と、即ち計四者が第2縫合部bにおいて一体的に縫合連結されている。また、保形布部材9の下端部は、ボーン10の下端部と共に表地7の下端部に縫合箇所cで一体的に縫合連結され、保形布部材9の上端部は、表地7の上端部と縫合箇所dで一体的に縫合連結されている。さらに、保形布部材9の後端部は、図3に示すように、表地7と縫合箇所eで一体的に縫合連結されている。
保形布部材9のバック部5に対する位置、及びその幅寸法は以下のように設定されている。即ち、図1、図4に示すように、保形布部材9は、人体への装着状態における前脇点mと大転子点nとを結ぶラインXを中心又はほぼ中心として所定の幅(例:30〜80mm、好ましくは50〜60mm)を有する状態で左右のバック部5L,5Rに配設されている。バック部5におけるラインX部位は、装着者の上半身が種々の動作を行っても水平方向には殆ど動かず、水平に移動しても水平線上をごくわずかにしか移動しない、いわば固定点部分であり、その固定部分に非伸縮素材で成る保形布部材9を装備することにより、装着者の動きにブラジャーAがフィットして位置ずれしないようになる。
図4には、ブラジャーAが装着された女性人体の概略の側面図が示されており、mは腕の付け根における前端、即ちマルチン計測法で規定されている前脇点であり、nは大腿骨の付け根(腰骨と足の骨が繋がる辺りの骨であり、股関節の、大腿骨の外側の出っ張り)、即ち同じくマルチン計測法で規定されている大転子点である。これら前脇点mと大転子点nとを結ぶラインXとウエストラインUとの交点がウエスト側点rである。ラインXの上部、即ち、前脇点mとウエスト側点rとを結ぶラインを胸部側線Xaと呼び、これは、前脇点mとウエスト側点rとを通る平面と体表面とが交わる線として定義される。
ラインXの下部、即ち、ウエスト側点rと大転子点nとを結ぶラインを腰部側線Xbと呼び、これは、ウエスト側点rと大転子点nと通る前頭面と体表面とが交わる線として定義される。前頭面とは、正中面に対して直角に交わる垂直面(前額面)のことであり、その方向を前頭という。正中とは、人体の真ん中を垂直に走る垂線の方向のことであり、この線を含む垂直面を正中面という。また、正中面と体表面とが交わる線を正中線と言う。
背伸び動作による体幹の皮膚の変化を図5〜図7(前脇点と大転子点とを結ぶラインの皮膚伸縮実験)に示す。これらの図から分かるように、縦方向の延びが大きく、特に側面・脇部の伸びが大きい。後の正中付近にはあまり変化がない。図5(a)と図5(a’)との比較からは、正中から側面にかけて徐々に伸びが確認される。図5(b)と図5(b’)との比較からは、側面には大きな縦方向の伸びが確認.される。図5(c)と図5(c’)との比較からは、正中付近の伸びは見られない。このような実験からも、前述したように、前脇点mと大転子点nとを結ぶラインXは、縦方向のみに延びることが理解できる。
次に、参考として、肩関節運動の体型の変化についての通説について述べる。肩関節運動の体型への影響は、安静直立の姿勢のときが、床から肩峰点までの高さの最も低いときで、それ以外の胸を張る動作、即ち肩甲骨の前屈までは約30mm、また胸を窄める動作、肩甲骨の後屈では、約12mmも肩峰点の位置が高くなり、また頚をすくめる動作では、肩幅が約80mmほど狭くなると同時に肩峰点の位置も約50mmほど上がることである。運動による皮膚(体表)の変化には大きく分けて二つの変化があり、一つは皮膚自身の伸縮状態であり、もう一つは皮膚が下層との間に起こるずれ(偏位)である。肩関節の運動による変化は、上肢帯のみの運動と、上腕の挙上運動では、その影響を受ける範囲は様式には明らかな差がある。つまり、乳房下部と体側部が局限的に影響を受けている。
いま、この部位における皮膚(外皮)の運動に対して現れる適応現象を観察した結果を見ると、まず両上肢を同時に約170度前から上に挙げたときに現れる体幹の皮膚の変化では、乳房から腸骨稜付近までの間に皮膚の伸展がみられる。特に、乳頭線と体側線上の皮膚に大きな伸展が見られることが分かる。ここで、運動による皮膚の変化を観察する方法について簡単に触れる。
その観察方法には、1.錯覚の応用、2.体表に用紙を貼り、これを平面に展開して静立時と運動時の変化を観察する転写法、及び3.被験者の体表に水平、垂直方向の線を基盤にひいて、体幹の運動によって皮膚の変化を観察する、という三種の方法がある。ここで前記3.の方法について概略説明する。体表に入れる基準線は、まず頚椎点を通る水平方向の線を引き、これを基線として、30mm間隔の横線を全身に亘って描き、これを上から下へ横線a,b,c…と名づける。この際、横線bは胸骨上点(sst)、eが後脇窩の付根、gが乳頭点、rが恥骨結合点を通ることが多い。また隣接する二つの横線の間の水平帯部Zoneを上から1,2,3…の番号を付ける。
縦線は、前後の正中線、左右の乳頭を通る前側線、脇窩の中心を通る体側線、及び肩甲骨の下縁を通る後側線の五線を基準線としてある。尚、乳房は皮膚の一部が特に厚くなったところで、乳腺は汗腺の変化したものと考えられているほどであるから、肩関節の運動によって大きく変化することが分かっている。
〔別実施例〕
保形布部材9の幅は、衣類のサイズや形状等の種々の要素に伴って変更できるとともに、
その上下方向の長さも、図2に示すように、後連結部5の上下幅一杯のものの他、若干短いものや半分くらいのもの等、この縦長さも衣類の形状、サイズ、種類等の要素に応じて変更設定される。
また、保形布部材9を、表地7と裏地8との間に収容される状態で装備するのではなく、伸縮性素材からなるバック部(後連結部の一例)5の保形布部材9に該当する部分(後連結部において装着時に人体の前脇の下方部分に当る部位)を樹脂加工を行い非伸縮性部とし、前記実施例1と同等の機能を持つようにしても良い。
さらに、保形布部材9を、表地7と裏地8との間に収容される状態で装備するのではなく、伸縮性素材からなるバック部(後連結部の一例)5の保形布部材9に該当する部分(後連結部において装着時に人体の前脇の下方部分に当る部位)を、糸の太さや、編み方を変えるパワー切替により非伸縮性部とし、前記実施例1と同等の機能を持つようにしても良い。
以上述べたように、本発明によるブラジャーAにおいては、バック部5における前脇点mと大転子点nとを結ぶラインXを中心とする所定幅の非伸縮性素材を用いており、保形布部材9または保形布部材9に該当する部分が、非伸縮性素材で成るのに対し、その前後の部位は伸縮性素材12で成るため、非伸縮性素材が縦方向の皮膚伸展に密着した状態で追随する一方、非伸縮性素材を支点としブラジャーAが人体全体の動きに対して柔軟に動くことが可能となり、腕上下時にも体の移動と共にブラジャーAも固定され、ずれないとともに、皮膚伸展の移動と共に非伸縮面部も動くので、着崩れが無く良好な装着感が維持できる。ブラジャーに対する前脇点mと大転子点nとを結ぶラインXの位置は、実態構造上で差が生じにくいものであって、着用者が異なっても差はでないため、体型や年齢等が不問として使用できる汎用性に優れる利点がある。
ブラジャーの展開した状態での正面図である。 人体への装着状態におけるブラジャーの側面図である。 装着時に人体の前脇の下方部分に当る部位の断面図である。 女性人体を示す概略の側面図である。 (a)は通常姿勢で(a’)は腕を上げた姿勢での夫々の胸部を示す正面図であり、(b)は通常姿勢で(b’)は腕を上げた姿勢での夫々の胸部を示す側面図であり、(c)は通常姿勢で(c’)は腕を上げた姿勢での夫々の胸部を示す背面図せある。
符号の説明
1 乳房カップ
3 肩紐
4 前連結部
5 後連結部
6 ホック
7 表地
8 裏地
9 保形布部材
10 ボーン
11 取付布部
12 伸縮性素材部
m 前脇点
n 大転子点
A ブラジャー

Claims (8)

  1. 左右一対の乳房カップと、これら左右の乳房カップを胸側において連結する前連結部と、左右の前記乳房カップを背側において連結する後連結部とから成る乳房カップを有する衣類であって、
    前記後連結部が伸縮性素材から形成され、かつ、前記後連結部において装着時に人体の前脇の下方部分に当る部位に非伸縮性素材による保形布部材が装備されており、前記保形布部材は、人体への装着状態における前脇点と大転子点とを結ぶラインを中心又はほぼ中心として所定の幅を有する状態で配設されている乳房カップを有する衣類。
  2. 左右一対の乳房カップと、これら左右の乳房カップを胸側において連結する前連結部と、左右の前記乳房カップを背側において連結する後連結部とから成る乳房カップを有する衣類であって、
    前記後連結部が伸縮性素材から形成され、かつ、前記後連結部において装着時に人体の前脇の下方部分に当る部位が前記伸縮性素材の樹脂加工またはパワー切替により非伸縮性部となり、前記非伸縮性部が、人体への装着状態における前脇点と大転子点とを結ぶラインを中心又はほぼ中心として所定の幅を有する状態で配設されている乳房カップを有する衣類。
  3. 前記後連結部が表地と裏地とから形成され、これら表地と裏地との間に前記保形布部材が収容されている請求項1に記載の乳房カップを有する衣類。
  4. 前記保形布部材が前記表地のみに縫合によって連結されている請求項に記載の乳房カップを有する衣類。
  5. 前記保形布部材の前端部又は後端部に、上下方向に延びるボーンが一体的に装備されている請求項1、3、4のいずれか一項に記載の乳房カップを有する衣類。
  6. 前記保形布部材を構成する非伸縮性素材がウレタン、不織布、編物、織物である請求項1、3〜5のいずれか一項に記載の乳房カップを有する衣類。
  7. 前又は後の前記連結部に係脱自在なホックが装備されるとともに、前記乳房カップの上部と、前記後連結部における背中側部分とに架設される左右一対の肩紐が装備されている請求項1〜6のいずれか一項に記載の乳房カップを有する衣類。
  8. 前記前連結部が伸縮性素材からなり、前期後連結部が、順に、前記前連結部と装着時に人体の前脇の下方部分に当る部位の間が伸縮性素材、装着時に人体の前脇の下方部分に当る部位が非伸縮性素材、装着時に人体の前脇の下方部分に当る部位と取付布部の間が伸縮性素材からなる請求項1〜7のいずれか一項に記載の乳房カップを有する衣類。
JP2004104604A 2004-03-31 2004-03-31 乳房カップを有する衣類 Expired - Fee Related JP4608231B2 (ja)

Priority Applications (1)

Application Number Priority Date Filing Date Title
JP2004104604A JP4608231B2 (ja) 2004-03-31 2004-03-31 乳房カップを有する衣類

Applications Claiming Priority (1)

Application Number Priority Date Filing Date Title
JP2004104604A JP4608231B2 (ja) 2004-03-31 2004-03-31 乳房カップを有する衣類

Publications (2)

Publication Number Publication Date
JP2005290591A true JP2005290591A (ja) 2005-10-20
JP4608231B2 JP4608231B2 (ja) 2011-01-12

Family

ID=35323844

Family Applications (1)

Application Number Title Priority Date Filing Date
JP2004104604A Expired - Fee Related JP4608231B2 (ja) 2004-03-31 2004-03-31 乳房カップを有する衣類

Country Status (1)

Country Link
JP (1) JP4608231B2 (ja)

Cited By (1)

* Cited by examiner, † Cited by third party
Publication number Priority date Publication date Assignee Title
JP2019199666A (ja) * 2018-05-17 2019-11-21 株式会社メディカサトウ 胸部装着具

Citations (4)

* Cited by examiner, † Cited by third party
Publication number Priority date Publication date Assignee Title
JPH0339383U (ja) * 1989-08-23 1991-04-16
JPH10130912A (ja) * 1996-10-30 1998-05-19 Wacoal Corp 乳房カップを有する衣類
JPH10310908A (ja) * 1997-04-28 1998-11-24 Gunze Ltd ブラジャー
JP2000073206A (ja) * 1998-08-25 2000-03-07 Gunze Ltd ブラジャー

Patent Citations (4)

* Cited by examiner, † Cited by third party
Publication number Priority date Publication date Assignee Title
JPH0339383U (ja) * 1989-08-23 1991-04-16
JPH10130912A (ja) * 1996-10-30 1998-05-19 Wacoal Corp 乳房カップを有する衣類
JPH10310908A (ja) * 1997-04-28 1998-11-24 Gunze Ltd ブラジャー
JP2000073206A (ja) * 1998-08-25 2000-03-07 Gunze Ltd ブラジャー

Cited By (1)

* Cited by examiner, † Cited by third party
Publication number Priority date Publication date Assignee Title
JP2019199666A (ja) * 2018-05-17 2019-11-21 株式会社メディカサトウ 胸部装着具

Also Published As

Publication number Publication date
JP4608231B2 (ja) 2011-01-12

Similar Documents

Publication Publication Date Title
CN107734986B (zh) 运动用衣
JP3146561U (ja) 整形衣料
JP3641359B2 (ja) ガードル、ブラジャー等のボディに密着する下着
JP6232811B2 (ja) ボトム衣類
JP6928235B2 (ja) カップ部を有する衣類
CN1977681B (zh) 基础衣料
JPH1096104A (ja) 乳房受けカップを有する衣類
JP2006144194A (ja) インナー・ウェア
JP4608231B2 (ja) 乳房カップを有する衣類
JP6867580B2 (ja) カップ部付き上半身衣類
JP3115670U (ja) バスト補整機能を備えた成型編みインナー
JP2013023797A (ja) カップ部を有する衣類
US7387561B2 (en) Upper body controlling and smoothing bodysuit
WO2019060190A1 (en) DEVICE AND METHOD FOR CREATING ENHANCED JERSEYS FROM SHIRTS AND CORSAGES AND ASSOCIATED JERSEY
US3467106A (en) Body control or foundation garments
JP4388363B2 (ja) 授乳用ブラジャー
WO2007017917A1 (en) Elastic maternity clothing article and manufacture of it
JP7204158B1 (ja) ウエスト補正機能付き衣類
JP7100259B2 (ja) 上半身衣類
JP7671100B1 (ja) 胸部被覆衣類
JP3235294U (ja) 下肢用衣料
CN103300490A (zh) 具有杯部的衣服
JP4388003B2 (ja) カップ部を有する女性用下着
JP2023006524A (ja) カップ部を有する衣類
JP2000328308A (ja) ブラジャー

Legal Events

Date Code Title Description
A711 Notification of change in applicant

Free format text: JAPANESE INTERMEDIATE CODE: A712

Effective date: 20060927

RD02 Notification of acceptance of power of attorney

Free format text: JAPANESE INTERMEDIATE CODE: A7422

Effective date: 20061012

A621 Written request for application examination

Free format text: JAPANESE INTERMEDIATE CODE: A621

Effective date: 20070314

A977 Report on retrieval

Free format text: JAPANESE INTERMEDIATE CODE: A971007

Effective date: 20090401

A131 Notification of reasons for refusal

Free format text: JAPANESE INTERMEDIATE CODE: A131

Effective date: 20100202

A521 Written amendment

Free format text: JAPANESE INTERMEDIATE CODE: A523

Effective date: 20100319

TRDD Decision of grant or rejection written
A01 Written decision to grant a patent or to grant a registration (utility model)

Free format text: JAPANESE INTERMEDIATE CODE: A01

Effective date: 20101005

A01 Written decision to grant a patent or to grant a registration (utility model)

Free format text: JAPANESE INTERMEDIATE CODE: A01

A61 First payment of annual fees (during grant procedure)

Free format text: JAPANESE INTERMEDIATE CODE: A61

Effective date: 20101008

R150 Certificate of patent or registration of utility model

Ref document number: 4608231

Country of ref document: JP

Free format text: JAPANESE INTERMEDIATE CODE: R150

Free format text: JAPANESE INTERMEDIATE CODE: R150

FPAY Renewal fee payment (event date is renewal date of database)

Free format text: PAYMENT UNTIL: 20131015

Year of fee payment: 3

R250 Receipt of annual fees

Free format text: JAPANESE INTERMEDIATE CODE: R250

R250 Receipt of annual fees

Free format text: JAPANESE INTERMEDIATE CODE: R250

R250 Receipt of annual fees

Free format text: JAPANESE INTERMEDIATE CODE: R250

R250 Receipt of annual fees

Free format text: JAPANESE INTERMEDIATE CODE: R250

R250 Receipt of annual fees

Free format text: JAPANESE INTERMEDIATE CODE: R250

R250 Receipt of annual fees

Free format text: JAPANESE INTERMEDIATE CODE: R250

LAPS Cancellation because of no payment of annual fees