JP2005194897A - ノッキング抑制方法およびその装置 - Google Patents

ノッキング抑制方法およびその装置 Download PDF

Info

Publication number
JP2005194897A
JP2005194897A JP2003435929A JP2003435929A JP2005194897A JP 2005194897 A JP2005194897 A JP 2005194897A JP 2003435929 A JP2003435929 A JP 2003435929A JP 2003435929 A JP2003435929 A JP 2003435929A JP 2005194897 A JP2005194897 A JP 2005194897A
Authority
JP
Japan
Prior art keywords
combustion chamber
pressure gas
combustion
air
knocking
Prior art date
Legal status (The legal status is an assumption and is not a legal conclusion. Google has not performed a legal analysis and makes no representation as to the accuracy of the status listed.)
Withdrawn
Application number
JP2003435929A
Other languages
English (en)
Inventor
Hisato Hirooka
久人 広岡
Current Assignee (The listed assignees may be inaccurate. Google has not performed a legal analysis and makes no representation or warranty as to the accuracy of the list.)
Toyota Motor Corp
Original Assignee
Toyota Motor Corp
Priority date (The priority date is an assumption and is not a legal conclusion. Google has not performed a legal analysis and makes no representation as to the accuracy of the date listed.)
Filing date
Publication date
Application filed by Toyota Motor Corp filed Critical Toyota Motor Corp
Priority to JP2003435929A priority Critical patent/JP2005194897A/ja
Publication of JP2005194897A publication Critical patent/JP2005194897A/ja
Withdrawn legal-status Critical Current

Links

Images

Classifications

    • YGENERAL TAGGING OF NEW TECHNOLOGICAL DEVELOPMENTS; GENERAL TAGGING OF CROSS-SECTIONAL TECHNOLOGIES SPANNING OVER SEVERAL SECTIONS OF THE IPC; TECHNICAL SUBJECTS COVERED BY FORMER USPC CROSS-REFERENCE ART COLLECTIONS [XRACs] AND DIGESTS
    • Y02TECHNOLOGIES OR APPLICATIONS FOR MITIGATION OR ADAPTATION AGAINST CLIMATE CHANGE
    • Y02TCLIMATE CHANGE MITIGATION TECHNOLOGIES RELATED TO TRANSPORTATION
    • Y02T10/00Road transport of goods or passengers
    • Y02T10/10Internal combustion engine [ICE] based vehicles
    • Y02T10/12Improving ICE efficiencies
    • YGENERAL TAGGING OF NEW TECHNOLOGICAL DEVELOPMENTS; GENERAL TAGGING OF CROSS-SECTIONAL TECHNOLOGIES SPANNING OVER SEVERAL SECTIONS OF THE IPC; TECHNICAL SUBJECTS COVERED BY FORMER USPC CROSS-REFERENCE ART COLLECTIONS [XRACs] AND DIGESTS
    • Y02TECHNOLOGIES OR APPLICATIONS FOR MITIGATION OR ADAPTATION AGAINST CLIMATE CHANGE
    • Y02TCLIMATE CHANGE MITIGATION TECHNOLOGIES RELATED TO TRANSPORTATION
    • Y02T10/00Road transport of goods or passengers
    • Y02T10/10Internal combustion engine [ICE] based vehicles
    • Y02T10/30Use of alternative fuels, e.g. biofuels

Landscapes

  • Ignition Installations For Internal Combustion Engines (AREA)
  • Combustion Methods Of Internal-Combustion Engines (AREA)
  • Output Control And Ontrol Of Special Type Engine (AREA)

Abstract

【課題】 従来のノッキング抑制方法では、燃焼初期にに対する燃焼後期における混合気の燃焼速度の低下そのものを改善することができず、しかも内燃機関の圧縮比や吸気の吸入効率の増加に反比例してノッキングの防止効果が乏しくなる傾向を有する。
【解決手段】 本発明によるノッキング抑制装置は、内燃機関の燃焼室14の径方向中央部に点火ギャップ23が配された点火プラグ24と、燃焼室14の外周端縁部の吸気ポート16側および排気ポート17側に配されるノズル25をそれぞれ有し、これらノズル25から燃焼室14の径方向中央部に高圧ガスをそれぞれ噴射すると共に燃焼室14を囲むシリンダ12の内周壁に沿って同じ方向に高圧ガスをそれぞれ噴射する一対の高圧ガス噴射弁26とを具え、燃焼後半に燃焼室14内の高圧ガスによる乱流を発生させて火炎伝播を制御し、ノッキングの発生を回避する。
【選択図】 図1

Description

本発明は、火花点火内燃機関におけるノッキング抑制方法およびその装置に関する。
ノッキングは、内燃機関の燃焼室内での混合気の燃焼速度が低下する燃焼期間終盤に、火炎面とシリンダの内壁との間で圧縮された未燃混合気が自己着火条件に達し、火炎面から独立して着火する現象である。特に、火花点火内燃機関では、燃焼室内の温度が高い排気ポート側の火炎伝播速度が高くなるため、吸気ポート側のシリンダ内壁近傍にてノッキングが起こり易い傾向を持つ。ノッキングが発生すると、内燃機関の点火進角を進めることが困難となるため、その出力の増大を企図した際の大きな障害となる。
このようなノッキングの発生を防止するため、アンチノック性の高い高オクタン価燃料を使用したり、燃焼速度の大きな燃料、例えば水素などを使用したり、シリンダボア径を小径化して火炎伝播距離を短くすることが一般的に行われている。この他、燃焼室内における吸気流の乱れを増加させることにより燃焼速度を増大させたり、あるいは燃料を燃焼室内に直接噴射して燃焼室内で燃料を気化させ、これにより吸気温度を低下させてノッキングの発生を抑制するようにした技術も提案されている。例えば、特許文献1に開示された技術は、点火プラグの点火後、燃焼室内に高圧空気を噴射してノッキングを防止するようにしたものであり、そのための高圧空気噴射ノズルを複数具えている。また、特許文献2に開示された技術は、圧縮行程終了間際にピストンの頂面外周とシリンダヘッドの下面との間に設けられた環状圧縮室から燃焼室内に混合気を噴出させ、燃焼状態を改善するようにしたものである。さらに、特許文献3に開示された技術は、燃焼室を挟んで180°隔てて設けられた一対のノズルの一方から高圧空気を噴射すると共に他方のノズルから燃料を噴射し、これらを燃焼室の中央部で衝突させるようにしたものである。
特開2001−20745号公報 特公平1−16324号公報 特開平10−331642号公報
上述した従来のノッキング防止方法では、燃焼が始まってから実質的にノッキングが発生し易い10〜90%まで燃焼が進んだ燃焼後期のみならず、燃焼が始まってから燃焼が10%程度進んだ燃焼初期においても、同様にノッキングの防止効果を得ることができる。
しかしながら、燃焼室内での混合気の燃焼速度を増大させた場合、例えば燃焼後期における混合気の燃焼速度を増加させても、燃焼初期における混合気の燃焼速度に対する燃焼後期における混合気の燃焼速度の低下そのものを改善することができず、根本的な対策とはなっていない。
また、従来の方法では内燃機関の圧縮比や吸気の吸入効率の増加に反比例してノッキングの防止効果が乏しくなる傾向を有する。
本発明の第1の形態は、内燃機関の燃焼室内に空気と燃料とを供給して混合気を形成するステップと、前記燃焼室の径方向中央部に点火ギャップが配された点火プラグを点火して前記燃焼室内の混合気を燃焼させるステップと、前記燃焼室の外周端縁部の吸気ポート側および排気ポート側から燃焼室の径方向中央部に向けて高圧ガスを吹き込むステップと、前記燃焼室の外周端縁部の吸気ポート側および排気ポート側から燃焼室を囲むシリンダの内周壁に沿って同じ方向に高圧ガスを吹き込むステップとを具えたことを特徴とするノッキング抑制方法にある。
本発明においては、内燃機関の燃焼室内に空気と燃料とを供給して混合気を形成した後、点火プラグを点火して燃焼室内の混合気を燃焼させる。この混合気の燃焼中に燃焼室の径方向中央部に向けて180°反対側から噴射される高圧空気により、点火ギャップの周囲に介在する混合気の乱流が増大する結果、着火遅れが減少して燃焼の安定性が向上する。一方、燃焼室を囲むシリンダの内周壁近傍に介在する混合気をこのシリンダの内周壁に沿って流動させることにより、未燃状態にある混合気の乱流が増大して燃焼後期における燃焼速度の低下が抑制される。また、この混合気の流れによりシリンダの内周壁に沿って火炎が伝播し、ノッキングの発生が抑制される。
本発明の第1の形態によるノッキング抑制方法において、燃焼室内に高圧ガスを吹き込むステップは、点火プラグの点火直後に行われるものであってよい。
また、燃焼室の径方向中央部に高圧ガスを吹き込むステップは、燃焼室を囲むシリンダの内周壁に沿って同じ方向に高圧ガスを吹き込むステップに先立って行われることが有効である。
燃焼室の径方向中央部への高圧ガスの吹き込み量は、シリンダの内周壁に沿った高圧ガスの吹き込み量よりも少ないことが好ましい。
本発明の第2の形態は、内燃機関の燃焼室の径方向中央部に点火ギャップが配された点火プラグと、前記燃焼室の外周端縁部の吸気ポート側および排気ポート側に配されるノズルをそれぞれ有し、これらノズルから前記燃焼室の径方向中央部に高圧ガスをそれぞれ噴射すると共に燃焼室を囲むシリンダの内周壁に沿って同じ方向に高圧ガスをそれぞれ噴射する一対の高圧ガス噴射弁とを具えたことを特徴とするノッキング抑制装置にある。
本発明において、高圧ガス噴射弁を作動させると、一方は燃焼室の径方向中央部に向けて180°反対側から同時に噴射され、これによって点火ギャップの周囲に介在する混合気の乱流が増大する結果、着火遅れが減少して燃焼の安定性が向上する。他方は燃焼室を囲むシリンダの内周壁に沿って同方向に流され、燃焼室を囲むシリンダの内周壁近傍に介在する混合気をこのシリンダの内周壁に沿って流動させることにより、未燃状態にある混合気の乱流が増大して燃焼後期における燃焼速度の低下が抑制される。
本発明の第2の形態によるノッキング抑制装置において、高圧ガス噴射弁からの高圧ガスは、点火プラグの点火直後に噴射されるものであってよい。
高圧ガス噴射弁のノズルは、燃焼室の径方向中央部を向く第1の開口と、シリンダの内周壁に沿った第2の開口とを有し、この第2の開口からの高圧ガスの噴射に先立って第1の開口から高圧ガスが噴射されるものであってよい。この場合、ノズルの第1の開口の開口面積は、第2の開口の開口面積よりも小さいことが有効である。
高圧ガスとして、圧縮空気や、水素または不活性ガス、あるいは水蒸気を利用することができる。
本発明のノッキング抑制方法によると、内燃機関の燃焼室内に空気と燃料とを供給して混合気を形成し、燃焼室の径方向中央部に点火ギャップが配された点火プラグを点火して燃焼室内の混合気を燃焼させ、この混合気の燃焼中に燃焼室の外周端縁部の吸気ポート側および排気ポート側から燃焼室の径方向中央部に向けて高圧ガスを吹き込むようにしたので、点火ギャップ近傍に介在する混合気の乱流が増大し、着火遅れを短縮して燃焼の安定性を向上させ、空燃比をよりリーンにして燃費を向上させることができる。しかも、燃焼室を囲むシリンダの内周壁に沿って同じ方向に高圧ガスを吹き込むようにしたので、未燃状態にある混合気の乱流が増大し、燃焼後期における燃焼速度の低下を抑えて未燃混合気に自己着火する猶予を与えず、これによってノッキングの発生を抑制することができ、点火進角を進めて出力の増大を図ることが可能である。
燃焼室内に高圧ガスを吹き込むステップが点火プラグの点火直後に行われる場合、燃焼後期における燃焼速度の低下をより確実に抑えることができる。
シリンダの内周壁に沿って高圧ガスを吹き込む直前に燃焼室の径方向中央部に高圧ガスを吹き込む場合、点火ギャップ近傍に介在する混合気の乱流を増大させ、着火遅れを短縮して安定した燃焼を実現することができる。
燃焼室の径方向中央部への高圧ガスの吹き込み量がシリンダの内周壁に沿った高圧ガスの吹き込み量よりも少なくした場合、燃焼初期における火炎速度の増加を抑制すると同時に燃焼後期における火炎速度の低下を抑えることができ、未燃混合気が自己着火温度に達する前に焼を進行させ、より確実にノッキングの発生を回避することができる。
本発明のノッキング抑制装置によると、内燃機関の燃焼室の径方向中央部に点火ギャップが配された点火プラグと、燃焼室の外周端縁部の吸気ポート側および排気ポート側に配されるノズルをそれぞれ有し、これらノズルから燃焼室の径方向中央部に高圧ガスをそれぞれ噴射すると共に燃焼室を囲むシリンダの内周壁に沿って同じ方向に高圧ガスをそれぞれ噴射する一対の高圧ガス噴射弁とを具えているので、点火ギャップ近傍に介在する混合気の乱流を増大させ、着火遅れを短縮して燃焼の安定性を向上させ、空燃比をよりリーンにして燃費を向上させることができる。しかも、未燃状態にある混合気の乱流が増大し、燃焼後期における燃焼速度の低下を抑えて未燃混合気に自己着火する猶予を与えず、これによってノッキングの発生を抑制することができ、点火進角を進めて出力の増大を図ることが可能である。
点火プラグの点火直後に高圧ガス噴射弁から高圧ガスを噴射した場合、燃焼後期における燃焼速度の低下をより確実に抑えることができる。
高圧ガス噴射弁のノズルが、燃焼室の径方向中央部を向く第1の開口と、シリンダの内周壁に沿った第2の開口とを有し、この第2の開口からの高圧ガスの噴射に先立って第1の開口から高圧ガスを噴射する場合、点火ギャップ近傍に介在する混合気の乱流を増大させ、着火遅れを短縮して安定した燃焼を実現することができる。
ノズルの第1の開口の開口面積を第2の開口の開口面積よりも小さく設定した場合、燃焼初期における火炎速度の増加を抑制すると同時に燃焼後期における火炎速度の低下を抑えることができ、未燃混合気が自己着火温度に達する前に焼を進行させ、より確実にノッキングの発生を回避することができる。
本発明によるノッキング抑制装置を火花点火内燃機関に応用した一実施形態について、図1〜図5を参照しながら詳細に説明するが、本発明はこのような実施形態のみに限らず、特許請求の範囲に記載された本発明の概念に包含されるあらゆる変更や修正が可能であり、従って本発明の精神に帰属する他の任意の技術にも当然応用することができる。
本実施形態の概略構造を図1に示し、そのII−II矢視断面構造における高圧ガスの流れを模式的に図2に示し、その高圧ガス噴射弁のノズルの断面構造を図3および図4に示し、その制御ブロックを図5に示す。すなわち、ピストン11が摺動自在に嵌め込まれるシリンダ12を形成したシリンダブロック13には、ピストン11との間に燃焼室14を画成するシリンダヘッド15が取り付けられている。
このシリンダヘッド15には、一対の吸気ポート16と一対の排気ポート17とが燃焼室14に臨むように形成され、これら吸気ポート16の開口端および排気ポート17の開口端は、ピストン11の往復運動、つまりコンロッド18を介してピストン11に連結されたクランク軸19の回転運動に連動して所定のタイミングにて往復動する吸気弁20および排気弁21によりそれぞれ開閉されるようになっている。吸気ポート16内に燃料を噴射する燃料噴射弁22もシリンダヘッド15に取り付けられ、ピストン11の往復運動に連動して所定のタイミングにて燃料を吸気ポート16内に噴射し、この吸気ポート16内を流れる吸気と共に燃焼室14に送られるようになっている。
また、このシリンダヘッド15には、点火ギャップ23が燃焼室14の径方向中央部に臨むように配された点火プラグ24が取り付けられている。この点火プラグ24の点火ギャップ23には、クランク軸19の回転運動に連動して所定のタイミングにて高電圧が印加され、混合気中に含まれる燃料の点火を行うようになっている。
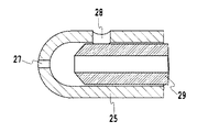
さらにこのシリンダヘッド15には、吸気ポート16と排気ポート17との対向方向(図1中、左右方向)に180°相隔てて位置するように、燃焼室14の外周縁部にそれぞれノズル25が臨む一対の高圧ガス噴射弁26が設けられている。これら高圧ガス噴射弁26は、図2中の矢印で示すように、点火プラグ24による燃料の点火直後に高圧ガス、本実施形態では高圧空気を燃焼室14の径方向中央部に向けて同時に噴射すると共に燃焼室14を囲むシリンダ12の内周壁に沿って同じ方向に高圧空気を噴射し、点火ギャップ23近傍に介在する混合気の乱流を増大させると共にシリンダ12の内周壁近傍に介在する未燃状態にある混合気の乱流を増大させ、燃焼後期における燃焼速度の低下を抑えて未燃混合気に自己着火する猶予を与えず、これによってノッキングの発生を抑制するためのものである。このため、高圧ガス噴射弁26の各ノズル25には、燃焼室14の径方向中央部に向けて高圧空気を噴射する第1の噴射孔27と、燃焼室14を囲むシリンダ12の内周壁に沿って同じ方向に高圧空気を噴射する第2の噴射孔28とが形成されている。また、本実施形態における高圧ガス噴射弁26は、第2の噴射孔28を開閉するための円筒状をなすプランジャ29をノズル25内に組み込んでおり、内側を高圧空気が流れるこのプランジャ29は、図示しない一対のソレノイドによって第2の噴射孔28を塞ぐ図3に示した状態と、第2の噴射孔28を開放する図4に示した状態とに切り替えられる。
この第2の噴射孔28の開放動作は、基本的に第1の噴射孔27からの高圧空気の噴射を開始してから所定時間後に行われるように設定されているが、車両の運転状況によっては第2の噴射孔28を開放した状態に保持しておき、第1および第2の噴射孔28から同時に高圧空気を燃焼室14内に噴射するようにしてもよい。
高圧ガス噴射弁26に高圧空気をそれぞれ供給する空気加圧ポンプ30は、クランク軸19に歯付きベルト31を介して連結され、クランク軸19の回転に連動して例えば10MPa以上の高圧空気を作り出すようになっている。この高圧ガス噴射弁26もピストン11の往復運動、つまりクランク軸19の回転運動に連動して所定のタイミングにて高圧空気を燃焼室14内に直接噴射するようになっている。この場合、燃焼室14内に高圧空気を吹き込むことによって、燃焼室14内の混合気の空燃比がリーン側に変化するが、高圧空気の吹き込み前に混合気の燃焼が進行しているため、燃焼の継続性に悪影響をそれほど及ぼすおそれはない。
このように、点火プラグ24の点火直後に10MPa以上の高圧空気を燃焼室14内に噴射することにより、点火ギャップ23近傍に介在する混合気の乱流が増大し、着火遅れを短縮して燃焼の安定性を向上させ、空燃比をよりリーンにして燃費を向上させることができる。しかも、混合気の燃焼中に燃焼室14を囲むシリンダ12の内周壁近傍に介在する混合気をこのシリンダ12の内周壁に沿って流動させることができるため、未燃状態にある混合気の乱流が増大し、燃焼後期における燃焼速度の低下を抑えて未燃混合気に自己着火する猶予を与えず、これによってノッキングの発生が抑制されることとなる。
燃料噴射弁22からの燃料の噴射量やその噴射タイミングおよび点火プラグ24の点火時期、ならびに高圧ガス噴射弁26からの高圧空気の噴射量やその噴射タイミングなどは、運転者によって踏み込まれる図示しないアクセルペダルの踏み込み量を検出するアクセル開度センサ32からの検出信号と、車両の走行速度を検出する車速センサ33からの検出信号と、クランク軸19の回転位相を検出するクランク角センサ34からの検出信号とに基づき、制御装置35によってあらかじめ設定された関係にて制御されるようになっている。
上述した実施形態では、エンジンのクランク軸19に連動する空気加圧ポンプ30を用いて高圧空気を高圧ガス噴射弁26に供給するようにしたが、空気以外に水素あるいは比熱比の比較的大きな不活性ガス、例えばアルゴンやヘリウムなどの他に、水蒸気などを高圧ガス噴射弁26から燃焼室14内に噴射させるようにしてもよい。特に水素ガスを用いた場合には、着火性の良好な水素ガス自体を燃料として機能させることもできるので、内燃機関の出力増大を同時に企図することが可能となる。また、水蒸気を用いる場合には排気ポート17から排出される排気ガスの熱を利用して水を加熱し、これを気化させて水蒸気として利用することができる。
さらに本実施形態では、可動式のプランジャ29が組み込まれたノズル25を有する高圧ガス噴射弁を使用し、シリンダ12の内壁に沿って圧縮空気を噴射する直前に径方向中央側に向けて圧縮空気を噴射するようにしたが、上述したように、これら圧縮空気を燃焼室14内に同時に噴射させることも可能である。この場合には、より単純な機構の高圧ガス噴射弁を使用することができるので、部品コストなどの上昇を抑制することができる。
本発明によるノッキング抑制装置を火花点火内燃機関に応用した一実施形態の概略構造を表す断面図である。 図1中のII−II矢視断面における高圧空気の流れを模式的に表す概念図である。 図1に示した高圧ガス噴射弁におけるノズルの断面図であり、噴射初期の状態を表す。 図1に示した高圧ガス噴射弁におけるノズルの断面図であり、噴射後期の状態を表す。 図1に示した実施形態における制御ブロック図である。
符号の説明
11 ピストン
12 シリンダ
13 シリンダブロック
14 燃焼室
15 シリンダヘッド
16 吸気ポート
17 排気ポート
18 コンロッド
19 クランク軸
20 吸気弁
21 排気弁
22 燃料噴射弁
23 点火ギャップ
24 点火プラグ
25 ノズル
26 高圧ガス噴射弁
27 第1の噴射孔
28 第2の噴射孔
29 プランジャ
30 空気加圧ポンプ
31 歯付きベルト
32 アクセル開度センサ
33 車速センサ
34 クランク角センサ
35 制御装置

Claims (9)

  1. 内燃機関の燃焼室内に空気と燃料とを供給して混合気を形成するステップと、
    前記燃焼室の径方向中央部に点火ギャップが配された点火プラグを点火して前記燃焼室内の混合気を燃焼させるステップと、
    前記燃焼室の外周端縁部の吸気ポート側および排気ポート側から燃焼室の径方向中央部に向けて高圧ガスを吹き込むステップと、
    前記燃焼室の外周端縁部の吸気ポート側および排気ポート側から燃焼室を囲むシリンダの内周壁に沿って同じ方向に高圧ガスを吹き込むステップと
    を具えたことを特徴とするノッキング抑制方法。
  2. 前記燃焼室内に高圧ガスを吹き込むステップは、前記点火プラグの点火直後に行われることを特徴とする請求項1に記載のノッキング抑制方法。
  3. 前記燃焼室の径方向中央部に高圧ガスを吹き込むステップは、前記シリンダの内周壁に沿って高圧ガスを吹き込むステップに先立って行われることを特徴とする請求項1または請求項2に記載のノッキング抑制方法。
  4. 前記燃焼室の径方向中央部への高圧ガスの吹き込み量は、前記シリンダの内周壁に沿った高圧ガスの吹き込み量よりも少ないことを特徴とする請求項1から請求項3の何れかに記載のノッキング抑制方法。
  5. 内燃機関の燃焼室の径方向中央部に点火ギャップが配された点火プラグと、
    前記燃焼室の外周端縁部の吸気ポート側および排気ポート側に配されるノズルをそれぞれ有し、これらノズルから前記燃焼室の径方向中央部に高圧ガスをそれぞれ噴射すると共に燃焼室を囲むシリンダの内周壁に沿って同じ方向に高圧ガスをそれぞれ噴射する一対の高圧ガス噴射弁と
    を具えたことを特徴とするノッキング抑制装置。
  6. 前記高圧ガス噴射弁からの高圧ガスは、前記点火プラグの点火直後に噴射されることを特徴とする請求項4に記載のノッキング抑制装置。
  7. 前記高圧ガス噴射弁のノズルは、前記燃焼室の径方向中央部を向く第1の開口と、前記シリンダの内周壁に沿った第2の開口とを有し、この第2の開口からの高圧ガスの噴射に先立って前記第1の開口から高圧ガスが噴射されることを特徴とする請求項4または請求項5に記載のノッキング抑制装置。
  8. 前記ノズルの第1の開口の開口面積は、前記第2の開口の開口面積よりも小さいことを特徴とする請求項7に記載のノッキング抑制装置。
  9. 高圧ガスが圧縮空気か、水素または不活性ガスか、あるいは水蒸気であることを特徴とする請求項5から請求項8の何れかに記載のノッキング抑制装置。
JP2003435929A 2003-12-26 2003-12-26 ノッキング抑制方法およびその装置 Withdrawn JP2005194897A (ja)

Priority Applications (1)

Application Number Priority Date Filing Date Title
JP2003435929A JP2005194897A (ja) 2003-12-26 2003-12-26 ノッキング抑制方法およびその装置

Applications Claiming Priority (1)

Application Number Priority Date Filing Date Title
JP2003435929A JP2005194897A (ja) 2003-12-26 2003-12-26 ノッキング抑制方法およびその装置

Publications (1)

Publication Number Publication Date
JP2005194897A true JP2005194897A (ja) 2005-07-21

Family

ID=34815833

Family Applications (1)

Application Number Title Priority Date Filing Date
JP2003435929A Withdrawn JP2005194897A (ja) 2003-12-26 2003-12-26 ノッキング抑制方法およびその装置

Country Status (1)

Country Link
JP (1) JP2005194897A (ja)

Cited By (2)

* Cited by examiner, † Cited by third party
Publication number Priority date Publication date Assignee Title
CN103206318A (zh) * 2013-03-12 2013-07-17 张英华 节能柴油发动机
KR20160149575A (ko) * 2015-06-18 2016-12-28 현대중공업 주식회사 노킹 제어 시스템이 구비된 엔진 및 엔진의 노킹 제어 방법

Cited By (3)

* Cited by examiner, † Cited by third party
Publication number Priority date Publication date Assignee Title
CN103206318A (zh) * 2013-03-12 2013-07-17 张英华 节能柴油发动机
KR20160149575A (ko) * 2015-06-18 2016-12-28 현대중공업 주식회사 노킹 제어 시스템이 구비된 엔진 및 엔진의 노킹 제어 방법
KR102172165B1 (ko) * 2015-06-18 2020-10-30 한국조선해양 주식회사 노킹 제어 시스템이 구비된 엔진 및 엔진의 노킹 제어 방법

Similar Documents

Publication Publication Date Title
JP4501950B2 (ja) 内燃機関の燃焼制御装置
JP5922830B1 (ja) ガスエンジン
KR20220047528A (ko) 수소 연료 내연기관의 작동 방법
JP2018184869A (ja) 内燃機関の制御装置
JP3952710B2 (ja) 圧縮自己着火式内燃機関
JP4073315B2 (ja) 副室式エンジン
JP2009036086A (ja) 直噴式エンジン及びその制御方法
JP3886949B2 (ja) ガスエンジンの燃料制御装置及び燃料制御方法
JP3953346B2 (ja) 副室式希薄燃焼ガスエンジン
JP2004197660A (ja) 内燃機関および内燃機関の燃焼方法
JP2005194897A (ja) ノッキング抑制方法およびその装置
JP4492399B2 (ja) 筒内直接噴射式火花点火内燃機関の制御装置および制御方法
JP4161828B2 (ja) 内燃機関の制御装置及び内燃機関のノッキング抑制方法
JP4145177B2 (ja) エンジン及びその運転方法
JP2007138780A (ja) 副室式内燃機関
JP2008157197A (ja) 筒内噴射式火花点火内燃機関
JP2007162631A (ja) 内燃機関の制御装置
JP2004108225A (ja) 圧縮着火式内燃機関における燃焼制御装置
JP2007192235A (ja) 火花点火内燃機関の制御装置及び方法
JP6292249B2 (ja) 予混合圧縮着火式エンジン
JP2005163730A (ja) ノッキング抑制方法およびその装置
JP4618181B2 (ja) 予混合圧縮自己着火型のガソリン内燃機関
JP4609227B2 (ja) 内燃機関
US20250172104A1 (en) Apparatus and method for managing autoignition in an in-cylinder injector and combustion chamber of an internal combustion engine
JP2006002719A (ja) 内燃機関の制御装置

Legal Events

Date Code Title Description
A621 Written request for application examination

Free format text: JAPANESE INTERMEDIATE CODE: A621

Effective date: 20060531

A761 Written withdrawal of application

Free format text: JAPANESE INTERMEDIATE CODE: A761

Effective date: 20061220