JP2005164609A - 陽電子放出型ct装置 - Google Patents
陽電子放出型ct装置 Download PDFInfo
- Publication number
- JP2005164609A JP2005164609A JP2005008501A JP2005008501A JP2005164609A JP 2005164609 A JP2005164609 A JP 2005164609A JP 2005008501 A JP2005008501 A JP 2005008501A JP 2005008501 A JP2005008501 A JP 2005008501A JP 2005164609 A JP2005164609 A JP 2005164609A
- Authority
- JP
- Japan
- Prior art keywords
- ray
- radiation detector
- ray source
- radiation
- rays
- Prior art date
- Legal status (The legal status is an assumption and is not a legal conclusion. Google has not performed a legal analysis and makes no representation as to the accuracy of the status listed.)
- Pending
Links
Images
Landscapes
- Measurement Of Radiation (AREA)
- Apparatus For Radiation Diagnosis (AREA)
- Nuclear Medicine (AREA)
Abstract
【課題】
装置構成が単純化された放射線検査装置を提供することにある。
【解決手段】
放射線検査装置1の撮像装置2は、放射線検出器環状体3、及び放射線検出器環状体3より内側で放射線検出器環状体3に沿って周回するX線源9を有する。放射線検出器環状体3は環状保持部5の内側に環状に設置された多数の放射線検出器4を含む。被検診者
35が乗ったベッド16が放射線検出器環状体3の孔部30内に挿入され、X線CT検査及びPET検査が実施される。環状に配置された複数の放射線検出器4によって、被検診者35から放出される複数のγ線の対を検出できると共に、周方向に移動するX線源9から放出されて被検診者35を透過したX線も検出できる。X線源9は放射線検出器環状体3の横または放射線検出器環状体3の周囲を周回してもよい。
【選択図】図1
装置構成が単純化された放射線検査装置を提供することにある。
【解決手段】
放射線検査装置1の撮像装置2は、放射線検出器環状体3、及び放射線検出器環状体3より内側で放射線検出器環状体3に沿って周回するX線源9を有する。放射線検出器環状体3は環状保持部5の内側に環状に設置された多数の放射線検出器4を含む。被検診者
35が乗ったベッド16が放射線検出器環状体3の孔部30内に挿入され、X線CT検査及びPET検査が実施される。環状に配置された複数の放射線検出器4によって、被検診者35から放出される複数のγ線の対を検出できると共に、周方向に移動するX線源9から放出されて被検診者35を透過したX線も検出できる。X線源9は放射線検出器環状体3の横または放射線検出器環状体3の周囲を周回してもよい。
【選択図】図1
Description
本発明は、陽電子放出型CT装置(ポジトロン・エミッション・コンピューテッド・トモグラフィ(Positron Emission Computed Tomography)、以下、PETという)に関するものである。
放射線を利用した検査技術は、被検体の内部を非破壊で検査することができる。特に人体を被検体とする放射線検査としては、X線CT,PET及び単光子放出型CT装置(シングル・フォトン・エミッション・コンピューテッド・トモグラフィ(Single Photon
Emission Computed Tomography))、以下、SPECTという)等がある。これらの技術はいずれも、人体から放出された放射線の積分値(飛翔方向)の物理量を計測し、その積分値を逆投影することにより人体内の各ボクセルの物理量を計算し画像化する。この画像化のためには膨大なデータを処理する必要がある。近年のコンピュータ技術の急速な発達は、人体の断層像を高速・高精細に提供できるようになった。
Emission Computed Tomography))、以下、SPECTという)等がある。これらの技術はいずれも、人体から放出された放射線の積分値(飛翔方向)の物理量を計測し、その積分値を逆投影することにより人体内の各ボクセルの物理量を計算し画像化する。この画像化のためには膨大なデータを処理する必要がある。近年のコンピュータ技術の急速な発達は、人体の断層像を高速・高精細に提供できるようになった。
X線CTは、X線源よりX線を被検診者に照射し、被検診者の体内を通過したX線強度を測定してX線の体内通過率から被検診者における断面の形態情報を画像化する、すなわち被検診者の断層像を得る技術である。被検診者の体内を通過したX線強度を被検診者に対してX線源の反対側に配置した放射線検出器により測定し、測定されたX線強度を用いてX線源と放射線検出器との間の線減弱係数を求める。X線源及び放射線検出器を、同時に被検診者の周囲を旋回させて体内における線減弱係数の分布を求める。この線減弱係数を非特許文献1に記載されているフィルタードバックプロジェクション法(Filtered BackProjection Method)などを用いて各ボクセルの線減弱係数を求め、その値をCT値に変換する。X線CTによく用いられる線源は約80keV前後である。
一方、PET及びSPECTは、X線CT等では検出できない分子生物学レベルでの機能及び代謝の検出が可能であり、被検診者の体内の機能画像を提供することができる。
PETは、陽電子放出核種(15O,13N,11C,18F等)、及び体内の特定の細胞に集まる性質を有する物質を含む放射性薬剤を被検診者に投与し、その放射性薬剤が体内のどの部位で多く消費されているかを調べる方法である。放射性薬剤の一例として、フルオロデオキシグルコース(2-[F-18]fluoro-2-deoxy-D-glucose、18FDG)がある。18FDGは、糖代謝により腫瘍組織に高集積するため、腫瘍部位の特定に使用される。特定の個所に集積した放射性薬剤に含まれた陽電子放出核種から放出された陽電子が、付近の細胞の電子と結合して消滅し、511keVのエネルギーを有する一対のγ線を放射する。これらのγ線は、互いにほぼ正反対の方向(180°±0.6°) に放射される。この一対のγ線をγ線検出器で検知すれば、どの2つのγ線検出器の間で陽電子が放出されたかがわかる。それらの多数のγ線対を検知することで、放射性薬剤を多く消費する場所がわかる。例えば、18FDGは前述のように糖代謝の激しい癌細胞に集まるため、PETにより癌病巣を発見することが可能である。なお、得られたデータは、先ほど示したフィルタードバックプロジェクション方法により各ボクセルの放射線発生密度に変換され、γ線の発生位置(放射線核種が集積する位置、すなわち癌細胞の位置)を画像化することに貢献する。PETに用いられる15O,13N,11C,18Fは2分から110分の短半減期の放射性同位元素である。
PETによる検査では、陽電子消滅の際に発生するγ線が被検診者の体内で減衰するため、トランスミッション像を撮像し補正する。トランスミッション像とは、例えば放射線源にセシウムを用いてγ線を入射させ、被検診者の体内を透過したγ線の強度を測定することにより体内におけるγ線の減衰率を測定する方法である。得られたγ線減衰率を用いて体内でのγ線減衰率を見積もりPETで得られたデータを補正することにより、より高精度なPET像を得ることが可能である。
SPECTは、単光子放出核種を含む放射性薬剤を被検診者に投与し、核種から放出されるγ線をγ線検出器で検出する。SPECTによる検査時によく用いられる単光子放出核種から放出されるγ線のエネルギーは数100keV前後である。SPECTの場合、単一γ線が放出されるため、γ線検出器に入射した角度が得られない。そこで、コリメータを用いて特定の角度から入射するγ線のみを検出することにより角度情報を得ている。SPECTは、特定の腫瘍や分子に集積する性質を有する物質、及び単光子放出核種
(99Tc,67Ga,201Tl等)を含む放射性薬剤を被検診者に投与し、放射性薬剤より発生するγ線を検知して放射性薬剤を多く消費する場所(例えば、癌細胞が存在する場所)を特定する検査方法である。SPECTの場合も、得られたデータはフィルタードバックプロジェクションなどの方法により各ボクセルのデータに変換する。なお、SPECTでもトランスミッション像を撮影することがしばしばある。SPECTに用いられる99Tc,67Ga,201Tl は、PETに用いられる放射性同位元素の半減期よりも長く6時間から3日である。
(99Tc,67Ga,201Tl等)を含む放射性薬剤を被検診者に投与し、放射性薬剤より発生するγ線を検知して放射性薬剤を多く消費する場所(例えば、癌細胞が存在する場所)を特定する検査方法である。SPECTの場合も、得られたデータはフィルタードバックプロジェクションなどの方法により各ボクセルのデータに変換する。なお、SPECTでもトランスミッション像を撮影することがしばしばある。SPECTに用いられる99Tc,67Ga,201Tl は、PETに用いられる放射性同位元素の半減期よりも長く6時間から3日である。
上述のようにPET及びSPECTは、体内代謝を利用して機能画像を得るために、放射性薬剤が集積した部位をコントラスト良く抽出できるが、周辺臓器との位置関係を把握できない問題がある。そこで、近年、X線CTによって得られた断層像である形態画像と、PETまたはSPECTによって得られた断層像である機能画像とを合成してより高度な診断を行う技術が注目されている。本技術の一例として、特許文献1記載の技術がある。
特許文献1記載の放射線検査装置は、X線CT検査装置とPET検査装置とを直列に設置し、被検診者が横たわっているベッドを水平方向に移動させて両検査装置を用いて被検診者の検査を行う。この場合、2つの検査を行う時間間隔が短く、被検診者はベッドの上で殆ど動かないため2つの検査装置で得られた撮像データであるPETデータとX線CTデータの対応関係が分かる。その対応関係の情報を用いて、PETデータとX線CTデータとを合成し、被検診者の病巣位置の特定を行っている。
特許文献2は、ベッドを兼用して、X線CT検査装置とSPECT検査装置を直列に配置した放射線検査装置を記載している。各検査装置で得られた撮像データであるX線CTデータとSPECTデータとを合成し、被検診者の病巣位置の特定を行っている。
上記の各公開公報に記載された放射線検査装置では、一見すると2つの撮像データの位置関係が明確であるように思えるが、被検体である被検診者が両検査装置の間で動く可能性がある。最近のPET検査装置の分解能は約5mmであり、X線CT検査装置の分解能はそれよりも約1桁小さく約0.5mm である。そのため、両検査装置の間で被検診者が動いたり、被検診者の角度が変われば両検査装置で得られた各撮像データの対応関係が不明瞭になる。その結果、例えば、各々の撮像データを画像再構成した後、共通して各像に存在する特徴領域を抽出し、その特徴領域の位置関係から、各画像の位置関係を求め、位置合わせを行う必要が生じる。また、これらの放射線検査装置は、放射線検出器等をそれぞれ有する2つの撮像装置を備えているため装置構成が複雑である。
本発明の目的は、装置構成が単純化された陽電子放出型CT装置を提供することにある。
上記の目的を達成する本発明の特徴は、撮像装置が、環状に設置された複数の放射線検出器を有する放射線検出器環状体と、X線を放出するX線源と、X線源を放射線検出器環状体よりも内側で放射線検出器環状体の周方向へ移動させるX線源移動手段とを含んでおり、放射線検出器が、被検体を透過したX線の検出信号である第1検出信号、及び被検体から放出されるγ線の検出信号である第2検出信号を出力することにある。
複数の放射線検出器が環状に配置されているため、これらの放射線検出器によって、被検体から放出される複数のγ線の対を検出できると共に、周方向に移動するX線源から放出されて被検体を透過したX線も検出できる。このため、放射線検査装置の構成が単純化できる。
上記の目的を達成する他の特徴は、撮像装置が、環状に設置された複数の放射線検出器を有する放射線検出器環状体と、X線を放出するX線源と、X線源を放射線検出器環状体よりも内側で放射線検出器環状体の周方向へ移動させるX線源移動手段とを含んでおり、放射線検出器が、被検体を透過したX線の検出信号である第1検出信号、及び被検体から放出されたγ線の検出信号である第2検出信号を含む出力信号を出力することにある。
本発明によれば、環状に配置された複数の放射線検出器によって、被検体から放出される複数のγ線の対を検出できると共に、周方向に移動するX線源から放出されて被検体を透過したX線も検出できる。このため、放射線検査装置の構成が単純化できる。
本発明の各実施例を、図面を用いて説明する。
(実施例1)
本発明の好適な一実施例である放射線検査装置を、図1及び図2に基づいて説明する。本実施例の放射線検査装置1は、撮像装置2,被検診者保持装置14,信号弁別装置19,同時計数装置26,コンピュータ(例えば、ワークステーション)27,記憶装置28及び表示装置29を備えている。被検診者保持装置14は、支持部材15、および支持部材15の上端部に位置して長手方向に移動可能に支持部材15に設置されたベッド16を有する。撮像装置2は、ベッド16の長手方向に対して直角の方向に設置されており、放射線検出器環状体3,X線源周方向移動装置7,駆動装置制御装置17及びX線源制御装置18を有する。放射線検出器環状体3は、環状保持部5、及び環状保持部5の内側に環状に設置された多数の放射線検出器4を含む。放射線検出器環状体3の放射線検出器4の内側に、ベッド16が挿入される貫通した孔部30が形成される。多数の放射線検出器4(合計約10000個)は、環状保持部5に周方向のみならず孔部30の軸方向にも複数列設置されている。放射線検出器4は、半導体放射線検出器であり、検出部である5mm立方体の半導体素子部をカドミウムテルル(CdTe)で構成している。その検出部はガリウムヒ素(GaAs)またはカドミウムテルル亜鉛(CZT)で構成してもよい。環状保持部5は、支持部材6上に設置される。支持部材6及び15は、互いに連結されており、かつ検査室の床に据付けられている。駆動装置制御装置17及びX線源制御装置18は環状保持部5の外面に設置される。
本発明の好適な一実施例である放射線検査装置を、図1及び図2に基づいて説明する。本実施例の放射線検査装置1は、撮像装置2,被検診者保持装置14,信号弁別装置19,同時計数装置26,コンピュータ(例えば、ワークステーション)27,記憶装置28及び表示装置29を備えている。被検診者保持装置14は、支持部材15、および支持部材15の上端部に位置して長手方向に移動可能に支持部材15に設置されたベッド16を有する。撮像装置2は、ベッド16の長手方向に対して直角の方向に設置されており、放射線検出器環状体3,X線源周方向移動装置7,駆動装置制御装置17及びX線源制御装置18を有する。放射線検出器環状体3は、環状保持部5、及び環状保持部5の内側に環状に設置された多数の放射線検出器4を含む。放射線検出器環状体3の放射線検出器4の内側に、ベッド16が挿入される貫通した孔部30が形成される。多数の放射線検出器4(合計約10000個)は、環状保持部5に周方向のみならず孔部30の軸方向にも複数列設置されている。放射線検出器4は、半導体放射線検出器であり、検出部である5mm立方体の半導体素子部をカドミウムテルル(CdTe)で構成している。その検出部はガリウムヒ素(GaAs)またはカドミウムテルル亜鉛(CZT)で構成してもよい。環状保持部5は、支持部材6上に設置される。支持部材6及び15は、互いに連結されており、かつ検査室の床に据付けられている。駆動装置制御装置17及びX線源制御装置18は環状保持部5の外面に設置される。
X線源周方向移動装置7は、X線源装置8、及び環状のX線源装置保持部13を備える。X線源装置保持部13は、環状保持部5の一端部で環状保持部5の外面に取付けられる。環状のガイドレールであるスキャンレール12が、X線源装置保持部13の一端面に設置される。スキャンレール12及びX線源装置保持部13は孔部30の周囲を取囲む。X線源装置8は、X線源9,X線源駆動装置10及び軸方向移動アーム11を有する。X線源駆動装置10は、ケーシング内に、図示されていないが、第1モーター、及び減速機構を有する動力伝達機構を備える。動力伝達機構は第1モーターの回転軸に連結される。軸方向移動アーム11はX線源駆動装置10のケーシングに取付けられて孔部30内に延びている。X線源9は軸方向移動アーム11に取付けられる。軸方向移動アーム11は、孔部30の軸方向に伸縮し、X線源9を孔部30の軸方向に移動させる。軸方向移動アーム11は、X線源駆動装置10に設置された第2モーター(図示せず)の作動により伸縮される。X線源駆動装置10は、落下しないようにかつスキャンレール12に沿って移動可能にスキャンレール12に取付けられる。X線源駆動装置10は、図示していないが、前述の動力伝達機構から回転力を受けるピニオンを有する。このピニオンはスキャンレール12に設けられたラックと噛合う。
X線源9は図示されていないが公知のX線管を有する。このX線管は、陽極,陰極,陰極の電流源、及び陽極と陰極との間に電圧を印加する電圧源を外筒内に備える。陰極はタングステン製のフィラメントである。電流源から陰極に電流を流すことによってフィラメントから電子が放出される。この電子は、電圧源から陰極と陽極との間に印加される電圧(数百kV)によって加速され、ターゲットである陽極(W,Mo等)に衝突する。電子の陽極への衝突により80keVのX線が発生する。このX線がX線源9から放出される。
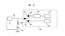
各放射線検出器4は、それぞれ配線23によって対応する信号弁別装置19に接続される。信号弁別装置19は個々の放射線検出器4毎に1個設けられる。信号弁別装置の詳細な構成を図3に示す。信号弁別装置19は、切替スイッチ31,波形整形装置20,γ線弁別装置21、及びX線強度を求める信号処理装置22を備える。切替装置である切替スイッチ31は、可動端子32、及び固定端子33及び34を有する。配線23は可動端子32に接続される。波形整形装置20は固定端子33及びγ線弁別装置21に接続される。信号処理装置22は固定端子34に接続される。電源25のマイナス端子は抵抗24を介して配線23に接続され、電源25のプラス端子は放射線検出器4に接続される。γ線弁別装置21は同時計数装置26を介してコンピュータ27に接続される。同時計数装置26は1個でありγ線弁別装置21に接続される。同時計数装置26は、幾つかのγ線弁別装置21毎に設けても良い。各信号処理装置22はコンピュータ27に接続される。記憶装置28及び表示装置29がコンピュータ27に接続される。信号弁別装置19は信号処理装置である。この信号処理装置は、信号処理装置22を含む第1の信号処理装置、及び波形整形装置20及びγ線弁別装置21を有する第2信号処理装置を備える。
本実施例は、X線CT検査(X線源9から放射されて被検診者の体内を透過したX線を放射線検出器で検出する行為)及びPET検査(PET用の放射性薬剤に起因して被検診者の体内から放射されるγ線を放射線検出器で検出する行為)を一台の撮像装置2を用いて行う例である。
放射線検査を行う前に、まず、被検体である被検診者35に、予め注射などの方法によりPET用の前述した放射性薬剤が、体内投与放射能が370MBqになるように、被検体である被検診者35に投与される。放射性薬剤は、検査目的(癌の場所を把握、または心臓の動脈流の検査等)に応じて選ばれる。被検診者35は、放射性薬剤が撮像可能な状態に体内に拡散して患部に集まるまでの所定時間の間、待機する。その所定時間の経過によって放射性薬剤は、被検診者35の患部(例えば癌の患部)に集まる。その所定時間が経過した後、被検診者35を被検診者保持装置14のベッド16上に寝かせる。なお、検査の種類によっては、放射性薬剤をベッド16上に寝かせられた被検診者35に投与することもある。また、半減期が2分である15Oを使用する場合には、それを被検診者35に投与しながら撮像装置2による撮像を行う。
本実施例における検査を具体的に説明する前に、本実施例の放射線検出の原理について説明する。本実施例は、発明者らによる以下の検討に基づいてなされた。X線CT像(X線CTによって得られた、被検体の、内臓及び骨の画像を含む断層像)のデータは、X線源から放射されたX線を特定の方向に所定時間の間、被検体に照射し、体内を透過したX線を放射線検出器により検出する作業(スキャン)を繰り返し、複数の放射線検出器で検出されたX線の強度に基づいて作成される。精度の良いX線CT像のデータを得るためには、X線CT検査において、X線を検出している放射線検出器に、PET用の放射性薬剤に起因して被検体の内部から放出されるγ線が入射しないことが望ましい。このためには、「1つの放射線検出器においては、γ線の入射率に対応して被検体へのX線の照射時間を短くすればγ線の影響は無視可能である」との発明者らの新しい知見に基づいて、被検体へのX線の照射時間の短縮を図った。そのX線の照射時間Tを決めるために、まず、1つの放射線検出器へのγ線の入射率を考える。PET検査において被検体に投与するPET用の放射性薬剤に基づいた体内の放射能をN(Bq),発生するγ線の体内通過率をA、1つの放射線検出器の立体角から求めた入射率をB、検出素子の感度をCとすると、1つの放射線検出器で検出するγ線の率α(個/sec )は(1)式で与えられる。(1)式において係数の「2」は、1個の陽電子消滅の際に一対(2個)のγ線が放出されることを意味
α=2NABC ……(1)
している。照射時間T内に1つの検出素子でγ線が検出される確率Wは(2)式で与えられる。(2)式のWの値を小さくするように照射時間Tを決めることによって、X線CT
W=1−exp(−Tα) ……(2)
検査時に、1つの放射線検出器に入射されるγ線の影響は無視できる程度になる。
α=2NABC ……(1)
している。照射時間T内に1つの検出素子でγ線が検出される確率Wは(2)式で与えられる。(2)式のWの値を小さくするように照射時間Tを決めることによって、X線CT
W=1−exp(−Tα) ……(2)
検査時に、1つの放射線検出器に入射されるγ線の影響は無視できる程度になる。
X線の照射時間Tの一例を以下に述べる。(1)および(2)式に基づいて具体的なX線の照射時間Tを求めた。PET検査において被検体に投与する放射性薬剤に起因する体内での放射線の強度は、最大で370MBq程度であり(N=370MBq)、γ線の体内通過率Aは被検体の体を半径15cmの水と仮定すれば0.6程度(A=0.6)である。例えば一辺5mmの放射線検出器を半径50cmでリング状に配置する場合を考えると、1つの放射線検出器の立体角から求めた入射率Bは8×10-6(B=8×10-6)である。また、放射線検出器の検出感度Cは半導体放射線検出器を使用した場合最大で0.6 程度
(C=0.6)である。これらの値から1つの放射線検出器のγ線の検出率αは2000
(個/sec)程度である。X線の照射時間Tを例えば1.5μsec とすれば、1つの放射線検出器がX線検出中にγ線を検出する確率Wは0.003 となり、このγ線はほとんど無視できる。体内投与放射能を360MBq以下とした場合、X線の照射時間を1.5μsec以下にすれば、W<0.003つまりγ線の検出確率は0.3%以下となり無視できる。
(C=0.6)である。これらの値から1つの放射線検出器のγ線の検出率αは2000
(個/sec)程度である。X線の照射時間Tを例えば1.5μsec とすれば、1つの放射線検出器がX線検出中にγ線を検出する確率Wは0.003 となり、このγ線はほとんど無視できる。体内投与放射能を360MBq以下とした場合、X線の照射時間を1.5μsec以下にすれば、W<0.003つまりγ線の検出確率は0.3%以下となり無視できる。
上記の原理を適用した本実施例を用いたX線CT検査及びPET検査について具体的に説明する。本実施例におけるX線CT検査及びPET検査は、PET用の放射性薬剤が投与された被検診者35が横たわっているベッド16を移動させて被検診者35を孔部30内に挿入された状態で撮像装置2を用いて行われる。
X線源制御装置18はX線源9からのX線の放出時間を制御する。すなわち、X線源制御装置18は、X線CT検査中において、X線発生信号を出力してX線源9におけるX線管の陽極(または陰極)と電源との間に設けられた開閉器(以下、X線源開閉器という、図示せず)を閉じ、第1設定時間経過した時にX線停止信号を出力してX線源開閉器を開き、そして第2設定時間経過した時にX線源開閉器を閉じる、という制御を繰り返す。陽極と陰極との間には、第1設定時間の間で電圧が印加され、第2設定時間の間で電圧が印加されない。この制御によって、X線管からX線がパルス状に放出される。第1設定時間である照射時間Tは、放射線検出器4でのγ線の検出確率を無視できるように例えば1
μsec に設定される。第2設定時間は、X線源9が1つの放射線検出器4とこれに周方向において隣接する他の放射線検出器4の間を移動する時間T0であり、スキャンレール
12の周方向におけるX線源9の移動速度で定まる。第1及び第2設定時間はX線源制御装置に記憶されている。
μsec に設定される。第2設定時間は、X線源9が1つの放射線検出器4とこれに周方向において隣接する他の放射線検出器4の間を移動する時間T0であり、スキャンレール
12の周方向におけるX線源9の移動速度で定まる。第1及び第2設定時間はX線源制御装置に記憶されている。
駆動装置制御装置17は、X線CT検査を開始するとき、駆動開始信号を出力して、X線源駆動装置10の第1モーターに接続された、電源とつながる開閉器(以下、第1モーター開閉器という)を閉じる。電流の供給により第1モーターが回転し、その回転力が動力伝達機構を介してピニオンに伝えられ、ピニオンが回転する。ピニオンがスキャンレール12のラックと噛合っているため、X線源装置8、すなわちX線源9がスキャンレール12に沿って周方向に移動する。X線源9は、孔部30内に挿入された状態で被検診者
35の周囲を設定速度で移動する。X線CT検査終了時には、駆動装置制御装置17は駆動停止信号を出力して第1モーター開閉器を開く。これによって、X線源9の周方向への移動が停止される。本実施例では、周方向に環状に配置された全ての放射線検出器4は、その周方向に移動しなく、かつ孔部30の軸方向にも移動しない。移動しないX線源制御装置及び駆動装置制御装置から移動するX線源装置への制御信号の伝送はX線源装置の移動に支障にならない公知の技術を適用する。
35の周囲を設定速度で移動する。X線CT検査終了時には、駆動装置制御装置17は駆動停止信号を出力して第1モーター開閉器を開く。これによって、X線源9の周方向への移動が停止される。本実施例では、周方向に環状に配置された全ての放射線検出器4は、その周方向に移動しなく、かつ孔部30の軸方向にも移動しない。移動しないX線源制御装置及び駆動装置制御装置から移動するX線源装置への制御信号の伝送はX線源装置の移動に支障にならない公知の技術を適用する。
X線CT検査を開始する際に駆動装置制御装置17から出力された駆動開始信号はX線源制御装置18に入力される。X線源制御装置18は、駆動開始信号の入力に基づいてX線発生信号を出力する。その後、X線停止信号及びX線発生信号を繰返して出力する。X線停止信号及びX線発生信号の繰返し出力によって、X線源9は、第1設定時間、すなわち1μsec の間にX線を放出し、第2設定時間の間にX線の放出を停止する。このX線の放出及び停止がX線源3の周方向への移動期間中に繰返されることになる。X線源9から放出されたそのX線は、ファンビーム状に、孔部30内に挿入された被検診者35に照射される。X線源9の周方向の移動によって、ベッド16上の被検診者35は周囲よりX線を照射される。このX線は、被検診者35を透過した後、孔部30の軸心を基点にX線源9から180度の位置にある放射線検出器4を中心に周方向に位置する複数個の放射線検出器4によって検出される。これらの放射線検出器4は、そのX線の検出信号(以下、X線撮像信号という)を出力する。このX線撮像信号は、該当する配線23を経て対応するそれぞれの信号弁別装置19に入力される。上記のX線を検出しているそれらの放射線検出器4は、便宜的に第1放射線検出器4と称する。
孔部30内に挿入された、ベッド16上の被検診者35から、PET用の放射性薬剤に起因した511keVのγ線が放出されている。第1放射線検出器4以外の放射線検出器4は、被検診者35から放出されたそのγ線を検出し、このγ線の検出信号(以下、γ線撮像信号という)を出力する。このγ線撮像信号は、該当する配線23を経て対応するそれぞれの信号弁別装置19に入力される。γ線を検出している放射線検出器4を、便宜的に第2放射線検出器4と称する。
信号弁別装置19内で、第2放射線検出器4から出力されたγ線撮像信号はγ線弁別装置21に伝えられ、第1放射線検出器4から出力されたX線撮像信号は信号処理装置22に伝えられる。このような各撮像信号の伝送は、信号弁別装置19の切替スイッチ31の切替操作によって行われる。切替スイッチ31の可動端子32を固定端子33または固定端子34に接続する切替操作は、駆動装置制御装置17の出力である切替制御信号に基づいて行われる。駆動装置制御装置17は、前述のようにX線源装置10の移動動作を制御するが、同時に第1放射線検出器4を選択し、この第1放射線検出器2に接続される信号弁別装置19における切替スイッチ31の可動端子32を固定端子34に接続する。
第1放射線検出器4の選択について説明する。X線源駆動装置10内の第1モーターにはエンコーダー(図示せず)が連結される。駆動装置制御装置17は、エンコーダーの検出信号を入力して周方向におけるX線源駆動装置10、すなわちX線源9の位置を求め、このX線源9の位置と180°反対側に位置する放射線検出器4を、記憶している各放射線検出器4の位置のデータを用いて選択する。X線源9から放射されるX線はスキャンレール12の周方向である幅を有しているため、被検診者35の体内を透過したX線を検出する放射線検出器2は、選択されたその放射線検出器4以外にも周方向に複数個存在することになる。駆動装置制御装置17はその複数の放射線検出器4も選択する。これらの放射線検出器4が、第1放射線検出器である。周方向におけるX線源9の移動に伴って、第1放射線検出器4も違ってくる。X線源9の周方向への移動に伴って、第1放射線検出器4も擬似的に周方向に移動しているように見える。駆動装置制御装置17が、X線源9の周方向への移動に伴って別の放射線検出器4を選択したときには、新たに第1放射線検出器4となる放射線検出器4に接続された可動端子32は固定端子34に接続される。X線源9の周方向への移動に伴って第1放射線検出器4でなくなった放射線検出器4に接続された可動端子32は駆動装置制御装置17によって固定端子33に接続される。
第1放射線検出器4は、切替スイッチ31によって信号処理装置22に接続された放射線検出器4であるとも言える。また、第2放射線検出器4は、切替スイッチ31によってγ線弁別装置21に接続された放射線検出器4であるとも言える。環状保持部5に設置された個々の放射線検出器4は、X線源9の位置との関係で、あるときは第1放射線検出器4となり、別のあるときには第2放射線検出器4となる。このため、1つの放射線検出器4は、別々ではあるがX線撮像信号及びγ線撮像信号の両方を出力する。
第1放射線検出器4は、第1設定時間である1μsec の間にX線源9から照射されて被検診者35を透過したX線を検出する。1μsec の間に第1放射線検出器4が被検診者
35から放出されるγ線を検出する確率は、前述したように、無視できるほど小さい。放射性薬剤に起因して被検診者35の体内で発生した多数のγ線は、特定の方向に放出されるのではなく、あらゆる方向に放出される。これらのγ線は、前述したように、対となってほぼ正反対の方向(180°±0.6°)に放出され、放射線検出器環状体3のいずれかの第2放射線検出器4によって検出される。
35から放出されるγ線を検出する確率は、前述したように、無視できるほど小さい。放射性薬剤に起因して被検診者35の体内で発生した多数のγ線は、特定の方向に放出されるのではなく、あらゆる方向に放出される。これらのγ線は、前述したように、対となってほぼ正反対の方向(180°±0.6°)に放出され、放射線検出器環状体3のいずれかの第2放射線検出器4によって検出される。
被検診者35の患部の位置が予め特定されていない場合には、ベッド16を移動させて被検診者35の全身にわたってPET検査が実施される。このPET検査が実施されている間に、X線源9が周方向に周回され、PET検査を実施する個所に対してX線CT検査が実施される。被検診者35の患部の位置が予め他の検査によって特定されている場合には、ベッド16を移動させて予め特定されている患部の位置を孔部30内に挿入し、撮像装置2を用いてその患部付近に対しPET検査及びX線CT検査を実施する。
放射線検出器4から出力されたX線撮像信号及びγ線撮像信号を入力したときの信号弁別装置19の信号処理について説明する。第1放射線検出器4から出力されたX線撮像信号は、前述したように、切替スイッチ31の作用によって信号処理装置22に入力される。信号処理装置22は、入力したX線撮像信号を積分装置によって積算し、X線撮像信号の積算値、すなわちX線撮像信号の強度の情報を出力する。
第2放射線検出器4から出力されたγ線撮像信号は、切替スイッチ31の作用によって波形整形装置20に入力される。波形整形装置20に入力されるγ線撮像信号は、図4に示すように、最初に急激に立下り、その後、指数関数的に0に近づくような形になっている。波形整形装置20の出力信号を入力するγ線弁別装置21は、図4に示すような波形のγ線撮像信号を処理できない。このため、波形整形装置20は、図4に示すような波形のγ線撮像信号を、例えば図5に示すように時間的なガウス分布の波形を有するγ線撮像信号に変換して出力する。PET用の放射性薬剤から放出された陽電子が陽電子消滅により体内で生成するγ線のエネルギーは先に述べたように511keVである。しかし、半導体素子部内でγ線のエネルギー全てが電荷に変わるとは限らない。このため、γ線弁別装置21は、例えばエネルギーが511keVよりも低い450keVをエネルギー設定値として、このエネルギー設定値(第1エネルギー設定値という)以上のエネルギーを有する撮像信号を入力したときに所定のエネルギーを有するパルス信号を発生させる。すなわち、γ線弁別装置21は、第1エネルギー設定値以上のエネルギーを有する撮像信号
(γ線撮像信号)が入力されたときに上記のエネルギーを有するパルス信号を発生させる装置である。
(γ線撮像信号)が入力されたときに上記のエネルギーを有するパルス信号を発生させる装置である。
上記のように、γ線弁別装置21において特定のエネルギーを有するγ線撮像信号を処理するためには、所定のエネルギー範囲の撮像信号を通過させるフィルターをγ線弁別装置21内(またはγ線弁別装置21の前段)に設けるとよい。第1エネルギー設定値以上のエネルギーを有する撮像信号を通過させ、その設定値よりも低いエネルギーを有する撮像信号の通過を阻止する第1フィルターがγ線弁別装置21内に設けられる。γ線弁別装置21は第1フィルターを通過した撮像信号に対してパルス信号を発生する。
同時計数装置26は、各信号弁別装置19のγ線弁別装置21から出力されたパルス信号を入力しこれらのパルス信号を用いて同時計数を行い、γ線撮像信号に対する計数値を求める。更に、同時計数装置26は、前述の一対のγ線に対する一対のパルス信号によりその一対のγ線を検出した2つの検出点(孔部30の軸心を中心にしてほぼ180°(厳密には180°±0.6°)方向が異なっている一対の放射線検出器4の位置)をγ線検出の位置情報としてデータ化する。
コンピュータ27は、図6に示すステップ21〜28の処理手順に基づいて処理を実行する。このような処理を実行するコンピュータ27は、断層像データ作成装置である。同時計数装置26によって計数されたγ線撮像信号の計数値、同時計数装置26から出力された検出点の位置情報、及び信号処理装置22から出力されたX線撮像信号の強度が入力される(ステップ21)。入力された、γ線撮像信号の計数値,検出点の位置情報、及びX線撮像信号の強度は、記憶装置28に記憶される(ステップ22)。
記憶装置28に記憶されているX線撮像信号の強度を用いて、被検診者35の体内の各ボクセルにおけるX線の減衰率を算出する(ステップ23)。この減衰率は記憶装置28に記憶される。
被検診者35の横断面の断層像を、該当する位置でのX線撮像信号の減衰率を用いて再構成する(ステップ24)。X線撮像信号の減衰率を用いて再構成した断層像をX線CT像と称する。X線CT像を再構成するために、記憶装置28から読み出されたX線撮像信号の減衰率を用いて、X線源9とX線を検出した放射線検出器4の半導体素子部との間における被検診者35の体内での線減弱係数を求める。この線減弱係数を用いて、フィルタードバックプロジェクション法により各ボクセルの線減弱係数を求める。各ボクセルの線減弱係数の値を用いて各ボクセルにおけるCT値を得る。これらのCT値を用いてX線
CT像のデータが得られる。このX線CT像のデータは、記憶装置28に記憶される。
CT像のデータが得られる。このX線CT像のデータは、記憶装置28に記憶される。
患部で発生したγ線は体内を透過する間に吸収・減衰されるため、これらの効果を前述の減衰率のデータより見積ってγ線撮像信号の計数値に補正をかけることにより、更に高精度なγ線撮像信号の計数値を得ることも可能である。ステップ25では、γ線撮像信号の計数値を補正する。γ線撮像信号の計数値に関する補正方法の一例を以下に述べる。まず、X線撮像信号の減衰率を用いて被検診者35の断層像を再構成し、体内の各位置でのCT値を求める。得られたCT値から、各位置における物質組成を見積もる。そして物質組成データから511keVにおける各位置での線減弱係数を見積もる。得られた線減弱係数データを用いて一対のγ線を検出した一対の半導体素子部間の線減弱係数をフォワードプロジェクション法により求める。求められたその線減弱係数の逆数をγ線撮像信号の計数値に掛け合わせることにより体内減衰によるデータ差の補正がなされる。
患部(例えば癌の患部)を含む、被検診者35の横断面の断層像を、該当する位置でのγ線撮像信号の補正後の計数値を用いて再構成する(ステップ26)。γ線撮像信号の計数値を用いて再構成した断層像をPET像と称する。この処理を詳細に説明する。記憶装置28から読み出されたγ線撮像信号の計数値を用いて、陽電子の消滅によって発生したγ線を検出した一対の放射線検出器4(検出点の位置情報より特定)の各半導体素子部間における体内でのγ線対発生数(複数の陽電子の消滅に応じて発生したγ線対の数)を求める。このγ線対発生数を用いて、フィルタードバックプロジェクション法により各ボクセルにおけるγ線対発生密度を求める。これらのγ線対発生密度に基づいてPET像のデータを得ることができる。このPET像のデータは、記憶装置28に記憶される。
PET像のデータとX線CT像のデータとを合成して、両データを含む合成断層像のデータを求め、記憶装置28に記憶させる(ステップ27)。PET像のデータとX線CT像のデータとの合成は、両方の像データにおける、孔部30の中心軸の位置を合わせることによって、簡単にかつ精度良く行うことができる。すなわち、PET像のデータ及びX線CT像のデータは、共有する放射線検出器4から出力された撮像信号に基づいて作成されるので、前述のように位置合せを精度良く行える。合成断層像のデータは、記憶装置
28から呼び出されて表示装置29に出力され(ステップ28)、表示装置29に表示される。表示装置29mに表示された合成断層像はX線CT像を含んでいるので、PET像における患部の、被検診者35の体内での位置を容易に確認することができる。すなわち、X線CT像は内臓及び骨の像を含んでいるので、医者は、患部(例えば、癌の患部)が存在する位置を、その内臓及び骨との関係で特定することができる。
28から呼び出されて表示装置29に出力され(ステップ28)、表示装置29に表示される。表示装置29mに表示された合成断層像はX線CT像を含んでいるので、PET像における患部の、被検診者35の体内での位置を容易に確認することができる。すなわち、X線CT像は内臓及び骨の像を含んでいるので、医者は、患部(例えば、癌の患部)が存在する位置を、その内臓及び骨との関係で特定することができる。
なお、X線CT像は複数のスキャンデータが必要なため、X線源駆動装置10を用いてX線源9をスキャンレール12に沿って移動させることによって、放射線検出器4により必要なデータ量を得ることができる。このようなX線源9の周方向スキャンによって、本実施例は被検診者35の1つの横断面におけるX線撮像信号に関する二次元断面データを得ている。他の横断面におけるX線撮像信号に関する二次元断面データは、軸方向移動アーム11を伸縮させてX線源9を孔部30の軸方向に移動させることによって得ることができる。これらの二次元断面データを積み重ねることによって、三次元の断面データを得ることができる。この三次元の断面データを用いて三次元のX線CT像のデータを得ることができる。また、X線源9の周回に伴い孔部30の軸方向に軸方向移動アーム11を連続的に伸縮することにより、X線のヘリカルスキャンを行うことも可能である。軸方向移動アーム11を伸縮させる替りに、ベッド16を孔部30の軸方向に移動させても他の横断面におけるX線撮像信号に関する2次元断面データを得ることができる。
本実施例によれば、以下に示す効果を得ることができる。
(1)本実施例では、放射線検出器環状体3に設けられた複数の放射線検出器4が環状に配置されている。本実施例は、環状に配置されたそれらの放射線検出器4によって、被検体である被検診者35から放出される複数のγ線の対を検出できると共に、周方向に移動するX線源9から放出されて被検診者35を透過したX線も検出できる。このため、従来技術は撮像装置として透過X線を検出する撮像装置及びγ線を検出する他の撮像装置を必要としていたが、本実施例は、撮像装置は一台あればよく、X線CT検査及びPET検査の両方を実施できる放射線検査装置の構成が単純化できる。
(2)本実施例は、環状に配置された放射線検出器4のそれぞれが被検診者35の体内を透過したX線(透過X線という)の検出信号であるX線撮像信号、及び放射性薬剤に起因してその体内から放出されたγ線の検出信号であるγ線撮像信号の両方を出力する。このような構成も、放射線検査装置の構成の更なる単純化、及び放射線検査装置の小型化に貢献する。
(3)本実施例は、環状に配置された放射線検出器4の1つの出力信号であるX線撮像信号を用いて、被検診者35の、内臓及び骨の画像を含む第1の断層像(X線CT像)を再構成でき、その放射線検出器4の他の出力信号であるγ線撮像信号を用いて、その被検診者35の、患部の画像を含む第2の断層像(PET像)を再構成できる。第1断層像のデータ及び第2断層像のデータは透過X線及びγ線の両方を検出する放射線検出器2の出力信号に基づいて再構成されているので、第1断層像のデータ及び第2断層像のデータを精度良く位置合せして合成することができる。このため、精度のよい、患部,内臓及び骨の画像を含む断層像(合成断層像)を簡単に得ることができる。この合成断層像によれば、内臓及び骨との関係で、患部の位置を正確に知ることができる。例えば、第1断層像のデータ及び第2断層像のデータを、撮像装置2の孔部30の軸心を中心に合わせることによって、簡単に両断層像を合成した画像データを得ることができる。
(4)本実施例は、第1の断層像を作成するために必要な撮像信号、及び第2の断層像を作成するために必要な撮像信号を共用する放射線検出器4から得ることができるため、被検診者35の検査に要する時間(検査時間)を著しく短縮できる。換言すれば、短い検査時間で、第1の断層像を作成するために必要な撮像信号、及び第2の断層像を作成するために必要な撮像信号を得ることができる。本実施例は、従来技術のように、被検診者を、透過X線を検出する撮像装置からγ線を検出する他の撮像装置まで移動させる必要がなく、被検診者が動く確率を低減できる。被検診者を、透過X線を検出する撮像装置からγ線を検出する他の撮像装置まで移動させる必要がなくなることも、被検診者の検査時間の短縮に寄与する。
(5)本実施例は、X線源9を周回させて放射線検出器環状体3、すなわち放射線検出器4を孔部30の周方向及び軸方向に移動させないため、放射線検出器環状体3を移動させるに必要なモーターに比べてX線源9を周回させるモーターの容量を小さくできる。後者のモーターの駆動に要する消費電力も、前者のモーターのそれよりも少なくできる。
(6)信号処理装置22、すなわち第1信号処理装置に入力されるγ線撮像信号が著しく減少するため、精度の良い第1断層像のデータを得ることができる。このため、第1断層像のデータと第2断層像のデータとを合成して得られた画像データを用いることにより、患部の位置をより正確に知ることができる。
(7)本実施例は、環状に配置された放射線検出器4の内側でX線源9が周回するため、環状保持部5の直径が大きくなり、環状保持部5の内側で周方向に設置できる放射線検出器4の個数を多くすることができる。周方向における放射線検出器4の個数の増加は、感度の向上をもたらし、被検診者35の横断面の分解能を向上させる。
(8)本実施例では、X線源9が取付けられる軸方向移動アーム11及びX線源9は放射線検出器4の内側に位置しているため、それらが被検診者35から放出されるγ線を遮って、それらの真後ろに位置する放射線検出器4がそのγ線を検出できなく、PET像の作成に必要な検出データが欠損する可能性がある。しかし、本実施例は、前述のように、X線源駆動装置10によってX線源9及び軸方向移動アーム11が周方向に周回しているので、実質的にはデータの欠損は問題とならない。特に、X線源9及び軸方向移動アーム11の周回速度は約1秒/1スライスであり、最短で数分オーダーのPET検査に要する時間と比較すると十分短い。これによっても、実質的にはそのデータの欠損は問題にならない。また、X線CT検査を行わない時は、X線CT検査関係の機器は放射線検出器4内から撤去し格納する構成とする。例えば、本実施例において、X線源9はX線源駆動装置10の中に格納する構成としている。
更に、X線CT像の作成のために必要なX線撮像信号を得るために要する検査時間は、PET像の作成のために必要なγ撮像信号を得るために要する検査時間よりも短い。このため、そのγ線撮像信号得るための検査時間の間、常にX線源3からX線を被検診者に照射してX線撮像信号を得ることによって、被検診者が検査中に動いた場合でもX線撮像信号に基づいて得られるX線CT像の連続像から、被検診者の揺動に伴うPET像のデータのずれを補正することもできる。
(実施例2)
本発明の他の実施例である実施例2の放射線検査装置1Aを、図7及び図8を用いて以下に説明する。放射線検査装置1Aは、実施例1の放射線検査装置1における撮像装置2を撮像装置2Aに、更に、信号弁別装置19を信号弁別装置19Aに替えたものである。放射線検査装置1Aの他の構成は放射線検査装置1の構成と同一である。放射線検査装置1Aは、信号弁別装置19Aを設けている関係上、コンピュータ27で図9に示す処理が実行される。撮像装置2Aは実施例1における撮像装置2の駆動装置制御装置17及びX線源制御装置18を駆動装置制御装置17A及びX線源制御装置18Aにそれぞれ替えた構成を有する。撮像装置2Aの他の構成は撮像装置2と同じである。
本発明の他の実施例である実施例2の放射線検査装置1Aを、図7及び図8を用いて以下に説明する。放射線検査装置1Aは、実施例1の放射線検査装置1における撮像装置2を撮像装置2Aに、更に、信号弁別装置19を信号弁別装置19Aに替えたものである。放射線検査装置1Aの他の構成は放射線検査装置1の構成と同一である。放射線検査装置1Aは、信号弁別装置19Aを設けている関係上、コンピュータ27で図9に示す処理が実行される。撮像装置2Aは実施例1における撮像装置2の駆動装置制御装置17及びX線源制御装置18を駆動装置制御装置17A及びX線源制御装置18Aにそれぞれ替えた構成を有する。撮像装置2Aの他の構成は撮像装置2と同じである。
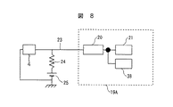
信号弁別装置19Aは、図8に示すように、波形整形装置20,γ線弁別装置21及び波高分析装置38を有する。放射線検出器4一個毎に設けられる信号弁別装置21は、切替スイッチ31を有していなく、配線23によって対応する放射線検出器4に接続される。配線23は信号弁別装置19Aの波形整形装置20に接続される。波高分析装置38は波形整形装置20及びコンピュータ27に接続される。γ線弁別装置21は同時計数装置26を介してコンピュータ27に接続される。信号弁別装置19Aは、信号処理装置であり、波高分析装置38を有する第1の信号処理装置、及び波形整形装置20及びγ線弁別装置21を有する第2信号処理装置を備える。駆動装置制御装置17A及びX線源制御装置18Aが環状保持部5に設置される。
本実施例は、X線CT検査及びPET検査を一台の撮像装置2Aを用いて行う例である。PET用の放射性薬剤が投与され、べッド16上に横たわっている被検診者35は、ベッド16の移動によって、孔部30内に挿入される。被検診者35の患部より放出された511keVのγ線は、放射線検出器4によって検出される。一方、X線源9から照射されたX線(80keV)は、被検診者35を透過後、放射線検出器4によって検出される。X線源9はX線源駆動装置10によってスキャンレール12に沿って被検診者35の周りを周回する。このため、X線は周方向のあらゆる位置から被検診者35に照射される。本実施例の駆動装置制御装置17Aは、実施例1の駆動装置制御装置17と同様に、駆動開始信号及び駆動停止信号を出力してX線源駆動装置10の移動を制御する。しかしながら、駆動装置制御装置17Aは、駆動装置制御装置17が行う切替スイッチ31の切替制御を実施しない。X線源制御装置18Aは、実施例1と同様に、X線源開閉器を閉じるX線発生信号を出力し、X線源開閉器を開くX線停止信号を出力する。しかしながら、X線源制御装置18Aは、実施例1のX線源制御装置18のように、放射線検出器4へのγ線の入射が無視できる第1設定時間の間だけX線を発生させるような制御を行わない。このため、本実施例では、X線を検出している放射線検出器4でもγ線を検出することになる。従って、一台の撮像装置2AでX線CT検査及びPET検査を実施する本実施例では、各放射線検出器4はX線撮像信号及びγ線撮像信号を含む出力信号を出力する。放射線検出器4からのその出力信号は該当する信号弁別装置19Aに入力される。
信号弁別装置19Aの機能を以下に説明する。信号弁別装置19Aは、放射線検出器4の出力信号からX線撮像信号とγ線撮像信号とを別々に分離する機能を有する。すなわち、信号弁別装置19Aは、1つの放射線検出器4で検出したX線撮像信号とγ線撮像信号とをエネルギー弁別する装置である。なお、X線源9がX線を放射する時間間隔は、信号弁別装置19Aの動作タイムウィンドウΔτに比べて長い。信号弁別装置19Aの波形整形装置20は、実施例1で述べたガウス分布に整形されたγ線撮像信号と共に、X線撮像信号も、波形整形装置20で波形がガウス分布に整形されて出力される。図5に示すように時間的なガウス分布の波形を有する信号に整形されたX線撮像信号も出力する。
波形整形装置20の出力であるγ線撮像信号及びX線撮像信号は、γ線弁別装置21及び波高分析装置38に入力される。γ線弁別装置21がγ線撮像信号を処理し、波高分析装置38がX線撮像信号を処理する必要がある。このため、本実施例では以下の工夫がなされている。
γ線弁別装置21は、前述の第1フィルターを備えており、第1エネルギー設定値以上のエネルギーを有する撮像信号(γ線撮像信号)が入力されたときにパルス信号を発生させる装置である。波高分析装置38は、波形整形装置20から出力された、第1エネルギー設定値よりも低いエネルギーを有する撮像信号(X線撮像信号)が入力されたとき、その撮像信号の計数値を計測する。本実施例では、被検診者35に照射されるX線のエネルギーが80keVであるため、波高分析装置38は第2エネルギー設定値である70keV以上で第3エネルギー設定値である90keV以下の範囲のエネルギーを有する撮像信号(X線撮像信号)を計数しその撮像信号の計数値を出力する。このような特定エネルギーの撮像信号の処理を行うことによって波高分析装置38の負荷は著しく軽減される。
上記のように、波高分析装置38において特定エネルギーを有する撮像信号を処理するためには、設定のエネルギー範囲の撮像信号を通過させるフィルターを波高分析装置38内(または波高分析装置38の前段)に設けるとよい第2エネルギー設定値以上で第3エネルギー設定値以下の範囲のエネルギーを有する撮像信号を通過させ、その範囲外のエネルギーを有する撮像信号の通過を阻止する第2フィルターが、波高分析装置38内に設けられる。波高分析装置38は、第2フィルターを通過した撮像信号(X線撮像信号)を計数する。
本実施例は、信号弁別装置19Aを用いることによって、放射線検出器4の出力である撮像信号からピーク計数値に対するエネルギーが異なるγ線撮像信号とX線撮像信号とを別々に分離することができる。同時計数装置26は、各信号弁別装置19Aの各γ線弁別装置21からの出力であるパルス信号を用いて同時計数を行い、γ線撮像信号に対する計数値を求める。
コンピュータ27は、図9に示すステップ21A,22A,39,23A、及び24〜28の処理手順に基づいて処理を実行する。このような処理を実行するコンピュータ27も、断層像データ作成装置である。同時計数装置26によって計数されたγ線撮像信号の計数値、同時計数装置26から出力された検出点の位置情報、及び波高分析装置38から出力されたX線撮像信号の計数値が入力される(ステップ21A)。入力された、γ線撮像信号の計数値,検出点の位置情報、及びX線撮像信号の計数値は、記憶装置28に記憶される(ステップ22A)。
次に、ステップ39において、X線撮像信号の計数値の補正が行われる。この補正について、以下に詳細に説明する。X線のエネルギー80keVは、放射性薬剤に起因して被検診者35から放出されるγ線に比べて低いエネルギーである。波高分析装置38から出力されたX線撮像信号の計数値には、エネルギーが半導体素子部内で80keV前後に減衰したγ線撮像信号の計数値が含まれている。このため、そのX線撮像信号の計数値からγ線撮像信号の計数値を除去する補正を行って、真のX線撮像信号の計数値を求める。X線撮像信号の計数値の補正方法の一例を説明する。例えば511keVのγ線の検出スペクトルを予め測定しておき、この検出スペクトルの測定結果を用いて80keV前後のγ線の強度を見積もる。放射線検出器4の半導体素子部に対して511keVのγ線を照射したときのスペクトルが図10のように得られたとする。そして、例えば被検診者35から放出されたγ線がある半導体素子部で100個検出されたとする。その場合、図10のピーク部分における計数値(カウント数)が100個になるように図10に示すスペクトル全体の計数値を等倍した後、X線撮像信号の計数値から、等倍されたその計数値を差し引くことにより、図11に示す正確なX線撮像信号単体の計数値(カウント数)が得られる。この補正された計数値は、記憶装置28に記憶される。
その後、実施例1と同様に、ステップ24〜28の処理が実行され、第1断層像のデータと第2断層像のデータとを合成して作成された合成断層像のデータを得ることができ、合成断層像のデータを表示装置29に表示することができる。
本実施例は、実施例1で生じる効果(1)〜(5),(7)及び(8)を得ることができる。更に、本実施例は、以下の(9)及び(10)の効果を得ることができる。
(9)放射線検出器4から出力される出力信号からその信号に含まれたX線撮像信号とγ線撮像信号とを分離することができる。このため、分離されたX線撮像信号を用いて第1断層像データを、分離されたγ線撮像信号を用いて第2断層像データを簡単に作成できる。また、実施例1と同様に、第1断層像データと第2断層像データとを簡単に合成することができる。
(10)放射線検出器4として用いている半導体放射線検出器は、エネルギー分解能が高い。このため、本実施例では、放射線検出器4から出力されたX線撮像信号及びγ線撮像信号を信号弁別装置19Aで簡単に分離できる。
(実施例3)
本発明の第3実施例である放射線検査装置1Bを、図12を用いて説明する。放射線検査装置1Bは、撮像装置2Bの構成を実施例1の撮像装置2の構成と少し変えている。すなわち、撮像装置2Bは撮像装置2における放射線検査装置1の構成のうちX線源周方向移動装置7をX線源周方向移動装置7Aに替えたものである。放射線検査装置1Bの他の構成は、放射線検査装置1と同じである。X線源周方向移動装置7AはX線源装置8A、及び環状のX線源装置保持部13を備える。本実施例のX線源装置保持部13は実施例1のそれと同じ構成である。X線源装置8Aは、X線源9及びX線源駆動装置10を有し、軸方向移動アーム8を有していない。本実施例では、X線源9は、放射線検出器環状体3の一端面に対向するように、すなわちその一端面の横に配置される。上記のように配置されたX線源9は、X線の放出口が放射線検出器環状体3の放射線検出器4でX線源9とは180°反対側に位置するその放射線検出器4の方向を向くように、孔部30の軸方向に対して傾けてX線源駆動装置10のケーシングに取付けられる。本実施例におけるX線源駆動装置10のケーシングの長さは、実施例1におけるX線源駆動装置10のケーシングのそれよりも短くなっている。
本発明の第3実施例である放射線検査装置1Bを、図12を用いて説明する。放射線検査装置1Bは、撮像装置2Bの構成を実施例1の撮像装置2の構成と少し変えている。すなわち、撮像装置2Bは撮像装置2における放射線検査装置1の構成のうちX線源周方向移動装置7をX線源周方向移動装置7Aに替えたものである。放射線検査装置1Bの他の構成は、放射線検査装置1と同じである。X線源周方向移動装置7AはX線源装置8A、及び環状のX線源装置保持部13を備える。本実施例のX線源装置保持部13は実施例1のそれと同じ構成である。X線源装置8Aは、X線源9及びX線源駆動装置10を有し、軸方向移動アーム8を有していない。本実施例では、X線源9は、放射線検出器環状体3の一端面に対向するように、すなわちその一端面の横に配置される。上記のように配置されたX線源9は、X線の放出口が放射線検出器環状体3の放射線検出器4でX線源9とは180°反対側に位置するその放射線検出器4の方向を向くように、孔部30の軸方向に対して傾けてX線源駆動装置10のケーシングに取付けられる。本実施例におけるX線源駆動装置10のケーシングの長さは、実施例1におけるX線源駆動装置10のケーシングのそれよりも短くなっている。
本実施例も、実施例1と同様に、1台の撮像装置を用いてPET検査とX線CT検査を行う。本実施例におけるPET検査は、実施例1と同様に、放射性薬剤に起因して被検診者35から放出されたγ線を第2放射線検出器4で検出することによって行われる。また、X線CT検査は、実施例1においてX線源装置8を周回させた場合と同様に、X線源装置8Aをスキャンレール12に沿って周回させることによって行われる。PET検査及びX線CT検査の際には、ベッド16により被検診者35を軸方向に移動させて行う。本実施例では、傾いたX線源9から放出されたX線が、被検診者35に対して斜め方向に照射され、被検診者35の体内を斜めに透過する。この透過したX線は第1放射線検出器4で検出される。本実施例では、第1放射線検出器4は、X線源装置8と対向する、放射線検出器環状体3の一端部に位置する。第1放射線検出器4から出力されたX線撮像信号、及び第2放射線検出器4から出力されたγ線撮像信号を用いて合成断層像のデータを得る処理は、実施例1と同様に行われる。本実施例は、被検診者35の体内を斜めに透過したX線に対するX線撮像信号を用いてX線CT像を得るため、そのX線CT像の精度が低下しないような角度でX線源9を傾ける必要がある。
本実施例は、実施例1で生じる(1)〜(6)の効果を得ることができる。更に、本実施例は、以下に示す(11)〜(13)の効果を得ることができる。
(11)本実施例では、環状に放射線検出器4を設置した放射線検出器環状体3の横でX線源9が周回するため、環状保持部5の直径が小さくなる。このため、180°正反対に位置する2つの放射線検出器4間の距離が短くなり、PET像の画質を向上できる。被検診者35の体内で発生した一対のγ線は完全に180°ではなく180°±0.6° の方向に放出される。それらの放射線検出器4間の距離が長くなると、±0.6° の影響が大きくなり、同時計数装置26によって特定される、その一対のγ線に対する2つの検出点も若干ずれが生じる。それらの放射線検出器4間の距離が短いと、±0.6° の影響も小さくなり、同時計数装置26によって特定される、その一対のγ線に対する2つの検出点も真の位置に近くなる。このため、本実施例ではPET像の画質が向上する。
(12)本実施例は、環状に放射線検出器4を設置した放射線検出器環状体3の横でX線源9が周回するため、実施例1におけるX線源9及び軸方向移動アーム11のように被検診者35から放出されるγ線を遮る物体が放射線検出器4の前面に存在しない。このため、本実施例では、実施例1のような検出データが欠損するという問題が生じない。
(13)本実施例は、放射線検出器環状体3の直径が小さくなる関係上、実施例1に比べて放射線検査装置を更に小型化できる。
本実施例は、X線源9の周方向の回転に伴い被検診者保持装置14のベッド16を用いて被検診者35を孔部30内で連続的に移動させることにより、X線のヘリカルスキャンを行うことも可能である。
(実施例4)
本発明の他の実施例である実施例4の放射線検査装置を、図13に基づいて以下説明する。本実施例の放射線検査装置1Cは、放射線検査装置1における撮像装置2を撮像装置2Cに変えた構成を有する。放射線検査装置1Cにおける他の構成は放射線検査装置1と同じである。撮像装置2Cは、一対の放射線検出器環状体3A及び3Bを備えている。放射線検出器環状体3Aは、環状保持部5A、及び環状保持部5Aの内側に実施例1と同様に環状に設置された多数の放射線検出器4を含む。放射線検出器環状体3Bは、環状保持部5B、及び環状保持部5Bの内側に実施例1と同様に環状に設置された多数の放射線検出器4を含む。放射線検出器環状体3A及び3Bに設けられた各放射線検出器4は、実施例1で用いられる放射線検出器4と同じ物である。放射線検出器環状体3A及び3Bに設けられた各放射線検出器4は、配線23によって、実施例1と同様に、対応する信号弁別装置19、具体的には信号弁別装置19の切替スイッチ31にそれぞれ接続される。放射線検出器環状体3A及び3Bにおけるそれぞれの放射線検出器4の内側に、ベッド16が挿入される貫通した孔部30がそれぞれ形成される。放射線検出器環状体3Aと放射線検出器環状体3Bは、相互の間にスリット(間隙)36が形成されるように互いに隣接して配置されている。スリット36は放射線検出器環状体の全周にわたって形成される。放射線検出器環状体3Aは、環状保持部5Aを床面に固定される支持部材6Aに取付けられる。放射線検出器環状体3Bは、環状保持部5Bを床面に固定される支持部材6Bに取付けられる。放射線検出器環状体3Aの軸心と放射線検出器環状体3Bの軸心とは一致しており、環状保持部5A及び5Bの内径及び外径は同じである。
本発明の他の実施例である実施例4の放射線検査装置を、図13に基づいて以下説明する。本実施例の放射線検査装置1Cは、放射線検査装置1における撮像装置2を撮像装置2Cに変えた構成を有する。放射線検査装置1Cにおける他の構成は放射線検査装置1と同じである。撮像装置2Cは、一対の放射線検出器環状体3A及び3Bを備えている。放射線検出器環状体3Aは、環状保持部5A、及び環状保持部5Aの内側に実施例1と同様に環状に設置された多数の放射線検出器4を含む。放射線検出器環状体3Bは、環状保持部5B、及び環状保持部5Bの内側に実施例1と同様に環状に設置された多数の放射線検出器4を含む。放射線検出器環状体3A及び3Bに設けられた各放射線検出器4は、実施例1で用いられる放射線検出器4と同じ物である。放射線検出器環状体3A及び3Bに設けられた各放射線検出器4は、配線23によって、実施例1と同様に、対応する信号弁別装置19、具体的には信号弁別装置19の切替スイッチ31にそれぞれ接続される。放射線検出器環状体3A及び3Bにおけるそれぞれの放射線検出器4の内側に、ベッド16が挿入される貫通した孔部30がそれぞれ形成される。放射線検出器環状体3Aと放射線検出器環状体3Bは、相互の間にスリット(間隙)36が形成されるように互いに隣接して配置されている。スリット36は放射線検出器環状体の全周にわたって形成される。放射線検出器環状体3Aは、環状保持部5Aを床面に固定される支持部材6Aに取付けられる。放射線検出器環状体3Bは、環状保持部5Bを床面に固定される支持部材6Bに取付けられる。放射線検出器環状体3Aの軸心と放射線検出器環状体3Bの軸心とは一致しており、環状保持部5A及び5Bの内径及び外径は同じである。
更に、撮像装置2Cは、X線源装置8B及び環状のX線源装置保持部13を有するX線源周方向移動装置7Bを備えている。X線源周方向移動装置7BのX線源装置保持部13は、実施例1のそれと同じ構成であって環状保持部5Aの外面に取付けられる。X線源装置8Bは、X線源9及びX線源駆動装置10を有し、軸方向移動アーム11を有していない。本実施例では、X線源9は、環状保持部5A及び5Bよりの外側に位置し、スリット36と対向している。X線源9は、X線の放出口が放射線検出器環状体3Bの放射線検出器4でX線源9とは180°反対側に位置するその放射線検出器4の方向を向くように、孔部30の軸方向に対して傾けてX線源駆動装置10のケーシングに取付けられる。
本実施例も、実施例1と同様に、1台の撮像装置を用いてPET検査とX線CT検査を行う。本実施例におけるPET検査は、実施例1と同様に、放射性薬剤に起因して被検診者35から放出されたγ線を第2放射線検出器4で検出することによって行われる。また、X線CT検査は、実施例1においてX線源装置8を周回させた場合と同様に、X線源装置8Bをスキャンレール12に沿って被検診者35の周囲を周回させることによって行われる。PET検査及びX線CT検査の際には、実施例3と同様に、被検診者35を軸方向に移動させて行う。本実施例は、X線源装置8Bの周回を円滑に行うため、環状保持部
5Aよりも外側で支持部材6BとX線源装置保持部13との間に空間37が形成される。X線源装置8Bは周回する際にこの空間37を通過する。本実施例では、傾いたX線源9から放出されてスリット36を通過したX線は、ベッド16上に横たわっている被検診者35に対して斜め方向に照射され、被検診者35の体内を斜めに透過する。この透過したX線は第1放射線検出器4で検出される。本実施例では、第1放射線検出器4は、X線源9と対向する、放射線検出器環状体3Bの一端部に位置する。X線源9から放出されるX線は広がりをもつため、放射線検出器環状体3Bに対向する、放射線検出器環状体3Aの一端面側にも、第1放射線検出器4が存在する。第1放射線検出器4は、X線源9の周回に伴って、実施例1のように放射線検出器環状体の周方向に移動する。
5Aよりも外側で支持部材6BとX線源装置保持部13との間に空間37が形成される。X線源装置8Bは周回する際にこの空間37を通過する。本実施例では、傾いたX線源9から放出されてスリット36を通過したX線は、ベッド16上に横たわっている被検診者35に対して斜め方向に照射され、被検診者35の体内を斜めに透過する。この透過したX線は第1放射線検出器4で検出される。本実施例では、第1放射線検出器4は、X線源9と対向する、放射線検出器環状体3Bの一端部に位置する。X線源9から放出されるX線は広がりをもつため、放射線検出器環状体3Bに対向する、放射線検出器環状体3Aの一端面側にも、第1放射線検出器4が存在する。第1放射線検出器4は、X線源9の周回に伴って、実施例1のように放射線検出器環状体の周方向に移動する。
第1放射線検出器4から出力されたX線撮像信号、及び第2放射線検出器4から出力されたγ線撮像信号を用いて合成断層像のデータを得る処理は、実施例1と同様に行われる。本実施例は、被検診者35の体内を斜めに透過したX線に対するX線撮像信号を用いてX線CT像を得るため、そのX線CT像の精度が低下しないような角度でX線源9を傾ける必要がある。
本実施例は、実施例1で生じる(1)〜(6)の効果及び実施例3で生じる(11)〜(13)の効果を得ることができる。
本実施例において、X線源駆動装置10を放射線検出器環状体3B側に伸ばして、X線源9におけるX線の放出口が放射線検出器環状体3Aの放射線検出器4でX線源9とは
180°反対側に位置するその放射線検出器4の方向を向くように、孔部30の軸方向に対して傾けてX線源駆動装置10のケーシングに取付けてもよい。また、X線源装置保持部13を環状保持部5Bに取付け、上記のようにX線源9のX線放出口が放射線検出器環状体3Aの放射線検出器4を向くように傾けてもよい。
180°反対側に位置するその放射線検出器4の方向を向くように、孔部30の軸方向に対して傾けてX線源駆動装置10のケーシングに取付けてもよい。また、X線源装置保持部13を環状保持部5Bに取付け、上記のようにX線源9のX線放出口が放射線検出器環状体3Aの放射線検出器4を向くように傾けてもよい。
(実施例5)
本発明の他の実施例である実施例5の放射線検査装置1Dを図14及び図15を用いて以下説明する。本実施例の放射線検査装置1Dは、撮像装置2Dを備え、撮像装置2D以外の構成は放射線検査装置1と同じである。撮像装置2Dは、放射線検出器環状体3C及びX線源周方向移動装置7Cを備えている。放射線検出器環状体3Cは、保持部材6に設置される環状保持部5Cの内面に実施例1と同様に多数の放射線検出器4を設置している。環状保持部5Cは、180°にわたって切り込まれて形成された貫通孔であるスリット36Aを有する。スリット36Aは環状保持部5Cの上半分に位置している。スリット
36Aの部分には放射線検出器4が設置されていない。環状保持部5Cの内側でスリット36Aの部分にコリメータ39が設置される。コリメータ39は鉛で構成される。放射線検出器4はコリメータ39の外側に配置される。
本発明の他の実施例である実施例5の放射線検査装置1Dを図14及び図15を用いて以下説明する。本実施例の放射線検査装置1Dは、撮像装置2Dを備え、撮像装置2D以外の構成は放射線検査装置1と同じである。撮像装置2Dは、放射線検出器環状体3C及びX線源周方向移動装置7Cを備えている。放射線検出器環状体3Cは、保持部材6に設置される環状保持部5Cの内面に実施例1と同様に多数の放射線検出器4を設置している。環状保持部5Cは、180°にわたって切り込まれて形成された貫通孔であるスリット36Aを有する。スリット36Aは環状保持部5Cの上半分に位置している。スリット
36Aの部分には放射線検出器4が設置されていない。環状保持部5Cの内側でスリット36Aの部分にコリメータ39が設置される。コリメータ39は鉛で構成される。放射線検出器4はコリメータ39の外側に配置される。
X線源周方向移動装置7Cは、実施例4のX線源周方向移動装置7Bと同様に、環状保持部材の外側に配置されて、ほぼ半円形のX線源装置保持部13Aを環状保持部5Cの上部でその外面に設置している。半円形のスキャンレール12AがX線源装置保持部13Aに取付けられる。X線源周方向移動装置7CはX線源9及びX線源駆動装置10を有するX線源装置8Cを備える。X線源装置8Cは、X線源9のX線放出口が孔部30の軸心に対して垂直な方向を向くようにX線源9がX線源駆動装置10に取付けられている点でのみX線源装置8Bと異なる。
本実施例も、PET用の放射性薬剤を投与してベッド16上に横たわっている被検診者35に対して一台の撮像装置2Dを用いてPET検査及びX線CT検査を行う。PET検査及びX線CT検査の際には、実施例3と同様に、被検診者35を軸方向に移動させて行う。X線CT検査は、X線源9から放出されてスリット36A及びコリメータ39内を通過したX線を被検診者35に照射することによって行われる。スリットを通過したX線を被検診者35に照射することは、実施例4と同じである。本実施例は、実施例1と同様に、PET検査が被検診者35から放出されたγ線を第2放射線検出器4で検出することによって行われ、X線CT検査が被検診者35を透過したX線を第1放射線検出器4で検出することによって行われる。
本実施例におけるX線CT検査では、X線源9はX線源駆動装置10をスキャンレールAに沿って移動させることによって180°の範囲内で被検診者35の周囲を移動し、第1放射線検出器4でX線撮像信号を得ている。このX線撮像信号を用いてコンピュータ
27の処理によりX線CT像の二次元断面データを得る。それの他の二次元断面データは、被検診者35の、孔部30の軸方向への移動、及びX線源9のスキャンレール12Aに沿った移動によって得られるX線撮像信号を用いて作成できる。これらの二次元断面データを積み重ねてX線CT像の三次元断面データを得ることができる。また、X線源9の周方向の移動に伴い被検診者35を連続的に移動させることによりX線の模擬的なヘリカルスキャンが可能である。ただし、X線源9が180度の範囲しか移動できない本実施例では、X線源9は連続的に往復運動することで模擬的なヘリカルスキャンが実現できる。
27の処理によりX線CT像の二次元断面データを得る。それの他の二次元断面データは、被検診者35の、孔部30の軸方向への移動、及びX線源9のスキャンレール12Aに沿った移動によって得られるX線撮像信号を用いて作成できる。これらの二次元断面データを積み重ねてX線CT像の三次元断面データを得ることができる。また、X線源9の周方向の移動に伴い被検診者35を連続的に移動させることによりX線の模擬的なヘリカルスキャンが可能である。ただし、X線源9が180度の範囲しか移動できない本実施例では、X線源9は連続的に往復運動することで模擬的なヘリカルスキャンが実現できる。
本実施例によれば、実施例1で生じる(1)〜(6)の効果及び実施例3で生じる(11)〜(13)の効果を得ることができる。更に、本実施例は、以下の(14)及び(15)の効果を得ることができる。
(14)コリメータ39の放射線遮蔽機能によって、スリット36A隣接している放射線検出器4へのX線の入射が阻止される。また、コリメータ39によって、X線源9から放出されるX線がファンビーム状にコリメートされる。
(15)下記のX線源9にコリメータを設置する場合に比べて、X線源9の重量が軽減されるので、X線源駆動装置10でX線源9を移動させる際に、X線源駆動装置10に加わる負荷が減少する。このため、X線源駆動装置10の第1モーターによる消費電力が減少する。
環状保持部5Cに設けるコリメータ39の替りに、X線源9にコリメータを取付けてもよい。このコリメータにより、孔部30の軸心方向のX線の広がりを抑えるためスリット36Aの幅を小さくできる。従って、X線はスリット36Aの近傍の放射線検出器4に入射されない。
環状保持部5Cにおいて、複数のスリット36Aを環状保持部5Cの軸方向に近接させて形成してもよい。この場合には、X線源9を外側に向かって環状保持部5Cから遠ざけて配置し、X線源9から放出されるX線がそれらのスリット36Aを通過できるようにする。複数のスリット36A通過したそれぞれのX線は、環状保持部5Cの軸方向において異なる位置に存在するそれぞれの第1放射線検出器4によって検出できる。このような構成は、X線源9を周方向に1回スキャンすることによって、X線CT像の複数の2次元断面データを作成できるX線撮像信号を同時に得ることができる。このため、X線CT検査の高効率化が図れる。
(実施例6)
本発明の他の実施例である実施例6の放射線検査装置1Eを図16及び図17を用いて以下説明する。実施例1〜5は放射線検出器環状体を固定していたのに対し、本実施例は放射線検出器環状体をX線源と共に周回させる構成を有する。放射線検査装置1Eは、図7に示す放射線検査装置1Aの撮像装置2を撮像装置2Eに替えた構成を有する。放射線検査装置1Eの他の構成は放射線検査装置1の構成と同じである。撮像装置2Eは環状回転体40,周方向駆動装置41,駆動装置制御装置17A及びX線源制御装置18Aを備える。
本発明の他の実施例である実施例6の放射線検査装置1Eを図16及び図17を用いて以下説明する。実施例1〜5は放射線検出器環状体を固定していたのに対し、本実施例は放射線検出器環状体をX線源と共に周回させる構成を有する。放射線検査装置1Eは、図7に示す放射線検査装置1Aの撮像装置2を撮像装置2Eに替えた構成を有する。放射線検査装置1Eの他の構成は放射線検査装置1の構成と同じである。撮像装置2Eは環状回転体40,周方向駆動装置41,駆動装置制御装置17A及びX線源制御装置18Aを備える。
環状回転体40は、放射線検出器環状体3D,X線源装置8C及びX線源装置保持部
48を有する。放射線検出器環状体3Dは、放射線検出器4、及び環状保持部5Dを有する。放射線検出器4は、実施例2と同様に、環状保持部5D内面に取付けられる。環状保持部5Dは、軸方向に延びて横断面が矩形状をしているスリット36Bを周方向の一箇所に形成する。放射性検出器4はスリット36Bの部分に設置されていない。X線源装置保持部48は、軸方向に延びており、環状保持部5Dの外面に設置される。本実施例のX線源装置8Cは、実施例5のそれと同様な構成を有する。X線源装置8CのX線源駆動装置10が、X線源装置保持部48に設けられたスキャンレール12Bに沿って移動する。このため、X線源9は放射線検出器環状体3Dの軸方向に移動する。
48を有する。放射線検出器環状体3Dは、放射線検出器4、及び環状保持部5Dを有する。放射線検出器4は、実施例2と同様に、環状保持部5D内面に取付けられる。環状保持部5Dは、軸方向に延びて横断面が矩形状をしているスリット36Bを周方向の一箇所に形成する。放射性検出器4はスリット36Bの部分に設置されていない。X線源装置保持部48は、軸方向に延びており、環状保持部5Dの外面に設置される。本実施例のX線源装置8Cは、実施例5のそれと同様な構成を有する。X線源装置8CのX線源駆動装置10が、X線源装置保持部48に設けられたスキャンレール12Bに沿って移動する。このため、X線源9は放射線検出器環状体3Dの軸方向に移動する。
周方向駆動装置41は、実質的に環状の回転体保持部42、及び駆動装置44を有する。回転体保持部42は図18に示すように床面に固定される保持部材6Cに設置される。回転体保持部42は、図18に示すように保持部材6Cに接する部分の一部が切込まれて空間43を形成している。駆動装置44は空間43内に配置される。駆動装置44は、モーター45,モーター45の回転軸に連結される減速装置46、及び減速装置46に連結されるピニオン47を有する。モーター45及び減速装置46は支持部材6Cに設置される。回転体保持部42は、環状回転体40に面する一端面に、実質的に環状であるガイド溝49を有する。支持部材15も、環状回転体40に面する一端面に、円弧を描くガイド溝50を有する。環状保持部5Dの一端部がガイド溝49内に挿入され、その多端部がガイド溝50内に挿入される。環状保持部5Dの回転体保持部42側における端部の外面には、図示されていないがラックが設けられる。このラックはピニオン47と噛合っている。環状保持部5Dの端部がガイド溝49及び50内にそれぞれ挿入された環状回転体40は、支持部材15及び回転体保持部42によって支持されている。
本実施例は、環状回転体40を回転されてX線CT検査及びPET検査を実施する。両検査を実施する際、放射線検出器4及びX線源9は共に周方向に旋回する。検査開始時にモーター45が駆動され、その回転力が減速装置46を介してピニオン47に伝えられる。ピニオン47の回転によって、環状保持部5Dがガイド溝49及び50にガイドされながら回転する。このようにして環状回転体40が回転される。環状回転体40が回転している間は、X線がX線源9から放出される。X線源9に設置されたコリメータ(図示せず)は、孔部30の軸方向へのX線の広がりを抑えかつ周方向にはファン状のX線を形成する。
本実施例は、放射線検出器4及びX線源9は共に周方向に旋回するため、実施例1ないし5のようにX線を検出する放射線検出器4の位置が変わることはない。すなわち、X線源9が旋回した場合において、放射線検出器環状体3D内の特定の位置に存在する複数の放射線検出器4(放射線検出器4Aと称する、図17参照)が常に被検診者35を透過したX線を検出する。これらの放射線検出器4Aは、被検診者35から放出されるγ線も検出し、X線撮像信号及びγ線撮像信号の両方を出力する。放射線検出器4Aに接続された信号弁別装置19Aは、実施例2と同様に、X線撮像信号及びγ線撮像信号の処理を行う。放射線検出器4A以外の放射線検出器4(放射線検出器4Bと称する、図17参照)は、γ線を検出するが、X線を検出しない。放射線検出器4Bは、X線撮像信号を出力せず、γ線撮像信号を出力する。このため、放射線検出器4Bに接続される信号弁別装置19Aは、X線撮像信号を処理する波高分析装置38を設けていなく、構造が単純化される。放射線検出器4Bに接続される信号弁別装置19Aはγ線撮像信号を処理する。本実施例のコンピュータ27は図9に示す処理を実行して合成断層像のデータを作成する。
本実施例は、実施例1で得られる効果(2)〜(4)、実施例2で得られる効果(9)及び(10)、及び実施例3で得られる効果(11)及び(13)を生じる。本実施例は、更に、以下の(16)の効果を得ることができる。本実施例においても、実施例5で用いたコリメータをスリット36Bの出口側に設置してもよい。このコリメータの設置は実施例5で得られる効果(14)を生じる。
(16)本実施例では、回転する放射線検出器環状体3に設けられた複数の放射線検出器4が環状に配置されている。本実施例は、環状に配置されたそれらの放射線検出器4によって被検体である被検診者35から放出される複数のγ線の対を検出できると共に、環状に配置されたそれらの放射線検出器4の一部によって周方向に移動するX線源9から放出されて被検診者35を透過したX線も検出できる。このため、本実施例は、実施例1と同様に、撮像装置が一台あればよく、X線CT検査及びPET検査の両方を実施できる放射線検査装置の構成を単純化できる。
本実施例はスリット36Bの横断面形状を放射線検出器環状体の軸方向に細長い矩形としその軸方向にX線源9を移動できる構成を有するが、これに限定されずに、例えばX線源のビーム形状に合った最小限のスリットを形成してもよい。このような構成によって、X線源の軸方向移動機構(スキャンレール12Bを有するX線源装置保持部48等)は不必要となる。この場合には、被検診者35をベッド16によりその軸方向に移動させればよい。
実施例1ないし実施例6では、X線の照射はファンビーム形状で行われているがX線の照射はこれに限定されない。例えばX線をコーンビーム状に照射して3次元の合成断層像のデータを得ることも可能である。実施例1ないし実施例6では、放射線検出器4としてCdTeを適用した半導体放射線検出器を用いているが、CZT及びGaAs等を適用した半導体放射線検出器を用いることもできる。また、半導体放射線検出器以外の放射線検出器であるシンチレータを使用することも可能である。実施例1ないし実施例6では、X線源、またはX線源及び放射線検出器を被検体の周りで旋回させているが、X線源及び放射線検出器を固定して被検体を回転させてもよい。
実施例1〜6は、被検体に対する孔部30の軸方向における検査をベッド16の移動により行っている。これに対して、その検査を、ベッド16を固定して撮像装置をその軸方向に移動することによって実施することもできる。また、実施例1〜6では、放射線検出器を円筒形に配置しているが、その配置はそれに限定されない。例えば、放射線検出器を設置した平面パネルを6枚組合せ6面体状に配置するなどその形は様々に構成可能である。
1,1A,1B,1C,1D,1E…放射線検査装置、2,2A,2B,2C,2D,2E…撮像装置、3,3A,3B,3C,3D…放射線検出器環状体、4…放射線検出器、6…支持部材、7…X線源周方向移動装置、8,8A,8B,8C…X線源装置、9…X線源、10…X線源駆動装置、11…被検診者保持装置、12,12A,12B…スキャンレール、13,13A…X線源装置保持部、16…ベッド、17,17A…駆動装置制御装置、18,18A…X線源制御装置、19,19A…信号弁別装置、20…波形整形装置、21…γ線弁別装置、22…信号処理装置、26…同時計数装置、31…切替スイッチ、36,36A,36B…スリット、39…コリメータ。
Claims (8)
- 被検体を乗せるベッドと、撮像装置とを備え、
前記撮像装置は、環状に設置された複数の放射線検出器を有する放射線検出器環状体と、X線を放出するX線源と、前記X線源を前記放射線検出器環状体よりも内側で前記放射線検出器環状体の周方向へ移動させるX線源移動手段とを含んでおり、
前記放射線検出器は、前記被検体を透過した前記X線の検出信号である第1検出信号、及び前記被検体から放出されるγ線の検出信号である第2検出信号を出力することを特徴とする陽電子放出型CT装置。 - 前記X線源を前記放射線検出器環状体よりも内側で前記放射線検出器環状体の軸方向に移動させるX線源軸方向移動手段を有する請求項1記載の陽電子放出型CT装置。
- 前記X線源からのX線の放出及び停止を交互に行わせかつそのX線の放出を設定された
時間の間に行わせる制御装置を備えた請求項1または請求項2記載の陽電子放出型CT装置。 - 被検体を乗せるベッドと、撮像装置とを備え、
前記撮像装置は、環状に設置された複数の放射線検出器を有する放射線検出器環状体と、X線を放出するX線源と、前記X線源を前記放射線検出器環状体よりも内側で前記放射線検出器環状体の周方向へ移動させるX線源移動手段とを含んでおり、
前記放射線検出器は、前記被検体を透過した前記X線の検出信号である第1検出信号、及び前記被検体から放出されたγ線の検出信号である第2検出信号を含む出力信号を出力することを特徴とする陽電子放出型CT装置。 - 前記X線源を前記放射線検出器環状体よりも内側で前記放射線検出器環状体の軸方向に移動させるX線源軸方向移動手段を有する請求項4記載の陽電子放出型CT装置。
- 入力した前記出力信号から前記第1検出信号と前記第2検出信号とを分離し、かつ前記複数の放射線検出器の各々に接続された信号分離装置を備えた請求項4または請求項5記載の陽電子放出型CT装置。
- 前記第1検出信号に基づいて前記被検体の第1断層像のデータを作成し、前記第2検出信号に基づいて前記被検体の第2断層像のデータを作成し、かつ前記第1断層像のデータと前記第2断層像のデータとを合成した合成断層像のデータを作成する断層像データ作成装置を備えた請求項1ないし請求項6のいずれか1項に記載の陽電子放出型CT装置。
- 前記放射線検出器は半導体放射線検出器である請求項1ないし請求項6のいずれか1項に記載の陽電子放出型CT装置。
Priority Applications (1)
| Application Number | Priority Date | Filing Date | Title |
|---|---|---|---|
| JP2005008501A JP2005164609A (ja) | 2005-01-17 | 2005-01-17 | 陽電子放出型ct装置 |
Applications Claiming Priority (1)
| Application Number | Priority Date | Filing Date | Title |
|---|---|---|---|
| JP2005008501A JP2005164609A (ja) | 2005-01-17 | 2005-01-17 | 陽電子放出型ct装置 |
Related Parent Applications (1)
| Application Number | Title | Priority Date | Filing Date |
|---|---|---|---|
| JP2001275897A Division JP3664121B2 (ja) | 2001-06-19 | 2001-09-12 | 放射線検査装置及び放射線検査方法 |
Publications (1)
| Publication Number | Publication Date |
|---|---|
| JP2005164609A true JP2005164609A (ja) | 2005-06-23 |
Family
ID=34737544
Family Applications (1)
| Application Number | Title | Priority Date | Filing Date |
|---|---|---|---|
| JP2005008501A Pending JP2005164609A (ja) | 2005-01-17 | 2005-01-17 | 陽電子放出型ct装置 |
Country Status (1)
| Country | Link |
|---|---|
| JP (1) | JP2005164609A (ja) |
Cited By (2)
| Publication number | Priority date | Publication date | Assignee | Title |
|---|---|---|---|---|
| JP2010500119A (ja) * | 2006-08-09 | 2010-01-07 | コーニンクレッカ フィリップス エレクトロニクス エヌ ヴィ | スペクトルコンピュータ断層撮影のための装置及び方法 |
| JP2011053130A (ja) * | 2009-09-03 | 2011-03-17 | Toshiba Corp | 画像診断装置 |
-
2005
- 2005-01-17 JP JP2005008501A patent/JP2005164609A/ja active Pending
Cited By (2)
| Publication number | Priority date | Publication date | Assignee | Title |
|---|---|---|---|---|
| JP2010500119A (ja) * | 2006-08-09 | 2010-01-07 | コーニンクレッカ フィリップス エレクトロニクス エヌ ヴィ | スペクトルコンピュータ断層撮影のための装置及び方法 |
| JP2011053130A (ja) * | 2009-09-03 | 2011-03-17 | Toshiba Corp | 画像診断装置 |
Similar Documents
| Publication | Publication Date | Title |
|---|---|---|
| JP3888156B2 (ja) | 放射線検査装置 | |
| KR100501588B1 (ko) | 방사선 검사 장치 및 그 검사 방법 | |
| JP4093013B2 (ja) | 放射線検査装置 | |
| US7759646B2 (en) | Radiological imaging apparatus and radiological imaging method and radiological imaging support method | |
| JP3820972B2 (ja) | Pet装置 | |
| JP3664121B2 (ja) | 放射線検査装置及び放射線検査方法 | |
| US20030012331A1 (en) | Radiological imaging apparatus | |
| JP2004350942A (ja) | 断層像作成装置及び放射線検査装置 | |
| JP3938078B2 (ja) | 放射線検査装置 | |
| JP3937942B2 (ja) | 放射線検査装置 | |
| JP2007181729A (ja) | 放射線検査装置の制御方法および画像情報作成方法 | |
| JP4321492B2 (ja) | 放射線検査装置 | |
| JP5532061B2 (ja) | 放射線検査装置 | |
| JP2011154031A (ja) | 放射線検査装置 | |
| JP4737201B2 (ja) | 放射線検査装置 | |
| JP2009058528A (ja) | 放射線検査装置 | |
| JP3797379B2 (ja) | 陽電子放出型ct装置 | |
| JP4604974B2 (ja) | Pet装置 | |
| CN101317767A (zh) | 放射成象装置 | |
| JP2005164609A (ja) | 陽電子放出型ct装置 | |
| JP3824264B2 (ja) | 放射線検査装置及び放射線検出方法 | |
| JP4333692B2 (ja) | 放射線検査装置 | |
| JP4400641B2 (ja) | 放射線検査装置及び陽電子放出型ct装置 |
Legal Events
| Date | Code | Title | Description |
|---|---|---|---|
| RD01 | Notification of change of attorney |
Free format text: JAPANESE INTERMEDIATE CODE: A7421 Effective date: 20060421 |
|
| A131 | Notification of reasons for refusal |
Free format text: JAPANESE INTERMEDIATE CODE: A131 Effective date: 20080205 |
|
| A02 | Decision of refusal |
Free format text: JAPANESE INTERMEDIATE CODE: A02 Effective date: 20080722 |