JP2005140790A - 粒子を含む液体から液状成分を分離するための微細構造型分離装置および分離方法 - Google Patents
粒子を含む液体から液状成分を分離するための微細構造型分離装置および分離方法 Download PDFInfo
- Publication number
- JP2005140790A JP2005140790A JP2004324376A JP2004324376A JP2005140790A JP 2005140790 A JP2005140790 A JP 2005140790A JP 2004324376 A JP2004324376 A JP 2004324376A JP 2004324376 A JP2004324376 A JP 2004324376A JP 2005140790 A JP2005140790 A JP 2005140790A
- Authority
- JP
- Japan
- Prior art keywords
- separation
- particles
- microstructure
- liquid
- composite
- Prior art date
- Legal status (The legal status is an assumption and is not a legal conclusion. Google has not performed a legal analysis and makes no representation as to the accuracy of the status listed.)
- Ceased
Links
- 238000000926 separation method Methods 0.000 title claims abstract description 275
- 239000002245 particle Substances 0.000 title claims abstract description 181
- 239000007788 liquid Substances 0.000 title claims abstract description 156
- 238000000034 method Methods 0.000 title claims description 32
- 230000033001 locomotion Effects 0.000 claims abstract description 23
- 239000002131 composite material Substances 0.000 claims description 108
- 239000000126 substance Substances 0.000 claims description 58
- 210000004027 cell Anatomy 0.000 claims description 23
- 230000003111 delayed effect Effects 0.000 claims description 17
- 230000002776 aggregation Effects 0.000 claims description 11
- 230000015271 coagulation Effects 0.000 claims description 10
- 238000005345 coagulation Methods 0.000 claims description 10
- 238000004519 manufacturing process Methods 0.000 claims description 8
- 238000004458 analytical method Methods 0.000 claims description 7
- 238000006243 chemical reaction Methods 0.000 claims description 7
- 238000004220 aggregation Methods 0.000 claims description 6
- 239000011521 glass Substances 0.000 claims description 6
- 241000700605 Viruses Species 0.000 claims description 5
- 230000009471 action Effects 0.000 claims description 5
- 238000005054 agglomeration Methods 0.000 claims description 5
- 230000007423 decrease Effects 0.000 claims description 5
- 238000011534 incubation Methods 0.000 claims description 5
- 230000003287 optical effect Effects 0.000 claims description 4
- 229920000642 polymer Polymers 0.000 claims description 4
- 239000003826 tablet Substances 0.000 claims description 4
- 239000012528 membrane Substances 0.000 claims description 3
- 239000008188 pellet Substances 0.000 claims description 3
- 239000000843 powder Substances 0.000 claims description 3
- 101710160107 Outer membrane protein A Proteins 0.000 claims description 2
- 239000011248 coating agent Substances 0.000 claims description 2
- 238000000576 coating method Methods 0.000 claims description 2
- 239000012141 concentrate Substances 0.000 claims description 2
- 238000000835 electrochemical detection Methods 0.000 claims description 2
- 230000000890 antigenic effect Effects 0.000 claims 1
- 238000012258 culturing Methods 0.000 claims 1
- 150000001875 compounds Chemical class 0.000 abstract 5
- 239000000725 suspension Substances 0.000 abstract 1
- 210000004369 blood Anatomy 0.000 description 25
- 239000008280 blood Substances 0.000 description 25
- 210000002381 plasma Anatomy 0.000 description 18
- 210000003743 erythrocyte Anatomy 0.000 description 17
- 239000000523 sample Substances 0.000 description 16
- 238000005534 hematocrit Methods 0.000 description 10
- 210000000601 blood cell Anatomy 0.000 description 9
- 230000000903 blocking effect Effects 0.000 description 7
- 230000015572 biosynthetic process Effects 0.000 description 6
- 230000001934 delay Effects 0.000 description 5
- 238000011049 filling Methods 0.000 description 5
- 206010053567 Coagulopathies Diseases 0.000 description 4
- 239000000427 antigen Substances 0.000 description 4
- 102000036639 antigens Human genes 0.000 description 4
- 108091007433 antigens Proteins 0.000 description 4
- 239000000969 carrier Substances 0.000 description 4
- 230000035602 clotting Effects 0.000 description 4
- 230000000694 effects Effects 0.000 description 3
- 210000000265 leukocyte Anatomy 0.000 description 3
- 239000000463 material Substances 0.000 description 3
- 230000007246 mechanism Effects 0.000 description 3
- 230000004048 modification Effects 0.000 description 3
- 238000012986 modification Methods 0.000 description 3
- 230000036961 partial effect Effects 0.000 description 3
- 239000007787 solid Substances 0.000 description 3
- 239000000243 solution Substances 0.000 description 3
- 241000894006 Bacteria Species 0.000 description 2
- 102000004856 Lectins Human genes 0.000 description 2
- 108090001090 Lectins Proteins 0.000 description 2
- 230000001154 acute effect Effects 0.000 description 2
- 230000004931 aggregating effect Effects 0.000 description 2
- 230000001413 cellular effect Effects 0.000 description 2
- 238000005119 centrifugation Methods 0.000 description 2
- 238000001514 detection method Methods 0.000 description 2
- 238000005516 engineering process Methods 0.000 description 2
- 239000012065 filter cake Substances 0.000 description 2
- 238000001914 filtration Methods 0.000 description 2
- 239000012530 fluid Substances 0.000 description 2
- 238000002955 isolation Methods 0.000 description 2
- 239000002523 lectin Substances 0.000 description 2
- 238000005259 measurement Methods 0.000 description 2
- 238000002156 mixing Methods 0.000 description 2
- 239000000203 mixture Substances 0.000 description 2
- 102000004169 proteins and genes Human genes 0.000 description 2
- 230000000306 recurrent effect Effects 0.000 description 2
- 230000002829 reductive effect Effects 0.000 description 2
- 230000003252 repetitive effect Effects 0.000 description 2
- 239000012488 sample solution Substances 0.000 description 2
- 210000001519 tissue Anatomy 0.000 description 2
- 102000008946 Fibrinogen Human genes 0.000 description 1
- 108010049003 Fibrinogen Proteins 0.000 description 1
- 102000014702 Haptoglobin Human genes 0.000 description 1
- 108050005077 Haptoglobin Proteins 0.000 description 1
- 108091005461 Nucleic proteins Proteins 0.000 description 1
- 238000009825 accumulation Methods 0.000 description 1
- 230000004520 agglutination Effects 0.000 description 1
- 239000000910 agglutinin Substances 0.000 description 1
- 239000012298 atmosphere Substances 0.000 description 1
- 230000001580 bacterial effect Effects 0.000 description 1
- 230000008901 benefit Effects 0.000 description 1
- 238000005842 biochemical reaction Methods 0.000 description 1
- 230000008859 change Effects 0.000 description 1
- 238000007705 chemical test Methods 0.000 description 1
- 238000003759 clinical diagnosis Methods 0.000 description 1
- 239000011246 composite particle Substances 0.000 description 1
- 238000003745 diagnosis Methods 0.000 description 1
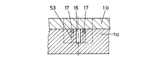
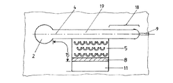
- 238000010586 diagram Methods 0.000 description 1
- 238000009792 diffusion process Methods 0.000 description 1
- -1 etc. Substances 0.000 description 1
- 230000002349 favourable effect Effects 0.000 description 1
- 229940012952 fibrinogen Drugs 0.000 description 1
- 238000005429 filling process Methods 0.000 description 1
- 230000035931 haemagglutination Effects 0.000 description 1
- 230000005660 hydrophilic surface Effects 0.000 description 1
- 230000005661 hydrophobic surface Effects 0.000 description 1
- 238000005286 illumination Methods 0.000 description 1
- 230000001939 inductive effect Effects 0.000 description 1
- 230000002401 inhibitory effect Effects 0.000 description 1
- 238000007689 inspection Methods 0.000 description 1
- 230000002427 irreversible effect Effects 0.000 description 1
- 239000004816 latex Substances 0.000 description 1
- 229920000126 latex Polymers 0.000 description 1
- 229920002521 macromolecule Polymers 0.000 description 1
- 238000010339 medical test Methods 0.000 description 1
- 102000039446 nucleic acids Human genes 0.000 description 1
- 108020004707 nucleic acids Proteins 0.000 description 1
- 150000007523 nucleic acids Chemical class 0.000 description 1
- 238000000399 optical microscopy Methods 0.000 description 1
- 239000008177 pharmaceutical agent Substances 0.000 description 1
- 210000004180 plasmocyte Anatomy 0.000 description 1
- 239000004033 plastic Substances 0.000 description 1
- 229920003023 plastic Polymers 0.000 description 1
- 229920002223 polystyrene Polymers 0.000 description 1
- 230000008569 process Effects 0.000 description 1
- 230000001737 promoting effect Effects 0.000 description 1
- 108090000623 proteins and genes Proteins 0.000 description 1
- 238000011160 research Methods 0.000 description 1
- 229920005989 resin Polymers 0.000 description 1
- 239000011347 resin Substances 0.000 description 1
- 230000002441 reversible effect Effects 0.000 description 1
- 238000005096 rolling process Methods 0.000 description 1
- 210000002966 serum Anatomy 0.000 description 1
- 238000001179 sorption measurement Methods 0.000 description 1
- 239000012085 test solution Substances 0.000 description 1
- 230000007704 transition Effects 0.000 description 1
Images
Classifications
-
- G—PHYSICS
- G01—MEASURING; TESTING
- G01N—INVESTIGATING OR ANALYSING MATERIALS BY DETERMINING THEIR CHEMICAL OR PHYSICAL PROPERTIES
- G01N1/00—Sampling; Preparing specimens for investigation
- G01N1/28—Preparing specimens for investigation including physical details of (bio-)chemical methods covered elsewhere, e.g. G01N33/50, C12Q
- G01N1/40—Concentrating samples
- G01N1/4077—Concentrating samples by other techniques involving separation of suspended solids
-
- B—PERFORMING OPERATIONS; TRANSPORTING
- B01—PHYSICAL OR CHEMICAL PROCESSES OR APPARATUS IN GENERAL
- B01F—MIXING, e.g. DISSOLVING, EMULSIFYING OR DISPERSING
- B01F25/00—Flow mixers; Mixers for falling materials, e.g. solid particles
- B01F25/40—Static mixers
- B01F25/42—Static mixers in which the mixing is affected by moving the components jointly in changing directions, e.g. in tubes provided with baffles or obstructions
- B01F25/43—Mixing tubes, e.g. wherein the material is moved in a radial or partly reversed direction
- B01F25/431—Straight mixing tubes with baffles or obstructions that do not cause substantial pressure drop; Baffles therefor
- B01F25/4317—Profiled elements, e.g. profiled blades, bars, pillars, columns or chevrons
-
- B—PERFORMING OPERATIONS; TRANSPORTING
- B01—PHYSICAL OR CHEMICAL PROCESSES OR APPARATUS IN GENERAL
- B01L—CHEMICAL OR PHYSICAL LABORATORY APPARATUS FOR GENERAL USE
- B01L3/00—Containers or dishes for laboratory use, e.g. laboratory glassware; Droppers
- B01L3/50—Containers for the purpose of retaining a material to be analysed, e.g. test tubes
- B01L3/502—Containers for the purpose of retaining a material to be analysed, e.g. test tubes with fluid transport, e.g. in multi-compartment structures
- B01L3/5027—Containers for the purpose of retaining a material to be analysed, e.g. test tubes with fluid transport, e.g. in multi-compartment structures by integrated microfluidic structures, i.e. dimensions of channels and chambers are such that surface tension forces are important, e.g. lab-on-a-chip
- B01L3/502753—Containers for the purpose of retaining a material to be analysed, e.g. test tubes with fluid transport, e.g. in multi-compartment structures by integrated microfluidic structures, i.e. dimensions of channels and chambers are such that surface tension forces are important, e.g. lab-on-a-chip characterised by bulk separation arrangements on lab-on-a-chip devices, e.g. for filtration or centrifugation
-
- B—PERFORMING OPERATIONS; TRANSPORTING
- B01—PHYSICAL OR CHEMICAL PROCESSES OR APPARATUS IN GENERAL
- B01F—MIXING, e.g. DISSOLVING, EMULSIFYING OR DISPERSING
- B01F25/00—Flow mixers; Mixers for falling materials, e.g. solid particles
- B01F25/40—Static mixers
- B01F25/42—Static mixers in which the mixing is affected by moving the components jointly in changing directions, e.g. in tubes provided with baffles or obstructions
- B01F25/43—Mixing tubes, e.g. wherein the material is moved in a radial or partly reversed direction
- B01F25/431—Straight mixing tubes with baffles or obstructions that do not cause substantial pressure drop; Baffles therefor
- B01F25/4316—Straight mixing tubes with baffles or obstructions that do not cause substantial pressure drop; Baffles therefor the baffles being flat pieces of material, e.g. intermeshing, fixed to the wall or fixed on a central rod
-
- B—PERFORMING OPERATIONS; TRANSPORTING
- B01—PHYSICAL OR CHEMICAL PROCESSES OR APPARATUS IN GENERAL
- B01F—MIXING, e.g. DISSOLVING, EMULSIFYING OR DISPERSING
- B01F33/00—Other mixers; Mixing plants; Combinations of mixers
- B01F33/30—Micromixers
-
- B—PERFORMING OPERATIONS; TRANSPORTING
- B01—PHYSICAL OR CHEMICAL PROCESSES OR APPARATUS IN GENERAL
- B01L—CHEMICAL OR PHYSICAL LABORATORY APPARATUS FOR GENERAL USE
- B01L2200/00—Solutions for specific problems relating to chemical or physical laboratory apparatus
- B01L2200/06—Fluid handling related problems
- B01L2200/0647—Handling flowable solids, e.g. microscopic beads, cells, particles
- B01L2200/0668—Trapping microscopic beads
-
- B—PERFORMING OPERATIONS; TRANSPORTING
- B01—PHYSICAL OR CHEMICAL PROCESSES OR APPARATUS IN GENERAL
- B01L—CHEMICAL OR PHYSICAL LABORATORY APPARATUS FOR GENERAL USE
- B01L2200/00—Solutions for specific problems relating to chemical or physical laboratory apparatus
- B01L2200/10—Integrating sample preparation and analysis in single entity, e.g. lab-on-a-chip concept
-
- B—PERFORMING OPERATIONS; TRANSPORTING
- B01—PHYSICAL OR CHEMICAL PROCESSES OR APPARATUS IN GENERAL
- B01L—CHEMICAL OR PHYSICAL LABORATORY APPARATUS FOR GENERAL USE
- B01L2300/00—Additional constructional details
- B01L2300/06—Auxiliary integrated devices, integrated components
- B01L2300/0681—Filter
-
- B—PERFORMING OPERATIONS; TRANSPORTING
- B01—PHYSICAL OR CHEMICAL PROCESSES OR APPARATUS IN GENERAL
- B01L—CHEMICAL OR PHYSICAL LABORATORY APPARATUS FOR GENERAL USE
- B01L2300/00—Additional constructional details
- B01L2300/18—Means for temperature control
-
- B—PERFORMING OPERATIONS; TRANSPORTING
- B01—PHYSICAL OR CHEMICAL PROCESSES OR APPARATUS IN GENERAL
- B01L—CHEMICAL OR PHYSICAL LABORATORY APPARATUS FOR GENERAL USE
- B01L2400/00—Moving or stopping fluids
- B01L2400/04—Moving fluids with specific forces or mechanical means
- B01L2400/0403—Moving fluids with specific forces or mechanical means specific forces
- B01L2400/0406—Moving fluids with specific forces or mechanical means specific forces capillary forces
-
- B—PERFORMING OPERATIONS; TRANSPORTING
- B01—PHYSICAL OR CHEMICAL PROCESSES OR APPARATUS IN GENERAL
- B01L—CHEMICAL OR PHYSICAL LABORATORY APPARATUS FOR GENERAL USE
- B01L2400/00—Moving or stopping fluids
- B01L2400/08—Regulating or influencing the flow resistance
- B01L2400/084—Passive control of flow resistance
- B01L2400/086—Passive control of flow resistance using baffles or other fixed flow obstructions
Landscapes
- Chemical & Material Sciences (AREA)
- Health & Medical Sciences (AREA)
- General Health & Medical Sciences (AREA)
- Life Sciences & Earth Sciences (AREA)
- Analytical Chemistry (AREA)
- Dispersion Chemistry (AREA)
- Chemical Kinetics & Catalysis (AREA)
- General Physics & Mathematics (AREA)
- Biochemistry (AREA)
- Physics & Mathematics (AREA)
- Immunology (AREA)
- Pathology (AREA)
- Molecular Biology (AREA)
- Hematology (AREA)
- Clinical Laboratory Science (AREA)
- Investigating Or Analysing Biological Materials (AREA)
- Apparatus Associated With Microorganisms And Enzymes (AREA)
- Micro-Organisms Or Cultivation Processes Thereof (AREA)
Applications Claiming Priority (1)
| Application Number | Priority Date | Filing Date | Title |
|---|---|---|---|
| DE10352535A DE10352535A1 (de) | 2003-11-07 | 2003-11-07 | Mikrostrukturierte Trennvorrichtung und Verfahren zum Abtrennen von flüssigen Bestandteilen aus einer Partikel enthaltenden Flüssigkeit |
Publications (2)
| Publication Number | Publication Date |
|---|---|
| JP2005140790A true JP2005140790A (ja) | 2005-06-02 |
| JP2005140790A5 JP2005140790A5 (enExample) | 2007-11-01 |
Family
ID=34428663
Family Applications (1)
| Application Number | Title | Priority Date | Filing Date |
|---|---|---|---|
| JP2004324376A Ceased JP2005140790A (ja) | 2003-11-07 | 2004-11-08 | 粒子を含む液体から液状成分を分離するための微細構造型分離装置および分離方法 |
Country Status (5)
| Country | Link |
|---|---|
| US (1) | US20050106756A1 (enExample) |
| EP (1) | EP1531003B1 (enExample) |
| JP (1) | JP2005140790A (enExample) |
| CN (1) | CN100453182C (enExample) |
| DE (1) | DE10352535A1 (enExample) |
Cited By (16)
| Publication number | Priority date | Publication date | Assignee | Title |
|---|---|---|---|---|
| JP2009109232A (ja) * | 2007-10-26 | 2009-05-21 | Josho Gakuen | 固液分離機能を有する装置及びその製造方法 |
| JP2010537203A (ja) * | 2007-08-24 | 2010-12-02 | アドヴァンスト リキッド ロジック インコーポレイテッド | 液滴アクチュエータでのビーズ操作 |
| JP2011508657A (ja) * | 2007-07-11 | 2011-03-17 | コーニング インコーポレイテッド | プロセス強化マイクロ流体装置 |
| JP2011513718A (ja) * | 2008-02-27 | 2011-04-28 | ベーリンガー インゲルハイム マイクロパーツ ゲゼルシャフト ミット ベシュレンクテル ハフツング | 血漿の分離装置 |
| KR20130037073A (ko) * | 2011-10-05 | 2013-04-15 | 삼성전자주식회사 | 유체 제어 장치 및 이를 사용하는 유체 제어 방법 |
| JP2013524256A (ja) * | 2010-04-15 | 2013-06-17 | サイトゲン カンパニー リミテッド | 微細流体装置及びこれを用いたターゲットの分離方法 |
| KR101517091B1 (ko) | 2012-05-10 | 2015-05-04 | 단국대학교 산학협력단 | 미세입자 분리장치 및 미세입자 분리수거방법 |
| KR101768123B1 (ko) * | 2010-12-03 | 2017-08-16 | 삼성전자주식회사 | 수력학 필터, 이를 구비한 필터링 장치 및 이에 의한 필터링 방법 |
| JPWO2016084381A1 (ja) * | 2014-11-28 | 2017-09-07 | 東洋製罐グループホールディングス株式会社 | 微細液送構造体、及び分析装置 |
| KR101850852B1 (ko) | 2016-01-08 | 2018-04-23 | 재단법인차세대융합기술연구원 | 미세유체채널장치 및 이의 사용방법 |
| JP2021043208A (ja) * | 2013-03-13 | 2021-03-18 | アボット・ラボラトリーズAbbott Laboratories | 液体中の気泡形成を軽減するための方法および装置 |
| JPWO2022070841A1 (enExample) * | 2020-09-29 | 2022-04-07 | ||
| USD962471S1 (en) | 2013-03-13 | 2022-08-30 | Abbott Laboratories | Reagent container |
| USD978375S1 (en) | 2013-03-13 | 2023-02-14 | Abbott Laboratories | Reagent container |
| US11712671B2 (en) | 2013-03-13 | 2023-08-01 | Abbott Laboratories | Methods and apparatus to agitate a liquid |
| JPWO2023189095A1 (enExample) * | 2022-03-28 | 2023-10-05 |
Families Citing this family (28)
| Publication number | Priority date | Publication date | Assignee | Title |
|---|---|---|---|---|
| GB0329220D0 (en) * | 2003-12-17 | 2004-01-21 | Inverness Medical Switzerland | System |
| CA2620690A1 (en) * | 2005-08-31 | 2007-03-08 | Nissan Chemical Industries, Ltd. | Microchip for cell response evaluation |
| GB2430393A (en) * | 2005-09-23 | 2007-03-28 | Univ Aston | Micro Device for Automatic Spermatozoa Selection and Cell Sorting |
| EP1949098A2 (en) * | 2005-11-09 | 2008-07-30 | Koninklijke Philips Electronics N.V. | Device for testing a fluid |
| TW200920841A (en) * | 2007-09-25 | 2009-05-16 | Cytyc Corp | Microfluidic apparatus for manipulating imaging and analyzing cells of a cytological specimen |
| EP2172260A1 (en) * | 2008-09-29 | 2010-04-07 | Corning Incorporated | Multiple flow path microfluidic devices |
| WO2010041231A2 (en) * | 2008-10-10 | 2010-04-15 | Cnrs-Dae | Cell sorting device |
| SG184592A1 (en) * | 2011-03-18 | 2012-10-30 | Univ Singapore | Isolating target cells from a biological fluid |
| WO2011078115A1 (ja) * | 2009-12-25 | 2011-06-30 | 学校法人常翔学園 | 固液分離機能を有する装置、μ-TASデバイス及び固液分離方法 |
| AU2011223512B2 (en) * | 2010-03-05 | 2016-07-21 | Garrett Thermal Systems Limited | Filter bypass |
| ITTO20100068U1 (it) * | 2010-04-20 | 2011-10-21 | Eltek Spa | Dispositivi microfluidici e/o attrezzature per dispositivi microfluidici |
| US20130143197A1 (en) * | 2010-08-15 | 2013-06-06 | Gpb Scientific, Llc | Microfluidic Cell Separation in the Assay of Blood |
| CN116179323A (zh) | 2011-05-27 | 2023-05-30 | 不列颠哥伦比亚大学 | 用于高通量分析的微流控细胞捕获和分析设备 |
| KR101911435B1 (ko) | 2011-09-26 | 2018-10-25 | 삼성전자주식회사 | 유체 제어 장치, 이를 포함하는 필터 및 바이오칩 |
| DE102011122579A1 (de) * | 2011-12-29 | 2013-07-04 | Fraunhofer-Gesellschaft zur Förderung der angewandten Forschung e.V. | Verfahren zum Trennen von Suspensions- oder Kolloidbestandteilen und Vorrichtung zum Trennen von Suspensions- oder Kolloidbestandteilen |
| CN107966576B (zh) | 2013-03-15 | 2021-08-03 | 雅培制药有限公司 | 具有后面可进入轨道系统的自动化诊断分析仪及相关方法 |
| US9958429B2 (en) * | 2013-11-06 | 2018-05-01 | Japan Science And Technology Agency | Substrate for controlling movement direction of animal cells, and cell identification method and cell separation method using the same |
| KR102360072B1 (ko) * | 2014-12-08 | 2022-02-08 | 삼성전자주식회사 | 미세입자 분리 장치 |
| KR102593919B1 (ko) * | 2016-03-21 | 2023-10-27 | 주식회사 지노바이오 | 세포 포획 카트리지 |
| WO2017217563A1 (ko) | 2016-06-13 | 2017-12-21 | 엘지전자 주식회사 | 디스플레이 장치 및 그를 포함하는 디스플레이 시스템 |
| CN106311368B (zh) * | 2016-07-29 | 2018-06-15 | 大连理工大学 | 一种用于微量进样器的液滴无损脱离装置 |
| GB2578187B (en) * | 2018-09-28 | 2022-10-05 | Guangdong Acxel Micro & Nano Tech Co Ltd | Droplet actuation |
| US11850583B2 (en) * | 2019-06-12 | 2023-12-26 | Siemens Healthcare Diagnostics Inc. | Plasma separation and sample metering device and kits and methods of use related thereto |
| DE102020004660B4 (de) * | 2020-07-31 | 2022-06-15 | Evorion Biotechnologies Gmbh | Vorrichtung zur sequentiellen Positionierung von Partikeln |
| WO2023144192A1 (de) * | 2022-01-25 | 2023-08-03 | Evorion Biotechnologies Gmbh | Vorrichtung zur sequentiellen positionierung von partikeln |
| US20250325986A1 (en) * | 2022-06-23 | 2025-10-23 | Solventum Intellectual Properties Company | Methods and devices for removing particles from fluids |
| KR20250102032A (ko) * | 2022-10-03 | 2025-07-04 | 웨스트 파마수티컬 서비시즈, 인코포레이티드 | 미세유체 혼합 및/또는 분리기 |
| WO2025166149A1 (en) * | 2024-02-02 | 2025-08-07 | Life Technologies Corporation | Microfluidic devices |
Family Cites Families (22)
| Publication number | Priority date | Publication date | Assignee | Title |
|---|---|---|---|---|
| US3827555A (en) * | 1973-03-05 | 1974-08-06 | Bio Physics Systems Inc | Particle sorter with segregation indicator |
| US4271119A (en) * | 1979-07-23 | 1981-06-02 | Eastman Kodak Company | Capillary transport device having connected transport zones |
| IT1212882B (it) * | 1983-07-29 | 1989-11-30 | Della Valle Francesco | Derivati basici della cumarina |
| US5135719A (en) * | 1986-10-29 | 1992-08-04 | Biotrack, Inc. | Blood separation device comprising a filter and a capillary flow pathway exiting the filter |
| US5726026A (en) * | 1992-05-01 | 1998-03-10 | Trustees Of The University Of Pennsylvania | Mesoscale sample preparation device and systems for determination and processing of analytes |
| US5304487A (en) * | 1992-05-01 | 1994-04-19 | Trustees Of The University Of Pennsylvania | Fluid handling in mesoscale analytical devices |
| US6156270A (en) * | 1992-05-21 | 2000-12-05 | Biosite Diagnostics, Inc. | Diagnostic devices and apparatus for the controlled movement of reagents without membranes |
| US5885527A (en) * | 1992-05-21 | 1999-03-23 | Biosite Diagnostics, Inc. | Diagnostic devices and apparatus for the controlled movement of reagents without membrances |
| US5427663A (en) * | 1993-06-08 | 1995-06-27 | British Technology Group Usa Inc. | Microlithographic array for macromolecule and cell fractionation |
| US5905028A (en) * | 1994-05-17 | 1999-05-18 | Gamma Biologicals, Inc. | Method and apparatus useful for detecting bloodgroup antigens and antibodies |
| US5938923A (en) * | 1997-04-15 | 1999-08-17 | The Regents Of The University Of California | Microfabricated filter and capsule using a substrate sandwich |
| DE19733108C2 (de) * | 1997-07-31 | 1999-06-02 | Bartels Mikrotechnik Gmbh | Trennvorrichtung im submum Bereich |
| GB9800263D0 (en) * | 1998-01-08 | 1998-03-04 | Bio Diagnostics Ltd | A device for testing liquids |
| US6762059B2 (en) * | 1999-08-13 | 2004-07-13 | U.S. Genomics, Inc. | Methods and apparatuses for characterization of single polymers |
| US6319719B1 (en) * | 1999-10-28 | 2001-11-20 | Roche Diagnostics Corporation | Capillary hematocrit separation structure and method |
| US6451264B1 (en) * | 2000-01-28 | 2002-09-17 | Roche Diagnostics Corporation | Fluid flow control in curved capillary channels |
| WO2002042780A2 (en) * | 2000-11-22 | 2002-05-30 | Burstein Technologies, Inc. | Apparatus and methods for separating agglutinants and disperse particles |
| US6919046B2 (en) * | 2001-06-07 | 2005-07-19 | Nanostream, Inc. | Microfluidic analytical devices and methods |
| US7456025B2 (en) * | 2001-08-28 | 2008-11-25 | Porex Corporation | Sintered polymer membrane for analyte detection device |
| US7459127B2 (en) * | 2002-02-26 | 2008-12-02 | Siemens Healthcare Diagnostics Inc. | Method and apparatus for precise transfer and manipulation of fluids by centrifugal and/or capillary forces |
| US7312085B2 (en) * | 2002-04-01 | 2007-12-25 | Fluidigm Corporation | Microfluidic particle-analysis systems |
| US20040166551A1 (en) * | 2003-02-24 | 2004-08-26 | John Moulds | Detection of agglutination of assays |
-
2003
- 2003-11-07 DE DE10352535A patent/DE10352535A1/de not_active Withdrawn
-
2004
- 2004-11-02 EP EP04025985.5A patent/EP1531003B1/de not_active Expired - Lifetime
- 2004-11-08 JP JP2004324376A patent/JP2005140790A/ja not_active Ceased
- 2004-11-08 US US10/983,096 patent/US20050106756A1/en not_active Abandoned
- 2004-11-08 CN CNB2004100923056A patent/CN100453182C/zh not_active Expired - Fee Related
Cited By (32)
| Publication number | Priority date | Publication date | Assignee | Title |
|---|---|---|---|---|
| JP2014147930A (ja) * | 2007-07-11 | 2014-08-21 | Corning Inc | プロセス強化マイクロ流体装置 |
| JP2011508657A (ja) * | 2007-07-11 | 2011-03-17 | コーニング インコーポレイテッド | プロセス強化マイクロ流体装置 |
| JP2020114585A (ja) * | 2007-07-11 | 2020-07-30 | コーニング インコーポレイテッド | プロセス強化マイクロ流体装置 |
| JP2018051553A (ja) * | 2007-07-11 | 2018-04-05 | コーニング インコーポレイテッド | プロセス強化マイクロ流体装置 |
| JP7049381B2 (ja) | 2007-07-11 | 2022-04-06 | コーニング インコーポレイテッド | プロセス強化マイクロ流体装置 |
| JP2010537203A (ja) * | 2007-08-24 | 2010-12-02 | アドヴァンスト リキッド ロジック インコーポレイテッド | 液滴アクチュエータでのビーズ操作 |
| US8591830B2 (en) | 2007-08-24 | 2013-11-26 | Advanced Liquid Logic, Inc. | Bead manipulations on a droplet actuator |
| JP2009109232A (ja) * | 2007-10-26 | 2009-05-21 | Josho Gakuen | 固液分離機能を有する装置及びその製造方法 |
| US10363559B2 (en) | 2008-02-27 | 2019-07-30 | Boehringer Ingelheim International Gmbh | Apparatus for the separation of plasma |
| US9539572B2 (en) | 2008-02-27 | 2017-01-10 | Boehringer Ingelheim Microparts Gmbh | Apparatus for the separation of plasma |
| JP2011513718A (ja) * | 2008-02-27 | 2011-04-28 | ベーリンガー インゲルハイム マイクロパーツ ゲゼルシャフト ミット ベシュレンクテル ハフツング | 血漿の分離装置 |
| US9372134B2 (en) | 2010-04-15 | 2016-06-21 | Cytogen Co., Ltd. | Microfluidic device and method for isolating target using same |
| JP2013524256A (ja) * | 2010-04-15 | 2013-06-17 | サイトゲン カンパニー リミテッド | 微細流体装置及びこれを用いたターゲットの分離方法 |
| KR101768123B1 (ko) * | 2010-12-03 | 2017-08-16 | 삼성전자주식회사 | 수력학 필터, 이를 구비한 필터링 장치 및 이에 의한 필터링 방법 |
| KR20130037073A (ko) * | 2011-10-05 | 2013-04-15 | 삼성전자주식회사 | 유체 제어 장치 및 이를 사용하는 유체 제어 방법 |
| KR101890743B1 (ko) * | 2011-10-05 | 2018-08-23 | 삼성전자주식회사 | 유체 제어 장치 및 이를 사용하는 유체 제어 방법 |
| KR101517091B1 (ko) | 2012-05-10 | 2015-05-04 | 단국대학교 산학협력단 | 미세입자 분리장치 및 미세입자 분리수거방법 |
| USD1098486S1 (en) | 2013-03-13 | 2025-10-14 | Abbott Laboratories | Container for a diagnostic analyzer |
| JP2021043208A (ja) * | 2013-03-13 | 2021-03-18 | アボット・ラボラトリーズAbbott Laboratories | 液体中の気泡形成を軽減するための方法および装置 |
| JP7073470B2 (ja) | 2013-03-13 | 2022-05-23 | アボット・ラボラトリーズ | 液体中の気泡形成を軽減するための方法および装置 |
| USD962471S1 (en) | 2013-03-13 | 2022-08-30 | Abbott Laboratories | Reagent container |
| USD978375S1 (en) | 2013-03-13 | 2023-02-14 | Abbott Laboratories | Reagent container |
| US11712671B2 (en) | 2013-03-13 | 2023-08-01 | Abbott Laboratories | Methods and apparatus to agitate a liquid |
| US11738346B2 (en) | 2013-03-13 | 2023-08-29 | Abbott Laboratories | Methods and apparatus to mitigate bubble formation in a liquid |
| USD1099356S1 (en) | 2013-03-13 | 2025-10-21 | Abbott Laboratories | Reagent container |
| JPWO2016084381A1 (ja) * | 2014-11-28 | 2017-09-07 | 東洋製罐グループホールディングス株式会社 | 微細液送構造体、及び分析装置 |
| KR101850852B1 (ko) | 2016-01-08 | 2018-04-23 | 재단법인차세대융합기술연구원 | 미세유체채널장치 및 이의 사용방법 |
| JPWO2022070841A1 (enExample) * | 2020-09-29 | 2022-04-07 | ||
| JP7455339B2 (ja) | 2020-09-29 | 2024-03-26 | Nok株式会社 | 白血球捕捉デバイス |
| JP7729536B2 (ja) | 2022-03-28 | 2025-08-26 | 国立大学法人茨城大学 | 白血球捕捉デバイス |
| WO2023189095A1 (ja) * | 2022-03-28 | 2023-10-05 | 国立大学法人茨城大学 | 白血球捕捉デバイス |
| JPWO2023189095A1 (enExample) * | 2022-03-28 | 2023-10-05 |
Also Published As
| Publication number | Publication date |
|---|---|
| DE10352535A1 (de) | 2005-06-16 |
| EP1531003A1 (de) | 2005-05-18 |
| EP1531003B1 (de) | 2016-08-17 |
| CN100453182C (zh) | 2009-01-21 |
| US20050106756A1 (en) | 2005-05-19 |
| CN1628907A (zh) | 2005-06-22 |
Similar Documents
| Publication | Publication Date | Title |
|---|---|---|
| JP2005140790A (ja) | 粒子を含む液体から液状成分を分離するための微細構造型分離装置および分離方法 | |
| EP2761303B1 (en) | Devices and methods for shape-based particle separation | |
| TWI588262B (zh) | 用於分離或富集化細胞的方法及組合物 | |
| US9090663B2 (en) | Systems and methods for the capture and separation of microparticles | |
| US8722423B2 (en) | Assay method utilizing capillary transport on non-porous substrates | |
| US8986944B2 (en) | Methods and compositions for separating rare cells from fluid samples | |
| US7138269B2 (en) | Microflow system for particle separation and analysis | |
| AU2005249869B2 (en) | Controlled flow assay device and method | |
| JP2000512541A (ja) | 吸収力が向上した差違抽出装置 | |
| Farahinia et al. | Recent developments in inertial and centrifugal microfluidic systems along with the involved forces for cancer cell separation: A review | |
| KR101533230B1 (ko) | 다단 미세유체 칩 및 이를 이용한 시료의 선택적 분리방법 | |
| US9908117B2 (en) | Microfluidic separation device, separation method using the same and kit for separating circulating rare cells from blood using the same | |
| CN101310025A (zh) | 分析物富集的系统和方法 | |
| CN102695561A (zh) | 样品处理盒以及在离心力下处理和/或分析样品的方法 | |
| Li et al. | On-chip continuous blood cell subtype separation by deterministic lateral displacement | |
| CN111601660B (zh) | 微流体细胞装置及其使用方法 | |
| Li et al. | A power-free deposited microbead plug-based microfluidic chip for whole-blood immunoassay | |
| Zhang et al. | On-chip immuno-agglutination assay based on a dynamic magnetic bead clump and a sheath-less flow cytometry | |
| Satpathi et al. | Applications of microfluidics | |
| US12385908B2 (en) | Size-based particle separation and concentration using particle size amplification | |
| Chang et al. | A biomimetic method for extracting leukocytes from blood in microfluidic devices | |
| JP7714318B2 (ja) | 分離デバイス | |
| HK40075266A (en) | Microfluidic cellular device and methods of use thereof | |
| Zhang et al. | On-chip sample preparations for point-of-care cellular analysis of blood | |
| Mittal | Antibody-functionalized nanoporous surfaces enable high throughput specific cell capture |
Legal Events
| Date | Code | Title | Description |
|---|---|---|---|
| A521 | Request for written amendment filed |
Free format text: JAPANESE INTERMEDIATE CODE: A523 Effective date: 20070913 |
|
| A621 | Written request for application examination |
Free format text: JAPANESE INTERMEDIATE CODE: A621 Effective date: 20070913 |
|
| A131 | Notification of reasons for refusal |
Free format text: JAPANESE INTERMEDIATE CODE: A131 Effective date: 20090106 |
|
| A601 | Written request for extension of time |
Free format text: JAPANESE INTERMEDIATE CODE: A601 Effective date: 20090406 |
|
| A602 | Written permission of extension of time |
Free format text: JAPANESE INTERMEDIATE CODE: A602 Effective date: 20090409 |
|
| A521 | Request for written amendment filed |
Free format text: JAPANESE INTERMEDIATE CODE: A523 Effective date: 20090507 |
|
| A01 | Written decision to grant a patent or to grant a registration (utility model) |
Free format text: JAPANESE INTERMEDIATE CODE: A01 Effective date: 20090609 |
|
| A045 | Written measure of dismissal of application [lapsed due to lack of payment] |
Free format text: JAPANESE INTERMEDIATE CODE: A045 Effective date: 20091027 |