JP2005073764A - X線ct装置と超音波検査装置を組み合せた血管造影計測撮影システムおよび方法 - Google Patents
X線ct装置と超音波検査装置を組み合せた血管造影計測撮影システムおよび方法 Download PDFInfo
- Publication number
- JP2005073764A JP2005073764A JP2003304959A JP2003304959A JP2005073764A JP 2005073764 A JP2005073764 A JP 2005073764A JP 2003304959 A JP2003304959 A JP 2003304959A JP 2003304959 A JP2003304959 A JP 2003304959A JP 2005073764 A JP2005073764 A JP 2005073764A
- Authority
- JP
- Japan
- Prior art keywords
- ray
- region
- imaging
- contrast agent
- subject
- Prior art date
- Legal status (The legal status is an assumption and is not a legal conclusion. Google has not performed a legal analysis and makes no representation as to the accuracy of the status listed.)
- Pending
Links
- 238000003384 imaging method Methods 0.000 title claims abstract description 52
- 238000000034 method Methods 0.000 title abstract description 8
- 238000002604 ultrasonography Methods 0.000 title abstract 4
- 239000002872 contrast media Substances 0.000 claims abstract description 62
- 238000005259 measurement Methods 0.000 claims abstract description 37
- 238000012544 monitoring process Methods 0.000 claims abstract description 30
- 239000000523 sample Substances 0.000 claims abstract description 12
- 238000011144 upstream manufacturing Methods 0.000 claims abstract description 4
- 230000017531 blood circulation Effects 0.000 claims description 24
- 238000002347 injection Methods 0.000 claims description 23
- 239000007924 injection Substances 0.000 claims description 23
- 239000002961 echo contrast media Substances 0.000 claims description 22
- 238000007689 inspection Methods 0.000 claims description 17
- 238000005206 flow analysis Methods 0.000 claims description 10
- 210000003462 vein Anatomy 0.000 claims description 7
- 238000002583 angiography Methods 0.000 claims description 5
- 230000004087 circulation Effects 0.000 claims description 5
- 239000008280 blood Substances 0.000 claims description 2
- 210000004369 blood Anatomy 0.000 claims description 2
- 230000007274 generation of a signal involved in cell-cell signaling Effects 0.000 claims 1
- 238000001802 infusion Methods 0.000 abstract 1
- 238000004458 analytical method Methods 0.000 description 8
- 210000001715 carotid artery Anatomy 0.000 description 8
- 230000010412 perfusion Effects 0.000 description 8
- 238000012545 processing Methods 0.000 description 8
- 238000013170 computed tomography imaging Methods 0.000 description 7
- 238000001514 detection method Methods 0.000 description 3
- 238000010586 diagram Methods 0.000 description 3
- 210000004185 liver Anatomy 0.000 description 3
- 210000001367 artery Anatomy 0.000 description 2
- 238000003745 diagnosis Methods 0.000 description 2
- 238000007781 pre-processing Methods 0.000 description 2
- 238000002360 preparation method Methods 0.000 description 2
- 230000003187 abdominal effect Effects 0.000 description 1
- 238000010521 absorption reaction Methods 0.000 description 1
- 230000001133 acceleration Effects 0.000 description 1
- 210000000709 aorta Anatomy 0.000 description 1
- 230000005540 biological transmission Effects 0.000 description 1
- 210000004204 blood vessel Anatomy 0.000 description 1
- 238000004364 calculation method Methods 0.000 description 1
- 230000003727 cerebral blood flow Effects 0.000 description 1
- 230000002490 cerebral effect Effects 0.000 description 1
- 238000012790 confirmation Methods 0.000 description 1
- 201000010099 disease Diseases 0.000 description 1
- 208000037265 diseases, disorders, signs and symptoms Diseases 0.000 description 1
- 230000009977 dual effect Effects 0.000 description 1
- 238000011156 evaluation Methods 0.000 description 1
- 210000002767 hepatic artery Anatomy 0.000 description 1
- 238000012905 input function Methods 0.000 description 1
- 230000001678 irradiating effect Effects 0.000 description 1
- 230000003211 malignant effect Effects 0.000 description 1
- 239000000463 material Substances 0.000 description 1
- 230000000414 obstructive effect Effects 0.000 description 1
- 210000003240 portal vein Anatomy 0.000 description 1
- 238000004445 quantitative analysis Methods 0.000 description 1
- 230000005855 radiation Effects 0.000 description 1
- 230000002123 temporal effect Effects 0.000 description 1
- 230000002792 vascular Effects 0.000 description 1
Images
Classifications
-
- A—HUMAN NECESSITIES
- A61—MEDICAL OR VETERINARY SCIENCE; HYGIENE
- A61B—DIAGNOSIS; SURGERY; IDENTIFICATION
- A61B6/00—Apparatus or devices for radiation diagnosis; Apparatus or devices for radiation diagnosis combined with radiation therapy equipment
- A61B6/50—Apparatus or devices for radiation diagnosis; Apparatus or devices for radiation diagnosis combined with radiation therapy equipment specially adapted for specific body parts; specially adapted for specific clinical applications
- A61B6/507—Apparatus or devices for radiation diagnosis; Apparatus or devices for radiation diagnosis combined with radiation therapy equipment specially adapted for specific body parts; specially adapted for specific clinical applications for determination of haemodynamic parameters, e.g. perfusion CT
Landscapes
- Health & Medical Sciences (AREA)
- Life Sciences & Earth Sciences (AREA)
- Medical Informatics (AREA)
- Engineering & Computer Science (AREA)
- Optics & Photonics (AREA)
- Biomedical Technology (AREA)
- Biophysics (AREA)
- High Energy & Nuclear Physics (AREA)
- Oral & Maxillofacial Surgery (AREA)
- Nuclear Medicine, Radiotherapy & Molecular Imaging (AREA)
- Dentistry (AREA)
- Pathology (AREA)
- Radiology & Medical Imaging (AREA)
- Physics & Mathematics (AREA)
- Heart & Thoracic Surgery (AREA)
- Molecular Biology (AREA)
- Surgery (AREA)
- Animal Behavior & Ethology (AREA)
- General Health & Medical Sciences (AREA)
- Public Health (AREA)
- Veterinary Medicine (AREA)
- Apparatus For Radiation Diagnosis (AREA)
- Ultra Sonic Daignosis Equipment (AREA)
Abstract
【課題】被検者の無効被曝を低減しつつ確実に造影剤時間-濃度曲線(TDC)が測定出来るX線CT装置と超音波検査装置を組み合せた血管造影計測撮影システムおよび方法を提供する。
【解決手段】X線CT装置による造影検査に際して、被検体の関心領域である撮影部位の上流であって撮影部位に先立って造影される造影剤流入経路の近傍のもう1つの関心領域であるモニタリング部位に超音波検査装置のプローブを配設し、被検体へのX線造影剤の注入に先立って超音波造影剤を注入し、超音波検査装置のプローブによってモニタリング部位への超音波造影剤の到達を検出し、それをX線CT装置による造影検査の計測撮影を開始するタイミングを決める信号としてX線CT装置に伝達する。
【選択図】図1
【解決手段】X線CT装置による造影検査に際して、被検体の関心領域である撮影部位の上流であって撮影部位に先立って造影される造影剤流入経路の近傍のもう1つの関心領域であるモニタリング部位に超音波検査装置のプローブを配設し、被検体へのX線造影剤の注入に先立って超音波造影剤を注入し、超音波検査装置のプローブによってモニタリング部位への超音波造影剤の到達を検出し、それをX線CT装置による造影検査の計測撮影を開始するタイミングを決める信号としてX線CT装置に伝達する。
【選択図】図1
Description
本発明は、X線CT装置を使った造影検査システムおよび方法の改良であって、具体的には、X線CT装置と超音波検査装置を組み合せた血管造影計測撮影システムおよび方法に関する。
X線CT装置を使った造影検査は、単にコントラストを増加させる目的だけでなく、良性、悪性の確定等の質的診断や血流循環動態を評価するためにも用いられている。
血管の描出などコントラストを増加させる目的の場合は、関心領域における造影剤濃度が最大となる時間にタイミングを合わせて計測を開始する。
肝臓などについて質的診断をする目的の場合は、動脈が優位に造影されている時相や、静脈が優位に造影されている時相などを選択して繰り返し撮影する。しかし、被検体の個体差や病体などによって関心領域への造影剤到達時間はまちまちなため、完璧な撮影条件を決定することは難しい。一般的な手法としては、操作者が被検体の病体などを基に経験的に撮影条件、特にタイミングを決定するため、時として十分なコントラストが得られないことがあった。
X線CT装置を使ったもう1つの造影検査である頭部や肝臓などについて行われるパーフュージョン検査は血流の循環動態の評価を目的とするもので、らせんスキャンではなく同一断面を連続的にダイナミック撮影し、撮影断面についての造影剤の時間−濃度変化を取得する。得られた撮影断面中の各組織の造影剤の時間濃度曲線(以下、TDC:Time Density Curve)から、局所脳血流量(rCBF)、局所脳血液量(rCBV)、平均通過時間(MTT)などの解析値を求め、例えば、解析値の分布画像(機能画像)で閉塞性疾患などを評価する。
パーフュージョン検査の場合は、血流の第1循環成分が解析対象となるため、TDCの立ち上がりから、再循環成分までを含む(第1循環成分を推定できれば良い)データが必要である。一般的にこの撮影時間は40〜50秒間で、造影剤の集中を評価するため造影剤到達に先立って計測を開始する。特にパーフュージョン検査の場合、同一断面にX線をくり返し照射するため被曝はできるだけ抑える必要があるにもかかわらずX線造影剤注入開始時間とCT撮影開始時間の間のディレイタイムは、TDCの立ち上がりが確実に計測できるように余裕を持って設定する必要があるため、理想的には造影剤到達直前のデータがあれば良いのだが、それ以前からX線の照射を開始し、これらは結果的には無効被曝となっていた。
一方、低線量で連続的あるいは間欠的に造影剤の到達を監視するためのモニタリングスキャンを実施して本計測のタイミングを決定する試みが従来から行われている。例えば、大動脈に関心領域(ROI)を設定し、ROI内のCT値変化を逐次計算して造影剤の到達を監視していた。しかし、画像上に設定したROIのCT値計算時間、制御系の応答時間など実際に撮影開始するまでのタイムラグが問題となった。さらにらせんスキャンの場合は,本計測の開始断面と監視する断面の位置関係にも制約が生じる。また、低線量とは云えX線を使ったモニタリングスキャンを実施することによる被曝が増加する点では好ましくなかった。パーフュージョン検査への応用を考えると、造影剤の立ち上がりをモニタリングしてから撮影を開始するため、立ち上がりそのものは十分には捉えられないと言う問題があった。
本発明の目的は、X線CT装置による被検体の造影検査時の無効被曝を低減するとともに血流の定量解析精度を向上させることの出来るX線CT装置と超音波検査装置を組み合せた血管造影計測撮影システムおよび方法を提供することである。
本発明では、X線CT装置による造影検査に際して、被検体の関心領域である撮影部位の上流であって撮影部位に先立って造影される造影剤流入経路の近傍のもう1つの関心領域であるモニタリング部位に超音波検査装置のプローブを配設し、被検体へのX線造影剤の注入に先立って超音波造影剤を注入し、超音波検査装置のプローブによってモニタリング部位への超音波造影剤の到達を検出し、それをX線CT装置による造影検査の計測撮影を開始するタイミングを決める信号としてX線CT装置に伝達することを特徴とする。
要約すると、本発明の特徴は、モニター用造影剤を本計測用造影剤の被検体への注入に所定時間先立って注入し、そのモニター用造影剤のモニタリング部位への到達を検出して、本計測用造影剤の撮影部位への到達時間をその到達の十分前に推定することである。さらに本発明では、前記X線CT装置は、血流量、血流速、平均通過時間等の血流循環パラメータの解析手段を有し、前記、X線CT装置で解析した血流循環パラメータを、前記超音波検査装置によって得られた血流速情報で補償することも特徴とする。
本発明によれば、造影剤が関心領域である撮影部位に到達する時間を、撮影部位に先立って造影されるモニタリング部位をモニタリングすることで造影剤到達の十分前に精度高く推定でき、無効被曝が低減できる。
以下図面を参照して本発明の一実施例を説明する。
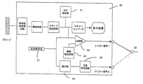
図1は本発明のX線CT装置と超音波検査装置を組み合せた血管造影計測撮影システムの一実施例の概略構成図である。
本発明のシステムはX線CT装置10、超音波検査装置30および造影剤注入装置40から構成される。
X線CT装置10は、システム全体を統括制御するホストコンピュータ11と、X線源12、X線制御部13、X線検出器14、計測回路15などの計測部を搭載した回転盤スキャナー(図示せず)およびその回転走査を制御するスキャナ制御部19と、被検体の位置決めやらせん走査時の搬送用被検体テーブル16およびテーブル制御部17と計測データの前処理、再構成処理をはじめとした各種画像処理を実施する画像処理装置18などからなる。
さらに、X線CT装置10には、超音波検査装置30からのX線の曝射およびデータ計測の計測動作の開始をトリガーする外部トリガー信号を受け入れる外部信号入力部21および上記外部信号入力部21からの外部トリガー信号およびホストコンピュータ11からのX線の曝射およびデータ計測の計測動作開始をトリガーする内部トリガー信号のいづれかを選択する計測モード制御部20が設けられている。なお、本実施例では計測モードはホストコンピュータ11によって外部トリガー制御モードが選択されている。なおまた、外部トリガー信号が入力されるまでは待機状態を維持する。タイムアウト時間の設定が必要なことは言うまでもない。なおまた、トリガー信号の選択を実行する計測モード制御部20はソフトウェアで構成されてもよい。
X線CT装置10には、さらに血流解析部22が設けられている。超音波検査装置30は、超音波検査装置の基本構成であるプローブ、送受信回路、整相回路、Bモード検波回路、スキャンコンバータ、表示装置の他に、撮影信号の関心領域を設定するROI設定部31、信号強度の閾値を設定する閾値設定回路33、撮影信号と閾値を比較する比較器32、関心領域内の撮影信号の変化を判定する微分器34、正負判定回路35、およびトリガー信号出力部36を備えている。
トリガー信号出力部36はトリガー信号1あるいは2を選択的に出力する。なお、本実施例ではトリガー信号1が選択されているものとする。超音波検査装置30にはさらに血流解析装置37が設けられている。造影剤注入装置40は超音波造影剤用41とX線造影剤用42とを別々に示してあり、それぞれの注入開始は注入時間制御部43によって制御される。
ここで、超音波検査装置による超音波造影剤の検知には、超音波反射信号の大きさの時間的変化を用いることが出来る。周知のように、造影剤からの反射信号の強度はモニタリング部位の組織や血流からの反射信号の強度よりはるかに大きいことが知られているからである。本実施例では、モニタリング部位を超音波検査装置の画面中央付近に表示させておき、そこにROIを設定し、ROI内の各画素毎の超音波反射信号強度の和を予め設定した閾値と比較する手段により、閾値より大きくなったタイミングをもってトリガー信号1としている。また、モニタリング部位を超音波検査装置の画面中央付近に表示させておき、そこにROIを設定し、例えば、ROI内の各画素毎の超音波反射信号強度の和をフレーム毎に記憶することにより、いわゆる時間濃度曲線(TDC)を求め、その勾配が正より負になるタイミングをもって上記トリガー信号2とすることもできる。これらの場合、超音波検査装置のフレーム間隔は10ms-100msの間で自由に選択できるので、フレーム間隔が0.5〜1sのCT撮影に比べて十分に時間精度がある。
超音波造影剤を用いた撮影を実施すると、図3(a),(b),(c),(d),(e)に示したように造影剤が関心領域に到達すると超音波反射信号強度が高くなり、閾値設定回路33で設定した閾値以上になると比較器32からのトリガー信号1の出力がHighとなり、閾値以下になるとLowとなる。トリガー信号2は信号強度の正負反転時、すなわち濃度変化のピークのタイミングでトリガー信号2を出力する。
本実施例における外部トリガーモードによる撮影手順を、頭部造影ダイナミック造影検査を例に説明する。本実施例ではモニタリング部位を頚動脈部とした。
CT撮影に先立って、操作者がプローブを操作してモニタリング部位を映像化する。ただし、安定した映像を得られるようにセッティングした後は、撮影室の外または放射線防護壁の裏手側に移動できるように被検体に容易に着脱可能な専用プローブを用いることが操作者の被曝低減の観点から望ましい。
さらに撮影開始に先立ち、操作者が撮影条件、再構成条件を設定すると、回転走査機構はスキャナを回転させ、所望の回転スピードになった段階でスキャナ制御装置19はホストコンピュータ11に撮影準備完了情報を通知する。テーブル制御部17は、らせんスキャンの場合は、あらかじめテーブル加速時間を考慮した位置に移動しておき、X線曝射開始位置で定常速度になるように制御する。ホストコンピュータ14は画像処理装置18に再構成条件に従ったパラメータを設定する。各コンポーネントの準備が完了した時点で、外部信号入力部21が有効となる。
造影剤注入器はデュアルインジェクタタイプを用い、一方には少量の超音波造影剤を、他方にはX線造影剤をセットしておく。インジェクタの造影剤注入開始ボタンを押すと、まずはじめに超音波造影剤が被検体に注入され、それに引き続きX線造影剤の注入を開始する。
静脈から注入した造影剤は、血流によって心臓に運ばれ、頚動脈を経由して関心領域である頭部に到達する。ここで図3(f),(g)に示したように、時間t0で超音波造影剤を、時間t1でX線造影剤を注入したとする。両注入の時間間隔(t1−t0)は注入時間制御部43で操作者によって設定される。モニタリング部位である頚動脈部にはまず超音波造影剤が到達し、(a)に示すような濃度変化を示す。X線造影剤は、超音波造影剤に遅れて頚動脈部に到達し(図示せず)、関心領域であるCT撮影部位にも同様に遅れて到達し、同図(b)に示した濃度変化を示す。これらの造影剤濃度変化は、それぞれ対応するX線CT装置10および超音波検査装置30では同図(c)の信号強度変化として観察することができる。ここで、超音波検査装置の信号強度が閾値Tを越えた時点t2でトリガー信号1がHighとなり、これを基準とすれば関心領域にX線造影剤が到達する時間t4までの差(t4-t2)だけX線曝射までの余裕ができるため、システム側の応答時間を考慮してもt4までには十分に撮影を開始できる。また、頚動脈から頭部関心領域までの血管経路長は静脈からの経路長に比べ短く、造影剤の循環に大きく影響する心臓などを通過した後のため、到達時間を推定するにしても被検体によるばらつきは僅かで、誤差が小さくなることが容易に推察できる。従って、t1-t0は経験的に決定する必要があるが、これはシステムの応答時間等を考慮して決定すればよい。例えば、トリガー信号出力からX線曝射t3までのタイミングが3秒とすれば、X線造影剤を超音波造影剤に4秒遅れて注入すれば、CT撮影は造影剤到達の約1秒前(頚動脈から頭部関心領域までの造影剤移動時間も含めて)から開始されることになる。
超音波造影剤がモニタリング部位に到達し、トリガー信号がX線CT装置10に入力されると、計測モード制御部20はあらかじめ設定された遅延時間後に計測動作の開始指令を出し、CT計測が開始される。
撮影開始指示が出されると、ホストコンピュータ11から指示された強度のX線を対向配置されたX線検出器14に向かってX線源12から照射する。X線検出器14では被検体を透過してきたX線を検出し、固体検出器の場合はシンチレータの光をフォトダイオードで電気信号に変換した後、計測回路15でデジタルデータとして撮影データを取得する。撮影データは画像処理装置18で前処理、フィルタ処理、逆投影処理をはじめとした画像処理を施し、断層像を再構成する。再構成された画像は表示装置に表示され、診断用画像として観察者に供される。
なお、X線撮影時に超音波造影剤がアーチファクトなどを生じさせないため、すなわち超音波検査装置による造影剤検知時刻t2直後に、1MPa以上の強力な超音波をモニタリング部位に照射して造影剤を完全に破壊するリフレッシュモードを設けてもよい。
また、上記撮影手順を引き続いて再試する場合には、超音波造影剤が十分に排出されずに組織にトラップされている場合があるので、t0以前に上記のリフレッシュモードを付加することが望ましい。
さらに、本実施例では、超音波検査装置30を撮影開始の指示だけでなく、X線CT装置の血流解析部23によるパーフュージョン解析の精度向上にも利用する。超音波検査装置30の血流解析部37によって頚動脈の径と流速が求められ、また前述の立ち上がりと立ち下がり間の時間(t5-t2)から通過時間が得られる。パーフュージョン解析では入力関数として動脈のTDCを超音波計測で得られた値で補償することが可能である。具体的には平均通過時間を前記通過時間で補償する。さらに、径と流速を用いて血流速CBFを補償するなどである。
なお、以上の実施例では頭部パーフュージョン検査の場合で説明したが、腹部造影らせん撮影時にも本発明は応用可能であり、その際は、同様に頚動脈をモニタリング部位に用いることも可能であるが、肝臓の場合は肝動脈、門脈などをモニタリングしても良い。プローブがCT撮影断面に入ってしまうとアーチファクトの原因となる可能性があるため、プローブとしてはX線吸収計数の小さい材質をできるだけ用いるのが望ましい。
また、超音波とX線の双方でコントラスト強調可能な造影剤を用いることでより簡易なシステムを構築できる。
本実施例のシステムによれば、モニタリング部位へのモニタリング用超音波造影剤の到達を検出して、撮影部位へのX線造影剤の到達時間を推定し、到達時間の直前からCT撮影を開始することができるため、無効被曝を低減しながら確実にTDCを測定できる。また、撮影時間も短縮されるため、造影剤の使用量も減らすことが可能で、被験者への侵襲性も低くすることができる。さらには、超音波検査装置による測定値を用いてパーフュージョン解析の解析値を補償することで、解析精度を向上させることも可能である。
10 ・・・X線CT装置
20 ・・・計測モード制御部
21 ・・・外部信号入力部
22 ・・・血流解析部
30 ・・・超音波検査装置
36 ・・・トリガー信号出力部
37 ・・・血流解析部
40 ・・・造影剤注入装置
41 ・・・超音波造影剤注入装置
42 ・・・X線造影剤注入装置
43 ・・・注入時間制御部
20 ・・・計測モード制御部
21 ・・・外部信号入力部
22 ・・・血流解析部
30 ・・・超音波検査装置
36 ・・・トリガー信号出力部
37 ・・・血流解析部
40 ・・・造影剤注入装置
41 ・・・超音波造影剤注入装置
42 ・・・X線造影剤注入装置
43 ・・・注入時間制御部
Claims (4)
- 被検体の関心領域である撮影部位の造影画像を撮影するX線CT装置;関心領域である撮影部位に関して上流側の造影剤流入経路近傍のもう1つの関心領域であるモニタリング部位にそのプローブが配設される超音波検査装置;被検体の所定の静脈位置から所定量の超音波造影剤を注入する超音波造影剤注入装置;被検体の上記所定の静脈位置から所定量のX線造影剤を注入するX線造影剤注入装置;上記超音波造影剤注入装置および上記X線造影剤注入装置のそれぞれから注入される超音波造影剤およびX線造影剤の注入開始時間を制御する注入時間制御部;上記超音波検査装置に設けられもう1つの関心領域であるモニタリング部位への超音波造影剤の到達をプローブを介して検知し外部トリガー信号を生成するトリガー信号生成部;および上記X線CT装置に設けられ上記外部トリガー信号を受信する外部信号入力部を有するX線CT装置と超音波検査装置を組み合せた血管造影計測撮影システム。
- 上記X線CT装置はさらに被検体の関心領域である撮影部位の造影画像の撮影をトリガーする信号をX線CT装置内部で生成された内部トリガー信号あるいは上記超音波検査装置で生成された外部トリガー信号のいづれかを選択する計測モード制御部を有する請求項1に記載のX線CT装置と超音波検査装置を組み合せた血管造影計測撮影システム。
- 上記X線CT装置は被検体の関心領域である撮影部位の造影画像に基づいて被検体の血流循環パラメーターを解析する血流解析部を有し、また上記超音波検査装置も被検体のもう1つの関心領域であるモニタリング部位の造影画像に基づいて被検体の血流速情報を解析する血流解析部を有し、上記X線CT装置の血流解析部で得られた被検体の血流循環パラメーターは上記超音波検査装置の血流解析部で得られた血流速情報を使って補償される請求項1に記載のX線CT装置と超音波検査装置を組み合せた血管造影計測撮影システム。
- X線CT装置による被検体の造影計測撮影の関心領域である撮影部位に関して上流側の造影剤流入経路近傍のもう1つの関心領域であるモニタリング部位に超音波検査装置のプローブを配設するステップ;所定量の超音波造影剤を被検体の所定の位置の静脈から注入するステップ;超音波造影剤の注入から所定の時間後被検体の上記所定の位置の静脈から所定量のX線造影剤を注入するステップ;上記超音波検査装置のプローブを介して被検体のもう1つの関心領域であるモニタリング部位への超音波造影剤の到達をモニターし、その到達を検知したとき第1のトリガー信号を生成し、それを上記X線CT装置に伝達するステップ;および上記超音波検査装置からの上記第1のトリガー信号に基づいて被検体の関心領域である撮影部位への上記X線造影剤の到達時間を推定し、上記X線CT装置による撮影部位の計測撮影の開始をトリガーする第2のトリガー信号を生成するステップを有するX線CT装置と超音波検査装置を組み合せた血管造影計測撮影方法。
Priority Applications (1)
| Application Number | Priority Date | Filing Date | Title |
|---|---|---|---|
| JP2003304959A JP2005073764A (ja) | 2003-08-28 | 2003-08-28 | X線ct装置と超音波検査装置を組み合せた血管造影計測撮影システムおよび方法 |
Applications Claiming Priority (1)
| Application Number | Priority Date | Filing Date | Title |
|---|---|---|---|
| JP2003304959A JP2005073764A (ja) | 2003-08-28 | 2003-08-28 | X線ct装置と超音波検査装置を組み合せた血管造影計測撮影システムおよび方法 |
Publications (1)
| Publication Number | Publication Date |
|---|---|
| JP2005073764A true JP2005073764A (ja) | 2005-03-24 |
Family
ID=34408505
Family Applications (1)
| Application Number | Title | Priority Date | Filing Date |
|---|---|---|---|
| JP2003304959A Pending JP2005073764A (ja) | 2003-08-28 | 2003-08-28 | X線ct装置と超音波検査装置を組み合せた血管造影計測撮影システムおよび方法 |
Country Status (1)
| Country | Link |
|---|---|
| JP (1) | JP2005073764A (ja) |
Cited By (11)
| Publication number | Priority date | Publication date | Assignee | Title |
|---|---|---|---|---|
| JP2006333898A (ja) * | 2005-05-31 | 2006-12-14 | Canon Inc | 放射線画像撮影システム |
| WO2007104079A1 (en) * | 2006-03-15 | 2007-09-20 | Compumedics Limited | Ultrasound in magnetic spatial imaging apparatus |
| JP2008178466A (ja) * | 2007-01-23 | 2008-08-07 | Toshiba Corp | 血管撮影装置 |
| JP2009022452A (ja) * | 2007-07-18 | 2009-02-05 | Ge Medical Systems Global Technology Co Llc | X線ct装置およびスキャン制御方法 |
| JP2009056108A (ja) * | 2007-08-31 | 2009-03-19 | Toshiba Corp | X線コンピュータ断層撮影装置及びその方法 |
| KR100979591B1 (ko) * | 2007-07-26 | 2010-09-01 | 지이 메디컬 시스템즈 글로발 테크놀러지 캄파니 엘엘씨 | 초음파 촬상 장치 및 초음파 촬상 방법 |
| JP2012045285A (ja) * | 2010-08-30 | 2012-03-08 | Ge Medical Systems Global Technology Co Llc | 超音波診断装置及びその制御プログラム |
| JP2013188626A (ja) * | 2013-07-02 | 2013-09-26 | Toshiba Corp | X線ct装置 |
| US20140121510A1 (en) * | 2011-06-20 | 2014-05-01 | Koninklijke Philips N.V. | Agent imaging |
| JP2017086152A (ja) * | 2015-11-02 | 2017-05-25 | 東芝メディカルシステムズ株式会社 | X線コンピュータ断層撮影装置及び医用診断システム |
| CN114420286A (zh) * | 2022-01-14 | 2022-04-29 | 深圳睿心智能医疗科技有限公司 | 血管生理参数获取方法、装置、电子设备及存储介质 |
-
2003
- 2003-08-28 JP JP2003304959A patent/JP2005073764A/ja active Pending
Cited By (14)
| Publication number | Priority date | Publication date | Assignee | Title |
|---|---|---|---|---|
| JP2006333898A (ja) * | 2005-05-31 | 2006-12-14 | Canon Inc | 放射線画像撮影システム |
| WO2007104079A1 (en) * | 2006-03-15 | 2007-09-20 | Compumedics Limited | Ultrasound in magnetic spatial imaging apparatus |
| JP2008178466A (ja) * | 2007-01-23 | 2008-08-07 | Toshiba Corp | 血管撮影装置 |
| JP2009022452A (ja) * | 2007-07-18 | 2009-02-05 | Ge Medical Systems Global Technology Co Llc | X線ct装置およびスキャン制御方法 |
| KR100979591B1 (ko) * | 2007-07-26 | 2010-09-01 | 지이 메디컬 시스템즈 글로발 테크놀러지 캄파니 엘엘씨 | 초음파 촬상 장치 및 초음파 촬상 방법 |
| JP2009056108A (ja) * | 2007-08-31 | 2009-03-19 | Toshiba Corp | X線コンピュータ断層撮影装置及びその方法 |
| JP2012045285A (ja) * | 2010-08-30 | 2012-03-08 | Ge Medical Systems Global Technology Co Llc | 超音波診断装置及びその制御プログラム |
| US20140121510A1 (en) * | 2011-06-20 | 2014-05-01 | Koninklijke Philips N.V. | Agent imaging |
| JP2017051629A (ja) * | 2011-06-20 | 2017-03-16 | コーニンクレッカ フィリップス エヌ ヴェKoninklijke Philips N.V. | 薬剤イメージング |
| US11166691B2 (en) * | 2011-06-20 | 2021-11-09 | Koninklijke Philips N.V. | Agent imaging |
| JP2013188626A (ja) * | 2013-07-02 | 2013-09-26 | Toshiba Corp | X線ct装置 |
| JP2017086152A (ja) * | 2015-11-02 | 2017-05-25 | 東芝メディカルシステムズ株式会社 | X線コンピュータ断層撮影装置及び医用診断システム |
| CN114420286A (zh) * | 2022-01-14 | 2022-04-29 | 深圳睿心智能医疗科技有限公司 | 血管生理参数获取方法、装置、电子设备及存储介质 |
| CN114420286B (zh) * | 2022-01-14 | 2024-11-22 | 深圳睿心智能医疗科技有限公司 | 血管生理参数获取方法、装置、电子设备及存储介质 |
Similar Documents
| Publication | Publication Date | Title |
|---|---|---|
| CN101273899B (zh) | X射线诊断装置 | |
| EP0967917B1 (en) | Predictive bolus tracking | |
| CN101889872B (zh) | 医用图像摄影装置、以及医用图像摄影方法 | |
| US6721386B2 (en) | Method and apparatus of cardiac CT imaging using ECG and mechanical motion signals | |
| CN101347339B (zh) | 医学成像诊断装置 | |
| JP2007167664A (ja) | 画像化装置および画像化装置の作動方法 | |
| CN102973288B (zh) | X射线图像处理方法 | |
| Jirik et al. | Ultrasound perfusion analysis combining bolus-tracking and burst-replenishment | |
| JP2002233525A (ja) | 像形成法を用いた生体の診察方法 | |
| CN101259023A (zh) | X射线ct装置、心肌灌流信息生成系统和x射线诊断方法 | |
| JP2007021006A (ja) | X線ct装置 | |
| CN102711615B (zh) | X射线诊断装置、图像处理装置和图像处理程序 | |
| JPS59214432A (ja) | 放射線診断装置 | |
| JP2005073764A (ja) | X線ct装置と超音波検査装置を組み合せた血管造影計測撮影システムおよび方法 | |
| JP5534703B2 (ja) | X線診断装置 | |
| JP5886581B2 (ja) | 血管プラーク画像診断装置 | |
| JP3403809B2 (ja) | 超音波診断装置 | |
| JP6100910B2 (ja) | 情報処理装置、撮影システム、情報処理方法及びプログラム | |
| JP4170305B2 (ja) | 放射線撮影装置 | |
| JP6595434B2 (ja) | 薬剤イメージング | |
| CN115844435A (zh) | 灌注成像 | |
| US7379532B2 (en) | ECG-based rotational angiography for cardiology | |
| JP4612325B2 (ja) | 超音波診断装置 | |
| US9672613B2 (en) | Dose- and time-optimized monitoring of bolus values | |
| Jiřík et al. | Parametric ultrasound perfusion analysis combining bolus tracking and replenishment |