JP2004358564A - ロボットの相互干渉検証方法 - Google Patents

ロボットの相互干渉検証方法 Download PDF

Info

Publication number
JP2004358564A
JP2004358564A JP2003156532A JP2003156532A JP2004358564A JP 2004358564 A JP2004358564 A JP 2004358564A JP 2003156532 A JP2003156532 A JP 2003156532A JP 2003156532 A JP2003156532 A JP 2003156532A JP 2004358564 A JP2004358564 A JP 2004358564A
Authority
JP
Japan
Prior art keywords
robot
posture
mutual interference
time
amount
Prior art date
Legal status (The legal status is an assumption and is not a legal conclusion. Google has not performed a legal analysis and makes no representation as to the accuracy of the status listed.)
Granted
Application number
JP2003156532A
Other languages
English (en)
Other versions
JP3957296B2 (ja
Inventor
Shinji Aoki
伸二 青木
Yutaka Mitsuhashi
豊 三ッ橋
Koji Takahashi
宏爾 高橋
Current Assignee (The listed assignees may be inaccurate. Google has not performed a legal analysis and makes no representation or warranty as to the accuracy of the list.)
Honda Motor Co Ltd
Original Assignee
Honda Motor Co Ltd
Priority date (The priority date is an assumption and is not a legal conclusion. Google has not performed a legal analysis and makes no representation as to the accuracy of the date listed.)
Filing date
Publication date
Application filed by Honda Motor Co Ltd filed Critical Honda Motor Co Ltd
Priority to JP2003156532A priority Critical patent/JP3957296B2/ja
Publication of JP2004358564A publication Critical patent/JP2004358564A/ja
Application granted granted Critical
Publication of JP3957296B2 publication Critical patent/JP3957296B2/ja
Anticipated expiration legal-status Critical
Expired - Fee Related legal-status Critical Current

Links

Images

Landscapes

  • Numerical Control (AREA)
  • Manipulator (AREA)

Abstract

【課題】2台のロボットが同時に動作する際に、相互干渉の有無を短時間で検証する。
【解決手段】作業における所定時間毎の第1多関節ロボットの姿勢を求めて記録する。作業における所定時間毎の第2多関節ロボットの姿勢を求めて記録する。前回の検証実行時における第1多関節ロボットの姿勢に対する姿勢変化量εが所定閾値Cより大きいときに、第2多関節ロボットの姿勢が干渉するか否かを検証する。第1多関節ロボットと第2多関節ロボットとが干渉することが確認された箇所についてはマーク212を記録する。
【選択図】図9

Description

【0001】
【発明の属する技術分野】
本発明は、ロボットの相互干渉検証方法に関し、特に、2台のロボット同士の干渉に関する検証を迅速に行うためのロボットの相互干渉検証方法に関する。
【0002】
【従来の技術】
従来、製造ラインに設置された多関節ロボットを直接操作させて作業姿勢のティーチングを行おうとすると、多関節ロボットの操作を熟知したオペレータが製造ラインの現場で作業を行わなければならないため、その分、作業が非効率的となってしまう。また、その作業は、製造ラインを停止させた状態で行う必要があるために当該製造ラインの稼動率も低下してしまう。
【0003】
そこで、近時ティーチング作業の効率化を図るため、あるいは、前記製造ラインの稼動率を向上させるために、オフラインによるティーチング(オフラインティーチング)が行われている。すなわち、コンピュータ上に多関節ロボット並びに作業対象物であるワーク及び周辺構造物のモデルを構築し、このモデルを用いてティーチングデータを作成した後、前記ティーチングデータを現場の多関節ロボットに供給するようにすれば、ティーチングデータの作成中に製造ラインを停止させる必要がない。
【0004】
ところで、近時、生産性向上等を目的として、一度の工程において複数の多関節ロボットを採用し、これらの多関節ロボットを同時且つ集中的に動作させる作業形態が増えている。特に、複雑な形状のワークに対して作業を行う場合には、多関節ロボットを密集して配置させることもある。このような作業形態においては、ワークや他の障害物との干渉を回避することは当然ながら、多関節ロボット同士の干渉も回避するように動作プログラムを設定しなければならない。
【0005】
このための検証方法として所定動作時間毎に一方のロボットの姿勢を求め、該姿勢に対して他方のロボットの作業時間内における全ての姿勢を対応させて干渉の有無を検証する方法が提案されている(例えば、特許文献1参照)。
【0006】
【特許文献1】
特開2003−103491号公報(図6)
【0007】
【発明が解決しようとする課題】
上記の特許文献1で開示されている方法では、仮に、一方のロボットが途中停止した場合でも適切なインターロックを設けることにより相互干渉を防止することができて好適である。
【0008】
しかしながら、干渉を確認する時間幅を微小時間に設定したり、作業時間が長いときには確認回数が増大し、相互干渉の検証に多大な時間を要する。従って、条件を変えながら何度も検証を行うということが実際上困難である。また、検証に用いるコンピュータを占有する時間が長い。
【0009】
本発明はこのような課題を考慮してなされたものであり、2台のロボットが同時に動作する際に、相互干渉の有無を短時間で検証することを可能にするロボットの相互干渉検証方法を提供することを目的とする。
【0010】
【課題を解決するための手段】
本発明に係るロボットの相互干渉検証方法は、第1ロボット及び第2ロボットに作業を行わせる際の前記第1及び第2ロボット同士の相互干渉を検証するロボットの相互干渉検証方法において、前記作業における所定時間毎の前記第1ロボットの姿勢を求めて記録する第1ステップと、前記作業における所定時間毎の前記第2ロボットの姿勢を求めて記録する第2ステップと、前記作業の時間順に、前記第1ステップで記録した前記第1ロボットの姿勢に対して前記第2ステップで記録した前記第2ロボットの姿勢が干渉するか否かを検証する第3ステップと、を実行する方法であって、前記第3ステップは、前回実行時における前記第1ロボットの姿勢に対して姿勢変化量が所定閾値より大きいときに再度実行することを特徴とする。
【0011】
このように、第1ロボットの姿勢変化量が所定閾値より大きくなったときに相互干渉の検証を行うことにより、検証の回数を低減することができ、相互干渉の有無を短時間で検証することができる。姿勢変化量が小さいときには、第1ロボットと第2ロボットとの相互干渉に関する状態もほとんど変化しないと判断できるため、検証の実行間隔を伸ばすことができる。
【0012】
この場合、前記第3ステップで、前記第1ロボットと前記第2ロボットが干渉することが確認されたときに、前記第3ステップの実行間隔を伸ばすようにしてもよい。
【0013】
また、前記第1ロボットは複数の可動部を有する多関節型のロボットであり、前記可動部の各変位量に対して重み付けを付けて加算することにより、前記姿勢変化量を求めるようにしてもよい。
【0014】
この場合、前記ロボットには一対の電極を備えるC型溶接ガンが設けられ、前記姿勢変化量は、前記電極の移動量を除く他の可動部の移動量に基づいて算出するようにしてもよい。C型溶接ガンにおける電極の進退動作は、ロボットの姿勢変化に影響がないため省略することができる。これにより、電極のみが動作したときには、姿勢変化量が一定値となり、検証の実行間隔をさらに伸ばすことができる。
【0015】
また、前記ロボットには一対の電極を備えるX型溶接ガンが設けられ、前記姿勢変化量は、前記電極の移動量を含めて算出するようにしてもよい。これにより、X型溶接ガンにおける電極が大きく動作したときには、相互干渉の検証を実行させることができる。
【0016】
【発明の実施の形態】
以下、本発明に係るロボットの相互干渉表示パターンを用いた相互干渉検証方法の実施の形態例を図1〜図12を参照しながら説明する。
【0017】
図1に示すように、本実施の形態において使用するオフラインティーチング装置10は、溶接用の第1多関節ロボット50a、第2多関節ロボット50b及び第3多関節ロボット50cの動作のティーチングを行うものであり、作成されたティーチングデータに基づき作業対象物に対して所望の作業を行うロボット装置12と連係されている。
【0018】
また、ロボット装置12は、第1〜第3多関節ロボット50a、50b、50cと、ティーチングデータに基づいて前記第1〜第3多関節ロボット50a、50b、50cのそれぞれの動作制御を行うロボット制御部22a、22b、22cとを備える。
【0019】
図2に示すように、オフラインティーチング装置10を構成する制御部14は、オフラインティーチング装置10の全体の制御を行う制御手段としてのCPU(コンピュータ)26と、記録部であるROM28及びRAM29と、ハードディスク34に対してデータのアクセスを行うハードディスクドライブ(HDD)36と、モニタ16の画面上における描画制御を行う描画制御回路30と、入力装置としてのキーボード18及びマウス20が接続されるインタフェース回路32と、外部記録媒体38a(例えば、磁気的、光学的に記録・読み込み可能なディスク等)を制御する記録媒体ドライブ38とを有する。
【0020】
ハードディスク34には、第1〜第3多関節ロボット50a、50b、50cの動作経路を設定する機能等をもつ相互干渉検証プログラム35、相互干渉の検証結果を記録するデータベース37及び図示しないOS等が格納されている。
【0021】
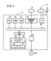
図3に示すように、相互干渉検証プログラム35は、RAM29及びハードディスク34等からデータを読み込む機能を持つデータ読込み部100と、データを書き込む機能を持つデータ書込み部102と、キーボード18及びマウス20等の入力状態を監視するオペレータ指示認識部104と、第1〜第3多関節ロボット50a、50b、50cの姿勢データを3次元CADによって定義されているロボットモデルに設定して描画する画像作成部106を有する。
【0022】
画像作成部106は、オペレータが設定するロボット姿勢設定コマンドと、描画コマンドとによりAPI(Application Programming Interface)を用いて多関節ロボットのモデルや、所定のグラフをモニタ16の画面に描画する機能を持つ。
【0023】
データ読込み部100によって得られたデータは、ロボット動作プログラム生成部108において自動的にロボット動作プログラムに変換・生成されて相互干渉確認部110に伝えられる。ロボット動作プログラム生成部108では、オペレータの操作によって手動的又は半自動的にロボット動作プログラムを生成することも可能である。
【0024】
ロボット動作プログラムは、第1〜第3多関節ロボット50a、50b、50cを制御するプログラムであり、第1〜第3多関節ロボット50a、50b、50cに対して個別のロボット動作プログラムが適用される。このロボット動作プログラムは、ロボット制御部22a、22b、22cにそれぞれロードされた後に実行されるが、制御部14において、シミュレーションに適用して仮実行することも可能である。
【0025】
相互干渉確認部110は、RCSモジュール等によって動作計画を計算する動作計画計算部110aと、第1〜第3多関節ロボット50a、50b、50c同士の相互干渉及び他の障害物との干渉の有無を検証する相互干渉計算部110dを有する。
【0026】
相互干渉計算部110dは、3次元CADをベースにしており、コンピュータプログラム上の仮想空間において、第1〜第3多関節ロボット50a、50b、50cをソリッドモデルとして表し、互いのモデル同士が相互干渉を起こすか否かを検証するものであり、相互干渉の有無を判断するとともに、モニタ16の画面上にその様子を模写的に表示する機能を持つ。
【0027】
さらに、相互干渉確認部110は、RCSモジュールによる任意時刻における第1〜第3多関節ロボット50a、50b、50cの姿勢を計算するロボット姿勢サンプリング部110bと、第1〜第3多関節ロボット50a、50b、50cのうち2台の多関節ロボットの姿勢組合せの記録領域を確保する姿勢組合せ生成部110cと、所定時間毎の第1〜第3多関節ロボット50a、50b、50cの姿勢の変化量を求めるロボット姿勢変化判定部110eとを有する。
【0028】
なお、RCSモジュールとは、一般的な多関節ロボットのモーション設計のためのソフトウェアであり、多関節ロボットの各軸の加減速度を決定する機能等を持ち、ロボット動作データをロボット姿勢サンプリング部110bに擬似的に与えるものである。
【0029】
相互干渉確認部110において検証された結果は相互干渉検証結果記録部112に伝えられ、第1〜第3多関節ロボット50a、50b、50cの姿勢と、相互干渉判別結果と組合せの情報をデータ書込み部102を介してハードディスク34にデータベース37等の形式で記録する。
【0030】
キーボード18及びマウス20の入力情報はオペレータ指示認識部104を介して姿勢組合せ計算部114に伝えられる。姿勢組合せ計算部114では作業開始時点からのオフセット量(動作経過時間)を計算する。
【0031】
求められた第1〜第3多関節ロボット50a、50b、50cの動作経過時間は、ロボット姿勢計算部116へ伝えられる。ロボット姿勢計算部116は、第1〜第3多関節ロボット50a、50b、50cの動作経過時間に相当する第1〜第3多関節ロボット50a、50b、50cの姿勢データをデータベース37等の記録から読み出す。相互干渉検証プログラム35は、データ転送部118を介してデータの入出力を行う。
【0032】
第1〜第3多関節ロボット50a、50b、50cは全て同構造であり、図4に示すように、取付台である第1ベース54に対して、先端側に向かって順に、第2ベース56、第1リンク58、第2リンク60、第3リンク62、第4リンク64及びガン着脱部66が接続されている。先端のガン着脱部66にはガンユニット(エンドエフェクタ)68が接続されている。第1〜第3多関節ロボット50a、50b、50cは、必ずしも同構造でなくてもよい。
【0033】
第2ベース56は鉛直軸である軸J1を中心にして第1ベース54に対して旋回可能に軸支されている。第1リンク58の基端部は水平軸である軸J2により第2ベース56に俯仰可能に軸支されている。また、第2リンク60の基端部は水平軸である軸J3により第1リンク58の先端部に揺動可能に軸支されている。そして、第3リンク62は第2リンク60の先端側に軸J4を共通の回転中心軸として接続されている。さらに、第4リンク64の基端部は軸J4に対して直角方向の軸J5により第3リンク62の先端部に揺動可能に軸支されている。ガン着脱部66は第4リンク64の先端側に軸J6を共通の回転中心軸として接続されている。
【0034】
ガン着脱部66に接続されたガンユニット68はいわゆるC型溶接ガンであり、アーチ状のアーム74の両端部には、ガン軸J7に沿って開閉する一対の電極70、72を有する。この電極70、72は閉状態ではガン軸J7上の作業点(以下、TCP(Tool Center Point)という。)において図示しないワークに接触する。
【0035】
軸J1〜J6の駆動機構並びに電極70、72の進退機構(つまり、ガン軸J7)は、それぞれ図示しないアクチュエータにより駆動され、TCPは軸J1〜J6のそれぞれの回転角θ1〜θ6の値及び第1〜第3多関節ロボット50a、50b、50cの各部寸法により決定される。
【0036】
また、ガンユニット68はC型溶接ガンに限らず、例えば、図5に示すX型溶接ガン(共通の支軸に軸支された開閉する一対のガンアームを備える溶接ガン)68aであってもよい。
【0037】
図6に示すように、第1多関節ロボット50aの動作を途中の教示姿勢点Pn(n=1、2、3…)における姿勢として記録するパステーブル180は、「ガンユニットの向き」欄180a、「TCPの位置」欄180b及び「各軸角度」欄180cから構成されており、「各軸角度」欄180cは回転角θ1〜θ6から構成されている。「ガンユニットの向き」欄180a及び「TCPの位置」欄180bは、それぞれ3つのパラメータで表されている。
【0038】
図6に示す例では、8つの教示姿勢点P1〜P8によってパステーブル180が構成されている例を示しているが、動作経路が最終的に初期位置である教示姿勢点P1に戻るような経路であるときには最終の教示姿勢点P8をP1に置き換えるとよい。
【0039】
なお、第2及び第3多関節ロボット50b、50cについても同様のパステーブルが存在する。
【0040】
次に、このように構成されるオフラインティーチング装置10及び相互干渉検証プログラム35を用いて、第1及び第2多関節ロボット50a、50bの相互干渉を検証する方法について図7〜図12を参照しながら説明する。
【0041】
以下の説明では、第1〜第3多関節ロボット50a、50b、50cのうち2台の第1及び第2多関節ロボット50a、50bについて相互干渉を検証する方法を例にして説明する。また、以下の処理は、基本的に相互干渉検証プログラム35によって自動的に行われる。
【0042】
先ず、図7のステップS1において、ロボット動作プログラム生成部108が、パステーブル180等のデータを読み込み、第1及び第2多関節ロボット50a、50bについてそれぞれロボット動作プログラムを生成する。
【0043】
次に、ステップS2において、動作計画計算部110aがパステーブル180とRCSモジュールに基づいて第1及び第2多関節ロボット50a、50bの動作計画を生成する。この動作計画は、パステーブル180で表されている教示姿勢点Pn間を動作速度等の条件によって補間するものである。
【0044】
この動作計画は、第1及び第2多関節ロボット50a、50bの各80[sec]間の動作を表し、それぞれ1[sec]毎にサンプリングした80通りの姿勢によって構成されるものとする。
【0045】
次に、ステップS3において、ロボット姿勢サンプリング部110bが、生成された動作計画から、各サンプリング時刻、すなわち各オフセット量における第1及び第2多関節ロボット50a、50bのロボット姿勢データを計算する。つまり、各サンプリング時刻におけるTCPや各回転角θ1〜θ6を計算して記録する。
【0046】
次に、ステップS4において、ロボット姿勢変化判定部110eがサンプリング結果から第1多関節ロボット50aの所定時間毎の姿勢変化量εを求め、姿勢変化が大きい箇所の抽出を行う。このステップS4の詳細な処理については後述する。
【0047】
次に、ステップS5において、姿勢組合せ生成部110cが、サンプリングした姿勢での組合せを示す組合せデータ210(図8参照)を記録するための記録領域をRAM29上に確保する。組合せデータ210は、図8から了解されるように、微小時間毎の等間隔ではなく、第1多関節ロボット50aの動作時間が間引かれているので、記録容量を低減することができる。
【0048】
図8に示す例は、組合せデータ210を模式的に示したものであり、第1多関節ロボット50aのサンプリング数を横方向にとり、第2多関節ロボット50bのサンプリング数を縦方向にとることにより平面状に表している。
【0049】
次に、ステップS6において、ロボット姿勢変化判定部110eで記録した比較時間tcに対して、第2多関節ロボット50bとの干渉判別計算を行う。
【0050】
つまり、前記ステップS4で抽出した比較時間tcにおける第1多関節ロボット50aの姿勢に対して、前記ステップS3で計算した動作姿勢を適用する。そして各姿勢の組合せについて、3次元CADの標準的な機能により、第1多関節ロボット50aと第2多関節ロボット50bとが干渉しているか否かを確認する。
【0051】
干渉が確認された組合せについては、組合せデータ210上の相当するメモリに干渉を示すマーク212を記録する。図8に示す例では、マーク212が黒丸「●」で示される。また、組合せデータ210では、第1多関節ロボット50a及び第2多関節ロボット50bが想定通りに動作した場合には、対角状に設定される行程線214に沿って動作する。従って、図8に示す例では、行程線214上にマーク212が存在しないことから、一方が途中停止するトラブルがなければ相互干渉を起こすことなく動作可能であることが確認できる。
【0052】
なお、第1多関節ロボット50aの動作は、パステーブル180(図6参照)の「番号」欄で示されるように、所定の教示番号を示す教示姿勢点P1、P2…によって区切られている。これらの教示番号で区切られたエリアのうち干渉が検出されたエリアについては、そのエリアの手前で停止させる必要があるため、干渉確認の時間間隔を適当に伸ばしてもよい。干渉確認の時間間隔を伸ばすことによって処理時間を短縮することができる。
【0053】
次に、ステップS7において、相互干渉検証結果記録部112が干渉判別結果として組合せデータ210をデータベース37としてハードディスク34に記録する。
【0054】
このようにして、第1及び第2多関節ロボット50a、50bが動作する際の相互干渉の状況を検証することができる。
【0055】
次に、前記ステップS4で実行する処理について図9を参照しながら説明する。このステップS4の処理は主にロボット姿勢変化判定部110eによって自動的に実行される。
【0056】
先ず、ステップS101において、基準時間tbと比較時間tcを初期値に設定する。つまり、基準時間tbを作業時間の開始時間に設定するとともに、比較時間tcを基準時間tbに対して所定の短い時間幅Δtを加算した値に設定する。基準時間tbと比較時間tcは、ステップS105及びステップS107で更新される。時間幅Δtはサンプリング幅に設定するとよく、上記の例では1[sec]とするとよい。
【0057】
次に、ステップS102において、その時点における比較時間tcと作業時間の終了時間とを比較する。比較時間tcが作業時間に達しているときには図9に示す処理を終了してステップS5(図7参照)へ移り、未達であるときには次のステップS103に進む。
【0058】
ステップS103においては、基準時間tbと比較時間tcとの間における第1多関節ロボット50aの姿勢変化量εを求める。
【0059】
具体的には、基準時間tbにおける第1多関節ロボット50aの各軸の回転角θ1〜θ6がθ01、θ02、θ03、θ04、θ05及びθ06で、比較時間tcにおける回転角がθ11、θ12、θ13、θ14、θ15及びθ16であるとき、姿勢変化量εを次の(1)式により求める。
ε=a1・|θ01−θ11|+a2・|θ02−θ12|+a3・|θ03−θ13|+a4・|θ04−θ14|+a5・|θ05−θ15|+a6・|θ06−θ16| …(1)
【0060】
ここで、a1〜a6は、各軸J1〜J6に対する重み付けのための正の係数であり、第1多関節ロボット50aの構造によって予め設定されている。第1多関節ロボット50aの姿勢変化は、例えば、先端側の軸J6の回転角であるθ6よりも、第1ベース54に近い軸J1の回転角であるθ1によって大きく影響を受けることから、θ6に関する係数a6よりもθ1に関する係数a1を大きく設定するとよい。
【0061】
この(1)式によれば、例えば、基準時間tb及び比較時間tcでTCPの位置が一定である場合にも、その他の部分が変位していることを定量的に判断することができる。
【0062】
なお、C型溶接ガンであるガンユニット68の電極72が変位しても、第1多関節ロボット50aの姿勢は変化しないことから、第2多関節ロボット50bに干渉することはないと判断できる。従って、(1)式では、電極72の移動量を示す項は含まれていない。これに対して、X型溶接ガン68a(図5参照)を用いる場合では、電極80、82を保持する指示部が大きく変位するので、電極80、82の移動量を示す項を付加するとよい。
【0063】
また、電極72の移動量は、他のロボットと干渉することがないことが明らかであるから、この電極の移動量は、(1)式に加えなくてもよい。
【0064】
姿勢変化量εは、(1)式に限らず、第1多関節ロボット50aの姿勢の変化を定量的に示すことのできる式により求めればよい。
【0065】
次に、ステップS104において、姿勢変化量εを所定の閾値Cと比較する。姿勢変化量εが閾値Cより小さいときにはステップS105に移り、姿勢変化量εが閾値C以上であるときには次のステップS106に移る。閾値Cは、第1多関節ロボット50aの姿勢変化の大小を区別することのできる適当な値であり、予め設定されている。
【0066】
具体的には、図10に示すように、姿勢変化量εの積算値Σεが閾値Cを超えた時間を抽出することができる。図10では、作業時間を時間t0、t1、t2…(時間幅Δt)と表すとともに、n=1、2、3…として、時間tn〜t(n+1)の姿勢変化量εをεnと表している。積算値Σεは、閾値Cを超える毎にリセットされるように処理されて、積算値Σεが閾値Cを超えた時間t2、t6、t7及びt9が抽出されるとともに時間t0、t1、t3、t4、t5及びt8は省かれる。なお、図10はロボット姿勢変化判定部110eが行う処理をイメージ的に表現したものであって、θ1〜θ6の正負符合によって、姿勢変化量εが必ずしもそのまま積算されないこともあるが、(1)式によれば基準時間tbにおける前記第1多関節ロボット50aの姿勢に対して姿勢変化量εが閾値Cより大きくなる比較時間tcを確実に抽出することができる。
【0067】
ステップS105においては、比較時間tcを時間幅Δtだけ増加・更新した後にステップS102に戻る。このように、基準時間tbの値を維持して比較時間tcだけを更新することにより、第1多関節ロボット50a姿勢変化量εが閾値Cを下回るまま連続して動作する場合でも、その変化量を積算的に処理することになり、やがて姿勢変化量εが閾値C以上となって、ステップS106に移るようになる。
【0068】
一方、ステップS106においては、その時点における比較時間tcを記録するとともに、所定のメモリ領域を確保する。
【0069】
次に、ステップS107において、基準時間tbにその時点の比較時間tcを代入するとともに、新たな比較時間tcを基準時間tbより時間幅Δtだけ長く設定する。これにより、基準時間tbと比較時間tcとの時間幅はΔtとなる。この後、ステップS102に戻り処理を続行する。
【0070】
図7及び図9のフローチャートで示される処理が終了した後、記録されたデータベース37等に基づいて、干渉を検証するグラフを作成するとよい。このグラフは、例えば、前記特許文献1で開示されている方法により作成するとよい。さらに、干渉が確認されたエリアについては所定のインターロックを設けることにより、ロボットの相互干渉を防止することができる。
【0071】
また、第1多関節ロボット50aと第3多関節ロボット50cとの相互干渉、及び第2多関節ロボット50bと第3多関節ロボット50cとの相互干渉についても同様に検証することができる。
【0072】
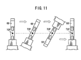
この方法では、単にTCPの移動距離だけでなく、各軸J1〜J6の姿勢変化を考慮していることから、例えば、図11に示すように、TCPの移動距離が少ない場合であってもガンユニット68が反転するような場合には、干渉確認を行うようにすることができる。
【0073】
上記の説明では、第1多関節ロボット50aの姿勢変化量εに基づいて、干渉確認回数を低減する例について説明したが、図12に示すように、第2多関節ロボット50bについても姿勢の変化の少ない箇所を間引くようにしてもよい。
【0074】
また、電極70、72に通電して溶接を行っている最中には、ロボットは動作しないことから、少なくともこの間における検証回数を削減することができる。
【0075】
この発明に係るロボットの相互干渉検証方法は、上述の実施の形態例に限らず、この発明の要旨を逸脱することなく、種々のステップを採り得ることはもちろんである。
【0076】
【発明の効果】
以上説明したように、本発明に係るロボットの相互干渉検証方法によれば、2台のロボットが同時に動作する際に、一方のロボットの姿勢変化量が小さい箇所については相互干渉の有無を検証する時間を伸ばすことにより、短時間で検証を行うことができるという効果が達成される。
【図面の簡単な説明】
【図1】本実施の形態で使用するオフラインティーチング装置及びロボット装置を示す説明図である。
【図2】オフラインティーチング装置の構成を示すブロック図である。
【図3】相互干渉検証プログラムの構成を示すブロック図である。
【図4】多関節ロボットの構成を示す説明図である。
【図5】X型溶接ガンを示す説明図である。
【図6】パステーブルを示す説明図である。
【図7】本実施の形態に係るロボットの相互干渉検証方法の手順を示すフローチャートである。
【図8】第1多関節ロボットについて姿勢の変化の少ない箇所を間引いた組合せデータを示す説明図である。
【図9】ロボット姿勢変化判定部によって、第1多関節ロボットの姿勢変化量の小さい箇所を抽出する手順を示すフローチャートである。
【図10】ロボット姿勢変化判定部によって、第1多関節ロボットの姿勢変化量の小さい箇所が抽出された比較時間を示す模式図である。
【図11】ロボットの姿勢変化量が大きいときで、TCPの移動量が小さい場合のガンユニットの移動状態を示す模式図である。
【図12】第1多関節ロボット及び第2多関節ロボットの双方について姿勢の変化の少ない箇所を間引いた組合せデータを示す説明図である。
【符号の説明】
10…オフラインティーチング装置 12…ロボット装置
14…制御部 16…モニタ
18…キーボード 20…マウス
22a〜22c…ロボット制御部 26…CPU(コンピュータ)
28…ROM 29…RAM
34…ハードディスク 35…相互干渉検証プログラム
37…データベース 50a〜50c…多関節ロボット
68…ガンユニット 68a…X型溶接ガン
70、72、80、82…電極 100…データ読込み部
102…データ書込み部
108…ロボット動作プログラム生成部 110…相互干渉確認部
110a…動作計画計算部
110b…ロボット姿勢サンプリング部 110c…姿勢組合せ生成部
110d…相互干渉計算部 110e…ロボット姿勢変化判定部
112…相互干渉検証結果記録部 114…姿勢組合せ計算部
116…ロボット姿勢計算部 180…パステーブル
210…組合せデータ

Claims (5)

  1. 第1ロボット及び第2ロボットに作業を行わせる際の前記第1及び第2ロボット同士の相互干渉を検証するロボットの相互干渉検証方法において、
    前記作業における所定時間毎の前記第1ロボットの姿勢を求めて記録する第1ステップと、
    前記作業における所定時間毎の前記第2ロボットの姿勢を求めて記録する第2ステップと、
    前記作業の時間順に、前記第1ステップで記録した前記第1ロボットの姿勢に対して前記第2ステップで記録した前記第2ロボットの姿勢が干渉するか否かを検証する第3ステップと、
    を実行する方法であって、
    前記第3ステップは、前回実行時における前記第1ロボットの姿勢に対して姿勢変化量が所定閾値より大きいときに再度実行することを特徴とするロボットの相互干渉検証方法。
  2. 請求項1記載のロボットの相互干渉検証方法において、
    前記第3ステップで、前記第1ロボットと前記第2ロボットが干渉することが確認されたときに、前記第3ステップの実行間隔を延ばすことを特徴とするロボットの相互干渉検証方法。
  3. 請求項1又は2記載のロボットの相互干渉検証方法において、
    前記第1ロボットは複数の可動部を有する多関節型のロボットであり、前記可動部の各変位量に対して重み付けを付けて加算することにより、前記姿勢変化量を求めることを特徴とするロボットの相互干渉検証方法。
  4. 請求項3記載のロボットの相互干渉検証方法において、
    前記ロボットには一対の電極を備えるC型溶接ガンが設けられ、前記姿勢変化量は、前記電極の移動量を除く他の可動部の移動量に基づいて算出することを特徴とするロボットの相互干渉検証方法。
  5. 請求項3記載のロボットの相互干渉検証方法において、
    前記ロボットには一対の電極を備えるX型溶接ガンが設けられ、前記姿勢変化量は、前記電極の移動量を含めて算出することを特徴とするロボットの相互干渉検証方法。
JP2003156532A 2003-06-02 2003-06-02 ロボットの相互干渉検証方法 Expired - Fee Related JP3957296B2 (ja)

Priority Applications (1)

Application Number Priority Date Filing Date Title
JP2003156532A JP3957296B2 (ja) 2003-06-02 2003-06-02 ロボットの相互干渉検証方法

Applications Claiming Priority (1)

Application Number Priority Date Filing Date Title
JP2003156532A JP3957296B2 (ja) 2003-06-02 2003-06-02 ロボットの相互干渉検証方法

Publications (2)

Publication Number Publication Date
JP2004358564A true JP2004358564A (ja) 2004-12-24
JP3957296B2 JP3957296B2 (ja) 2007-08-15

Family

ID=34050588

Family Applications (1)

Application Number Title Priority Date Filing Date
JP2003156532A Expired - Fee Related JP3957296B2 (ja) 2003-06-02 2003-06-02 ロボットの相互干渉検証方法

Country Status (1)

Country Link
JP (1) JP3957296B2 (ja)

Cited By (2)

* Cited by examiner, † Cited by third party
Publication number Priority date Publication date Assignee Title
JP2012106316A (ja) * 2010-11-18 2012-06-07 Honda Motor Co Ltd 干渉検出方法及び干渉検出装置
JP2016537143A (ja) * 2013-08-16 2016-12-01 インテュイティブ サージカル オペレーションズ, インコーポレイテッド 異種装置間の協調動作のためのシステム及び方法

Cited By (7)

* Cited by examiner, † Cited by third party
Publication number Priority date Publication date Assignee Title
JP2012106316A (ja) * 2010-11-18 2012-06-07 Honda Motor Co Ltd 干渉検出方法及び干渉検出装置
JP2016537143A (ja) * 2013-08-16 2016-12-01 インテュイティブ サージカル オペレーションズ, インコーポレイテッド 異種装置間の協調動作のためのシステム及び方法
US10283220B2 (en) 2013-08-16 2019-05-07 Intuitive Surgical Operations, Inc. System and method for coordinated motion among heterogeneous devices
JP2019072572A (ja) * 2013-08-16 2019-05-16 インテュイティブ サージカル オペレーションズ, インコーポレイテッド 異種装置間の協調動作のためのシステム及び方法
US11120907B2 (en) 2013-08-16 2021-09-14 Intuitive Surgical Operations, Inc. System and method for coordinated motion among heterogeneous devices using a movement token
US11710561B2 (en) 2013-08-16 2023-07-25 Intuitive Surgical Operations, Inc. System and method for coordinated motion among heterogeneous devices using a movement token
US12437868B2 (en) 2013-08-16 2025-10-07 Intuitive Surgical Operations, Inc. System and method for coordinated motion among heterogeneous devices

Also Published As

Publication number Publication date
JP3957296B2 (ja) 2007-08-15

Similar Documents

Publication Publication Date Title
CN108453702B (zh) 机器人仿真器、机器人系统以及仿真方法
JP3715537B2 (ja) 多関節ロボットの干渉回避方法およびプログラム
CN111791228B (zh) 编程辅助装置、机器人系统和编程辅助方法
JP2015066668A (ja) ロボットの教示点調整方法、ロボットの設置位置算出方法、ロボットシステム、プログラム及び記録媒体
JP2018020412A (ja) シミュレーション装置、ロボット制御装置およびロボット
CN108000523A (zh) 模拟机器人系统的动作的模拟装置、模拟方法及记录介质
JP2012091304A (ja) ティーチングデータ作成方法およびティーチングデータ作成装置
JP2003103491A (ja) ロボットの相互干渉検証方法および相互干渉表示パターン
JP7190152B2 (ja) 多関節ロボット用の教示データ作成方法
JP7474681B2 (ja) プログラム生成システム、ロボットシステム、プログラム生成方法、および生成プログラム
CN100404211C (zh) 用于多关节型机器人的教导数据准备方法
JP2003103481A (ja) 多関節ロボットの姿勢適正化方法および適正化装置
JP5474739B2 (ja) 干渉検出方法及び干渉検出装置
JP3957296B2 (ja) ロボットの相互干渉検証方法
JP7704851B2 (ja) ロボットシミュレーション装置
JP7493926B2 (ja) 制御方法、制御装置、ロボットシステム、物品の製造方法、動作プログラム作成方法、動作プログラム作成装置、表示装置、表示装置の制御方法、プログラムおよび記録媒体
JP2003103484A (ja) ロボットのインターロック設定方法
US20170004237A1 (en) Simulation method and simulation apparatus
JP3577296B2 (ja) 多関節ロボットの動作経路設定方法および設定装置
JP2002239957A (ja) 多関節ロボットの姿勢決定方法およびプログラム
JP2000015593A (ja) マニピュレータ軌道生成装置及びマニピュレータ軌道生成プログラムを記録した記録媒体
WO2023276149A1 (ja) 最適化支援装置
JP3884928B2 (ja) 多関節ロボットの姿勢算出方法および姿勢算出装置
JP3647404B2 (ja) 多関節ロボットの動作経路設定方法および設定装置
JP7541955B2 (ja) ロボット用走行台車位置決定装置、該方法および該プログラム

Legal Events

Date Code Title Description
A977 Report on retrieval

Free format text: JAPANESE INTERMEDIATE CODE: A971007

Effective date: 20060202

A131 Notification of reasons for refusal

Free format text: JAPANESE INTERMEDIATE CODE: A131

Effective date: 20060207

A521 Request for written amendment filed

Free format text: JAPANESE INTERMEDIATE CODE: A523

Effective date: 20060410

A131 Notification of reasons for refusal

Free format text: JAPANESE INTERMEDIATE CODE: A131

Effective date: 20060516

A521 Request for written amendment filed

Free format text: JAPANESE INTERMEDIATE CODE: A523

Effective date: 20060710

A02 Decision of refusal

Free format text: JAPANESE INTERMEDIATE CODE: A02

Effective date: 20061226

A521 Request for written amendment filed

Free format text: JAPANESE INTERMEDIATE CODE: A523

Effective date: 20070226

A911 Transfer to examiner for re-examination before appeal (zenchi)

Free format text: JAPANESE INTERMEDIATE CODE: A911

Effective date: 20070309

TRDD Decision of grant or rejection written
A01 Written decision to grant a patent or to grant a registration (utility model)

Free format text: JAPANESE INTERMEDIATE CODE: A01

Effective date: 20070501

A61 First payment of annual fees (during grant procedure)

Free format text: JAPANESE INTERMEDIATE CODE: A61

Effective date: 20070507

R150 Certificate of patent or registration of utility model

Ref document number: 3957296

Country of ref document: JP

Free format text: JAPANESE INTERMEDIATE CODE: R150

Free format text: JAPANESE INTERMEDIATE CODE: R150

FPAY Renewal fee payment (event date is renewal date of database)

Free format text: PAYMENT UNTIL: 20110518

Year of fee payment: 4

FPAY Renewal fee payment (event date is renewal date of database)

Free format text: PAYMENT UNTIL: 20110518

Year of fee payment: 4

FPAY Renewal fee payment (event date is renewal date of database)

Free format text: PAYMENT UNTIL: 20130518

Year of fee payment: 6

FPAY Renewal fee payment (event date is renewal date of database)

Free format text: PAYMENT UNTIL: 20130518

Year of fee payment: 6

FPAY Renewal fee payment (event date is renewal date of database)

Free format text: PAYMENT UNTIL: 20140518

Year of fee payment: 7

LAPS Cancellation because of no payment of annual fees