JP2004304792A - 観客測定基準に基づいてデジタルシネマコンテンツを供給する方法 - Google Patents
観客測定基準に基づいてデジタルシネマコンテンツを供給する方法 Download PDFInfo
- Publication number
- JP2004304792A JP2004304792A JP2004085166A JP2004085166A JP2004304792A JP 2004304792 A JP2004304792 A JP 2004304792A JP 2004085166 A JP2004085166 A JP 2004085166A JP 2004085166 A JP2004085166 A JP 2004085166A JP 2004304792 A JP2004304792 A JP 2004304792A
- Authority
- JP
- Japan
- Prior art keywords
- content
- scene
- audience
- image
- alternative
- Prior art date
- Legal status (The legal status is an assumption and is not a legal conclusion. Google has not performed a legal analysis and makes no representation as to the accuracy of the status listed.)
- Pending
Links
Images
Landscapes
- Two-Way Televisions, Distribution Of Moving Picture Or The Like (AREA)
- Television Systems (AREA)
Abstract
【解決手段】 デジタルデータストリームとして受信され、選択可能なシーンコンテンツを有する動画を表示する方法であって、この方法は、人口統計データといった観客測定基準を入手し、この測定基準に基づいて、代替のフレーム(200)コンテンツ又は選択可能なシーン(174a1、174a2)から、広告者(260)により購入される画像表示データストリーム(180)内に挿入されるべき置換可能な画像エレメント(202)を選択する。
【選択図】 図6
Description
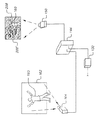
視聴観客に関する人口統計学的且つ他の関連のデータは、多数の方法で入手することができる。図5を参照するに、観客構成員80についての人口統計学的且つ出席データを収集し且つデータに応答するよう構成されるエキシビジョンシステム140の構成要素を示す。人口統計データ入力点70において、従業員72が、観客構成員80に関する情報を、例えば、チケットを販売するときや入場時に引き渡したときに、コンソール74に入力する。データベース76内に観客測定基準は格納され、シネマオペレーティングシステム146に対し利用可能にする。シネマオペレーティングシステム146は、上述の背景セクションにて説明した伝送システム130からデジタルシネマデータ82も受信する。人口統計データ及び他の観客測定基準に基づいて、シネマオペレーティングシステム146は、プロジェクタ150による表示用にデジタルシネマコンテンツを適応させる。
図3a、3b、3c、及び3dを参照するに、1つの画像フレーム200に対し、可変コンテンツ表示領域204を画成し且つ操作するために本発明がどのように動作するのかを説明する例示的なシーケンスを示す。一連の映画画像フレーム200にて、このシーケンスは、図3aの最初に撮影されたシーンから始まる。最初に撮影されたシーンには、置換可能な画像エレメント202がある。1つの好適な実施例では、置換可能な画像エレメント202は、例えば、広告掲示板、バス又は他の車両上のプラカード、お店の窓にある又は窓の上にある看板、電話ボックスのロゴ、又は、シーンコンテンツの背景に映る一部の他の識別可能なエレメントといった何らかの広告の形式を含む。図3bに示すように、可変コンテンツ表示領域204は、境界座標を与える複数の頂点206により画成される形状及び寸法を有する。可変コンテンツ表示領域204の形状、寸法、及び配置を含む情報が与えられるに、代替のコンテンツ208を、図3cの例に示すように、用意することができる。次に、代替のコンテンツ208は、可変コンテンツ表示領域204の形状及び他の特性に適応されて、修正された画像フレーム200’に代替の置換可能な画像コンテンツ202’を供給する。
図2と、図3a−3dのシーケンスを共に再び参照するに、本発明は、エキシビジョンシステム140において、ポストプロダクション設備111から伝送されるデジタルデータとして派生する画像フレーム200を修正する方法を提供する。
図3aに示す例示的な実施例では、置換可能な画像エレメント202は、背景シーンコンテンツの一部である広告を含む。しかし、最も広いコンテキストでは、置換可能な画像エレメント202は、画像フレーム200の任意の部分を含み得る。本発明の方法を用いるに、任意の背景エレメントが、置換可能な画像エレメント202として識別されることが可能であり、与えられた適切なメタデータと置き換えられることが可能である。前景エレメントや人も加えることができる。
画像フレーム200内の代替のコンテンツを選択するための基盤として機能するだけでなく、観客の測定基準は、1つ以上のフレームシーケンスを選択するための基盤としても機能することが可能であり、各フレームシーケンスは、動画における1つのシーン又は一部の時間的なシーンセグメントを与える一連のフレームのセットである。例えば、特定のシーン又はシーンの一部は、若い人が多い観客に対しては消去又は省略され、或いは、若い観客に対しては延長されて年配の観客には短くされ得る。従来のフィルム表示を用いてでは非常に困難であった劇場において同じシーンの様々なバージョンを容易に代入することのできる可能性は、デジタルシネマ技術を用いて可能となる。
明らかなように、本発明の方法は、劇場所有者及び他の動画上映者に利益を上げる機会を提供する。従来は、スタジオ110のみの領分であった現在上映される映画中の広告空間の販売は、今度は、動画上映者に有益となることが可能である。この新しい可能性を活用するために、動画フィルムは、コンテンツトラッキングリストが与えられ、このリストは、フィルムにおいて代替のコンテンツ208を用いることのできる場所についての情報を含む。例として、表3は、少数の予想される情報フィールドを有するコンテンツトラッキングリストを示す。
本発明の方法を用いて、代替のコンテンツ208と任意の付随するオーディオコンテンツが挿入されるデジタル動画表示データの実際のレンダリングは、動画が表示されるときに「リアルタイム」に動的に行われ得る。或いは、レンダリングは、予め行われ、レンダリングされたバージョンは、図2に示すようにディスクアレイ120上に、後で視聴するために一時的に格納されることが可能である。
図8を参照するに、映画上映者240が、図8のシーケンスよりもより受身的な役割を果たす1つの実施例における収益源として代替のシーンコンテンツ208を使用するフローシーケンス図を示す。最初の伝送段階242において、スタジオ110は、可変コンテンツ表示領域204又は完全なシーンのための代替のコンテンツを有するデジタル映画を、映画上映者240に供給する。販売提供段階244において、スタジオ110は、動画の1つ以上の上映において、観客の測定基準に応じて表示される代替のシーンコンテンツ208を購入する機会を、映画上映者260に提供する。代替のシーンコンテンツ208は、スタジオ110により与えられるメタデータに基づいて、スタジオ110又は広告者260により準備されることが可能である。広告者260は、購入段階248において、宣伝空間を購入する。次に、有効化段階262において、スタジオ110は、広告者260によって購入され、表示のために与えられる代替のコンテンツの復号化及び使用のための有効化コードを、映画上映者240に供給する。上映時に、映画上映者240は、測定基準収集段階264において、観客測定基準を入手する。次に、好適な観客測定基準に基づいて、代替のシーンコンテンツ208が表示される。この表示動作は記録されて、報告段階266においてスタジオ110に報告される。
(a)各上映において、宣伝シーンのセットのうちの任意の特定の1つを表示する、又は、特定のフレーム200コンテンツを含むための決定は、入手した観客測定基準に基づくことが可能である。従って、例えば、特定の映画が、ターゲットの年齢グループに対して特別な関心を有する場合、このグループに対しターゲットが絞られた代替のシーンコンテンツ208が表示され得る。例えば、任意のある時間に1つの又は別の選択的な予告編を上映する、又は、単純にデフォルトコンテンツを表示するための決定は、上映時に収集された観客測定基準に依存し得る。
代替のコンテンツ208は、ビデオ又はオーディオ、或いは、その両方を含み得ることを協調する。代替のコンテンツ208がビデオコンテンツのみの場合、オリジナルのサウンドトラックが用いられ得る。代替のコンテンツ208がオーディオコンテンツのみの場合、オリジナルのビデオフレームが用いられ得る。代替のコンテンツ208がビデオとオーディオコンテンツの両方を有する第3の代替は、現行のコンテンツを上書きするか、又は、代替のコンテンツ208からのオーディオを現行のコンテンツとミックスし得る。上述した説明は、代替のビジュアルコンテンツを用いることに主に向けられているが、図7、8、及び9に示すトランザクションは、オーディオ又はビデオ、或いは、その両方である代替のシーンコンテンツにも用いられ得る。
20 スタジオ
22 コンテンツプロバイダ
24 プリントフィルム
26 配給網
28 劇場
30 コンテンツフィルム
70 人口統計学的データの入力点
72 従業員
74 コンソール
76 データベース
80 観客構成員
82 デジタルシネマデータ
84 カメラ
100 デジタルシネマ準備及び配給システム
110 スタジオ
112 フィルム
114 データシネシステム
116 補助入力装置
118 レンダリングシステム
120 ディスクアレイ
122 送信器
130 伝送システム
132 磁気媒体
134 光学媒体
136 ファイバーケーブル接続
138 衛星
140 エキシビジョンシステム
142 磁気媒体読取り器
144 光学媒体読取り器
1467 シネマオペレーティングシステム
148 受信器
150 デジタルプロジェクタ
160 被写体、画像
162 ブルースクリーン
164 デジタルビデオカメラ
170 複合映画
172 ベースコンテンツ
174a1、174a2、選択可能なシーン
176z1、176z2、176z3 選択可能なエンディング
180 画像表示データストリーム
182 シーンメタデータ
200 画像フレーム
200’ 修正された画像フレーム
202 置換可能な画像エレメント
202’ 代替の置換可能な画像コンテンツ
204 可変コンテンツ表示領域
206 頂点
208 代替のコンテンツ
240 映画上映者
242 最初の伝送段階
244 販売提供段階
264、248 購入段階
250 有効化段階
252 詳細段階
254 コンテンツ供給段階
260 広告者
262 有効化段階
264 測定基準収集段階
266 報告段階
268 交渉段階
270 注文段階
272 配達段階
274 販売提供段階
276 購入段階
300 再生段階
302 配達及び有効化段階
Claims (7)
- 複数のオリジナルシーンシーケンスと、更に、1つ以上の前記オリジナルシーンシーケンス内の選択可能なシーンコンテンツを有するデジタルデータストリームとして受信する動画を表示する方法であって、
(a)前記動画の上映時に、複数の観客構成員について観客に関するデータを入手する段階と、
(b)前記動画における前記オリジナルシーンシーケンスの1つについてのシーンコンテンツの代替のシーケンスのデジタル画像データを受信する段階と、
(c)前記観客に関するデータに依存して、前記上映時に、前記オリジナルシーンシーケンスの前記1つに対し、前記デジタルデータストリームに前記シーンコンテンツの代替のシーケンスを代入し、それにより、前記観客に関するデータに応じて、表示のために選択可能なシーンコンテンツを変更する段階と、
(d)前記シーンコンテンツの代替のシーケンスを表示するための費用を得る段階と、を含む方法。 - 前記段階(b)において受信される前記シーンコンテンツの代替のシーケンスは、一連の完全な画像フレームを含む請求項1記載の動画を表示する方法。
- 前記段階(b)において受信される前記シーンコンテンツの代替のシーケンスは、前記動画内に与えられる画像フレーム内に挿入される画像コンテンツを含む請求項1記載の動画を表示する方法。
- 前記段階(b)において受信される前記シーンコンテンツの代替のシーケンスは、スライドショー画像を含む請求項1記載の動画を表示する方法。
- 前記動画デジタルデータストリーム中に前記シーンコンテンツの代替のシーケンスを代入する前記段階(c)は、前記シーンコンテンツの代替のシーケンスの前記デジタル画像データを、1つ以上の連続フレームのシーン特性に対して調整する段階を含む請求項1記載の動画を表示する方法。
- 前記段階(a)において入手される前記観客に関するデータは、前記費用の量を設定する際の一因子である請求項1記載の動画を表示する方法。
- 前記段階(a)において入手される前記観客に関するデータは、特定の広告者からの特定の前記シーンコンテンツの代替のシーケンスを選択する際の一因子である請求項17記載の動画を表示する方法。
Applications Claiming Priority (1)
| Application Number | Priority Date | Filing Date | Title |
|---|---|---|---|
| US40250303P | 2003-03-28 | 2003-03-28 |
Publications (1)
| Publication Number | Publication Date |
|---|---|
| JP2004304792A true JP2004304792A (ja) | 2004-10-28 |
Family
ID=33415799
Family Applications (1)
| Application Number | Title | Priority Date | Filing Date |
|---|---|---|---|
| JP2004085166A Pending JP2004304792A (ja) | 2003-03-28 | 2004-03-23 | 観客測定基準に基づいてデジタルシネマコンテンツを供給する方法 |
Country Status (1)
| Country | Link |
|---|---|
| JP (1) | JP2004304792A (ja) |
Cited By (16)
| Publication number | Priority date | Publication date | Assignee | Title |
|---|---|---|---|---|
| KR100761957B1 (ko) | 2007-01-30 | 2007-10-01 | 주식회사 코난테크놀로지 | 키샷 구매형 광고에서 사용자 반응을 분석하는 방법 및시스템 |
| KR100761956B1 (ko) | 2007-01-12 | 2007-10-01 | 주식회사 코난테크놀로지 | 동영상 광고 관리 방법 및 시스템 |
| KR100815548B1 (ko) | 2007-09-05 | 2008-03-20 | (주)디엠씨미디어 | 관객 수에 따른 과금방식을 적용한 극장 광고 대행 서비스관리 방법 및 이에 사용되는 중앙 서버 |
| KR100840018B1 (ko) | 2007-06-20 | 2008-06-20 | (주)올라웍스 | 사용자 제작 컨텐츠를 통해 광고를 제공하는 방법 및시스템 |
| JP2008529338A (ja) * | 2005-01-20 | 2008-07-31 | コーニンクレッカ フィリップス エレクトロニクス エヌ ヴィ | プロダクトプレイスメントを含むトレイラの自動生成 |
| JP2009529300A (ja) * | 2006-03-07 | 2009-08-13 | ソニー・コンピュータ・エンタテインメント・アメリカ・インク | 番組コンテンツにおける映画の舞台小道具の動的置換および挿入方法 |
| JP2009532956A (ja) * | 2006-03-30 | 2009-09-10 | エスアールアイ インターナショナル | メディア・ストリームに注釈を付ける方法および装置 |
| JP2012531154A (ja) * | 2009-06-22 | 2012-12-06 | シンヴォルヴ ベーフェーベーアー | 双方向デジタルシネマシステムの方法 |
| US8451380B2 (en) | 2007-03-22 | 2013-05-28 | Sony Computer Entertainment America Llc | Scheme for determining the locations and timing of advertisements and other insertions in media |
| US8549554B2 (en) | 2006-03-07 | 2013-10-01 | Sony Computer Entertainment America Llc | Dynamic replacement of cinematic stage props in program content |
| US8566865B2 (en) | 2006-03-07 | 2013-10-22 | Sony Computer Entertainment America Llc | Dynamic insertion of cinematic stage props in program content |
| US8793256B2 (en) | 2008-03-26 | 2014-07-29 | Tout Industries, Inc. | Method and apparatus for selecting related content for display in conjunction with a media |
| US8988609B2 (en) | 2007-03-22 | 2015-03-24 | Sony Computer Entertainment America Llc | Scheme for determining the locations and timing of advertisements and other insertions in media |
| JP2016509811A (ja) * | 2013-02-07 | 2016-03-31 | トムソン ライセンシングThomson Licensing | 的を絞ったコンテンツをビデオの画像フレーム中に提供する方法及び対応デバイス |
| JP2016167271A (ja) * | 2016-03-15 | 2016-09-15 | ヤフー株式会社 | サービス提供装置、サービス提供方法及びサービス提供プログラム |
| KR101817145B1 (ko) | 2016-04-12 | 2018-01-11 | (주)지니트 | 멀티 레이어 기반 크로마키 합성 시스템 및 방법 |
Citations (2)
| Publication number | Priority date | Publication date | Assignee | Title |
|---|---|---|---|---|
| JP2001326928A (ja) * | 2000-05-18 | 2001-11-22 | Sony Corp | 大型映像装置 |
| JP2002074160A (ja) * | 2000-08-24 | 2002-03-15 | Sony Corp | 情報提供方法 |
-
2004
- 2004-03-23 JP JP2004085166A patent/JP2004304792A/ja active Pending
Patent Citations (2)
| Publication number | Priority date | Publication date | Assignee | Title |
|---|---|---|---|---|
| JP2001326928A (ja) * | 2000-05-18 | 2001-11-22 | Sony Corp | 大型映像装置 |
| JP2002074160A (ja) * | 2000-08-24 | 2002-03-15 | Sony Corp | 情報提供方法 |
Cited By (30)
| Publication number | Priority date | Publication date | Assignee | Title |
|---|---|---|---|---|
| JP2008529338A (ja) * | 2005-01-20 | 2008-07-31 | コーニンクレッカ フィリップス エレクトロニクス エヌ ヴィ | プロダクトプレイスメントを含むトレイラの自動生成 |
| US8566865B2 (en) | 2006-03-07 | 2013-10-22 | Sony Computer Entertainment America Llc | Dynamic insertion of cinematic stage props in program content |
| US9038100B2 (en) | 2006-03-07 | 2015-05-19 | Sony Computer Entertainment America Llc | Dynamic insertion of cinematic stage props in program content |
| US8860803B2 (en) | 2006-03-07 | 2014-10-14 | Sony Computer Entertainment America Llc | Dynamic replacement of cinematic stage props in program content |
| JP2009529300A (ja) * | 2006-03-07 | 2009-08-13 | ソニー・コンピュータ・エンタテインメント・アメリカ・インク | 番組コンテンツにおける映画の舞台小道具の動的置換および挿入方法 |
| JP2012135040A (ja) * | 2006-03-07 | 2012-07-12 | Sony Computer Entertainment America Llc | 番組コンテンツにおける映画の舞台小道具の動的置換および挿入方法 |
| JP2012135039A (ja) * | 2006-03-07 | 2012-07-12 | Sony Computer Entertainment America Llc | 番組コンテンツにおける映画の舞台小道具の動的置換および挿入方法 |
| US8549554B2 (en) | 2006-03-07 | 2013-10-01 | Sony Computer Entertainment America Llc | Dynamic replacement of cinematic stage props in program content |
| JP2009532956A (ja) * | 2006-03-30 | 2009-09-10 | エスアールアイ インターナショナル | メディア・ストリームに注釈を付ける方法および装置 |
| US8645991B2 (en) | 2006-03-30 | 2014-02-04 | Tout Industries, Inc. | Method and apparatus for annotating media streams |
| KR100761956B1 (ko) | 2007-01-12 | 2007-10-01 | 주식회사 코난테크놀로지 | 동영상 광고 관리 방법 및 시스템 |
| KR100761957B1 (ko) | 2007-01-30 | 2007-10-01 | 주식회사 코난테크놀로지 | 키샷 구매형 광고에서 사용자 반응을 분석하는 방법 및시스템 |
| US8665373B2 (en) | 2007-03-22 | 2014-03-04 | Sony Computer Entertainment America Llc | Scheme for determining the locations and timing of advertisements and other insertions in media |
| US9497491B2 (en) | 2007-03-22 | 2016-11-15 | Sony Interactive Entertainment America Llc | Scheme for determining the locations and timing of advertisements and other insertions in media |
| US10003831B2 (en) | 2007-03-22 | 2018-06-19 | Sony Interactvie Entertainment America LLC | Scheme for determining the locations and timing of advertisements and other insertions in media |
| US9872048B2 (en) | 2007-03-22 | 2018-01-16 | Sony Interactive Entertainment America Llc | Scheme for determining the locations and timing of advertisements and other insertions in media |
| US10715839B2 (en) | 2007-03-22 | 2020-07-14 | Sony Interactive Entertainment LLC | Scheme for determining the locations and timing of advertisements and other insertions in media |
| US8988609B2 (en) | 2007-03-22 | 2015-03-24 | Sony Computer Entertainment America Llc | Scheme for determining the locations and timing of advertisements and other insertions in media |
| US9538049B2 (en) | 2007-03-22 | 2017-01-03 | Sony Interactive Entertainment America Llc | Scheme for determining the locations and timing of advertisements and other insertions in media |
| US9237258B2 (en) | 2007-03-22 | 2016-01-12 | Sony Computer Entertainment America Llc | Scheme for determining the locations and timing of advertisements and other insertions in media |
| US10531133B2 (en) | 2007-03-22 | 2020-01-07 | Sony Interactive Entertainment LLC | Scheme for determining the locations and timing of advertisements and other insertions in media |
| US8451380B2 (en) | 2007-03-22 | 2013-05-28 | Sony Computer Entertainment America Llc | Scheme for determining the locations and timing of advertisements and other insertions in media |
| KR100840018B1 (ko) | 2007-06-20 | 2008-06-20 | (주)올라웍스 | 사용자 제작 컨텐츠를 통해 광고를 제공하는 방법 및시스템 |
| KR100815548B1 (ko) | 2007-09-05 | 2008-03-20 | (주)디엠씨미디어 | 관객 수에 따른 과금방식을 적용한 극장 광고 대행 서비스관리 방법 및 이에 사용되는 중앙 서버 |
| US8793256B2 (en) | 2008-03-26 | 2014-07-29 | Tout Industries, Inc. | Method and apparatus for selecting related content for display in conjunction with a media |
| US9749590B2 (en) | 2009-06-22 | 2017-08-29 | Cinvolve Bvba | Method for interactive digital cinema system |
| JP2012531154A (ja) * | 2009-06-22 | 2012-12-06 | シンヴォルヴ ベーフェーベーアー | 双方向デジタルシネマシステムの方法 |
| JP2016509811A (ja) * | 2013-02-07 | 2016-03-31 | トムソン ライセンシングThomson Licensing | 的を絞ったコンテンツをビデオの画像フレーム中に提供する方法及び対応デバイス |
| JP2016167271A (ja) * | 2016-03-15 | 2016-09-15 | ヤフー株式会社 | サービス提供装置、サービス提供方法及びサービス提供プログラム |
| KR101817145B1 (ko) | 2016-04-12 | 2018-01-11 | (주)지니트 | 멀티 레이어 기반 크로마키 합성 시스템 및 방법 |
Also Published As
| Publication number | Publication date |
|---|---|
| HK1069054A1 (zh) | 2005-05-06 |
Similar Documents
| Publication | Publication Date | Title |
|---|---|---|
| CN100466722C (zh) | 根据观众的度量标准形成数字电影内容的方法 | |
| JP2004304794A (ja) | 映画を表示する方法 | |
| US6912039B2 (en) | Method for staging motion picture content by exhibitor | |
| US8860803B2 (en) | Dynamic replacement of cinematic stage props in program content | |
| US9038100B2 (en) | Dynamic insertion of cinematic stage props in program content | |
| US10387920B2 (en) | System and method for offering and billing advertisement opportunities | |
| EP2523192B1 (en) | Dynamic replacement of cinematic stage props in program content | |
| JP2004304791A (ja) | デジタルシネマフレームコンテンツを修正する方法及び装置 | |
| US20030028432A1 (en) | Method for the customization of commercial product placement advertisements in digital media | |
| JP2004304792A (ja) | 観客測定基準に基づいてデジタルシネマコンテンツを供給する方法 | |
| CN115443662A (zh) | 制作视频以用于内容插入 | |
| US20130198010A1 (en) | Method for producing a media production whose profits are collected prior to the production thereof so that it can be provided and/or shown to the audience for free | |
| HK1069054B (en) | Method for providing digital cinema content based upon audience metrics | |
| HK1069949A (en) | Method for adapting digital cinema content to audience metrics | |
| HK1069948A (en) | Method and system for modifying digital cinema frame |
Legal Events
| Date | Code | Title | Description |
|---|---|---|---|
| A521 | Written amendment |
Free format text: JAPANESE INTERMEDIATE CODE: A523 Effective date: 20040729 |
|
| A621 | Written request for application examination |
Free format text: JAPANESE INTERMEDIATE CODE: A621 Effective date: 20070221 |
|
| A131 | Notification of reasons for refusal |
Free format text: JAPANESE INTERMEDIATE CODE: A131 Effective date: 20100105 |
|
| A521 | Written amendment |
Free format text: JAPANESE INTERMEDIATE CODE: A523 Effective date: 20100405 |
|
| A02 | Decision of refusal |
Free format text: JAPANESE INTERMEDIATE CODE: A02 Effective date: 20100420 |
