JP2004269244A - エレベータの制御装置 - Google Patents
エレベータの制御装置 Download PDFInfo
- Publication number
- JP2004269244A JP2004269244A JP2003066400A JP2003066400A JP2004269244A JP 2004269244 A JP2004269244 A JP 2004269244A JP 2003066400 A JP2003066400 A JP 2003066400A JP 2003066400 A JP2003066400 A JP 2003066400A JP 2004269244 A JP2004269244 A JP 2004269244A
- Authority
- JP
- Japan
- Prior art keywords
- heating element
- duct
- panel case
- control panel
- elevator
- Prior art date
- Legal status (The legal status is an assumption and is not a legal conclusion. Google has not performed a legal analysis and makes no representation as to the accuracy of the status listed.)
- Pending
Links
Images
Landscapes
- Elevator Control (AREA)
- Patch Boards (AREA)
Abstract
【課題】この発明は、空気流の下流側の電気部品が確実に冷却されるエレベータの制御装置を得る。
【解決手段】この発明のエレベータは、制御盤用ケース3と、この制御盤用ケース3内に設けられエレベータの運転を制御する電気部品である第1の発熱体4と、この第1の発熱体4を冷却する冷却用ファン5と、この冷却用ファン5により流れる空気の下流側に設けられ第1の発熱体4よりも高温の電気部品である第2の発熱体9と、制御盤用ケース3に隣接して設けられたダクト8とを備え、空気は、ダクト8を通じて第2の発熱体9に流れるようになっている。
【選択図】 図1
【解決手段】この発明のエレベータは、制御盤用ケース3と、この制御盤用ケース3内に設けられエレベータの運転を制御する電気部品である第1の発熱体4と、この第1の発熱体4を冷却する冷却用ファン5と、この冷却用ファン5により流れる空気の下流側に設けられ第1の発熱体4よりも高温の電気部品である第2の発熱体9と、制御盤用ケース3に隣接して設けられたダクト8とを備え、空気は、ダクト8を通じて第2の発熱体9に流れるようになっている。
【選択図】 図1
Description
【0001】
【発明の属する技術分野】
この発明は、制御盤用ケースと、この制御盤用ケース内に設けられエレベータの運転を制御する電気部品である発熱体と、この発熱体を冷却する冷却用ファンと、この冷却用ファンにより流れる空気を発熱体に導くダクトとを備えたエレベータの制御装置に関するものである。
【0002】
【従来の技術】
従来、エレベータの制御装置として、エレベータ制御用の各種の電気部品を収納し、冷却空気流入口および冷却空気流出口を有する筐体と、電気部品のうち要放熱電気部品が実装された放熱フィンと、要放熱電気部品を冷却する空気流を生じさせる冷却ファンとを備えたエレベータの制御装置が知られている(例えば、特許文献1参照)。
【0003】
【特許文献1】
特開平4−338074号公報(図3)
【0004】
【発明が解決しようとする課題】
従来のエレベータの制御装置では、空気流の下流側の電気部品が上流側の電気部品の影となり、下流側の電気部品に空気流が確実に到達せず、下流側の電気部品の冷却効率が低下してしまうという問題点があった。
【0005】
この発明は、かかる問題点を解決することを課題とするものであって、空気流の下流側の電気部品が確実に冷却されるエレベータの制御装置を得ることを目的とする。
【0006】
【課題を解決するための手段】
この発明に係るエレベータの制御装置は、制御盤用ケースと、この制御盤用ケース内に設けられエレベータの運転を制御する電気部品である第1の発熱体と、この第1の発熱体を冷却する冷却用ファンと、この冷却用ファンにより流れる空気の下流側に設けられ前記第1の発熱体よりも高温の電気部品である第2の発熱体と、前記制御盤用ケースに隣接して設けられたダクトとを備え、前記空気は、前記ダクトを通じて前記第2の発熱体に流れるようになっている。
【0007】
また、この発明に係るエレベータの制御装置は、制御盤用ケースと、この制御盤用ケース内に設けられエレベータの運転を制御する電気部品である発熱体と、前記制御盤用ケースを貫通したダクトと、前記発熱体に固定され発熱体からの熱を吸収し、かつ放出するとともに放熱する放熱部が前記ダクト内に突出している熱伝達体と、前記ダクト内に設けられ前記放熱部に対向した冷却用ファンと、前記ダクトに形成された通気孔の近傍に設けられダクトの流路面積を縮小させ、ダクトの外部の空気をダクト内に導く案内部材とを備えている。
【0008】
【発明の実施の形態】
以下、この発明の各実施の形態のエレベータの制御装置について説明するが、各図において、同一、相当部材、部位については、同一符号を付して説明する。実施の形態1.
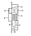
図1はこの発明の実施の形態1のエレベータの制御装置の正面図、図2は図1のII−II線に沿った断面図である。
このエレベータの制御装置は、昇降路壁面1に固定ブロック2を介して固定された制御盤用ケース3と、この制御盤用ケース3内に設けられエレベータの運転を制御するインバータのスイッチング素子である第1の発熱体4と、この第1の発熱体4が下側で固定され第1の発熱体4からの熱を吸収し、かつ放出する熱伝達体6と、この熱伝達体6の熱を放出する放熱フィン7に対向した冷却用ファン5と、制御盤用ケース3と昇降路壁面1との間の空間部Aに配置されているとともに冷却用ファン5により流れる空気の通路となるダクト8と、このダクト8の下流側に設けられダクト8内に一部が突出した抵抗体である第2の発熱体9とを備えている。
熱伝達体6は、ヒートパイプ(図示せず)と、このヒートパイプを埋設した良熱伝導性のアルミニウム製の金属ブロック10と、この金属ブロック10と一体の放熱フィン7とを備えている。
【0009】
このエレベータの制御装置では、冷却用ファン5の回転により、外部の空気が冷却用ファン5を通じて放熱フィン7に向かって流れる。そこでは、第1の発熱体4からの熱がヒートパイプを通じて放熱フィン7に伝達されており、空気の通過とともに放熱フィン7が冷却され、第1の発熱体4が間接的に冷却される。引き続き、空気は、図2の矢印Bに示すようにダクト8を通じて第1の発熱体4よりも高温の第2の発熱体9に向かって流れ、第2の発熱体9を冷却し、その後外部に排出される。
【0010】
図3は図1のエレベータの制御装置が運搬される時の様子を示しており、第2の発熱体9は制御盤用ケース3内に収納されているとともに、ダクト8は制御盤用ケース3から取り外されているので、制御盤用ケース3からは突出物は無く、円滑に運搬される。
なお、図4に示すように、第2の発熱体9がダクト8内に突出したことで生じる空間にエレベータ保守専用機器11を取り付けるようにしてもよい。
【0011】
上記構成のエレベータの制御装置によれば、第1の発熱体4を冷却した空気は、制御盤用ケース3に隣接して設けられたダクト8を通じて直接第2の発熱体9に向かって流れるようになっているので、冷却用の空気は第2の発熱体9に確実に到達し、第2の発熱体9の冷却効率が向上する。
【0012】
また、第2の発熱体9の一部はダクト8内に突出しているので、第2の発熱体9はより多くの空気にさらされので、第2の発熱体9の冷却効率はより向上する。また、第2の発熱体9がダクト8内に突出したことで生じる空間にエレベータ保守専用機器11を取り付けるようにして、空間を有効利用することもできる。また、保守専用機器11が不要のときには、その空間分の制御盤用ケースの外形寸法を小さくすることもできる。
【0013】
また、第1の発熱体4は、第1の発熱体4からの熱を吸収し、かつ放出する熱伝達体6に固定されており、熱伝達体6の熱を放出する放熱フィン7が冷却用ファン5に対向しているので、第1の発熱体4の熱は放熱フィン7を通じて効率良く冷却され、制御盤用ケース3内の温度上昇を抑制することができる。また、第1の発熱体4を冷却用ファン5に対向させる必要性が無く、第1の発熱体4および冷却用ファン5の設計自由度が向上する。
【0014】
また、制御盤用ケース3は、ダクト8は、制御盤用ケース3と昇降路壁面1との間の空間部Aに配置されており、ダクト8用にわざわざスペースを確保する必要性がない。
【0015】
なお、上記の実施の形態では、第2の発熱体9の一部が、ダクト8内に突出していたが、第2の発熱体の全体がダクト内に突出するようにしてもよい。
また、第2の発熱体が制御盤用ケース内で、かつダクトの出口に配設されていてもよい。
また、第1の発熱体が直接冷却用ファンに対向して設けられ、冷却用ファンにより直接第1の発熱体が冷却されるようにしてもよい。この場合には、勿論熱伝達対は不要である。
【0016】
実施の形態2.
図5はこの発明の実施の形態2のエレベータの制御装置の断面図である。
この実施の形態のエレベータの制御装置では、制御盤用ケース3は、ダクト20を介して第2の発熱体9を収納した付属盤用ケース21に接続されており、かつ付属盤用ケース21は機械室壁面22から離間して配置されている。また、制御盤用ケース3および付属盤用ケース21の底部には渡り線用ダクト24が設けられており、この渡り線用ダクト24内には制御盤用ケース3内の電気部品と付属盤用ケース21内の電気部品とを接続する渡り線23が延設されている。
【0017】
このエレベータの制御装置では、冷却用ファン5の回転により、外部の空気が矢印Cに示すように冷却用ファン5を通じて放熱フィン7に向かって流れる。そこでは、第1の発熱体4からの熱がヒートパイプを通じて放熱フィン7に伝達されており、空気の通過とともに放熱フィン7が冷却され、第1の発熱体4が間接的に冷却される。
引き続き、空気は、矢印Dに示すようにダクト20を通じて付属盤用ケース21内に流入し、付属盤用ケース21を貫通したダクト20により案内されて第2の発熱体9に向かって流れ、第2の発熱体9は冷却される。その後、空気は、付属盤用ケース21と機械室壁面22との間の空間部Eに排出される。
【0018】
このエレベータの制御装置によれば、第1の発熱体4の下流側に配置された第2の発熱体9はダクト9内に設けられており、冷却用の空気はダクト9に案内されて第2の発熱体9に確実に到達し、第2の発熱体9の冷却効率が向上する。
また、それぞれのケース3,21に発熱体4,9が収納されているものの、冷却用ファン5で生じた空気流は、第2の発熱体9にも到達し、第2の発熱体9も冷却用ファン5により冷却されるので、第2の発熱体9用の冷却用ファンを設ける必要性がなく、冷却用ファンを削減することができる。
【0019】
また、機械室内に配置された制御盤用ケースおよび付属盤用ケースは、通常発熱体からの熱気を外部に排出するために機械室壁面22からそれぞれ離間して配置しなければならないが、この実施の形態の場合、付属盤用ケース21と機械室壁面22との間だけを離間することで、第1の発熱体4および第2の発熱体9からの熱を外部に排出することができ、機械室内での制御盤用ケース3および付属盤用ケース21が必要とする占有スペースが少なくて済む。
【0020】
実施の形態3.
図6はこの発明の実施の形態3のエレベータの制御装置の断面図である。
この実施の形態のエレベータの制御装置では、制御盤用ケース3内の電気部品と付属盤用ケース21内の電気部品とを電気的に接続した第1の渡り線25が、制御盤用ケース3および付属盤用ケース21の底部に設けられた第1の渡り線用ダクト26内に延設されている。また、制御盤用ケース3内の電気部品と付属盤用ケース21内の電気部品とを電気的に接続した第2の渡り線27が、制御盤用ケース3および付属盤用ケース21の底部から高さ方向に離れて設けられた第2の渡り線用ダクト28を貫通している。
他の構成は、実施の形態2と同様である。
【0021】
この実施の形態では、第2の渡り線27が、制御盤用ケース3および付属盤用ケース21の底部から高さ方向に離れて設けられている。従って、実施の形態2のエレベータの制御装置と比較して、第1の渡り線用ダクト26内を貫通した第1の渡り線25の本数を削減することができ、第1の渡り線用ダクト26の高さを実施の形態2の渡り線用ダクト24と比較して低くすることができ、制御盤用ケース3および付属盤用ケース21の全高Hを低くすることができる。
【0022】
実施の形態4.
図7はこの発明の実施の形態4のエレベータの制御装置の平断面図、図8は図7のVIII−VIII線に沿った矢視断面図である。
このエレベータの制御装置は、制御盤用ケース30と、この制御盤用ケース30内に設けられエレベータの運転を制御する電気部品である発熱体31と、制御盤用ケース30を貫通したダクト32と、発熱体31に固定され発熱体31からの熱を吸収し、かつ放出するとともに放熱する放熱部である放熱フィン33がダクト32内に突出している熱伝達体34と、ダクト32内に設けられ放熱フィン33に対向した冷却用ファン35と、ダクト32に形成された通気孔36に設けられダクト32の流路面積を縮小させ、ダクト32の外部の空気をダクト32内に導く平板状の案内部材37とを備えている。
前記熱伝達体34は、ヒートパイプ(図示せず)と、このヒートパイプを埋設した良熱伝導性のアルミニウム製の金属ブロック38と、この金属ブロック38と一体で放熱フィン33とを備えている。
【0023】
このエレベータの制御装置では、冷却用ファン35の回転により、外部の空気が矢印Fに示すように冷却用ファン35を通じて放熱フィン33に向かって流れる。そこでは、発熱体31からの熱がヒートパイプを通じて放熱フィン33に伝達されており、空気の通過とともに放熱フィン33が冷却され、発熱体31が間接的に冷却される。
引き続き、空気は、矢印Gに示すように案内部材37を通過するが、通過の際、案内部材37により、空気の流路面積が縮小しており、空気の流速が増大し、動圧が大きくなるのに対して静圧が減少する。その結果、ダクト32外の電気部品39により生じた熱気は、矢印Iに示すように通気孔36を通じて流入し、冷却用ファン35からの空気と合流し、そのまま制御盤用ケース30の外部に排出される。
【0024】
このエレベータの制御装置によれば、ダクト32の通気孔36の近傍にダクト32の流路面積を縮小させ、ダクト32の外部の空気をダクト32内に導く平板状の案内部材37を設けたので、制御盤用ケース30内では、強制対流が生じ、制御盤用ケース30内で、ダクト32の外部の電気部品39の冷却効率が向上する。
【0025】
【発明の効果】
以上説明したように、この発明に係るエレベータの制御装置によれば、制御盤用ケースと、この制御盤用ケース内に設けられエレベータの運転を制御する電気部品である第1の発熱体と、この第1の発熱体を冷却する冷却用ファンと、この冷却用ファンにより流れる空気の下流側に設けられ前記第1の発熱体よりも高温の電気部品である第2の発熱体と、前記制御盤用ケースに隣接して設けられたダクトとを備え、前記空気は、前記ダクトを通じて前記第2の発熱体に流れるようになっているので、空気流の下流側の第2の発熱体が確実に冷却され、第2の発熱体の冷却効率が向上する。
【0026】
また、この発明に係るエレベータの制御装置によれば、制御盤用ケースと、この制御盤用ケース内に設けられエレベータの運転を制御する電気部品である発熱体と、前記制御盤用ケースを貫通したダクトと、前記発熱体に固定され発熱体からの熱を吸収し、かつ放出するとともに放熱する放熱部が前記ダクト内に突出している熱伝達体と、前記ダクト内に設けられ前記放熱部に対向した冷却用ファンと、前記ダクトに形成された通気孔の近傍に設けられダクトの流路面積を縮小させ、ダクトの外部の空気をダクト内に導く案内部材とを備えているので、制御盤用ケース内では、強制対流が生じ、制御盤用ケース内で、ダクトの外部の電気部品の冷却効率が向上する。
【図面の簡単な説明】
【図1】この発明の実施の形態1のエレベータの制御装置の正面図である。
【図2】図1のII−II線に沿った断面図である。
【図3】図1のエレベータの制御装置の運搬時における様子を示す断面図である。
【図4】図1のエレベータの制御装置の別の使用態様を示す断面図である。
【図5】この発明の実施の形態2のエレベータの制御装置の断面図である。
【図6】この発明の実施の形態3のエレベータの制御装置の断面図である。
【図7】この発明の実施の形態4のエレベータの制御装置の平断面図である。
【図8】図7のVIII−VIII線に沿った矢視断面図である。
【符号の説明】
1 昇降路壁面、2 固定ブロック、3,30 制御盤用ケース、4 第1の発熱体、5,35 冷却用ファン、6,34 熱伝達体、7,33 放熱フィン、8,20,32 ダクト、9 第2の発熱体、21 付属盤用ケース、22 機械室壁面、25 第1の渡り線、26 第1の渡り線用ダクト、27 第2の渡り線、28 第2の渡り線用ダクト、31 発熱体、36 通気孔、37 案内部材。
【発明の属する技術分野】
この発明は、制御盤用ケースと、この制御盤用ケース内に設けられエレベータの運転を制御する電気部品である発熱体と、この発熱体を冷却する冷却用ファンと、この冷却用ファンにより流れる空気を発熱体に導くダクトとを備えたエレベータの制御装置に関するものである。
【0002】
【従来の技術】
従来、エレベータの制御装置として、エレベータ制御用の各種の電気部品を収納し、冷却空気流入口および冷却空気流出口を有する筐体と、電気部品のうち要放熱電気部品が実装された放熱フィンと、要放熱電気部品を冷却する空気流を生じさせる冷却ファンとを備えたエレベータの制御装置が知られている(例えば、特許文献1参照)。
【0003】
【特許文献1】
特開平4−338074号公報(図3)
【0004】
【発明が解決しようとする課題】
従来のエレベータの制御装置では、空気流の下流側の電気部品が上流側の電気部品の影となり、下流側の電気部品に空気流が確実に到達せず、下流側の電気部品の冷却効率が低下してしまうという問題点があった。
【0005】
この発明は、かかる問題点を解決することを課題とするものであって、空気流の下流側の電気部品が確実に冷却されるエレベータの制御装置を得ることを目的とする。
【0006】
【課題を解決するための手段】
この発明に係るエレベータの制御装置は、制御盤用ケースと、この制御盤用ケース内に設けられエレベータの運転を制御する電気部品である第1の発熱体と、この第1の発熱体を冷却する冷却用ファンと、この冷却用ファンにより流れる空気の下流側に設けられ前記第1の発熱体よりも高温の電気部品である第2の発熱体と、前記制御盤用ケースに隣接して設けられたダクトとを備え、前記空気は、前記ダクトを通じて前記第2の発熱体に流れるようになっている。
【0007】
また、この発明に係るエレベータの制御装置は、制御盤用ケースと、この制御盤用ケース内に設けられエレベータの運転を制御する電気部品である発熱体と、前記制御盤用ケースを貫通したダクトと、前記発熱体に固定され発熱体からの熱を吸収し、かつ放出するとともに放熱する放熱部が前記ダクト内に突出している熱伝達体と、前記ダクト内に設けられ前記放熱部に対向した冷却用ファンと、前記ダクトに形成された通気孔の近傍に設けられダクトの流路面積を縮小させ、ダクトの外部の空気をダクト内に導く案内部材とを備えている。
【0008】
【発明の実施の形態】
以下、この発明の各実施の形態のエレベータの制御装置について説明するが、各図において、同一、相当部材、部位については、同一符号を付して説明する。実施の形態1.
図1はこの発明の実施の形態1のエレベータの制御装置の正面図、図2は図1のII−II線に沿った断面図である。
このエレベータの制御装置は、昇降路壁面1に固定ブロック2を介して固定された制御盤用ケース3と、この制御盤用ケース3内に設けられエレベータの運転を制御するインバータのスイッチング素子である第1の発熱体4と、この第1の発熱体4が下側で固定され第1の発熱体4からの熱を吸収し、かつ放出する熱伝達体6と、この熱伝達体6の熱を放出する放熱フィン7に対向した冷却用ファン5と、制御盤用ケース3と昇降路壁面1との間の空間部Aに配置されているとともに冷却用ファン5により流れる空気の通路となるダクト8と、このダクト8の下流側に設けられダクト8内に一部が突出した抵抗体である第2の発熱体9とを備えている。
熱伝達体6は、ヒートパイプ(図示せず)と、このヒートパイプを埋設した良熱伝導性のアルミニウム製の金属ブロック10と、この金属ブロック10と一体の放熱フィン7とを備えている。
【0009】
このエレベータの制御装置では、冷却用ファン5の回転により、外部の空気が冷却用ファン5を通じて放熱フィン7に向かって流れる。そこでは、第1の発熱体4からの熱がヒートパイプを通じて放熱フィン7に伝達されており、空気の通過とともに放熱フィン7が冷却され、第1の発熱体4が間接的に冷却される。引き続き、空気は、図2の矢印Bに示すようにダクト8を通じて第1の発熱体4よりも高温の第2の発熱体9に向かって流れ、第2の発熱体9を冷却し、その後外部に排出される。
【0010】
図3は図1のエレベータの制御装置が運搬される時の様子を示しており、第2の発熱体9は制御盤用ケース3内に収納されているとともに、ダクト8は制御盤用ケース3から取り外されているので、制御盤用ケース3からは突出物は無く、円滑に運搬される。
なお、図4に示すように、第2の発熱体9がダクト8内に突出したことで生じる空間にエレベータ保守専用機器11を取り付けるようにしてもよい。
【0011】
上記構成のエレベータの制御装置によれば、第1の発熱体4を冷却した空気は、制御盤用ケース3に隣接して設けられたダクト8を通じて直接第2の発熱体9に向かって流れるようになっているので、冷却用の空気は第2の発熱体9に確実に到達し、第2の発熱体9の冷却効率が向上する。
【0012】
また、第2の発熱体9の一部はダクト8内に突出しているので、第2の発熱体9はより多くの空気にさらされので、第2の発熱体9の冷却効率はより向上する。また、第2の発熱体9がダクト8内に突出したことで生じる空間にエレベータ保守専用機器11を取り付けるようにして、空間を有効利用することもできる。また、保守専用機器11が不要のときには、その空間分の制御盤用ケースの外形寸法を小さくすることもできる。
【0013】
また、第1の発熱体4は、第1の発熱体4からの熱を吸収し、かつ放出する熱伝達体6に固定されており、熱伝達体6の熱を放出する放熱フィン7が冷却用ファン5に対向しているので、第1の発熱体4の熱は放熱フィン7を通じて効率良く冷却され、制御盤用ケース3内の温度上昇を抑制することができる。また、第1の発熱体4を冷却用ファン5に対向させる必要性が無く、第1の発熱体4および冷却用ファン5の設計自由度が向上する。
【0014】
また、制御盤用ケース3は、ダクト8は、制御盤用ケース3と昇降路壁面1との間の空間部Aに配置されており、ダクト8用にわざわざスペースを確保する必要性がない。
【0015】
なお、上記の実施の形態では、第2の発熱体9の一部が、ダクト8内に突出していたが、第2の発熱体の全体がダクト内に突出するようにしてもよい。
また、第2の発熱体が制御盤用ケース内で、かつダクトの出口に配設されていてもよい。
また、第1の発熱体が直接冷却用ファンに対向して設けられ、冷却用ファンにより直接第1の発熱体が冷却されるようにしてもよい。この場合には、勿論熱伝達対は不要である。
【0016】
実施の形態2.
図5はこの発明の実施の形態2のエレベータの制御装置の断面図である。
この実施の形態のエレベータの制御装置では、制御盤用ケース3は、ダクト20を介して第2の発熱体9を収納した付属盤用ケース21に接続されており、かつ付属盤用ケース21は機械室壁面22から離間して配置されている。また、制御盤用ケース3および付属盤用ケース21の底部には渡り線用ダクト24が設けられており、この渡り線用ダクト24内には制御盤用ケース3内の電気部品と付属盤用ケース21内の電気部品とを接続する渡り線23が延設されている。
【0017】
このエレベータの制御装置では、冷却用ファン5の回転により、外部の空気が矢印Cに示すように冷却用ファン5を通じて放熱フィン7に向かって流れる。そこでは、第1の発熱体4からの熱がヒートパイプを通じて放熱フィン7に伝達されており、空気の通過とともに放熱フィン7が冷却され、第1の発熱体4が間接的に冷却される。
引き続き、空気は、矢印Dに示すようにダクト20を通じて付属盤用ケース21内に流入し、付属盤用ケース21を貫通したダクト20により案内されて第2の発熱体9に向かって流れ、第2の発熱体9は冷却される。その後、空気は、付属盤用ケース21と機械室壁面22との間の空間部Eに排出される。
【0018】
このエレベータの制御装置によれば、第1の発熱体4の下流側に配置された第2の発熱体9はダクト9内に設けられており、冷却用の空気はダクト9に案内されて第2の発熱体9に確実に到達し、第2の発熱体9の冷却効率が向上する。
また、それぞれのケース3,21に発熱体4,9が収納されているものの、冷却用ファン5で生じた空気流は、第2の発熱体9にも到達し、第2の発熱体9も冷却用ファン5により冷却されるので、第2の発熱体9用の冷却用ファンを設ける必要性がなく、冷却用ファンを削減することができる。
【0019】
また、機械室内に配置された制御盤用ケースおよび付属盤用ケースは、通常発熱体からの熱気を外部に排出するために機械室壁面22からそれぞれ離間して配置しなければならないが、この実施の形態の場合、付属盤用ケース21と機械室壁面22との間だけを離間することで、第1の発熱体4および第2の発熱体9からの熱を外部に排出することができ、機械室内での制御盤用ケース3および付属盤用ケース21が必要とする占有スペースが少なくて済む。
【0020】
実施の形態3.
図6はこの発明の実施の形態3のエレベータの制御装置の断面図である。
この実施の形態のエレベータの制御装置では、制御盤用ケース3内の電気部品と付属盤用ケース21内の電気部品とを電気的に接続した第1の渡り線25が、制御盤用ケース3および付属盤用ケース21の底部に設けられた第1の渡り線用ダクト26内に延設されている。また、制御盤用ケース3内の電気部品と付属盤用ケース21内の電気部品とを電気的に接続した第2の渡り線27が、制御盤用ケース3および付属盤用ケース21の底部から高さ方向に離れて設けられた第2の渡り線用ダクト28を貫通している。
他の構成は、実施の形態2と同様である。
【0021】
この実施の形態では、第2の渡り線27が、制御盤用ケース3および付属盤用ケース21の底部から高さ方向に離れて設けられている。従って、実施の形態2のエレベータの制御装置と比較して、第1の渡り線用ダクト26内を貫通した第1の渡り線25の本数を削減することができ、第1の渡り線用ダクト26の高さを実施の形態2の渡り線用ダクト24と比較して低くすることができ、制御盤用ケース3および付属盤用ケース21の全高Hを低くすることができる。
【0022】
実施の形態4.
図7はこの発明の実施の形態4のエレベータの制御装置の平断面図、図8は図7のVIII−VIII線に沿った矢視断面図である。
このエレベータの制御装置は、制御盤用ケース30と、この制御盤用ケース30内に設けられエレベータの運転を制御する電気部品である発熱体31と、制御盤用ケース30を貫通したダクト32と、発熱体31に固定され発熱体31からの熱を吸収し、かつ放出するとともに放熱する放熱部である放熱フィン33がダクト32内に突出している熱伝達体34と、ダクト32内に設けられ放熱フィン33に対向した冷却用ファン35と、ダクト32に形成された通気孔36に設けられダクト32の流路面積を縮小させ、ダクト32の外部の空気をダクト32内に導く平板状の案内部材37とを備えている。
前記熱伝達体34は、ヒートパイプ(図示せず)と、このヒートパイプを埋設した良熱伝導性のアルミニウム製の金属ブロック38と、この金属ブロック38と一体で放熱フィン33とを備えている。
【0023】
このエレベータの制御装置では、冷却用ファン35の回転により、外部の空気が矢印Fに示すように冷却用ファン35を通じて放熱フィン33に向かって流れる。そこでは、発熱体31からの熱がヒートパイプを通じて放熱フィン33に伝達されており、空気の通過とともに放熱フィン33が冷却され、発熱体31が間接的に冷却される。
引き続き、空気は、矢印Gに示すように案内部材37を通過するが、通過の際、案内部材37により、空気の流路面積が縮小しており、空気の流速が増大し、動圧が大きくなるのに対して静圧が減少する。その結果、ダクト32外の電気部品39により生じた熱気は、矢印Iに示すように通気孔36を通じて流入し、冷却用ファン35からの空気と合流し、そのまま制御盤用ケース30の外部に排出される。
【0024】
このエレベータの制御装置によれば、ダクト32の通気孔36の近傍にダクト32の流路面積を縮小させ、ダクト32の外部の空気をダクト32内に導く平板状の案内部材37を設けたので、制御盤用ケース30内では、強制対流が生じ、制御盤用ケース30内で、ダクト32の外部の電気部品39の冷却効率が向上する。
【0025】
【発明の効果】
以上説明したように、この発明に係るエレベータの制御装置によれば、制御盤用ケースと、この制御盤用ケース内に設けられエレベータの運転を制御する電気部品である第1の発熱体と、この第1の発熱体を冷却する冷却用ファンと、この冷却用ファンにより流れる空気の下流側に設けられ前記第1の発熱体よりも高温の電気部品である第2の発熱体と、前記制御盤用ケースに隣接して設けられたダクトとを備え、前記空気は、前記ダクトを通じて前記第2の発熱体に流れるようになっているので、空気流の下流側の第2の発熱体が確実に冷却され、第2の発熱体の冷却効率が向上する。
【0026】
また、この発明に係るエレベータの制御装置によれば、制御盤用ケースと、この制御盤用ケース内に設けられエレベータの運転を制御する電気部品である発熱体と、前記制御盤用ケースを貫通したダクトと、前記発熱体に固定され発熱体からの熱を吸収し、かつ放出するとともに放熱する放熱部が前記ダクト内に突出している熱伝達体と、前記ダクト内に設けられ前記放熱部に対向した冷却用ファンと、前記ダクトに形成された通気孔の近傍に設けられダクトの流路面積を縮小させ、ダクトの外部の空気をダクト内に導く案内部材とを備えているので、制御盤用ケース内では、強制対流が生じ、制御盤用ケース内で、ダクトの外部の電気部品の冷却効率が向上する。
【図面の簡単な説明】
【図1】この発明の実施の形態1のエレベータの制御装置の正面図である。
【図2】図1のII−II線に沿った断面図である。
【図3】図1のエレベータの制御装置の運搬時における様子を示す断面図である。
【図4】図1のエレベータの制御装置の別の使用態様を示す断面図である。
【図5】この発明の実施の形態2のエレベータの制御装置の断面図である。
【図6】この発明の実施の形態3のエレベータの制御装置の断面図である。
【図7】この発明の実施の形態4のエレベータの制御装置の平断面図である。
【図8】図7のVIII−VIII線に沿った矢視断面図である。
【符号の説明】
1 昇降路壁面、2 固定ブロック、3,30 制御盤用ケース、4 第1の発熱体、5,35 冷却用ファン、6,34 熱伝達体、7,33 放熱フィン、8,20,32 ダクト、9 第2の発熱体、21 付属盤用ケース、22 機械室壁面、25 第1の渡り線、26 第1の渡り線用ダクト、27 第2の渡り線、28 第2の渡り線用ダクト、31 発熱体、36 通気孔、37 案内部材。
Claims (8)
- 制御盤用ケースと、この制御盤用ケース内に設けられエレベータの運転を制御する電気部品である第1の発熱体と、この第1の発熱体を冷却する冷却用ファンと、この冷却用ファンにより流れる空気の下流側に設けられ前記第1の発熱体よりも高温の電気部品である第2の発熱体と、前記制御盤用ケースに隣接して設けられたダクトとを備え、前記空気は、前記ダクトを通じて前記第2の発熱体に流れるようになっているエレベータの制御装置。
- 前記第2の発熱体の少なくとも一部は前記ダクト内に突出している請求項1に記載のエレベータの制御装置。
- 前記第1の発熱体は、第1の発熱体からの熱を吸収し、かつ放出する熱伝達体に固定されており、前記熱伝達体の前記熱を放出する放熱部が前記冷却用ファンに対向している請求項1または請求項2に記載のエレベータの制御装置。
- 前記制御盤用ケースは、壁面に固定ブロックを介して固定され、前記ダクトは、前記制御盤用ケースと前記壁面との間の空間部に配置されている請求項1ないし請求項3の何れかに記載のエレベータの制御装置。
- 前記制御盤用ケースは、前記ダクトを介して前記第2の発熱体を収納した付属盤用ケースに接続されており、かつ前記付属盤用ケースは壁面から離間して配置されている請求項1ないし請求項3の何れかに記載のエレベータの制御装置。
- 前記制御盤用ケースと前記付属盤用ケースとの渡り線が、前記制御盤用ケースおよび前記付属盤用ケースの底部から高さ方向に離れて設けられている請求項5に記載のエレベータの制御装置。
- 制御盤用ケースと、この制御盤用ケース内に設けられエレベータの運転を制御する電気部品である発熱体と、前記制御盤用ケースを貫通したダクトと、前記発熱体に固定され発熱体からの熱を吸収し、かつ放出するとともに放熱する放熱部が前記ダクト内に突出している熱伝達体と、前記ダクト内に設けられ前記放熱部に対向した冷却用ファンと、前記ダクトに形成された通気孔の近傍に設けられダクトの流路面積を縮小させ、ダクトの外部の空気をダクト内に導く案内部材とを備えたエレベータの制御装置。
- 前記熱伝達体は、ヒートパイプと、このヒートパイプを埋設した良熱伝導性の金属ブロックと、この金属ブロックと一体で前記放熱部である放熱フィンとを備えた請求項2ないし請求項7の何れかに記載のエレベータの制御装置。
Priority Applications (1)
| Application Number | Priority Date | Filing Date | Title |
|---|---|---|---|
| JP2003066400A JP2004269244A (ja) | 2003-03-12 | 2003-03-12 | エレベータの制御装置 |
Applications Claiming Priority (1)
| Application Number | Priority Date | Filing Date | Title |
|---|---|---|---|
| JP2003066400A JP2004269244A (ja) | 2003-03-12 | 2003-03-12 | エレベータの制御装置 |
Publications (1)
| Publication Number | Publication Date |
|---|---|
| JP2004269244A true JP2004269244A (ja) | 2004-09-30 |
Family
ID=33127129
Family Applications (1)
| Application Number | Title | Priority Date | Filing Date |
|---|---|---|---|
| JP2003066400A Pending JP2004269244A (ja) | 2003-03-12 | 2003-03-12 | エレベータの制御装置 |
Country Status (1)
| Country | Link |
|---|---|
| JP (1) | JP2004269244A (ja) |
Cited By (8)
| Publication number | Priority date | Publication date | Assignee | Title |
|---|---|---|---|---|
| JP2007045561A (ja) * | 2005-08-09 | 2007-02-22 | Mitsubishi Electric Corp | エレベータの制御装置 |
| JP2009227459A (ja) * | 2008-03-25 | 2009-10-08 | Mitsubishi Electric Corp | エレベータ装置 |
| JP2011202889A (ja) * | 2010-03-25 | 2011-10-13 | Daikin Industries Ltd | 空気調和装置における電気部品の冷却構造 |
| WO2012070145A1 (ja) * | 2010-11-26 | 2012-05-31 | 三菱電機株式会社 | エレベータの冷却装置 |
| CN103346492A (zh) * | 2013-06-24 | 2013-10-09 | 向荣集团有限公司 | 一种开关柜 |
| JP2016216194A (ja) * | 2015-05-20 | 2016-12-22 | 三菱電機株式会社 | エレベータの制御装置 |
| JP2022065736A (ja) * | 2020-10-16 | 2022-04-28 | 三菱電機株式会社 | 盤装置 |
| CN115955811A (zh) * | 2022-12-05 | 2023-04-11 | 菱王电梯有限公司 | 电梯控制驱动设备以及电梯设备 |
-
2003
- 2003-03-12 JP JP2003066400A patent/JP2004269244A/ja active Pending
Cited By (12)
| Publication number | Priority date | Publication date | Assignee | Title |
|---|---|---|---|---|
| JP2007045561A (ja) * | 2005-08-09 | 2007-02-22 | Mitsubishi Electric Corp | エレベータの制御装置 |
| JP2009227459A (ja) * | 2008-03-25 | 2009-10-08 | Mitsubishi Electric Corp | エレベータ装置 |
| JP2011202889A (ja) * | 2010-03-25 | 2011-10-13 | Daikin Industries Ltd | 空気調和装置における電気部品の冷却構造 |
| WO2012070145A1 (ja) * | 2010-11-26 | 2012-05-31 | 三菱電機株式会社 | エレベータの冷却装置 |
| CN103228564A (zh) * | 2010-11-26 | 2013-07-31 | 三菱电机株式会社 | 电梯的冷却装置 |
| JP5617931B2 (ja) * | 2010-11-26 | 2014-11-05 | 三菱電機株式会社 | エレベータの冷却装置 |
| CN103228564B (zh) * | 2010-11-26 | 2015-07-08 | 三菱电机株式会社 | 电梯的冷却装置 |
| CN103346492A (zh) * | 2013-06-24 | 2013-10-09 | 向荣集团有限公司 | 一种开关柜 |
| JP2016216194A (ja) * | 2015-05-20 | 2016-12-22 | 三菱電機株式会社 | エレベータの制御装置 |
| JP2022065736A (ja) * | 2020-10-16 | 2022-04-28 | 三菱電機株式会社 | 盤装置 |
| JP7391001B2 (ja) | 2020-10-16 | 2023-12-04 | 三菱電機株式会社 | 盤装置 |
| CN115955811A (zh) * | 2022-12-05 | 2023-04-11 | 菱王电梯有限公司 | 电梯控制驱动设备以及电梯设备 |
Similar Documents
| Publication | Publication Date | Title |
|---|---|---|
| KR101896569B1 (ko) | 반도체 모듈의 방열 장치 | |
| WO2012077374A1 (ja) | 電気機器用盤 | |
| CN111094857B (zh) | 热交换器单元和空调装置 | |
| KR20140053597A (ko) | 전자기기의 냉각장치 | |
| JP4543333B2 (ja) | 制御盤 | |
| JP4500778B2 (ja) | 誘導加熱調理器 | |
| US7023696B2 (en) | Cooling device and electric or electronic apparatus employing the same | |
| JP2004269244A (ja) | エレベータの制御装置 | |
| JP5153298B2 (ja) | 遠心ファンモータの自己冷却構造 | |
| JP4236075B2 (ja) | エレベータ制御装置 | |
| JP5556288B2 (ja) | 放熱ユニットおよびこれを用いた電子機器 | |
| JPWO2000039014A1 (ja) | エレベータ制御装置 | |
| JP4457238B2 (ja) | 機器キャビネット内発熱部品群の放熱構造 | |
| JPH0613776A (ja) | 電子部品の冷却装置 | |
| JP2008187136A (ja) | 放熱構造 | |
| JP2003023283A (ja) | 電子部品の冷却装置 | |
| CN111684209B (zh) | 室外机及空气调节机 | |
| JP2004349548A (ja) | ヒートシンクとこれを備えた電気制御装置 | |
| JP2009100508A (ja) | 制御盤の通風冷却装置およびこれを用いた制御盤 | |
| JP2002368473A (ja) | 発熱性電子部品放熱装置、放熱構造を有する電子機器および電子装置 | |
| CN101151585A (zh) | 冷却装置 | |
| KR20200001617U (ko) | 유동성이 향상된 공기 순환 방식의 인버터용 방열모듈 | |
| JP2007220566A (ja) | 誘導加熱調理器 | |
| WO2023272927A1 (zh) | 电控盒、空调室外机和空调器 | |
| CN220061896U (zh) | 空调室内机 |
Legal Events
| Date | Code | Title | Description |
|---|---|---|---|
| A621 | Written request for application examination |
Free format text: JAPANESE INTERMEDIATE CODE: A621 Effective date: 20060213 |
|
| A977 | Report on retrieval |
Free format text: JAPANESE INTERMEDIATE CODE: A971007 Effective date: 20081002 |
|
| A131 | Notification of reasons for refusal |
Free format text: JAPANESE INTERMEDIATE CODE: A131 Effective date: 20081014 |
|
| A02 | Decision of refusal |
Free format text: JAPANESE INTERMEDIATE CODE: A02 Effective date: 20090303 |